CN111431292A - Multifunctional panel with wireless charging function - Google Patents
Multifunctional panel with wireless charging function Download PDFInfo
- Publication number
- CN111431292A CN111431292A CN202010338786.3A CN202010338786A CN111431292A CN 111431292 A CN111431292 A CN 111431292A CN 202010338786 A CN202010338786 A CN 202010338786A CN 111431292 A CN111431292 A CN 111431292A
- Authority
- CN
- China
- Prior art keywords
- wireless charging
- storage box
- contact piece
- panel
- carrier
- Prior art date
- Legal status (The legal status is an assumption and is not a legal conclusion. Google has not performed a legal analysis and makes no representation as to the accuracy of the status listed.)
- Granted
Links
Images
Classifications
-
- H—ELECTRICITY
- H02—GENERATION; CONVERSION OR DISTRIBUTION OF ELECTRIC POWER
- H02J—CIRCUIT ARRANGEMENTS OR SYSTEMS FOR SUPPLYING OR DISTRIBUTING ELECTRIC POWER; SYSTEMS FOR STORING ELECTRIC ENERGY
- H02J50/00—Circuit arrangements or systems for wireless supply or distribution of electric power
- H02J50/10—Circuit arrangements or systems for wireless supply or distribution of electric power using inductive coupling
-
- B—PERFORMING OPERATIONS; TRANSPORTING
- B60—VEHICLES IN GENERAL
- B60R—VEHICLES, VEHICLE FITTINGS, OR VEHICLE PARTS, NOT OTHERWISE PROVIDED FOR
- B60R7/00—Stowing or holding appliances inside vehicle primarily intended for personal property smaller than suit-cases, e.g. travelling articles, or maps
- B60R7/04—Stowing or holding appliances inside vehicle primarily intended for personal property smaller than suit-cases, e.g. travelling articles, or maps in driver or passenger space, e.g. using racks
-
- H—ELECTRICITY
- H04—ELECTRIC COMMUNICATION TECHNIQUE
- H04M—TELEPHONIC COMMUNICATION
- H04M1/00—Substation equipment, e.g. for use by subscribers
- H04M1/02—Constructional features of telephone sets
- H04M1/04—Supports for telephone transmitters or receivers
Landscapes
- Engineering & Computer Science (AREA)
- Signal Processing (AREA)
- Computer Networks & Wireless Communication (AREA)
- Power Engineering (AREA)
- Mechanical Engineering (AREA)
- Charge And Discharge Circuits For Batteries Or The Like (AREA)
Abstract
本发明公开了一种带有无线充电功能的多功能面板,包括面板本体、置物口,置物口内设置有储物盒,储物盒内滑动设置有无线充电载体,无线充电载体内设置有无线充电线圈,无线充电载体的两侧分别开设有卡槽,两个卡槽内分别设置有正极接头以及负极接头,储物盒相对应的两侧分别滑动设置有正极接触片以及负极接触片,正极接触片以及负极接触片均通过导线与车载电源相连接,储物盒的上部开口处的至少一个内侧水平设置有挡板,挡板位于正极接触片以及负极接触片的上方,储物盒与无线充电载体之间设置有驱动无线充电载体进行滑动的升降驱动机构。
The invention discloses a multifunctional panel with a wireless charging function, comprising a panel body and a storage opening, a storage box is arranged in the storage opening, a wireless charging carrier is slidably arranged in the storage box, and a wireless charging carrier is arranged in the wireless charging carrier The coil, the two sides of the wireless charging carrier are respectively provided with card slots, and the two card slots are respectively provided with a positive electrode connector and a negative electrode connector, and the corresponding two sides of the storage box are respectively provided with a positive electrode contact piece and a negative electrode contact piece. Both the plate and the negative contact plate are connected to the vehicle power supply through wires. At least one inner side of the upper opening of the storage box is horizontally provided with a baffle plate. The baffle plate is located above the positive electrode contact plate and the negative electrode contact plate. A lift drive mechanism for driving the wireless charging carrier to slide is arranged between the carriers.
Description
技术领域technical field
本发明涉及一种带有无线充电功能的多功能面板。The present invention relates to a multifunctional panel with wireless charging function.
背景技术Background technique
车载无线充电器已属于车载充电方面的成熟产品,现有技术中的车载充电器如CN201821383132.7公开的一种车载无线充电器,包括:底座和设有发射线圈的充电支座,所述底座与所述充电支座之间设有伸缩杆;所述伸缩杆的一端与所述底座铰接,所述伸缩杆的另一端与所述充电支座活动连接;所述底座设有容纳所述伸缩杆的凹槽;所述充电支座设有传感器,左夹持臂和右夹持臂;所述传感器用于感应移动终端的接近;所述左夹持臂与右夹持臂连接驱动装置;所述驱动装置用于控制所述左夹持臂与所述右夹持臂靠近或远离,如CN210225066 U公开了一种车载无线手机充电器,包括壳体、与壳体相配合的盖板、与壳体相连 接的固定座组件、用于夹持手机的电动夹持臂组件、供电模块,壳体与盖板之间具有安装腔,安装 腔内设置有控制板、与控制板相电连接的发射天线,盖板上设置有用于感应手机的光感应器,壳体外设置有触摸感应金属片,光感 应器、触摸感应金属片均与控制板相电连接,电动夹持臂组件包括设置于壳体一侧的第一夹持臂、设置于壳体另一侧的第二夹持臂,第一夹持 臂、第二夹持臂两者至少一个相对壳体滑动设 置,第一夹持臂、第二夹持臂两者与壳体之间设置有驱动两者相互靠近或者相互远离的驱动机构,驱动机构由控制板控制。The vehicle-mounted wireless charger is already a mature product in the aspect of vehicle-mounted charging. The vehicle-mounted charger in the prior art, such as a vehicle-mounted wireless charger disclosed in CN201821383132.7, includes: a base and a charging support provided with a transmitting coil, the base A telescopic rod is arranged between it and the charging support; one end of the telescopic rod is hinged with the base, and the other end of the telescopic rod is movably connected with the charging support; The groove of the rod; the charging support is provided with a sensor, a left clamping arm and a right clamping arm; the sensor is used for sensing the approach of the mobile terminal; the left clamping arm and the right clamping arm are connected to a drive device; The driving device is used to control the left clamping arm and the right clamping arm to approach or move away. For example, CN210225066 U discloses a vehicle-mounted wireless mobile phone charger, which includes a casing, a cover plate matched with the casing, A fixed seat assembly connected with the casing, an electric clamping arm assembly for clamping the mobile phone, and a power supply module, an installation cavity is provided between the casing and the cover plate, and a control board is arranged in the installation cavity and is electrically connected to the control board The transmitting antenna is provided with a light sensor for sensing the mobile phone on the cover, and a touch-sensitive metal sheet is arranged outside the casing. The light sensor and the touch-sensitive metal sheet are all electrically connected to the control board. A first clamping arm on one side of the casing and a second clamping arm arranged on the other side of the casing, at least one of the first clamping arm and the second clamping arm is slidably arranged relative to the casing, the first clamping arm A driving mechanism is arranged between the arm, the second clamping arm and the casing to drive the two to approach or move away from each other, and the driving mechanism is controlled by the control board.
上述两个技术方案中的车载无线充电器均属于车辆的外接设备,外接设备会占用车内原有空间,虽然车载充电器可以按照使用者的习惯安装在相应适合位置,但是其在安装时需要与车载电源连接,由此其安装位置必然受到局限性,另外车载无线充电器均采用悬挂式,为了提高手机充电的稳定性需要在两侧设置夹持臂将手机夹紧,然而在遇到及其颠簸的路面时,手机仍然会从夹持臂上松脱。The on-board wireless chargers in the above two technical solutions belong to the external equipment of the vehicle, and the external equipment will occupy the original space in the car. Although the on-board charger can be installed in a corresponding suitable location according to the user's habits, it needs to be installed with The vehicle power supply is connected, so its installation position is bound to be limited. In addition, the vehicle wireless chargers are all suspended. In order to improve the stability of mobile phone charging, it is necessary to set clamping arms on both sides to clamp the mobile phone. On bumpy roads, the phone will still come loose from the gripping arms.
针对现有的车用多功能面板,其通常包括存储腔以及换挡机构的安装腔以及设置在其上的档位标识,而目前的存储腔为固定式结构,其仅仅具备存储物体的功能,如何将车载无线充电器与面板上的存储腔相结合成为本领域技术人员急需解决的技术问题。For the existing multi-function panel for vehicles, it usually includes a storage cavity, an installation cavity of the shift mechanism, and a gear mark set on it, while the current storage cavity is a fixed structure, which only has the function of storing objects. How to combine the on-board wireless charger with the storage cavity on the panel has become a technical problem that needs to be solved urgently by those skilled in the art.
发明内容SUMMARY OF THE INVENTION
本发明的目的在于克服现有技术中存在的缺陷,提供一种带有无线充电功能的多功能面板,将车载无线充电器与多功能面板相结合,使得多功能面板具备手机无线充电功能。The purpose of the present invention is to overcome the defects in the prior art and provide a multi-function panel with wireless charging function, which combines the vehicle-mounted wireless charger with the multi-function panel, so that the multi-function panel has the function of mobile phone wireless charging.
为实现上述技术效果,本发明的技术方案为:一种带有无线充电功能的多功能面板,包括面板本体、开设于所述面板本体上的置物口,所述置物口内设置有储物盒,所述储物盒内沿着铅锤方向滑动设置有无线充电载体,所述无线充电载体内设置有无线充电线圈,所述无线充电载体的两侧分别开设有卡槽,两个所述卡槽内分别设置有正极接头以及负极接头,所述正极接头与所述负极接头与所述充电线圈相电连接,所述储物盒相对应的两侧分别设置有沿着水平方向滑动设置有正极接触片以及负极接触片,所述储物盒与所述正极接触片之间设置有使其与所述正极接头相抵触的第一弹性件,所述储物盒与所述负极接触片之间设置有使其与所述负极接头相抵触的第二弹性件,所述正极接触片以及所述负极接触片均通过导线与车载电源相连接,所述储物盒的上部开口处的至少一个内侧水平设置有挡板,所述挡板位于所述正极接触片以及所述负极接触片的上方,所述储物盒与所述无线充电载体之间设置有驱动所述无线充电载体进行滑动的升降驱动机构。In order to achieve the above technical effect, the technical solution of the present invention is: a multifunctional panel with a wireless charging function, comprising a panel body, a storage opening opened on the panel body, and a storage box is arranged in the storage opening, A wireless charging carrier is slidably arranged in the storage box along the direction of the plumb weight, a wireless charging coil is arranged in the wireless charging carrier, and card slots are respectively opened on both sides of the wireless charging carrier. A positive terminal and a negative terminal are respectively provided inside, the positive terminal and the negative terminal are electrically connected with the charging coil, and the corresponding two sides of the storage box are respectively provided with positive contacts sliding along the horizontal direction. A sheet and a negative contact sheet, a first elastic member is arranged between the storage box and the positive contact sheet to make it interfere with the positive terminal, and a first elastic member is arranged between the storage box and the negative contact sheet There is a second elastic member that makes it interfere with the negative terminal, the positive contact piece and the negative contact piece are connected with the vehicle power supply through wires, and at least one inner side of the upper opening of the storage box is horizontal A baffle plate is provided, the baffle plate is located above the positive electrode contact piece and the negative electrode contact piece, and a lift drive for driving the wireless charging carrier to slide is arranged between the storage box and the wireless charging carrier mechanism.
进一步改进的是,所述储物盒由所述面板本体向下延伸而成。A further improvement is that the storage box is formed by extending downward from the panel body.
进一步改进的是,所述储物盒与所述面板本体相拆卸连接。A further improvement is that the storage box is detachably connected to the panel body.
进一步改进的是,所述储物盒的两侧的侧壁上分别开设有安装槽,所述正极接触片以及所述负极接触片分别滑动设置于相应的所述安装槽内。A further improvement is that the side walls on both sides of the storage box are respectively provided with installation grooves, and the positive electrode contact piece and the negative electrode contact piece are respectively slidably arranged in the corresponding installation grooves.
进一步改进的是,所述正极接触片以及所述负极接触片的连接端部呈锥形或者弧形。A further improvement is that the connection ends of the positive electrode contact piece and the negative electrode contact piece are tapered or arc-shaped.
进一步改进的是,所述升降驱动机构包括固定设置于所述储物盒底部的驱动气缸,所述驱动气缸的活塞杆与所述无线充电载体相连接。A further improvement is that the lift drive mechanism includes a drive cylinder fixedly disposed at the bottom of the storage box, and a piston rod of the drive cylinder is connected to the wireless charging carrier.
进一步改进的是,所述无线充电载体的两侧与所述储物盒之间设置有导向机构。A further improvement is that a guide mechanism is provided between two sides of the wireless charging carrier and the storage box.
进一步改进的是,每侧所述导向机构均包括固定设置于所述储物盒内侧壁上且沿着铅锤方向延伸的导轨、设置于所述无线充电载体端部且与所述导轨相配合的导向件。A further improvement is that the guide mechanism on each side includes a guide rail that is fixedly arranged on the inner side wall of the storage box and extends in the direction of the plumb bob, and is arranged at the end of the wireless charging carrier and is matched with the guide rail. guide.
进一步改进的是,所述面板本体上设置有控制所述驱动气缸的控制按钮。A further improvement is that the panel body is provided with a control button for controlling the driving cylinder.
进一步改进的是,所述挡板与所述储物盒相转动连接,所述储物盒上设置有限制所述挡板转动角度的限位部,所述限位部位于所述挡板的上方且呈水平设置。A further improvement is that the baffle is rotatably connected to the storage box, the storage box is provided with a limit portion for limiting the rotation angle of the baffle, and the limit portion is located at the position of the baffle. top and horizontal.
本发明的优点和有益效果在于:将现有的储物盒内滑动设置有无线充电载体,其储物盒的上部设置有挡板,手机需要充电时,将无线充电载体向上移动配合挡板将手机夹持,并接通电源对手机进行无线充电,不需要手机充电时,将无线充电载体向下移动,对其进行断电的同时,保证储物盒的存储空间。The advantages and beneficial effects of the present invention are as follows: the existing storage box is slidably provided with a wireless charging carrier, and the upper part of the storage box is provided with a baffle. When the mobile phone needs to be charged, the wireless charging carrier is moved upward to cooperate with the baffle. The mobile phone is clamped, and the mobile phone is powered on to wirelessly charge the mobile phone. When the mobile phone is not required to be charged, the wireless charging carrier is moved downward to ensure the storage space of the storage box while the power is off.
附图说明Description of drawings
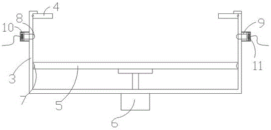
图1是多功能面板示意图;Figure 1 is a schematic diagram of a multi-function panel;
图2是储物盒剖视图;Figure 2 is a sectional view of the storage box;
图3是储物盒侧壁示意图;3 is a schematic diagram of a side wall of a storage box;
图4是无线充电载体侧视图。Figure 4 is a side view of the wireless charging carrier.
图中:1、面板本体;2、置物口;3、储物盒;4、挡板;5、无线充电载体;6、升降驱动机构;7、卡槽;8、正极接触片;9、负极接触片;10、第一弹性件;11、第二弹性件;12、导轨;13、导向件。In the figure: 1. Panel body; 2. Storage port; 3. Storage box; 4. Baffle plate; 5. Wireless charging carrier; 6. Lifting drive mechanism; 7. Card slot; 8. Positive contact sheet; 9. Negative electrode Contact sheet; 10, first elastic piece; 11, second elastic piece; 12, guide rail; 13, guide piece.
具体实施方式Detailed ways
下面结合附图和实施例,对本发明的具体实施方式作进一步描述。以下实施例仅用于更加清楚地说明本发明的技术方案,而不能以此来限制本发明的保护范围。The specific embodiments of the present invention will be further described below with reference to the accompanying drawings and embodiments. The following examples are only used to illustrate the technical solutions of the present invention more clearly, and cannot be used to limit the protection scope of the present invention.
实施例一:如图1-图4所示,一种带有无线充电功能的多功能面板,包括面板本体1、开设于所述面板本体1上的置物口2,所述置物口2内设置有储物盒3,所述储物盒3内沿着铅锤方向滑动设置有无线充电载体5,所述无线充电载体5内设置有无线充电线圈,所述无线充电载体5的两侧分别开设有卡槽7,两个所述卡槽7内分别设置有正极接头以及负极接头,所述正极接头与所述负极接头与所述充电线圈相电连接,所述储物盒3相对应的两侧分别设置有沿着水平方向滑动设置有正极接触片8以及负极接触片9,所述储物盒3与所述正极接触片8之间设置有使其与所述正极接头相抵触的第一弹性件10,所述储物盒3与所述负极接触片9之间设置有使其与所述负极接头相抵触的第二弹性件11,所述正极接触片8以及所述负极接触片9均通过导线与车载电源相连接,所述储物盒3的上部开口处的至少一个内侧水平设置有挡板4,所述挡板4位于所述正极接触片8以及所述负极接触片9的上方,所述储物盒3与所述无线充电载体5之间设置有驱动所述无线充电载体5进行滑动的升降驱动机构6。Embodiment 1: As shown in FIG. 1-FIG. 4, a multifunctional panel with wireless charging function includes a panel body 1, a
本实施例中,所述储物盒3由所述面板本体1向下延伸而成,即储物盒3与面板本体1一体成型,而目前的多功能面板通常采用模压的方式制造即在其模具的模腔中即形成该储物盒3。In this embodiment, the
为了方便安装以及加工,所述储物盒3的两侧的侧壁上分别开设有安装槽,所述正极接触片8以及所述负极接触片9分别滑动设置于相应的所述安装槽内,当无线充电载体5由升降驱动机构6驱动向上运动至正极接触片8以及负极接触片9位置时,首先将第一弹性件10以及第二弹性件11挤压使其发生形变,将正极接触片8以及负极接触片9压缩至安装槽内,而当无线充电载体5上的卡槽7与正极接触片8以及负极接触片9对应时,在第一弹性件10以及第二弹性件11的弹性力作用下将正极接触片8顶入卡槽7内与正极接头相抵触,将负极接触片9顶入卡槽7内与负极接头相抵触继而接通电源,无线充电线圈开始工作进行无线充电,而且无线充电载体5在此位置下与置物口2处的挡板4配合将手机夹紧,此外无线充电载体5虽然向上运动,但是手机仍然在储物盒3内,由此对手机进行多方位限制,由此充电稳定性好,即使颠簸的路面也不会造成手机,而且当不需要进行手机无线充电时,利用升降驱动机构6将无线充电载体5向下滑动,作为储物盒3的底面,不仅保证了储物盒3具有足够的储物空间,而且此时进行断电处理,无线充电线圈不再发生电磁波,节约电能,此外由于将无线充电器设置在多功能面板上可以与多功能面板上的元器件共用电源,无需对无线充电器另外配备电源,可以将无线充电功能作为多功能面板的一个功能模块进行批量生产从而使得相应的车辆配备手机无线充电功能。无需将车载无线充电器作为配件使用。In order to facilitate installation and processing, the side walls on both sides of the
此外为了方便正极接触片8以及负极接触片9插入相应的卡槽7内,所述正极接触片8以及所述负极接触片9的连接端部呈锥形或者弧形。In addition, in order to facilitate the insertion of the positive electrode contact piece 8 and the negative
本实施例中优选的实施方式为,所述升降驱动机构6的具体结构并非本发明的设计要点,只要是能够将无线充电载体5进行上下驱动的驱动机构均能够在此使用,如:所述升降驱动机构6包括固定设置于所述储物盒3底部的驱动气缸,所述驱动气缸的活塞杆与所述无线充电载体5相连接。The preferred implementation in this embodiment is that the specific structure of the lift driving mechanism 6 is not the design point of the present invention, as long as it is a driving mechanism that can drive the
为了方便无线充电载体5能够进行上下升降而且减少摩擦力,所述无线充电载体5的两侧与所述储物盒3之间设置有导向机构,具体地,每侧所述导向机构均包括固定设置于所述储物盒3内侧壁上且沿着铅锤方向延伸的导轨12、设置于所述无线充电载体5端部且与所述导轨12相配合的导向件13,该导轨12可以通过紧固件或者粘结的方式固定在储物盒3的内侧,也可以是与储物盒3一体成型而成。In order to facilitate the up and down movement of the
为了方便操作,所述面板本体1上设置有控制所述驱动气缸的控制按钮。For the convenience of operation, the panel body 1 is provided with a control button for controlling the driving cylinder.
为了方便储物,所述挡板4与所述储物盒3相转动连接,所述储物盒3上设置有限制所述挡板4转动角度的限位部,所述限位部位于所述挡板4的上方且呈水平设置,当无线充电载体5支撑手机向上移动时将挡板4顶起直至挡板4位于水平位置,在无线充电载体5下降后,挡板4在自身重力的作用下下落,由此置物口2不会受到挡板4的限制而保持尽可能大的开口,从而方便拿取物品。In order to facilitate storage, the
无图示,实施例二:与实施例一的区别在于:所述储物盒3与所述面板本体1相拆卸连接,所述储物盒3与面板本体1之间可以通过若干弹性卡扣进行拆卸连接。No illustration, Embodiment 2: The difference from Embodiment 1 is that the
以上所述仅是本发明的优选实施方式,应当指出,对于本技术领域的普通技术人员来说,在不脱离本发明技术原理的前提下,还可以做出若干改进和润饰,这些改进和润饰也应视为本发明的保护范围。The above are only the preferred embodiments of the present invention. It should be pointed out that for those skilled in the art, without departing from the technical principles of the present invention, several improvements and modifications can be made. These improvements and modifications It should also be regarded as the protection scope of the present invention.
Claims (10)
Priority Applications (1)
| Application Number | Priority Date | Filing Date | Title |
|---|---|---|---|
| CN202010338786.3A CN111431292B (en) | 2020-04-26 | 2020-04-26 | A multifunctional panel with wireless charging function |
Applications Claiming Priority (1)
| Application Number | Priority Date | Filing Date | Title |
|---|---|---|---|
| CN202010338786.3A CN111431292B (en) | 2020-04-26 | 2020-04-26 | A multifunctional panel with wireless charging function |
Publications (2)
| Publication Number | Publication Date |
|---|---|
| CN111431292A true CN111431292A (en) | 2020-07-17 |
| CN111431292B CN111431292B (en) | 2025-04-15 |
Family
ID=71556830
Family Applications (1)
| Application Number | Title | Priority Date | Filing Date |
|---|---|---|---|
| CN202010338786.3A Active CN111431292B (en) | 2020-04-26 | 2020-04-26 | A multifunctional panel with wireless charging function |
Country Status (1)
| Country | Link |
|---|---|
| CN (1) | CN111431292B (en) |
Cited By (1)
| Publication number | Priority date | Publication date | Assignee | Title |
|---|---|---|---|---|
| CN112803533A (en) * | 2021-01-13 | 2021-05-14 | 浙江吉利控股集团有限公司 | Wireless charging device for vehicle-mounted mobile phone |
Citations (4)
| Publication number | Priority date | Publication date | Assignee | Title |
|---|---|---|---|---|
| CN203734330U (en) * | 2012-12-21 | 2014-07-23 | 福特环球技术公司 | System used for wireless charging of chargeable device, on-board system, and maintaining assembly |
| CN109088460A (en) * | 2018-10-09 | 2018-12-25 | 宁波东昊汽车部件有限公司 | A kind of onboard wireless charging equipment |
| CN208707341U (en) * | 2018-08-10 | 2019-04-05 | 深圳市路畅科技股份有限公司 | A kind of vehicle and its vehicle carried mobile phone wireless charging device |
| CN212085894U (en) * | 2020-04-26 | 2020-12-04 | 江阴市康乾车业有限公司 | A multifunctional panel with wireless charging |
-
2020
- 2020-04-26 CN CN202010338786.3A patent/CN111431292B/en active Active
Patent Citations (4)
| Publication number | Priority date | Publication date | Assignee | Title |
|---|---|---|---|---|
| CN203734330U (en) * | 2012-12-21 | 2014-07-23 | 福特环球技术公司 | System used for wireless charging of chargeable device, on-board system, and maintaining assembly |
| CN208707341U (en) * | 2018-08-10 | 2019-04-05 | 深圳市路畅科技股份有限公司 | A kind of vehicle and its vehicle carried mobile phone wireless charging device |
| CN109088460A (en) * | 2018-10-09 | 2018-12-25 | 宁波东昊汽车部件有限公司 | A kind of onboard wireless charging equipment |
| CN212085894U (en) * | 2020-04-26 | 2020-12-04 | 江阴市康乾车业有限公司 | A multifunctional panel with wireless charging |
Cited By (1)
| Publication number | Priority date | Publication date | Assignee | Title |
|---|---|---|---|---|
| CN112803533A (en) * | 2021-01-13 | 2021-05-14 | 浙江吉利控股集团有限公司 | Wireless charging device for vehicle-mounted mobile phone |
Also Published As
| Publication number | Publication date |
|---|---|
| CN111431292B (en) | 2025-04-15 |
Similar Documents
| Publication | Publication Date | Title |
|---|---|---|
| CN213402574U (en) | Vehicle-mounted wireless charger with automatically moved and aligned coil | |
| CN112389223B (en) | Electric automobile charging coupler and electric automobile's charging device including it | |
| CN102842934A (en) | Vehicle-mounted wireless charging device | |
| CN212085894U (en) | A multifunctional panel with wireless charging | |
| CN209930324U (en) | Vehicle-mounted electric mobile phone support | |
| CN111431292A (en) | Multifunctional panel with wireless charging function | |
| CN207977763U (en) | A kind of automatic open-close onboard wireless charging bracket | |
| CN211019163U (en) | Bluetooth headset charging box | |
| CN110691158B (en) | Wireless charging support for mobile phone | |
| CN208581261U (en) | A smart car phone holder | |
| KR102084680B1 (en) | Cradle of portable terminal | |
| CN208849478U (en) | A kind of no magnetic nanometer wireless charging mobile phone bracket | |
| CN213213139U (en) | Vehicle-mounted wireless charging seat mounting structure | |
| CN213547146U (en) | Multifunctional charging and discharging power-exchanging cabinet | |
| CN110380472B (en) | A smart car charging station for mobile phones | |
| CN211456736U (en) | Wireless charging equipment for vehicle-mounted mobile phone | |
| CN215870841U (en) | Portable automatic alignment support charging device | |
| CN220809135U (en) | Vehicle-mounted new energy automobile photovoltaic charger | |
| CN217197798U (en) | Wireless charging device of electric scooter | |
| CN213959796U (en) | Infrared induction type vehicle-mounted self-opening and self-closing charging support | |
| CN217590340U (en) | Be applied to on-vehicle battery charging outfit | |
| CN214337652U (en) | Automatic on-vehicle wireless charger of counterpoint coil | |
| CN217563371U (en) | Self-positioning type vehicle-mounted wireless charger | |
| CN212784902U (en) | On-vehicle auto-induction is wireless fills clip | |
| CN208344091U (en) | Car storage box and automobile |
Legal Events
| Date | Code | Title | Description |
|---|---|---|---|
| PB01 | Publication | ||
| PB01 | Publication | ||
| SE01 | Entry into force of request for substantive examination | ||
| SE01 | Entry into force of request for substantive examination | ||
| GR01 | Patent grant | ||
| GR01 | Patent grant |
