CN111387518A - 一种农业生产用花生剥壳装置 - Google Patents
一种农业生产用花生剥壳装置 Download PDFInfo
- Publication number
- CN111387518A CN111387518A CN202010220087.9A CN202010220087A CN111387518A CN 111387518 A CN111387518 A CN 111387518A CN 202010220087 A CN202010220087 A CN 202010220087A CN 111387518 A CN111387518 A CN 111387518A
- Authority
- CN
- China
- Prior art keywords
- rotating shaft
- roller
- shelling
- box
- box body
- Prior art date
- Legal status (The legal status is an assumption and is not a legal conclusion. Google has not performed a legal analysis and makes no representation as to the accuracy of the status listed.)
- Pending
Links
- 235000020232 peanut Nutrition 0.000 title claims abstract description 105
- 235000017060 Arachis glabrata Nutrition 0.000 title claims abstract description 53
- 235000010777 Arachis hypogaea Nutrition 0.000 title claims abstract description 53
- 235000018262 Arachis monticola Nutrition 0.000 title claims abstract description 53
- 238000012271 agricultural production Methods 0.000 title claims abstract description 14
- 241001553178 Arachis glabrata Species 0.000 title abstract 6
- 230000007246 mechanism Effects 0.000 claims abstract description 103
- 239000000463 material Substances 0.000 claims abstract description 67
- 238000003825 pressing Methods 0.000 claims abstract description 29
- 239000002245 particle Substances 0.000 claims abstract description 16
- 244000105624 Arachis hypogaea Species 0.000 claims description 99
- 230000005540 biological transmission Effects 0.000 claims description 64
- 235000017166 Bambusa arundinacea Nutrition 0.000 claims description 13
- 235000017491 Bambusa tulda Nutrition 0.000 claims description 13
- 241001330002 Bambuseae Species 0.000 claims description 13
- 235000015334 Phyllostachys viridis Nutrition 0.000 claims description 13
- 239000011425 bamboo Substances 0.000 claims description 13
- 230000000149 penetrating effect Effects 0.000 claims 1
- 238000000926 separation method Methods 0.000 abstract description 17
- 238000004519 manufacturing process Methods 0.000 abstract description 14
- 238000012545 processing Methods 0.000 abstract description 10
- 238000012216 screening Methods 0.000 abstract description 8
- 238000001125 extrusion Methods 0.000 abstract description 4
- 230000009286 beneficial effect Effects 0.000 abstract 1
- 238000000034 method Methods 0.000 description 20
- 230000008569 process Effects 0.000 description 17
- 235000013399 edible fruits Nutrition 0.000 description 14
- 230000000694 effects Effects 0.000 description 12
- 239000004744 fabric Substances 0.000 description 9
- 238000007599 discharging Methods 0.000 description 8
- 235000014571 nuts Nutrition 0.000 description 8
- 230000009471 action Effects 0.000 description 6
- 230000008901 benefit Effects 0.000 description 5
- 239000010903 husk Substances 0.000 description 4
- 239000002994 raw material Substances 0.000 description 4
- 238000013461 design Methods 0.000 description 3
- 239000000446 fuel Substances 0.000 description 3
- 238000011068 loading method Methods 0.000 description 3
- 239000002699 waste material Substances 0.000 description 3
- 238000007664 blowing Methods 0.000 description 2
- 235000013305 food Nutrition 0.000 description 2
- 239000008187 granular material Substances 0.000 description 2
- 238000009434 installation Methods 0.000 description 2
- 238000002955 isolation Methods 0.000 description 2
- KZJWDPNRJALLNS-VPUBHVLGSA-N (-)-beta-Sitosterol Natural products O[C@@H]1CC=2[C@@](C)([C@@H]3[C@H]([C@H]4[C@@](C)([C@H]([C@H](CC[C@@H](C(C)C)CC)C)CC4)CC3)CC=2)CC1 KZJWDPNRJALLNS-VPUBHVLGSA-N 0.000 description 1
- CSVWWLUMXNHWSU-UHFFFAOYSA-N (22E)-(24xi)-24-ethyl-5alpha-cholest-22-en-3beta-ol Natural products C1CC2CC(O)CCC2(C)C2C1C1CCC(C(C)C=CC(CC)C(C)C)C1(C)CC2 CSVWWLUMXNHWSU-UHFFFAOYSA-N 0.000 description 1
- KLEXDBGYSOIREE-UHFFFAOYSA-N 24xi-n-propylcholesterol Natural products C1C=C2CC(O)CCC2(C)C2C1C1CCC(C(C)CCC(CCC)C(C)C)C1(C)CC2 KLEXDBGYSOIREE-UHFFFAOYSA-N 0.000 description 1
- LPZCCMIISIBREI-MTFRKTCUSA-N Citrostadienol Natural products CC=C(CC[C@@H](C)[C@H]1CC[C@H]2C3=CC[C@H]4[C@H](C)[C@@H](O)CC[C@]4(C)[C@H]3CC[C@]12C)C(C)C LPZCCMIISIBREI-MTFRKTCUSA-N 0.000 description 1
- ARVGMISWLZPBCH-UHFFFAOYSA-N Dehydro-beta-sitosterol Natural products C1C(O)CCC2(C)C(CCC3(C(C(C)CCC(CC)C(C)C)CCC33)C)C3=CC=C21 ARVGMISWLZPBCH-UHFFFAOYSA-N 0.000 description 1
- 241000287828 Gallus gallus Species 0.000 description 1
- 241000283973 Oryctolagus cuniculus Species 0.000 description 1
- 241001494479 Pecora Species 0.000 description 1
- 241000282887 Suidae Species 0.000 description 1
- MJVXAPPOFPTTCA-UHFFFAOYSA-N beta-Sistosterol Natural products CCC(CCC(C)C1CCC2C3CC=C4C(C)C(O)CCC4(C)C3CCC12C)C(C)C MJVXAPPOFPTTCA-UHFFFAOYSA-N 0.000 description 1
- LGJMUZUPVCAVPU-UHFFFAOYSA-N beta-Sitostanol Natural products C1CC2CC(O)CCC2(C)C2C1C1CCC(C(C)CCC(CC)C(C)C)C1(C)CC2 LGJMUZUPVCAVPU-UHFFFAOYSA-N 0.000 description 1
- NJKOMDUNNDKEAI-UHFFFAOYSA-N beta-sitosterol Natural products CCC(CCC(C)C1CCC2(C)C3CC=C4CC(O)CCC4C3CCC12C)C(C)C NJKOMDUNNDKEAI-UHFFFAOYSA-N 0.000 description 1
- 230000002457 bidirectional effect Effects 0.000 description 1
- 229920002678 cellulose Polymers 0.000 description 1
- 239000001913 cellulose Substances 0.000 description 1
- 235000013330 chicken meat Nutrition 0.000 description 1
- 238000004140 cleaning Methods 0.000 description 1
- 230000007423 decrease Effects 0.000 description 1
- 239000008157 edible vegetable oil Substances 0.000 description 1
- 238000003912 environmental pollution Methods 0.000 description 1
- 238000001914 filtration Methods 0.000 description 1
- 229920005610 lignin Polymers 0.000 description 1
- 244000144972 livestock Species 0.000 description 1
- 238000012986 modification Methods 0.000 description 1
- 230000004048 modification Effects 0.000 description 1
- 150000002894 organic compounds Chemical class 0.000 description 1
- 102000004169 proteins and genes Human genes 0.000 description 1
- 108090000623 proteins and genes Proteins 0.000 description 1
- 238000010298 pulverizing process Methods 0.000 description 1
- 239000001397 quillaja saponaria molina bark Substances 0.000 description 1
- 229930182490 saponin Natural products 0.000 description 1
- 150000007949 saponins Chemical class 0.000 description 1
- KZJWDPNRJALLNS-VJSFXXLFSA-N sitosterol Chemical compound C1C=C2C[C@@H](O)CC[C@]2(C)[C@@H]2[C@@H]1[C@@H]1CC[C@H]([C@H](C)CC[C@@H](CC)C(C)C)[C@@]1(C)CC2 KZJWDPNRJALLNS-VJSFXXLFSA-N 0.000 description 1
- 229950005143 sitosterol Drugs 0.000 description 1
- NLQLSVXGSXCXFE-UHFFFAOYSA-N sitosterol Natural products CC=C(/CCC(C)C1CC2C3=CCC4C(C)C(O)CCC4(C)C3CCC2(C)C1)C(C)C NLQLSVXGSXCXFE-UHFFFAOYSA-N 0.000 description 1
- 235000015500 sitosterol Nutrition 0.000 description 1
- 238000006467 substitution reaction Methods 0.000 description 1
- 238000012546 transfer Methods 0.000 description 1
- 238000013024 troubleshooting Methods 0.000 description 1
Images
Classifications
-
- A—HUMAN NECESSITIES
- A23—FOODS OR FOODSTUFFS; TREATMENT THEREOF, NOT COVERED BY OTHER CLASSES
- A23N—MACHINES OR APPARATUS FOR TREATING HARVESTED FRUIT, VEGETABLES OR FLOWER BULBS IN BULK, NOT OTHERWISE PROVIDED FOR; PEELING VEGETABLES OR FRUIT IN BULK; APPARATUS FOR PREPARING ANIMAL FEEDING- STUFFS
- A23N5/00—Machines for hulling, husking or cracking nuts
- A23N5/01—Machines for hulling, husking or cracking nuts for peanuts
-
- A—HUMAN NECESSITIES
- A23—FOODS OR FOODSTUFFS; TREATMENT THEREOF, NOT COVERED BY OTHER CLASSES
- A23N—MACHINES OR APPARATUS FOR TREATING HARVESTED FRUIT, VEGETABLES OR FLOWER BULBS IN BULK, NOT OTHERWISE PROVIDED FOR; PEELING VEGETABLES OR FRUIT IN BULK; APPARATUS FOR PREPARING ANIMAL FEEDING- STUFFS
- A23N17/00—Apparatus specially adapted for preparing animal feeding-stuffs
-
- B—PERFORMING OPERATIONS; TRANSPORTING
- B02—CRUSHING, PULVERISING, OR DISINTEGRATING; PREPARATORY TREATMENT OF GRAIN FOR MILLING
- B02C—CRUSHING, PULVERISING, OR DISINTEGRATING IN GENERAL; MILLING GRAIN
- B02C18/00—Disintegrating by knives or other cutting or tearing members which chop material into fragments
- B02C18/0084—Disintegrating by knives or other cutting or tearing members which chop material into fragments specially adapted for disintegrating garbage, waste or sewage
-
- B—PERFORMING OPERATIONS; TRANSPORTING
- B02—CRUSHING, PULVERISING, OR DISINTEGRATING; PREPARATORY TREATMENT OF GRAIN FOR MILLING
- B02C—CRUSHING, PULVERISING, OR DISINTEGRATING IN GENERAL; MILLING GRAIN
- B02C18/00—Disintegrating by knives or other cutting or tearing members which chop material into fragments
- B02C18/06—Disintegrating by knives or other cutting or tearing members which chop material into fragments with rotating knives
- B02C18/08—Disintegrating by knives or other cutting or tearing members which chop material into fragments with rotating knives within vertical containers
- B02C18/12—Disintegrating by knives or other cutting or tearing members which chop material into fragments with rotating knives within vertical containers with drive arranged below container
-
- B—PERFORMING OPERATIONS; TRANSPORTING
- B02—CRUSHING, PULVERISING, OR DISINTEGRATING; PREPARATORY TREATMENT OF GRAIN FOR MILLING
- B02C—CRUSHING, PULVERISING, OR DISINTEGRATING IN GENERAL; MILLING GRAIN
- B02C18/00—Disintegrating by knives or other cutting or tearing members which chop material into fragments
- B02C18/06—Disintegrating by knives or other cutting or tearing members which chop material into fragments with rotating knives
- B02C18/16—Details
- B02C18/24—Drives
-
- B—PERFORMING OPERATIONS; TRANSPORTING
- B02—CRUSHING, PULVERISING, OR DISINTEGRATING; PREPARATORY TREATMENT OF GRAIN FOR MILLING
- B02C—CRUSHING, PULVERISING, OR DISINTEGRATING IN GENERAL; MILLING GRAIN
- B02C23/00—Auxiliary methods or auxiliary devices or accessories specially adapted for crushing or disintegrating not provided for in preceding groups or not specially adapted to apparatus covered by a single preceding group
- B02C23/18—Adding fluid, other than for crushing or disintegrating by fluid energy
-
- B—PERFORMING OPERATIONS; TRANSPORTING
- B07—SEPARATING SOLIDS FROM SOLIDS; SORTING
- B07B—SEPARATING SOLIDS FROM SOLIDS BY SIEVING, SCREENING, SIFTING OR BY USING GAS CURRENTS; SEPARATING BY OTHER DRY METHODS APPLICABLE TO BULK MATERIAL, e.g. LOOSE ARTICLES FIT TO BE HANDLED LIKE BULK MATERIAL
- B07B1/00—Sieving, screening, sifting, or sorting solid materials using networks, gratings, grids, or the like
- B07B1/28—Moving screens not otherwise provided for, e.g. swinging, reciprocating, rocking, tilting or wobbling screens
-
- B—PERFORMING OPERATIONS; TRANSPORTING
- B07—SEPARATING SOLIDS FROM SOLIDS; SORTING
- B07B—SEPARATING SOLIDS FROM SOLIDS BY SIEVING, SCREENING, SIFTING OR BY USING GAS CURRENTS; SEPARATING BY OTHER DRY METHODS APPLICABLE TO BULK MATERIAL, e.g. LOOSE ARTICLES FIT TO BE HANDLED LIKE BULK MATERIAL
- B07B1/00—Sieving, screening, sifting, or sorting solid materials using networks, gratings, grids, or the like
- B07B1/42—Drive mechanisms, regulating or controlling devices, or balancing devices, specially adapted for screens
-
- B—PERFORMING OPERATIONS; TRANSPORTING
- B07—SEPARATING SOLIDS FROM SOLIDS; SORTING
- B07B—SEPARATING SOLIDS FROM SOLIDS BY SIEVING, SCREENING, SIFTING OR BY USING GAS CURRENTS; SEPARATING BY OTHER DRY METHODS APPLICABLE TO BULK MATERIAL, e.g. LOOSE ARTICLES FIT TO BE HANDLED LIKE BULK MATERIAL
- B07B11/00—Arrangement of accessories in apparatus for separating solids from solids using gas currents
-
- B—PERFORMING OPERATIONS; TRANSPORTING
- B07—SEPARATING SOLIDS FROM SOLIDS; SORTING
- B07B—SEPARATING SOLIDS FROM SOLIDS BY SIEVING, SCREENING, SIFTING OR BY USING GAS CURRENTS; SEPARATING BY OTHER DRY METHODS APPLICABLE TO BULK MATERIAL, e.g. LOOSE ARTICLES FIT TO BE HANDLED LIKE BULK MATERIAL
- B07B7/00—Selective separation of solid materials carried by, or dispersed in, gas currents
- B07B7/01—Selective separation of solid materials carried by, or dispersed in, gas currents using gravity
-
- B—PERFORMING OPERATIONS; TRANSPORTING
- B07—SEPARATING SOLIDS FROM SOLIDS; SORTING
- B07B—SEPARATING SOLIDS FROM SOLIDS BY SIEVING, SCREENING, SIFTING OR BY USING GAS CURRENTS; SEPARATING BY OTHER DRY METHODS APPLICABLE TO BULK MATERIAL, e.g. LOOSE ARTICLES FIT TO BE HANDLED LIKE BULK MATERIAL
- B07B9/00—Combinations of apparatus for screening or sifting or for separating solids from solids using gas currents; General arrangement of plant, e.g. flow sheets
Landscapes
- Engineering & Computer Science (AREA)
- Food Science & Technology (AREA)
- Life Sciences & Earth Sciences (AREA)
- Chemical & Material Sciences (AREA)
- Polymers & Plastics (AREA)
- Environmental & Geological Engineering (AREA)
- Apparatuses For Bulk Treatment Of Fruits And Vegetables And Apparatuses For Preparing Feeds (AREA)
Abstract
本发明涉及一种农业生产用花生剥壳装置,第一转轴穿设于脱壳筒内,并能相对脱壳筒进行转动,脱壳筒下方安装有导料筒,风选机构包括风盒、第二转轴和固定安装在第二转轴上的旋转叶片,风盒上安装有与其连通的风嘴,风嘴朝向导料筒的出料口,集料箱一侧固定安装有压板,压板和箱体内壁之间配合形成挤压通道;箱体内设有隔离板,隔离板使箱体内腔中形成有粉碎室,在粉碎室内设有滤网,滤网上转动连接有粉碎刀片。本发明集花生自动上料、花生脱壳、果仁和果壳的筛选、小颗粒花生脱壳、果壳粉碎等功能于一体,具备动力源数量需求少,生产制造成本低,工作效率高,加工周期短等有益效果。
Description
技术领域
本发明涉及脱壳机械领域,尤其涉及一种农业生产用花生剥壳装置。
背景技术
花生是人们日常生活中主要的食物及食用油的来源之一,不管是简单剥壳食用,还是精加工成各种美味食品,都必须对花生进行脱壳处理。对花生的脱壳加工无外乎人工和机械脱壳这两种方式,采用人工脱壳,劳动强度大,工作效率低下。申请号为2018113774672的发明专利公开了一种双向揉搓式花生脱壳机,该设备通过电机带动蜗杆旋转进而带动转轴、揉搓滚筒、蜗轮同步旋转,蜗轮带动连杆运动,连杆带动揉搓滚筒沿转轴轴线做往复直线运动,从而实现花生的机械化脱壳。该设备具有以下缺陷:(1)该装置对花生颗粒大小的均匀性要求较高,其无法处理颗粒较小的花生,脱壳效果难以得到保障;(2)脱壳和风选两道工序相互独立,对动力源的数量要求高,导致生产制造成本较高;(3)需要人工将花生投入到机器顶部的进料口内,导致加工人员的劳动强度较大;(4)花生壳直接被吹到机器外部的环境当中,花生壳散落在地面上,清理不便,也在一定程度上带来了环境污染的问题。
发明内容
本发明正是针对现有技术存在的不足,本发明提供了集花生自动上料、花生脱壳、果仁和果壳的筛选、小颗粒花生脱壳、果壳粉碎等功能于一体,具备动力源数量需求少,生产制造成本低,工作效率高,加工周期短的农业生产用花生剥壳装置。
本发明所采取的技术方案如下:
一种农业生产用花生剥壳装置,包括箱体,其特征在于,所述箱体上安装有进料机构,所述箱体内设有脱壳机构、风选机构和集料箱;所述进料机构用于将花生自下而上输送至脱壳机构内,所述脱壳机构用于对花生进行脱壳处理,所述脱壳机构包括脱壳筒、第一转轴和固定安装在第一转轴上的弧形压板,第一转轴穿设于脱壳筒内,并能相对脱壳筒进行转动,脱壳筒下方安装有导料筒,自上而下,所述导料筒的内径逐渐减小;所述风选机构包括风盒、第二转轴和固定安装在第二转轴上的旋转叶片,风盒上安装有与其连通的风嘴,所述风嘴朝向导料筒的出料口,安装在箱体底部的电机通过第一传动机构与第一转轴驱动连接,第二转轴和第一转轴之间通过第二传动机构传动连接;集料箱能水平滑动地安装在箱体内,并位于风选机构下方,集料箱上部敞口,集料箱的开口处安装有用于分离果仁和小颗粒花生的筛网,所述筛网倾斜设置,第二转轴和集料箱之间传动连接,以使第二转轴转动时,集料箱能进行水平往复运动,集料箱一侧固定安装有压板,压板位于筛网的较低端,压板底部设有卸料板,卸料板一端铰接在箱体上,卸料板的上表面和压板的下表面能处于同一平面上,压板和箱体内壁之间配合形成挤压通道;箱体内设有隔离板,隔离板使箱体内腔中形成有粉碎室,由风嘴吹离的果壳能进至该粉碎室内,在粉碎室内设有滤网,滤网上转动连接有粉碎刀片。
优选地,所述进料机构包括料斗、料筒和输送绞龙,料斗底部开设有出料口,料筒底部开设有进料口,料斗的出料口和料筒的进料口连通,输送绞龙转动连接在料筒内,用于将物料由料筒底部传输至顶部,并通过料筒的出料口输送至脱壳机构内。
优选地,粉碎刀片和输送绞龙通过第四传动机构与电机传动连接,第四传动机构包括第三伞齿轮、第四伞齿轮、第六转轴、第七转轴、第八辊轮、第九辊轮和第十辊轮,第三伞齿轮套装在电机的输出轴上,第四伞齿轮套装在第六转轴上,第六转轴和第七转轴均转动连接在箱体上,并受箱体支承,第三伞齿轮和第四伞齿轮相啮合,第八辊轮套装在第六转轴上,第九辊轮套装在第七转轴上,第十辊轮套装在输送绞龙的旋转轴上,第八辊轮和第十辊轮均通过皮带或链条与第九辊轮传动连接。
优选地,脱壳筒呈半圆筒状结构,其中心线与水平面相平行,脱壳筒固定安装在箱体的内腔中,并受箱体所支承;第一转轴与脱壳筒同轴设置,第一转轴与箱体之间转动连接,以能相对脱壳筒转动,脱壳筒周壁上贯穿地开设有多个过料通道,过料通道的长度方向与脱壳筒的轴向相平行,过料通道在脱壳筒上呈圆周状分布,弧形压板外壁呈圆弧状,弧形压板通过支架与第一转轴固定连接,弧形压板外壁和脱壳筒内壁之间具有用于挤压花生的间隙,弧形压板外壁上固定安装有橡胶垫。
优选地,第一传动机构包括第一辊轮和第二辊轮,第一辊轮套装在电机的输出轴上,第二辊轮套装在第一转轴上,第一辊轮和第二辊轮之间通过皮带或链条传动连接。
优选地,第二传动机构包括第三辊轮、第三转轴、第一伞齿轮、第二伞齿轮、第四转轴和第四辊轮,第二转轴的轴向与第一转轴的径向相平行,第三转轴转动连接在箱体内,第三转轴的轴向和第一转轴的轴向相平行,第三辊轮和第一伞齿轮均套装在第三转轴上,第三辊轮和第二辊轮之间通过皮带或链条传动连接,第四转轴转动连接在箱体内,其轴向与第二转轴的轴向相平行,第二伞齿轮套装在第四转轴一侧,第二伞齿轮和第一伞齿轮相啮合,第三转轴和第四转轴之间传动连接,第四转轴转动连接在箱体上,并受箱体支承。
优选地,第四转轴上套装有第四辊轮,第二转轴上套装有第五辊轮,箱体上还转动连接有第五转轴,第五转轴受箱体支承,第五转轴上套装有第六辊轮和第七辊轮,第五辊轮通过皮带或链条与第六辊轮传动连接,第四辊轮通过皮带或链条与第七辊轮传动连接,第四辊轮、第六辊轮、第七辊轮和第五辊轮的外径依次减小。
优选地,箱体底部安装有承载板,承载板上安装有滑轨,集料箱底部开设有与滑轨配合的滑槽,滑轨和滑槽的长度方向均与第二转轴的轴向相平行,集料箱或筛网通过第三传动机构与第七辊轮传动连接,以使集料箱能在承载板上进行水平往复运动。
优选地,第三传动机构包括摇臂、滑块和拉杆,摇臂一端铰接在第七辊轮端面上,摇臂和第七辊轮连接处位于第七辊轮中心线外侧,摇臂另一端铰接在滑块上,滑块滑动连接在箱体上,滑块的滑动方向与箱体的高度方向相平行,拉杆一端铰接在集料箱或筛网上,另一端铰接在滑块上。
优选地,所述脱壳筒包括两块相对设置的侧板,两个侧板均呈半圆状结构,且上表面自前端至后端贯穿地开设有于第一转轴形状匹配的弧形槽,两块侧板之间固定连接有多根圆杆,所述圆杆相对两块侧板的中线连线呈圆环状分布,相邻两根圆杆之间形成用于允许果仁和果壳通过的过料通道。
本发明与现有技术相比较,本发明的实施效果如下:
通过输送绞龙能够将花生自下而上提升至脱壳机构内,由于无需人工进行花生的上料,能够极大的减少工作人员的劳动强度。
电机通过第一传动机构驱动第一转轴转动,实现脱壳机构工作,以将花生分解成果仁和果壳。第二转轴和第一转轴之间通过第二传动机构实现联动,第二转轴在转动时带动旋转叶片转动,使新风通过进风口进入风盒,并通过风嘴喷吹出来。由于果仁的重量较果壳重量大,果仁和果壳下落的过程中,果壳被吹离的较远,从而实现果壳和果仁的分离。电机安装在箱体底部,并能同时为脱壳机构和风选机构提供动力,起到降低动力源数量,降低制造成本效果的同时,也解决了动力装置设在箱体顶部带来的安装不便的技术问题,保证了该装置得以长时间稳定工作。
第二转轴和第四转轴之间通过多个外径不同的辊轮进行传动,有助于实现第二转轴和第四转轴之间具备合适的传动比,促使果壳能够顺利落入粉碎室内,通过粉碎刀片的作用能够充分作用于果壳,使之由颗粒状变成粉末状,粉碎后的果壳可用作饲料或者燃料,提高了花生的附加价值。
第七辊轮在将动力传递到第二转轴上,带动旋转叶片进行转动,实现鼓风的同时,还能够将动力传递到筛网上,带动筛网进行水平往复运动,提高了对花生和果仁的分离效率。筛网在运动过程中还能够带动压板运动,通过压板还能够对小颗粒的物料进行剥壳,实现了对花生的充分剥壳,减少了对小颗粒花生的浪费。
也就是说,本申请通过一个动力源能够同时驱动脱壳机构、风选机构以及筛网动作,降低了该装置对动力源的需求量,在保证原料利用率和产品质量的前提下,能够有效降低装置的成本,利于市场推广,此外还能够实现装置的轻量化,方便搬运。
本申请通过电机能够同时驱动脱壳机构、风选机构、筛网、输送绞龙以及粉碎刀片动作,即本申请能够集花生自动上料、花生脱壳、果仁和果壳的筛选、小颗粒花生脱壳、果壳粉碎等功能于一体,过程经凑,工序之间衔接顺畅,在保证了对花生加工效果的前提下,极大了提高了工作效率,缩短了花生的加工周期,且上述加工工序均由同一个动力源提供动力,有效节省了装置的生产制造成本。
附图说明
图1是本发明一种状态下的结构示意图。
图2是本发明进料机构所在部分的结构示意图。
图3、4是本发明中脱壳筒所在部分的结构示意图。
图5是本发明中脱壳机构和风选机构所在部分的结构示意图。
图6是本发明中风选机构所在部分的结构示意图。
图7、8是本发明中集料箱所在部分的结构示意图。
附图标记说明如下:1、箱体;10、卸料板;12、第二卸料板;13、限位板;2、料斗;3、集料箱;31、压板;33、筛网;4、脱壳机构;41、侧板;411、弧形槽;42、圆杆;421、过料通道;43、导料筒;51、电机;52、第一辊轮;53、第二辊轮;54、弧形压板;55、支架;56、第一转轴;6、第二传动机构;60、第三转轴、61、第三辊轮;62、第一伞齿轮;63、第二伞齿轮;64、第四转轴;65、第四辊轮;66、第七辊轮;67、第五辊轮;68、第六辊轮;69、第五转轴;7、风选机构;71、风盒;72、风嘴;73、旋转叶片;74、第二转轴;8、第三传动机构;81、滑块;82、拉杆;83、摇臂;9、进料机构;91、料斗;92、进料筒;93、输送绞龙;94、第十辊轮;101、第九辊轮;102、第七转轴;103、粉碎刀片;104、滤网;105、粉碎室;106、隔离板;11、第四传动机构;111、第八辊轮;112、第四伞齿轮;113、第三伞齿轮;114、第六转轴。
具体实施方式
为使本发明实施例的目的、技术方案和优点更加清楚,下面将结合本发明实施例中的附图,对本发明实施例中的技术方案进行清楚、完整地描述,显然,所描述的实施例是本发明一部分实施例,而不是全部的实施例。基于本发明中的实施例,本领域普通技术人员在没有作出创造性劳动前提下所获得的所有其他实施例,都属于本发明保护的范围。
参照图1,本发明提出了一种脱壳装置,包括箱体1和安装在箱体1上的进料机构、脱壳机构4、风选机构7和集料箱3,进料机构用于向脱壳机构4内输送花生,脱壳机构4用于对花生进行脱壳处理,以得到果仁和果壳,风选机构7用于实现果仁和果壳的分离,集料箱3用于收集分离后的果仁。
从整体上看,箱体1大致呈筒状结构,其上部敞口,脱壳机构4、风选机构7和集料箱3均安装在箱体1内,并呈高低位分布。
参照图2,进料机构9安装在箱体1外侧,进料机构9包括料斗91和料筒92,料斗91底部开设有出料口,料筒底部开设有进料口,料斗91的出料口和料筒92的进料口连通,料筒92内转动连接有输送绞龙93,料筒92顶部开设有出料口921,输送绞龙93用于将物料由底部传输至顶部,并通过料筒的出料口921输送至脱壳机构4内,以实现进料。
参照图1和5,脱壳机构4包括脱壳筒40、第一转轴56和弧形压板54,脱壳筒40呈半圆筒状结构,其中心线与水平面相平行,脱壳筒40固定安装在箱体1的内腔中,并受箱体1所支承;第一转轴56穿设于脱壳筒40内,并与脱壳筒40同轴设置,第一转轴56与箱体1之间转动连接,以能相对脱壳筒40转动。参照图4,脱壳筒40周壁上贯穿地开设有多个过料通道421,过料通道421的长度方向与脱壳筒40的轴向相平行,过料通道421在脱壳筒40上呈圆周状分布。参照图5,弧形压板54外壁呈圆弧状,弧形压板54通过支架55与第一转轴56固定连接,弧形压板54外壁和脱壳筒40内壁之间具有间隙,花生在此间隙空间内受弧形压板54和脱壳筒40所挤压,从而分离出果壳内的果仁。
参照图1、5、6,风选机构7包括风盒71、第二转轴74、旋转叶片73和风嘴72,风盒71固定安装在箱体1内腔中,风盒71具有进风口,该进风口可以直接与箱体1内腔连通,也可以与箱体1外部环境连通,第二转轴74转动连接在风盒71中,并受风盒71支承,第二转轴74的轴向与第一转轴56的径向相平行,旋转叶片73套装在第二转轴74上,并位于风盒71内,风嘴72与风盒71的出风口连通,其开口方向朝向脱壳机构4的出料口。
第二转轴74能相对风盒71进行转动,第二转轴74上的旋转叶片73同步转动,以使新风通过进风口进入风盒71,并通过风嘴72喷吹出来。由于果仁的重量较果壳重量大,果仁和果壳下落的过程中,果壳被吹离的较远,从而实现果壳和果仁的分离。参照图1、3,为了保证风选机构的处理效果,在脱壳筒40下方安装有导料筒43,自上而下,所述导料筒43的内径逐渐减小,风嘴72靠近导料筒43底部的出口设置。在果仁和果壳脱离脱壳筒40后直接落入导料筒43内,然后通过导料筒43底部的出口下落。
本发明中的风选机构7需安装在箱体1的上部,如果将驱动风选机构7动作的动力装置也安装在箱体1上部,由于动力装置重量较大,将造成动力装置安装不便,此外重量也集中在一侧,容易导致箱体1发生侧倾,影响该装置工作的稳定性和安全性。基于此构思,本发明将动力装置的动力源安装在箱体1底部,动力装置通过第一传动机构驱动第一转轴56转动,以实现脱壳机构4工作,第二转轴74和第一转轴56之间通过第二传动机构6实现联动,在降低动力源数量,降低制造成本的同时,也解决了动力装置安装不便和箱体1易发生侧倾的技术问题,保证了该装置得以长时间稳定工作。接下来对第一传动机构和第二传动机构6的结构做具体说明。
参照图5,电机51通过第一传动机构与第一转轴56传动连接,第一传动机构包括第一辊轮52和第二辊轮53,第一辊轮52套装在电机51的输出轴上,第二辊轮53套装在第一转轴56上,第一辊轮52和第二辊轮53之间通过皮带或链条传动连接。
第二传动机构6包括第三辊轮61、第三转轴60、第一伞齿轮62、第二伞齿轮63、第四转轴64和第四辊轮65,第三转轴60转动连接在箱体1内,第三转轴60的轴向和第一转轴56的轴向相平行,第三辊轮61和第一伞齿轮62均套装在第三转轴60上,第三辊轮61和第二辊轮53之间通过皮带或链条传动连接,第四转轴64转动连接在箱体1内,并受箱体1支承,其轴向与第二转轴74的轴向相平行,第二伞齿轮63套装在第四转轴64一侧,第二伞齿轮63和第一伞齿轮62相啮合,第三转轴60和第四转轴64之间传动连接,第四转轴64转动连接在箱体1上,并受箱体1支承。
电机51启动后,电机51通过第一辊轮52、第二辊轮53、皮带或链条驱动第一转轴56转动,第一转轴56转动带动其上的弧形压板54转动,弧形压板54在转动过程中作用于脱壳筒40内的花生,果壳发生破裂,果仁被从果壳内甩出,从而实现了对花生的脱壳处理。在第一转轴56转动的同时,第一转轴56通过第二辊轮53、第三辊轮61、皮带或链条带动第三转轴60转动,第三转轴60通过第一伞齿轮62和第二伞齿轮63带动第四转轴64转动,第四转轴64转动带动第二转轴74转动,第二转轴74在转动过程中带动旋转叶片73转动,从而实现了风选机构7的工作。
第四转轴64和第二转轴74之间可通过辊轮传动的形式实现传动,由于旋转叶片73套装在第二转轴74上,用于对果仁和果壳进行风选处理。如果旋转叶片73转速过快,将导致由风嘴72出来的风风力过大,使得果壳被限制在箱体1内壁上,难以顺利下落。如果旋转叶片73转速过慢,将导致由风嘴72出来的风风力过小,不能实现果仁和果壳的有效分离,因此第四转轴64和第二转轴74上的辊轮需要有一个合适的传动比,本申请第二转轴74和第四转轴64通过以下方式传动:
第四转轴64上套装有第四辊轮65,第二转轴74上套装有第五辊轮67,箱体1上还转动连接有第五转轴69,即第五转轴69受箱体1支承,第五转轴69上套装有第六辊轮68和第七辊轮66,第五辊轮67通过皮带或链条与第六辊轮68传动连接,第四辊轮65通过皮带或链条与第七辊轮66传动连接,第四辊轮65、第六辊轮68、第七辊轮66和第五辊轮67的外径依次减小。
第四转轴64转动带动第四辊轮65转动时,第四辊轮65通过皮带或链条带动第七辊轮66转动,第七辊轮66转动带动第六辊轮68转动,第六辊轮68通过皮带或链条带动第五辊轮67转动,第五辊轮67转动带动旋转叶片73转动,以扇动空气,使风从风盒71的风嘴72鼓出。
脱壳机构4用于实现花生的脱壳处理,但是对于少量且颗粒较小的花生,脱壳机构4的作用效果有限,也就是说,未脱壳的颗粒较小的花生会随着果壳和果仁一同下落,而花生和果仁的重量相差不多,风选机构7也无法实现花生和果仁的有效分离。为了保证脱壳后果仁的品质,还需要在果仁进入集料箱3前,将花生从果仁中剔除出去。基于此构思,本实施例中的集料箱3采用了如下设计:
参照图8,集料箱3采用敞口式设计,在集料箱3顶部固定安装有筛网33,筛网33挡止在集料箱3的开口处。由于花生较果仁颗粒大,筛网33能够将花生阻挡在集料箱3外,而果仁则能顺畅的通过筛网33的网孔进入集料箱3内。筛网33采用倾斜式设计,即筛网33一侧的高度较另一侧的高度大,筛网33上的花生能顺着筛网33的坡度方向向下滚落。为了加速花生和果仁的分离效率,并防止果仁在花生上随花生滚落出去,本实施例还增加了传动机构,使筛网33能够相对箱体1做水平往复运动,以提高果仁和花生的筛分效率和筛分效果,具体实现方式如下:
参照图1、7,箱体1底部安装有承载板,承载板上安装有滑轨,集料箱3底部开设有与滑轨配合的滑槽,滑轨和滑槽的长度方向均与第二转轴74的轴向相平行,集料箱3或筛网33通过第三传动机构8与第七辊轮66传动连接,以使集料箱3能在承载板上进行水平往复运动。
第三传动机构8包括摇臂83、滑块81和拉杆82,摇臂83一端铰接在第七辊轮66端面上,摇臂83和第七辊轮66连接处位于第七辊轮66中心线外侧,摇臂83另一端铰接在滑块81上,滑块81滑动连接在箱体1上,滑块81的滑动方向与箱体1的高度方向相平行,拉杆82一端铰接在集料箱3或筛网33上,另一端铰接在滑块81上。
在第七辊轮66转动过程中,第七辊轮66通过摇臂83带动滑块81进行水平往复运动,滑块81在运动过程中通过拉杆82带动集料箱3和筛网33做水平往复运动,以加快花生和果仁的分离。
第七辊轮66在将动力传递到第二转轴74上,带动旋转叶片73进行转动,实现鼓风的同时,还能够将动力传递到筛网33上,带动筛网33进行水平往复运动,提高了对花生和果仁的分离效率。也就是说,本申请通过合理的结构设计,使一个动力源能够同时驱动脱壳机构4、风选机构7以及筛网33动作,降低了该装置对动力源的需求量,在保证原料利用率和产品质量的前提下,能够有效降低装置的生产制造成本,利于市场推广,此外还能够实现装置的轻量化,方便搬运,并对故障检修有一定的促进作用。
在花生通过筛网33滚落下来后,可通过料箱等容器进其收集起来。为了减少对花生的浪费,提高利用率,后续还需要对颗粒小的花生进行进一步的脱壳处理。此过程可采用人工剥壳,或者更换孔洞较小的脱壳筒40,并通过脱壳机构4对花生进行进一步脱落的方式。无论采用何种方式,过程都存在进行花生的中转,以及花生再一次脱壳的过程,且两脱壳非同步进行,导致整个花生脱壳加工周期延长。
参照1和8,本实施例中,在集料箱3上固定安装有压板31,压板31位于筛网33的较低端,压板31底部设有卸料板10,卸料板10铰接在箱体1上,卸料板10的上表面和压板31的下表面能处于同一平面上。压板31和箱体1内壁之间配合形成挤压通道,在压板31随集料箱3逐渐向靠近箱体1方向运动的过程中,压板31推动小颗粒花生进行水平运动,在花生与箱体1接触后,压板31逐渐对花生进行施压,使得花生的果壳破碎,暴露出果壳内的果仁。为了防止果壳也发生破碎,在压板31的表面固定安装有橡胶垫。小颗粒的花生数量较少,在脱壳装置工作一段时间后,即小颗粒花生积累到一定量后,可对电机51进行断电,并向下翻转卸料板10,使挤压通道底部的开口敞开,果仁和果壳顺着卸料板10向下运动进行下料。在进行下一次脱壳处理时,可将果壳和果仁随待脱壳的花生一同投入进料机构9的料斗91内,使之由输送绞龙93输送至脱壳机构3内,并通过风选机构7实现果壳和果仁的分离。
风选机构能够将脱壳后得到的果壳和果仁分离出来,而果壳中含有大量的有机化合物,如木质素、纤维素、蛋白质、谷甾醇、皂甙等,粉碎后的果壳可用于饲养牲畜如猪、羊、鸡、獭兔等,也可以用作饲料原料或者燃料,因此在风选后还可对果壳进行粉碎处理。基于此构思,本实施例在箱体1底部设有隔离板106,隔离板106使箱体1内腔形成有粉碎室105,风嘴72能够将果壳吹至粉碎室105内。在粉碎室105内设有滤网104,滤网104上转动连接有粉碎刀片103,粉碎刀片103转动时作用于果壳,将其粉碎,粉碎后的果壳通过滤网104上的网孔在粉碎室105底部沉积。粉碎室105具有卸料口,通过该卸料口能够将粉状的果壳排出。
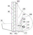
本申请中的粉碎刀片103和输送绞龙93通过第四传动机构11与电机51传动连接。参照图2,第四传动机构11包括第三伞齿轮113、第四伞齿轮112、第六转轴114、第七转轴102、第八辊轮111、第九辊轮101和第十辊轮94,第三伞齿轮113套装在电机51的输出轴上,第四伞齿轮112套装在第六转轴114上,第六转轴114和第七转轴102均转动连接在箱体上,并受箱体支承,第三伞齿轮113和第四伞齿轮112相啮合,第八辊轮111套装在第六转轴114上,第九辊轮101套装在第七转轴102上,第十辊轮94套装在输送绞龙93的旋转轴上,第八辊轮111和第十辊轮94均通过皮带或链条与第九辊轮101传动连接。
电机51工作时,电机51驱动第三伞齿轮113转动,第三伞齿轮113带动第四伞齿轮112转动,第四伞齿轮112带动与之同轴的第六转轴114转动,第六转轴114通过第八辊轮111和第九辊轮101带动第七转轴102转动,第七转轴102转动带动粉碎刀片103转动,以对果壳进行粉碎处理。此外,第七转轴102还通过第九辊轮101和第七辊轮带动输送绞龙93转动,以将料斗91中的物料自下而上输送至脱壳机构4内。
脱壳筒40上开设的过料通道42与应该与待脱壳的花生颗粒尺寸相匹配,即花生颗粒尺寸较大时,过料通道421的孔宽度也要稍微大些。因此针对不同品种的花生,需要对脱壳筒40过料通道42的大小进行适应性的选择。参照图4,本实施例中,所述脱壳筒40包括两块相对设置的侧板41,两个侧板41均呈半圆状结构,且上表面自前端至后端贯穿地开设有于第一转轴56形状匹配的弧形槽411,两块侧板41之间固定连接有多根圆杆42,所述圆杆42相对两块侧板41的中线连线呈圆环状分布,相邻两根圆杆42之间形成用于允许果仁和果壳通过的过料通道421。
在需要更换脱壳筒40时,可将原脱壳筒40由箱体1内取出,然后更换新的脱壳筒40即可。为了防止脱壳过程中脱壳筒40发生晃动,脱壳筒40和箱体1之间可采用螺栓、插销或者卡装的方式可拆卸连接起来,本实施例不做限制。
综上所述,本发明具有如下技术效果:
通过输送绞龙93能够将花生自下而上提升至脱壳机构4内,由于无需人工进行花生的上料,能够极大的减少工作人员的劳动强度。
电机51通过第一传动机构驱动第一转轴56转动,实现脱壳机构4工作,以将花生分解成果仁和果壳。第二转轴74和第一转轴56之间通过第二传动机构6实现联动,第二转轴74在转动时带动旋转叶片73转动,使新风通过进风口进入风盒71,并通过风嘴72喷吹出来。由于果仁的重量较果壳重量大,果仁和果壳下落的过程中,果壳被吹离的较远,从而实现果壳和果仁的分离。电机51安装在箱体1底部,并能同时为脱壳机构4和风选机构7提供动力,起到降低动力源数量,降低制造成本效果的同时,也解决了动力装置设在箱体顶部带来的安装不便的技术问题,保证了该装置得以长时间稳定工作。
第二转轴74和第四转轴64之间通过多个外径不同的辊轮进行传动,有助于实现第二转轴74和第四转轴64之间具备合适的传动比,促使果壳能够顺利落入粉碎室内,通过粉碎刀片的作用能够充分作用于果壳,使之由颗粒状变成粉末状,粉碎后的果壳可用作饲料或者燃料,提高了花生的附加价值。
第七辊轮66在将动力传递到第二转轴74上,带动旋转叶片73进行转动,实现鼓风的同时,还能够将动力传递到筛网33上,带动筛网33进行水平往复运动,提高了对花生和果仁的分离效率。筛网33在运动过程中还能够带动压板31运动,通过压板33还能够对小颗粒的物料进行剥壳,实现了对花生的充分剥壳,减少了对小颗粒花生的浪费。
也就是说,本申请通过一个动力源能够同时驱动脱壳机构4、风选机构以及筛网33动作,降低了该装置对动力源的需求量,在保证原料利用率和产品质量的前提下,能够有效降低装置的成本,利于市场推广,此外还能够实现装置的轻量化,方便搬运。
本申请通过电机51能够同时驱动脱壳机构4、风选机构、筛网33、输送绞龙93以及粉碎刀片103动作,即本申请能够集花生自动上料、花生脱壳、果仁和果壳的筛选、小颗粒花生脱壳、果壳粉碎等功能于一体,过程经凑,工序之间衔接顺畅,在保证了对花生加工效果的前提下,极大了提高了工作效率,缩短了花生的加工周期,且上述加工工序均由同一个动力源提供动力,有效节省了装置的生产制造成本。
以上实施例仅用以说明本发明的技术方案,而非对其限制;尽管参照前述实施例对本发明进行了详细的说明,本领域的普通技术人员应当理解:其依然可以对前述各实施例所记载的技术方案进行修改,或者对其中部分技术特征进行等同替换;而这些修改或者替换,并不使相应技术方案的本质脱离本发明各实施例技术方案的精神和范围。
Claims (10)
1.一种农业生产用花生剥壳装置,包括箱体,其特征在于,所述箱体上安装有进料机构,所述箱体内设有脱壳机构、风选机构和集料箱;所述进料机构用于将花生自下而上输送至脱壳机构内,所述脱壳机构用于对花生进行脱壳处理,所述脱壳机构包括脱壳筒、第一转轴和固定安装在第一转轴上的弧形压板,第一转轴穿设于脱壳筒内,并能相对脱壳筒进行转动,脱壳筒下方安装有导料筒,自上而下,所述导料筒的内径逐渐减小;所述风选机构包括风盒、第二转轴和固定安装在第二转轴上的旋转叶片,风盒上安装有与其连通的风嘴,所述风嘴朝向导料筒的出料口,安装在箱体底部的电机通过第一传动机构与第一转轴驱动连接,第二转轴和第一转轴之间通过第二传动机构传动连接;集料箱能水平滑动地安装在箱体内,并位于风选机构下方,集料箱上部敞口,集料箱的开口处安装有用于分离果仁和小颗粒花生的筛网,所述筛网倾斜设置,第二转轴和集料箱之间传动连接,以使第二转轴转动时,集料箱能进行水平往复运动;箱体内还设有隔离板,隔离板使箱体内腔中形成有粉碎室,由风嘴吹离的果壳能进至该粉碎室内,在粉碎室内设有滤网,滤网上转动连接有粉碎刀片。
2.根据权利要求1所述的一种农业生产用花生剥壳装置,其特征在于,所述进料机构包括料斗、料筒和输送绞龙,料斗底部开设有出料口,料筒底部开设有进料口,料斗的出料口和料筒的进料口连通,输送绞龙转动连接在料筒内,用于将物料由料筒底部传输至顶部,并通过料筒的出料口输送至脱壳机构内。
3.根据权利要求2所述的一种农业生产用花生剥壳装置,其特征在于,粉碎刀片和输送绞龙通过第四传动机构与电机传动连接,第四传动机构包括第三伞齿轮、第四伞齿轮、第六转轴、第七转轴、第八辊轮、第九辊轮和第十辊轮,第三伞齿轮套装在电机的输出轴上,第四伞齿轮套装在第六转轴上,第六转轴和第七转轴均转动连接在箱体上,并受箱体支承,第三伞齿轮和第四伞齿轮相啮合,第八辊轮套装在第六转轴上,第九辊轮套装在第七转轴上,第十辊轮套装在输送绞龙的旋转轴上,第八辊轮和第十辊轮均通过皮带或链条与第九辊轮传动连接。
4.根据权利要求1所述的一种农业生产用花生剥壳装置,其特征在于,脱壳筒呈半圆筒状结构,其中心线与水平面相平行,脱壳筒固定安装在箱体的内腔中,并受箱体所支承;第一转轴与脱壳筒同轴设置,第一转轴与箱体之间转动连接,以能相对脱壳筒转动,脱壳筒周壁上贯穿地开设有多个过料通道,过料通道的长度方向与脱壳筒的轴向相平行,过料通道在脱壳筒上呈圆周状分布,弧形压板外壁呈圆弧状,弧形压板通过支架与第一转轴固定连接,弧形压板外壁和脱壳筒内壁之间具有用于挤压花生的间隙,弧形压板外壁上固定安装有橡胶垫。
5.根据权利要求1所述的一种农业生产用花生剥壳装置,其特征在于,第一传动机构包括第一辊轮和第二辊轮,第一辊轮套装在电机的输出轴上,第二辊轮套装在第一转轴上,第一辊轮和第二辊轮之间通过皮带或链条传动连接;第二传动机构包括第三辊轮、第三转轴、第一伞齿轮、第二伞齿轮、第四转轴和第四辊轮,第二转轴的轴向与第一转轴的径向相平行,第三转轴转动连接在箱体内,第三转轴的轴向和第一转轴的轴向相平行,第三辊轮和第一伞齿轮均套装在第三转轴上,第三辊轮和第二辊轮之间通过皮带或链条传动连接,第四转轴转动连接在箱体内,其轴向与第二转轴的轴向相平行,第二伞齿轮套装在第四转轴一侧,第二伞齿轮和第一伞齿轮相啮合,第三转轴和第四转轴之间传动连接,第四转轴转动连接在箱体上,并受箱体支承。
6.根据权利要求5所述的一种农业生产用花生剥壳装置,其特征在于,第四转轴上套装有第四辊轮,第二转轴上套装有第五辊轮,箱体上还转动连接有第五转轴,第五转轴受箱体支承,第五转轴上套装有第六辊轮和第七辊轮,第五辊轮通过皮带或链条与第六辊轮传动连接,第四辊轮通过皮带或链条与第七辊轮传动连接,第四辊轮、第六辊轮、第七辊轮和第五辊轮的外径依次减小。
7.根据权利要求6所述的一种农业生产用花生剥壳装置,其特征在于,箱体底部安装有承载板,承载板上安装有滑轨,集料箱底部开设有与滑轨配合的滑槽,滑轨和滑槽的长度方向均与第二转轴的轴向相平行,集料箱或筛网通过第三传动机构与第七辊轮传动连接,以使集料箱能在承载板上进行水平往复运动。
8.根据权利要求7所述的一种农业生产用花生剥壳装置,其特征在于,第三传动机构包括摇臂、滑块和拉杆,摇臂一端铰接在第七辊轮端面上,摇臂和第七辊轮连接处位于第七辊轮中心线外侧,摇臂另一端铰接在滑块上,滑块滑动连接在箱体上,滑块的滑动方向与箱体的高度方向相平行,拉杆一端铰接在集料箱或筛网上,另一端铰接在滑块上。
9.根据权利要求7所述的一种农业生产用花生剥壳装置,其特征在于,集料箱一侧固定安装有压板,压板位于筛网的较低端,压板底部设有卸料板,卸料板一端铰接在箱体上,卸料板的上表面和压板的下表面能处于同一平面上,压板和箱体内壁之间配合形成挤压通道。
10.根据权利要求4所述的一种农业生产用花生剥壳装置,其特征在于,所述脱壳筒包括两块相对设置的侧板,两个侧板均呈半圆状结构,且上表面自前端至后端贯穿地开设有于第一转轴形状匹配的弧形槽,两块侧板之间固定连接有多根圆杆,所述圆杆相对两块侧板的中线连线呈圆环状分布,相邻两根圆杆之间形成用于允许果仁和果壳通过的过料通道。
Priority Applications (1)
| Application Number | Priority Date | Filing Date | Title |
|---|---|---|---|
| CN202010220087.9A CN111387518A (zh) | 2020-03-25 | 2020-03-25 | 一种农业生产用花生剥壳装置 |
Applications Claiming Priority (1)
| Application Number | Priority Date | Filing Date | Title |
|---|---|---|---|
| CN202010220087.9A CN111387518A (zh) | 2020-03-25 | 2020-03-25 | 一种农业生产用花生剥壳装置 |
Publications (1)
| Publication Number | Publication Date |
|---|---|
| CN111387518A true CN111387518A (zh) | 2020-07-10 |
Family
ID=71411050
Family Applications (1)
| Application Number | Title | Priority Date | Filing Date |
|---|---|---|---|
| CN202010220087.9A Pending CN111387518A (zh) | 2020-03-25 | 2020-03-25 | 一种农业生产用花生剥壳装置 |
Country Status (1)
| Country | Link |
|---|---|
| CN (1) | CN111387518A (zh) |
Cited By (2)
| Publication number | Priority date | Publication date | Assignee | Title |
|---|---|---|---|---|
| CN113068847A (zh) * | 2021-04-29 | 2021-07-06 | 刘永利 | 一种食品花生剥壳设备 |
| CN113908982A (zh) * | 2021-10-23 | 2022-01-11 | 唐山市农业科学研究院 | 一种花生加工用筛分剥壳装置 |
Citations (9)
| Publication number | Priority date | Publication date | Assignee | Title |
|---|---|---|---|---|
| CN1973696A (zh) * | 2006-12-12 | 2007-06-06 | 赵祖祥 | 挤压式花生剥壳机 |
| CN103181608A (zh) * | 2013-03-12 | 2013-07-03 | 青岛农业大学 | 花生种子剥壳机 |
| KR20140108069A (ko) * | 2013-02-28 | 2014-09-05 | 배광용 | 땅콩 탈피장치 |
| CN104605466A (zh) * | 2015-02-28 | 2015-05-13 | 窦家彬 | 一种瓜子自动去壳设备 |
| CN205567725U (zh) * | 2016-04-05 | 2016-09-14 | 王宇飞 | 橡胶果剥壳机 |
| CN206390226U (zh) * | 2016-12-23 | 2017-08-11 | 湛江市汉成科技有限公司 | 一种花生剥壳机 |
| CN107183741A (zh) * | 2017-06-07 | 2017-09-22 | 常州菲胜图自动化仪器有限公司 | 一种花生壳自动脱壳分离装置 |
| CN107822157A (zh) * | 2017-10-23 | 2018-03-23 | 无锡凹凸自动化科技有限公司 | 一种花生去壳装置 |
| CN108294327A (zh) * | 2018-03-20 | 2018-07-20 | 南漳县华胜机械制造有限公司 | 一种花生脱壳筛选装置 |
-
2020
- 2020-03-25 CN CN202010220087.9A patent/CN111387518A/zh active Pending
Patent Citations (9)
| Publication number | Priority date | Publication date | Assignee | Title |
|---|---|---|---|---|
| CN1973696A (zh) * | 2006-12-12 | 2007-06-06 | 赵祖祥 | 挤压式花生剥壳机 |
| KR20140108069A (ko) * | 2013-02-28 | 2014-09-05 | 배광용 | 땅콩 탈피장치 |
| CN103181608A (zh) * | 2013-03-12 | 2013-07-03 | 青岛农业大学 | 花生种子剥壳机 |
| CN104605466A (zh) * | 2015-02-28 | 2015-05-13 | 窦家彬 | 一种瓜子自动去壳设备 |
| CN205567725U (zh) * | 2016-04-05 | 2016-09-14 | 王宇飞 | 橡胶果剥壳机 |
| CN206390226U (zh) * | 2016-12-23 | 2017-08-11 | 湛江市汉成科技有限公司 | 一种花生剥壳机 |
| CN107183741A (zh) * | 2017-06-07 | 2017-09-22 | 常州菲胜图自动化仪器有限公司 | 一种花生壳自动脱壳分离装置 |
| CN107822157A (zh) * | 2017-10-23 | 2018-03-23 | 无锡凹凸自动化科技有限公司 | 一种花生去壳装置 |
| CN108294327A (zh) * | 2018-03-20 | 2018-07-20 | 南漳县华胜机械制造有限公司 | 一种花生脱壳筛选装置 |
Cited By (2)
| Publication number | Priority date | Publication date | Assignee | Title |
|---|---|---|---|---|
| CN113068847A (zh) * | 2021-04-29 | 2021-07-06 | 刘永利 | 一种食品花生剥壳设备 |
| CN113908982A (zh) * | 2021-10-23 | 2022-01-11 | 唐山市农业科学研究院 | 一种花生加工用筛分剥壳装置 |
Similar Documents
| Publication | Publication Date | Title |
|---|---|---|
| CN108617960B (zh) | 一种玉米面生产用设备 | |
| CN113926551B (zh) | 一种宠物食品加工机 | |
| CN207287705U (zh) | 一种专用新型饲料原料烘干粉碎装置 | |
| CN219252706U (zh) | 一种破饼机用筛料机构 | |
| CN206778646U (zh) | 一种新型饲料粉碎机 | |
| CN112166839A (zh) | 一种秸秆铡草揉丝机 | |
| CN107051672A (zh) | 用于生产发酵饲草的菌包废料处理系统 | |
| CN113439502A (zh) | 一种花生剥壳选种装置 | |
| CN111387518A (zh) | 一种农业生产用花生剥壳装置 | |
| CN107051673A (zh) | 全自动菌包废料处理系统 | |
| CN218107798U (zh) | 一种畜牧养殖用富硒饲料精处理装置 | |
| CN213079127U (zh) | 一种豆粕饲料生产用粒径筛选装置 | |
| CN214155444U (zh) | 一种秸秆铡草揉丝机 | |
| CN105583060A (zh) | 罂粟果初加工集成装置及加工方法 | |
| CN111296863A (zh) | 一种脱壳装置 | |
| CN218190133U (zh) | 猪饲料粉碎设备 | |
| CN109894247A (zh) | 一种家禽饲料打散粉碎系统 | |
| CN111871545B (zh) | 一种饲料用高效加工设备 | |
| CN112570247A (zh) | 一种用于芝麻粉加工的筛选装置 | |
| CN220177109U (zh) | 一种方便清洗的饲料生产用的原料粉碎装置 | |
| CN221085740U (zh) | 一种饲料粉碎用提升装置 | |
| CN223600409U (zh) | 一种秸秆颗粒加工用碾磨机 | |
| CN215684680U (zh) | 一种新型花生米脱壳碎粒一体机 | |
| CN212493179U (zh) | 一种糙米制粉机 | |
| CN209772665U (zh) | 具有回收造粒功能的肥料筛分装置 |
Legal Events
| Date | Code | Title | Description |
|---|---|---|---|
| PB01 | Publication | ||
| PB01 | Publication | ||
| SE01 | Entry into force of request for substantive examination | ||
| SE01 | Entry into force of request for substantive examination | ||
| RJ01 | Rejection of invention patent application after publication | ||
| RJ01 | Rejection of invention patent application after publication |
Application publication date: 20200710 |