CN111379899A - Right Angle Globe Valve - Google Patents
Right Angle Globe Valve Download PDFInfo
- Publication number
- CN111379899A CN111379899A CN201811612990.9A CN201811612990A CN111379899A CN 111379899 A CN111379899 A CN 111379899A CN 201811612990 A CN201811612990 A CN 201811612990A CN 111379899 A CN111379899 A CN 111379899A
- Authority
- CN
- China
- Prior art keywords
- valve
- sealing
- disc
- stem
- valve body
- Prior art date
- Legal status (The legal status is an assumption and is not a legal conclusion. Google has not performed a legal analysis and makes no representation as to the accuracy of the status listed.)
- Pending
Links
Images
Classifications
-
- F—MECHANICAL ENGINEERING; LIGHTING; HEATING; WEAPONS; BLASTING
- F16—ENGINEERING ELEMENTS AND UNITS; GENERAL MEASURES FOR PRODUCING AND MAINTAINING EFFECTIVE FUNCTIONING OF MACHINES OR INSTALLATIONS; THERMAL INSULATION IN GENERAL
- F16K—VALVES; TAPS; COCKS; ACTUATING-FLOATS; DEVICES FOR VENTING OR AERATING
- F16K41/00—Spindle sealings
- F16K41/02—Spindle sealings with stuffing-box ; Sealing rings
-
- F—MECHANICAL ENGINEERING; LIGHTING; HEATING; WEAPONS; BLASTING
- F16—ENGINEERING ELEMENTS AND UNITS; GENERAL MEASURES FOR PRODUCING AND MAINTAINING EFFECTIVE FUNCTIONING OF MACHINES OR INSTALLATIONS; THERMAL INSULATION IN GENERAL
- F16K—VALVES; TAPS; COCKS; ACTUATING-FLOATS; DEVICES FOR VENTING OR AERATING
- F16K1/00—Lift valves or globe valves, i.e. cut-off apparatus with closure members having at least a component of their opening and closing motion perpendicular to the closing faces
- F16K1/32—Details
- F16K1/34—Cutting-off parts, e.g. valve members, seats
- F16K1/36—Valve members
Landscapes
- Engineering & Computer Science (AREA)
- General Engineering & Computer Science (AREA)
- Mechanical Engineering (AREA)
- Lift Valve (AREA)
Abstract
一种直角截止阀,包括阀体、阀盖、阀杆和密封装置,阀盖安装在阀体上,所述阀杆的一端装有密封盘,密封盘上设有密封装置,所述密封装置包括阀瓣,阀瓣内部设有空腔,空腔内部设有弹性压片,弹性压片的中部设有连接块,连接块与活动杆连接,活动杆端部穿过阀瓣和密封盘抵靠在阀杆端部,通过弹性压片的伸缩进行押紧,起到密封的作用,结构简单,强度高,耐磨损,不易渗漏,使用寿命长等优点。
A right-angle stop valve includes a valve body, a valve cover, a valve stem, and a sealing device. The valve cover is mounted on the valve body. A sealing disc is mounted on one end of the valve stem, and a sealing device is provided on the sealing disc. The sealing device includes a valve disc with a cavity inside. An elastic pressure plate is provided inside the cavity, and a connecting block is provided in the middle of the elastic pressure plate. The connecting block is connected to a movable rod. The end of the movable rod passes through the valve disc and the sealing disc and abuts against the end of the valve stem. The valve is pressed together by the expansion and contraction of the elastic pressure plate, thus achieving a sealing function. The valve has advantages such as simple structure, high strength, wear resistance, low leakage, and long service life.
Description
技术领域technical field
本发明涉及一种阀门,尤其是涉及一种直角截止阀。The invention relates to a valve, in particular to a right-angle stop valve.
背景技术Background technique
角式截止阀启闭件是塞形的密封装置,密封面呈平面或锥面,密封装置沿流体的中心线作直线运动,阀杆的运动形式,有升降杆式(阀杆升降,手轮不升降),也有升降旋转杆式(手轮与阀杆一起旋转升降,螺母设在阀体上)。角式截止阀属于强制密封式阀门,所以在阀门关闭时,必须向密封装置施加压力,以强制密封面不泄漏。目前,现有的截止阀一般是普通旋塞式或平堵式结构,材料主要是铸铁,现有直角截止阀通常存在阀门结构复杂,强度不高,不耐磨损,易渗漏,使用寿命短等缺点。现有的铸钢截止阀由于加工能力所限,其结构相对较为简单,使得密封受到影响,并且截止阀的易损件更换不够方便。The opening and closing part of the angle type globe valve is a plug-shaped sealing device. The sealing surface is a plane or a conical surface. The sealing device moves linearly along the center line of the fluid. There is also a lifting and rotating rod type (the handwheel rotates and lifts together with the valve stem, and the nut is set on the valve body). Angle globe valve is a forced sealing valve, so when the valve is closed, pressure must be applied to the sealing device to force the sealing surface not to leak. At present, the existing globe valves are generally of ordinary cock type or flat plug type structure, and the material is mainly cast iron. The existing right-angle globe valves usually have complex valve structure, low strength, poor wear resistance, easy leakage and short service life. and other shortcomings. Due to the limited processing capacity of the existing cast steel globe valve, its structure is relatively simple, which affects the sealing, and the replacement of the wearing parts of the globe valve is not convenient enough.
发明内容SUMMARY OF THE INVENTION
本发明的主要目的在于提供一种直角截止阀,解决现有直角截止阀通常存在阀门结构复杂,强度不高,不耐磨损,易渗漏,使用寿命短等缺点。The main purpose of the present invention is to provide a right-angle stop valve, which solves the disadvantages of the existing right-angle stop valve, such as complex valve structure, low strength, poor wear resistance, easy leakage, and short service life.
为解决上述技术问题,本发明所采用的技术方案是:一种直角截止阀,包括阀体、阀盖、阀杆和密封装置,阀盖安装在阀体上,所述阀杆的一端装有密封盘,密封盘上设有密封装置,所述密封装置包括阀瓣,阀瓣内部设有空腔,空腔内部设有弹性压片,弹性压片的中部设有连接块,连接块与活动杆连接,活动杆端部穿过阀瓣和密封盘抵靠在阀杆端部。In order to solve the above technical problems, the technical solution adopted in the present invention is: a right-angle globe valve, comprising a valve body, a valve cover, a valve stem and a sealing device, the valve cover is installed on the valve body, and one end of the valve stem is equipped with a valve body. The sealing disc is provided with a sealing device, the sealing device comprises a valve flap, a cavity is arranged inside the valve flap, an elastic pressing sheet is arranged inside the cavity, and a connecting block is arranged in the middle of the elastic pressing sheet, and the connecting block is connected to the movable plate. The rod is connected, and the end of the movable rod passes through the valve disc and the sealing disc and abuts against the end of the valve rod.
优选方案中,所述阀体内部设有与密封装置相匹配的密封座,密封座内表面设有台阶,所述阀瓣外表面设有台阶与所述密封座台阶相匹配,所述弹性压片在受力时抵靠在密封座台阶上,密封座与阀体螺纹连接。In a preferred solution, the inside of the valve body is provided with a sealing seat matching the sealing device, the inner surface of the sealing seat is provided with steps, the outer surface of the valve flap is provided with steps to match the steps of the sealing seat, and the elastic pressure The sheet abuts on the step of the sealing seat when it is stressed, and the sealing seat is threadedly connected with the valve body.
优选方案中,所述阀体与密封盘之间设有压紧螺母,压紧螺母与阀杆螺纹连接,所述阀杆与压紧螺母之间留有缓冲间隙,所述压紧螺母与密封盘之间设有控制垫。In a preferred solution, a compression nut is provided between the valve body and the sealing disc, the compression nut and the valve stem are threadedly connected, a buffer gap is left between the valve stem and the compression nut, and the compression nut and the sealing There are control pads between the discs.
优选方案中,所述阀盖中部设有填料压盖,填料压盖与阀盖之间设有密封填料,密封填料均匀分布在阀杆周圈。In a preferred solution, a packing gland is arranged in the middle of the valve cover, a sealing packing is arranged between the packing gland and the valve cover, and the sealing packing is evenly distributed on the periphery of the valve stem.
优选方案中,所述密封填料为柔性石墨,或者为油浸麻。In a preferred solution, the sealing filler is flexible graphite or oil-impregnated hemp.
优选方案中,所述弹性压片横截面呈圆弧状。In a preferred solution, the cross-section of the elastic pressing sheet is arc-shaped.
优选方案中,所述阀瓣的材质为聚氨酯密封胶,或者为氟橡胶,或者为硅橡胶。In a preferred solution, the material of the valve flap is polyurethane sealant, or fluorine rubber, or silicone rubber.
优选方案中,所述阀杆、阀体的内腔、密封座及密封座通道表面喷涂有耐磨合金层。In a preferred solution, a wear-resistant alloy layer is sprayed on the surfaces of the valve stem, the inner cavity of the valve body, the sealing seat and the channel of the sealing seat.
优选方案中,所述的阀杆顶部连接有手轮,所述阀体、阀盖以及阀体两端的法兰都是由铸钢加工制成。In a preferred solution, a hand wheel is connected to the top of the valve stem, and the valve body, the valve cover and the flanges at both ends of the valve body are all made of cast steel.
本发明提供一种直角截止阀,在阀杆的端部设有装有密封盘,密封盘上安装有密封装置,所述密封装置包括阀瓣,阀瓣内部的空腔中装有弹性压片,弹性压片成圆弧弯弓转态,在关闭阀门的时候,密封盘向下,阀瓣到达密封座内部,阀瓣外表面的台阶与密封座内表面的台阶抵靠,阀瓣停止运动,此时阀杆继续向下,阀杆端部下面的活动杆在受到阀杆端部的抵押,活动杆将力传递给弹性压片,弹性压片受力变形,向两边挤压,又受到密封座的台阶限位,这时候阀瓣与密封座的密封效果也越来越好,解决了一般直角截止阀强度不高,不耐磨损,易渗漏,使用寿命短等缺点。The present invention provides a right-angle stop valve. The end of the valve stem is provided with a sealing disc, and a sealing device is installed on the sealing disc. The sealing device comprises a valve flap, and an elastic pressing sheet is arranged in the cavity inside the valve flap When the valve is closed, the sealing disc goes down, the valve disc reaches the inside of the sealing seat, the step on the outer surface of the valve disc abuts against the step on the inner surface of the sealing seat, and the valve disc stops moving , At this time, the valve stem continues downward, and the movable rod under the end of the valve stem is mortgaged by the end of the valve stem, and the movable rod transmits the force to the elastic pressing piece, which is deformed by force, squeezed to both sides, and then subjected to The step limit of the sealing seat, at this time, the sealing effect of the disc and the sealing seat is getting better and better, which solves the shortcomings of the general right-angle globe valve, such as low strength, poor wear resistance, easy leakage, and short service life.
附图说明Description of drawings
下面结合附图和实施例对本发明作进一步说明:Below in conjunction with accompanying drawing and embodiment, the present invention will be further described:
图1是本发明的结构图;Fig. 1 is the structure diagram of the present invention;
图2是本发明A处放大图;Fig. 2 is the enlarged view of the present invention A;
图3是本发明密封装置结构图;Fig. 3 is the structure diagram of the sealing device of the present invention;
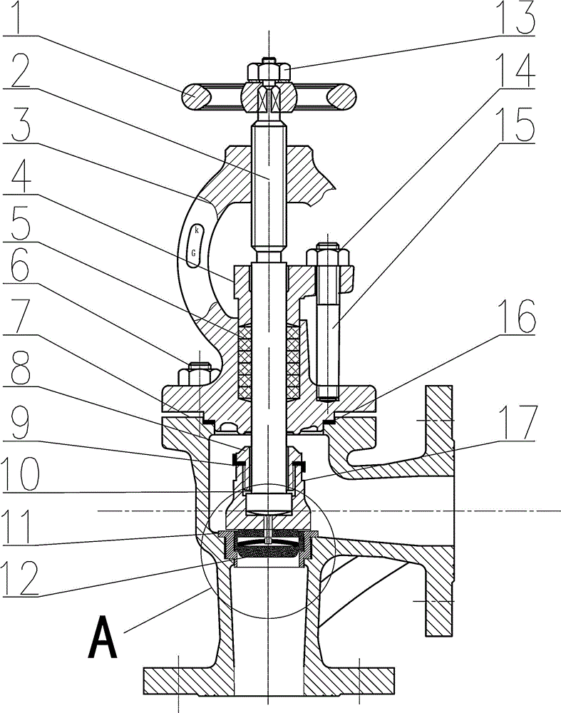
图中:手轮1;阀杆 2;阀盖 3;填料压盖 4;密封填料5;双头螺栓6;阀体7;压紧螺母 8;控制垫 9;缓冲间隙10;密封座11;密封装置 12;阀瓣121;弹性压片122;连接块123;密封胶124;活动杆125;手轮螺母13;压盖螺母14;压盖螺栓15;密封片 16;密封盘17。In the figure: handwheel 1;
具体实施方式Detailed ways
如图1~3所示,一种直角截止阀,包括阀体7、阀盖3、阀杆2和密封装置12,阀盖3安装在阀体7上,所述阀杆2的一端装有密封盘17,密封盘17上设有密封装置12,所述密封装置12包括阀瓣121,阀瓣121内部设有空腔,空腔内部设有弹性压片122,弹性压片122的中部设有连接块123,连接块123与活动杆125连接,活动杆125端部穿过阀瓣121和密封盘17抵靠在阀杆2端部,由此结构,在阀杆2向下运动的时候,阀瓣121向下运动,在阀瓣121收到阻力的时候,阀瓣121停止向下,此时阀杆2继续向下,阀杆2端部抵押活动杆125,活动杆125将压力传递给弹性压片122,弹性压片122向四周伸展,起到押紧密封的作用。As shown in Figures 1 to 3, a right-angle globe valve includes a
优选方案中,所述阀体7内部设有与密封装置12相匹配的密封座11,密封座11内表面设有台阶,所述阀瓣121外表面设有台阶与所述密封座11台阶相匹配,所述弹性压片122在受力时抵靠在密封座11台阶上,密封座11与阀体7螺纹连接,由此结构,对密封装置12的阀瓣121起到限位作用,密封座11与阀体7螺纹连接,方便更换和维修。In a preferred solution, the
优选方案中,所述阀体7与密封盘17之间设有压紧螺母8,压紧螺母8与阀杆2螺纹连接,所述阀杆2与压紧螺母8之间留有缓冲间隙10,所述压紧螺母8与密封盘17之间设有控制垫9,将密封盘17固定澡阀杆2上,在阀杆2与压紧螺母8之间留有缓冲间隙10,在升起阀杆2的时候,能够让密封装置12内部的活动杆125回弹,更简洁的打开阀门。In a preferred solution, a
优选方案中,所述阀盖3中部设有填料压盖4,填料压盖4与阀盖3之间设有密封填料5,密封填料5均匀分布在阀杆2周圈,起到密封的作用,也方便维修和养护。In a preferred solution, a
优选方案中,所述密封填料5为柔性石墨,或者为油浸麻,不同的运输环境采用不同的材料,当运输介质为淡水、海水和滑油时选用油浸麻;为燃油和蒸汽时适用柔性石墨。In the preferred solution, the sealing
优选方案中,所述弹性压片122横截面呈圆弧状,能够起到押紧和回弹的作用。In a preferred solution, the
优选方案中,所述阀瓣121的材质为聚氨酯密封胶,或者为氟橡胶,或者为硅橡胶,聚氨酯密封胶,或者为氟橡胶,或者为硅橡胶为耐磨的材料。In a preferred solution, the
优选方案中,所述阀杆2、阀体7的内腔、密封座11及密封座11通道表面喷涂有耐磨合金层,能够起到耐磨的作用。In a preferred solution, a wear-resistant alloy layer is sprayed on the surfaces of the
优选方案中,所述的阀杆2顶部连接有手轮1,所述阀体7、阀盖3以及阀体7两端的法兰都是由铸钢加工制成,解决铸钢加工制成的阀门的精度不高的问题后可采用铸钢生产。In a preferred solution, a handwheel 1 is connected to the top of the
上述的实施例仅为本发明的优选技术方案,而不应视为对于本发明的限制,本发明的保护范围应以权利要求记载的技术方案,包括权利要求记载的技术方案中技术特征的等同替换方案为保护范围。即在此范围内的等同替换改进,也在本发明的保护范围之内。The above-mentioned embodiments are only the preferred technical solutions of the present invention, and should not be regarded as limitations of the present invention. The protection scope of the present invention should be based on the technical solutions recorded in the claims, including the equivalents of the technical features in the technical solutions recorded in the claims. The alternative is protection scope. That is, equivalent replacements and improvements within this scope are also within the protection scope of the present invention.
Claims (9)
Priority Applications (1)
| Application Number | Priority Date | Filing Date | Title |
|---|---|---|---|
| CN201811612990.9A CN111379899A (en) | 2018-12-27 | 2018-12-27 | Right Angle Globe Valve |
Applications Claiming Priority (1)
| Application Number | Priority Date | Filing Date | Title |
|---|---|---|---|
| CN201811612990.9A CN111379899A (en) | 2018-12-27 | 2018-12-27 | Right Angle Globe Valve |
Publications (1)
| Publication Number | Publication Date |
|---|---|
| CN111379899A true CN111379899A (en) | 2020-07-07 |
Family
ID=71216262
Family Applications (1)
| Application Number | Title | Priority Date | Filing Date |
|---|---|---|---|
| CN201811612990.9A Pending CN111379899A (en) | 2018-12-27 | 2018-12-27 | Right Angle Globe Valve |
Country Status (1)
| Country | Link |
|---|---|
| CN (1) | CN111379899A (en) |
Cited By (2)
| Publication number | Priority date | Publication date | Assignee | Title |
|---|---|---|---|---|
| CN112253765A (en) * | 2020-10-20 | 2021-01-22 | 中阀控股(集团)有限公司 | Stop valve and connecting pipe assembly for connecting stop valve and pipeline |
| CN120759951A (en) * | 2025-08-25 | 2025-10-10 | 江苏兴亚船用阀门有限公司 | A marine straight-through stop valve |
-
2018
- 2018-12-27 CN CN201811612990.9A patent/CN111379899A/en active Pending
Cited By (2)
| Publication number | Priority date | Publication date | Assignee | Title |
|---|---|---|---|---|
| CN112253765A (en) * | 2020-10-20 | 2021-01-22 | 中阀控股(集团)有限公司 | Stop valve and connecting pipe assembly for connecting stop valve and pipeline |
| CN120759951A (en) * | 2025-08-25 | 2025-10-10 | 江苏兴亚船用阀门有限公司 | A marine straight-through stop valve |
Similar Documents
| Publication | Publication Date | Title |
|---|---|---|
| CN201028043Y (en) | Wear-resistant metal hard sealing ball valve | |
| CN111379899A (en) | Right Angle Globe Valve | |
| CN205013743U (en) | Low temperature ball valve with pretension slip valve holder structure | |
| CN203067805U (en) | Stop valve | |
| CN204610917U (en) | Forged steel pipeline soft seal plate valve | |
| CN202746633U (en) | Double-isolation flat gate valve | |
| CN209213178U (en) | Angle shut-off valve | |
| CN205745424U (en) | A kind of ball valve | |
| CN202176778U (en) | Self-operated pressure regulating valve in soft sealing structure | |
| CN205592417U (en) | Two ball soft seals ball valve that floats | |
| CN108644403A (en) | A kind of double sealing structure of plug valve | |
| CN211715789U (en) | Encrypted float globe valve | |
| CN203488744U (en) | All-metal hard seal quickly-closed butterfly valve resistant to high temperature, high pressure and washout | |
| CN211344095U (en) | Novel cast steel floating ball valve | |
| CN211010128U (en) | A valve packing sealing structure | |
| CN205654904U (en) | Eccentric half -ball valve | |
| CN111550572A (en) | Ball valve with low temperature and high pressure elastically compensated metal seal | |
| CN209213048U (en) | A kind of high leakproofness gate valve | |
| CN218845179U (en) | An O-type ultra-low temperature ball valve | |
| CN203421204U (en) | Sealing and adjusting ball valve | |
| CN206338432U (en) | A kind of dual-seal flat gate valve | |
| CN106523784A (en) | Compensating type high-sealing valve | |
| CN208252840U (en) | A kind of shut-off valve | |
| WO2018053663A1 (en) | Y-shaped electric-powered ultra-high pressure spherical sealing shut-off valve | |
| CN204664490U (en) | Three-way hard seal ball valve |
Legal Events
| Date | Code | Title | Description |
|---|---|---|---|
| PB01 | Publication | ||
| PB01 | Publication | ||
| WD01 | Invention patent application deemed withdrawn after publication |
Application publication date: 20200707 |
|
| WD01 | Invention patent application deemed withdrawn after publication |
