CN111330496A - Mixer is used in grout - Google Patents
Mixer is used in grout Download PDFInfo
- Publication number
- CN111330496A CN111330496A CN202010172347.XA CN202010172347A CN111330496A CN 111330496 A CN111330496 A CN 111330496A CN 202010172347 A CN202010172347 A CN 202010172347A CN 111330496 A CN111330496 A CN 111330496A
- Authority
- CN
- China
- Prior art keywords
- gear
- fixedly connected
- rod
- shaft
- transmission shaft
- Prior art date
- Legal status (The legal status is an assumption and is not a legal conclusion. Google has not performed a legal analysis and makes no representation as to the accuracy of the status listed.)
- Withdrawn
Links
- 239000011440 grout Substances 0.000 title claims description 4
- 230000005540 biological transmission Effects 0.000 claims abstract description 100
- 238000003756 stirring Methods 0.000 claims abstract description 53
- 238000003825 pressing Methods 0.000 claims description 11
- 230000033001 locomotion Effects 0.000 claims description 8
- 244000309464 bull Species 0.000 claims 4
- 238000007599 discharging Methods 0.000 claims 2
- 238000000034 method Methods 0.000 abstract description 14
- 230000008569 process Effects 0.000 abstract description 13
- 239000000428 dust Substances 0.000 abstract description 7
- 238000002156 mixing Methods 0.000 abstract description 6
- 230000006378 damage Effects 0.000 abstract description 5
- 238000004140 cleaning Methods 0.000 abstract description 3
- 230000036541 health Effects 0.000 abstract description 3
- 239000003595 mist Substances 0.000 abstract description 2
- 238000003915 air pollution Methods 0.000 abstract 1
- 239000000203 mixture Substances 0.000 description 15
- 239000002994 raw material Substances 0.000 description 13
- XLYOFNOQVPJJNP-UHFFFAOYSA-N water Substances O XLYOFNOQVPJJNP-UHFFFAOYSA-N 0.000 description 9
- 230000000903 blocking effect Effects 0.000 description 7
- 238000010586 diagram Methods 0.000 description 7
- 238000009827 uniform distribution Methods 0.000 description 6
- 239000000463 material Substances 0.000 description 5
- 239000007788 liquid Substances 0.000 description 4
- 239000002002 slurry Substances 0.000 description 3
- 230000009471 action Effects 0.000 description 1
- 238000007792 addition Methods 0.000 description 1
- 230000008859 change Effects 0.000 description 1
- 238000010276 construction Methods 0.000 description 1
- 230000007812 deficiency Effects 0.000 description 1
- 238000012986 modification Methods 0.000 description 1
- 230000004048 modification Effects 0.000 description 1
- 238000001556 precipitation Methods 0.000 description 1
- 230000003014 reinforcing effect Effects 0.000 description 1
Images
Classifications
-
- B—PERFORMING OPERATIONS; TRANSPORTING
- B01—PHYSICAL OR CHEMICAL PROCESSES OR APPARATUS IN GENERAL
- B01F—MIXING, e.g. DISSOLVING, EMULSIFYING OR DISPERSING
- B01F33/00—Other mixers; Mixing plants; Combinations of mixers
- B01F33/50—Movable or transportable mixing devices or plants
- B01F33/501—Movable mixing devices, i.e. readily shifted or displaced from one place to another, e.g. portable during use
-
- B—PERFORMING OPERATIONS; TRANSPORTING
- B01—PHYSICAL OR CHEMICAL PROCESSES OR APPARATUS IN GENERAL
- B01F—MIXING, e.g. DISSOLVING, EMULSIFYING OR DISPERSING
- B01F27/00—Mixers with rotary stirring devices in fixed receptacles; Kneaders
- B01F27/80—Mixers with rotary stirring devices in fixed receptacles; Kneaders with stirrers rotating about a substantially vertical axis
- B01F27/90—Mixers with rotary stirring devices in fixed receptacles; Kneaders with stirrers rotating about a substantially vertical axis with paddles or arms
-
- E—FIXED CONSTRUCTIONS
- E02—HYDRAULIC ENGINEERING; FOUNDATIONS; SOIL SHIFTING
- E02D—FOUNDATIONS; EXCAVATIONS; EMBANKMENTS; UNDERGROUND OR UNDERWATER STRUCTURES
- E02D15/00—Handling building or like materials for hydraulic engineering or foundations
Landscapes
- Engineering & Computer Science (AREA)
- Chemical & Material Sciences (AREA)
- Chemical Kinetics & Catalysis (AREA)
- General Engineering & Computer Science (AREA)
- Structural Engineering (AREA)
- Life Sciences & Earth Sciences (AREA)
- General Life Sciences & Earth Sciences (AREA)
- Mining & Mineral Resources (AREA)
- Paleontology (AREA)
- Civil Engineering (AREA)
- Consolidation Of Soil By Introduction Of Solidifying Substances Into Soil (AREA)
Abstract
一种灌浆用搅拌机,包括支撑板,所述支撑板顶部前侧设置有中空的出料管,所述出料管内部设置有传送蜗杆;所述支撑板顶部转动连接有主动轴,所述主动轴通过齿轮组连接有连接轴,所述连接轴下侧固定连接有第一齿轮,所述第一齿轮啮合连接有第二齿轮,所述第二齿轮固定连接有圆柱凸轮。本发明有效地解决了现有多数的搅拌桶在搅拌的过程中缺少防尘的措施,使得在搅拌过程中,尘雾漫天污染环境,同时对工作人员身体健康也造成伤害以及粉尘对空气的污染,搅拌机在使用前及使用后,需要清洗内部腔体以及搅拌叶、搅拌杆,这样的清洗过程费时费力,现有搅拌机靠搅拌叶旋转,搅拌效率比较低,加长了工作时间的问题。
A grouting mixer comprises a support plate, a hollow discharge pipe is arranged on the front side of the top of the support plate, and a transmission worm is arranged inside the discharge pipe; a driving shaft is rotatably connected to the top of the support plate, and the active The shaft is connected with a connecting shaft through a gear set, the lower side of the connecting shaft is fixedly connected with a first gear, the first gear is engaged with a second gear, and the second gear is fixedly connected with a cylindrical cam. The invention effectively solves the lack of dust-proof measures in the mixing process of most of the existing mixing buckets, so that in the mixing process, the dust and mist all over the sky pollute the environment, and at the same time, it also causes harm to the health of the staff and air pollution from the dust. Before and after the mixer is used, it is necessary to clean the inner cavity, the stirring blade and the stirring rod. Such a cleaning process is time-consuming and laborious. The existing mixer relies on the stirring blade to rotate, and the stirring efficiency is relatively low, which prolongs the working time.
Description
技术领域technical field
本发明涉及岩土工程中灌浆施工机械领域,尤其是涉及一种灌浆用搅拌机。The invention relates to the field of grouting construction machinery in geotechnical engineering, in particular to a grouting mixer.
背景技术Background technique
现有的搅拌机普遍个体较大且重,移动很不方便,在搬运的过程中,难免会造成意外发生,有可能造成搅拌机的损坏,在搬运过程中,也会增加使用者的劳动支出,难以满足社会的需求。因为叶片的旋转其搅拌过程中灰尘污染是主要的污染种类,绝大多数的搅拌桶在搅拌的过程中缺少防尘的措施,使得在搅拌过程中,尘雾漫天污染环境,同时对工作人员的身体健康也造成不可挽回的损害,现有搅拌机在使用前及使用后,需要清洗内部腔体以及搅拌叶、搅拌杆,这样的清洗过程费时费力,影响搅拌机的工作效率的问题,现有搅拌机没有进水口,在搅拌过程中如果需要给桶内的材料加水,需要关闭电机打开桶盖;搅拌机中的搅拌叶旋转,起到搅拌的作用,现有的搅拌机结构简单,仅仅靠搅拌叶旋转搅拌效率比较低,短时间的搅拌并不能使物料混合到所需要的标准,要想使物料充分混合,就需要长时间的搅拌,加长了工作时间;所以急需一种灌浆用搅拌机。The existing mixers are generally large and heavy, and it is very inconvenient to move. In the process of transportation, accidents will inevitably occur, which may cause damage to the mixer. In the process of transportation, it will also increase the labor cost of the user, and it is difficult to meet the needs of society. Due to the rotation of the blades, dust pollution is the main pollution type during the stirring process. Health also causes irreparable damage. The existing mixer needs to clean the internal cavity, stirring blade and stirring rod before and after use. Such a cleaning process is time-consuming and laborious, which affects the working efficiency of the mixer. Nozzle, if you need to add water to the material in the bucket during the stirring process, you need to turn off the motor to open the bucket cover; the stirring blade in the mixer rotates to play a stirring role. The existing mixer has a simple structure and only relies on the rotation of the stirring blade to compare the stirring efficiency Low, short-time stirring cannot make the material mix to the required standard. In order to fully mix the material, long-time stirring is required, which prolongs the working time; therefore, a grouting mixer is urgently needed.
发明内容SUMMARY OF THE INVENTION
本发明针对现有技术的不足,提供一种灌浆用搅拌机,有效地解决了现有搅拌机普遍个体较大且重,移动很不方便,多数的搅拌桶在搅拌的过程中缺少防尘的措施,使得在搅拌过程中,尘雾漫天污染环境,同时对工作人员身体健康也造成伤害以及粉尘对空气的污染,搅拌机在使用前及使用后,需要清洗内部腔体以及搅拌叶、搅拌杆,这样的清洗过程费时费力,现有搅拌机结构简单,仅仅靠搅拌叶旋转搅拌效率比较低,加长了工作时间的问题。Aiming at the deficiencies of the prior art, the present invention provides a grouting mixer, which effectively solves the problem that the existing mixers are generally large and heavy, inconvenient to move, and most of the mixing buckets lack dust-proof measures during the mixing process. During the mixing process, the dust and mist will pollute the environment, and at the same time, it will cause harm to the health of the staff and pollution of the dust to the air. Before and after the mixer is used, it is necessary to clean the internal cavity, stirring blades and stirring rods. Such cleaning The process is time-consuming and labor-intensive, and the existing mixer has a simple structure, and the stirring efficiency is relatively low only by the rotation of the stirring blade, which prolongs the working time.
为解决上述问题本发明所采取的技术方案是:The technical scheme adopted by the present invention for solving the above problems is:
一种灌浆用搅拌机,包括底板,所述底板顶部设置有支撑板,所述支撑板上部固定连接有箱体,所述支撑板顶部前侧设置有中空的出料管,所述出料管内部设置有传送蜗杆;所述支撑板顶部转动连接有主动轴,所述主动轴通过齿轮组连接有连接轴,所述连接轴下侧固定连接有第一齿轮,所述第一齿轮啮合连接有第二齿轮,所述第二齿轮固定连接有圆柱凸轮,所述圆柱凸轮与所述支撑板转动连接,所述连接轴上侧滑动连接有下部中空的长轴,所述长轴固定连接有多个大小相同、分布均匀的搅拌叶;所述主动轴的转动构成所述搅拌叶转动同时且做上下往复运动的结构;A grouting mixer comprises a bottom plate, a support plate is arranged on the top of the bottom plate, a box body is fixedly connected to the upper part of the support plate, a hollow discharge pipe is arranged on the front side of the top of the support plate, and the inside of the discharge pipe is A transmission worm is provided; the top of the support plate is rotatably connected with a driving shaft, the driving shaft is connected with a connecting shaft through a gear set, the lower side of the connecting shaft is fixedly connected with a first gear, and the first gear is meshed and connected with a first gear. Two gears, the second gear is fixedly connected with a cylindrical cam, the cylindrical cam is rotatably connected with the support plate, the upper side of the connecting shaft is slidably connected with a long shaft with a hollow bottom, and the long shaft is fixedly connected with a plurality of Stirring blades with the same size and uniform distribution; the rotation of the driving shaft constitutes a structure in which the stirring blades rotate simultaneously and reciprocate up and down;
所述主动轴通过齿轮组连接有第一传动轴,所述第一传动轴上部固定连接有第一不完全齿轮,所述第一不完全齿轮后部设置有第二不完全齿轮,所述第二不完全齿轮与所述第一传动轴转动连接,所述第一不完全齿轮右侧设置有第二传动轴,所述第二传动轴顶部通过齿轮组连接有转盘;所述主动轴的转动构成所述转盘做时间间歇转动的结构;The driving shaft is connected with a first transmission shaft through a gear set, the upper part of the first transmission shaft is fixedly connected with a first incomplete gear, and the rear of the first incomplete gear is provided with a second incomplete gear. Two incomplete gears are rotatably connected with the first transmission shaft, a second transmission shaft is arranged on the right side of the first incomplete gear, and a turntable is connected to the top of the second transmission shaft through a gear set; the rotation of the driving shaft forming a structure in which the turntable rotates intermittently in time;
所述主动轴左侧设置有互不啮合连接的第三齿轮、第四齿轮、第五齿轮,所述第四齿轮转动连接有第三传动轴,所述第三传轴前侧设置有传动结构,所述传动结构右侧设置有转动手柄;所述转动手柄的转动构成所述第四齿轮均与所述第三齿轮、所述第五齿轮啮合连接的结构;所述第四齿轮均与所述第三齿轮、所述第五齿轮啮合连接形成所述传送蜗杆转动的结构。The left side of the drive shaft is provided with a third gear, a fourth gear and a fifth gear that are not meshed with each other, the fourth gear is rotatably connected with a third transmission shaft, and the front side of the third transmission shaft is provided with a transmission structure , a rotating handle is provided on the right side of the transmission structure; the rotation of the rotating handle constitutes a structure in which the fourth gear is meshed with the third gear and the fifth gear; The third gear and the fifth gear are meshed and connected to form the rotating structure of the transmission worm.
优选的,所述连接轴上部固定连接有键块,所长轴下部内壁开有键槽,所述键块与所述键槽滑动连接,所述长轴下侧内壁直径与所述连接轴外径相同,所述长轴下侧圆周开有环槽,所述环槽后侧设置有转杆架,所述转杆架前端与所述环槽转动连接,所述转杆架有后端与所述圆柱凸轮啮合连接,所述转杆架与所述箱体转动连接,所述连接轴与所述支撑板转动连接。Preferably, the upper part of the connecting shaft is fixedly connected with a key block, the inner wall of the lower part of the long shaft is provided with a key groove, the key block is slidably connected with the key groove, and the diameter of the inner wall of the lower side of the long shaft is the same as the outer diameter of the connecting shaft , a ring groove is formed on the circumference of the lower side of the long shaft, a rotating rod frame is arranged on the rear side of the ring groove, the front end of the rotating rod frame is rotatably connected with the ring groove, and the rear end of the rotating rod frame is connected to the The cylindrical cam is engaged and connected, the rotating rod frame is rotatably connected with the box body, and the connecting shaft is rotatably connected with the support plate.
优选的,所述第一不完全齿轮顶侧固定连接有伸拉弹簧,所述伸拉弹簧与所述第二不完全齿轮固定连接,所述第一不完全齿轮后侧啮合连接有第六齿轮,所述第六齿轮与所述第二传动轴固定连接。Preferably, an extension spring is fixedly connected to the top side of the first incomplete gear, the extension spring is fixedly connected to the second incomplete gear, and a sixth gear is meshed and connected to the rear side of the first incomplete gear , the sixth gear is fixedly connected with the second transmission shaft.
优选的,所述传动结构包括与所述第三传动轴固定连接的第一齿条,所述第一齿条啮合连接有第七齿轮,所述第七齿轮固定连接有第四传动轴,所述第四传动轴右侧固定连接有棘轮,所述棘轮上部啮合连接有按压杆,所述按压杆转动连接有固定板,所述固定板上侧开有放置槽,所述按压杆右侧设置有挡杆,所述挡杆与所述放置槽滑动连接,所述挡杆下端固定连接有伸拉弹簧,所述伸拉弹簧底端与所述放置槽底端固定连接,所述第四传动轴右端固定连接有L杆,所述L杆与所述转动手柄转动连接,所述固定板与所述支撑板固定连接,所述第三传动轴与所述支撑板滑动连接,所述第四传动轴与所述支撑板转动连接。Preferably, the transmission structure includes a first rack fixedly connected with the third transmission shaft, the first rack is meshed with a seventh gear, and the seventh gear is fixedly connected with a fourth transmission shaft, so The right side of the fourth transmission shaft is fixedly connected with a ratchet, the upper part of the ratchet is engaged and connected with a pressing rod, the pressing rod is rotatably connected with a fixing plate, a placement slot is opened on the upper side of the fixing plate, and the right side of the pressing rod is arranged There is a blocking rod, the blocking rod is slidably connected with the placing slot, an extension spring is fixedly connected to the lower end of the blocking rod, the bottom end of the stretching spring is fixedly connected with the bottom end of the placing groove, and the fourth transmission The right end of the shaft is fixedly connected with an L rod, the L rod is rotatably connected with the rotating handle, the fixed plate is fixedly connected with the support plate, the third transmission shaft is slidably connected with the support plate, the fourth The transmission shaft is rotatably connected with the support plate.
优选的,所述第三齿轮固定连接有第一传动杆,所述第一传动杆通过链条连接有第二传动杆,所述第二传动杆与所述箱体转动连接,所述第二传动杆右端通过齿轮组传送蜗杆连接,所述传送蜗杆前端与所述出料管转动连接,所述出料管与所述箱体固定连接,所述传送蜗杆与所述箱体转动连接。Preferably, the third gear is fixedly connected with a first transmission rod, the first transmission rod is connected with a second transmission rod through a chain, the second transmission rod is rotatably connected with the box, and the second transmission rod The right end of the rod is connected by a gear set transmission worm, the front end of the transmission worm is rotatably connected with the discharge pipe, the discharge pipe is fixedly connected with the box body, and the transmission worm is rotatably connected with the box body.
优选的,所述箱体内部固定连接有泵体,所述泵体下端固定连接有多个大小相同、分布均匀的扇形块,所述扇形块与所述转盘顶部滑动连接,所述泵体底端与所述转盘转动连接,所述长轴与所述转盘滑动连接,所述转盘下端与所述箱体转动连接。Preferably, a pump body is fixedly connected inside the box body, a plurality of fan-shaped blocks of the same size and uniform distribution are fixedly connected to the lower end of the pump body, the fan-shaped blocks are slidingly connected with the top of the turntable, and the bottom of the pump body The end is rotatably connected with the turntable, the long shaft is slidably connected with the turntable, and the lower end of the turntable is rotatably connected with the box.
优选的,所述箱体上部后侧铰接有盖板,所述盖板前侧上端面开有扇形槽,所述盖板前部设置有移动杆,所述移动杆的移动构成所述移动杆与所述扇形槽滑动连接的结构,所述移动杆前侧下端固定连接有转动块,所述转动块与所述箱体转动连接,所述移动杆中部左端固定连接有伸拉弹簧,所述伸拉弹簧右端与所述箱体固定连接;Preferably, a cover plate is hinged on the rear side of the upper part of the box body, a fan-shaped groove is opened on the upper end surface of the front side of the cover plate, and a moving rod is arranged on the front part of the cover plate, and the movement of the moving rod constitutes the moving rod In the structure of sliding connection with the fan-shaped groove, a rotating block is fixedly connected to the lower end of the front side of the moving rod, the rotating block is rotatably connected with the box body, and an extension spring is fixedly connected to the left end of the middle part of the moving rod. The right end of the extension spring is fixedly connected with the box body;
所述盖板后侧开有放置槽,所述放置槽后端面开有多个放置孔,所述放置槽后部设置有多个大小相同、分布均匀的软管,所述软管与所述放置孔滑动连接,所述软管后端下侧固定连接有接头。The rear side of the cover plate is provided with a placement slot, the rear face of the placement slot is provided with a plurality of placement holes, and the rear of the placement slot is provided with a plurality of hoses of the same size and evenly distributed. The placement hole is slidably connected, and a joint is fixedly connected to the lower side of the rear end of the hose.
优选的,所述底板顶部前侧固定连接有固定块,所述固定块滑动连接有左右可自由移动的第二齿条,所述第二齿条内侧啮合连接有转向齿轮,所述转向齿轮左右侧均铰接有L形连杆,所述L形连杆均与所述底板转动连接,所述L形连杆外侧均设置有移动轮,所述转向齿轮通过短杆均与所述底板转动连接,所述转向齿轮上端固定连接有拉杆,所述底板后侧左右侧均固定连接有方板,所述方板均与所述移动轮转动连接。Preferably, a fixed block is fixedly connected to the front side of the top of the bottom plate, the fixed block is slidably connected with a second rack that can move left and right freely, and a steering gear is engaged with the inner side of the second rack, and the steering gear is left and right. L-shaped connecting rods are hinged on the sides, and the L-shaped connecting rods are all rotatably connected with the bottom plate. The outer sides of the L-shaped connecting rods are all provided with moving wheels, and the steering gears are all rotatably connected with the bottom plate through short rods. The upper end of the steering gear is fixedly connected with a pull rod, and the left and right sides of the rear side of the bottom plate are fixedly connected with a square plate, and the square plate is rotatably connected with the moving wheel.
优选的,所述底板下端固定连接有多个大小相同、分布均匀的U形块,所述U形块均转动连接有支撑杆,所述支撑杆外侧均固定连接有伸拉弹簧,所述伸拉弹簧外侧与所述U形块固定连接,所述支撑杆内侧均螺纹连接有螺纹杆,所述螺纹杆内侧固定连接有十字形杆,所述十字形杆内侧固定连接有支撑底座。Preferably, a plurality of U-shaped blocks of the same size and uniform distribution are fixedly connected to the lower end of the bottom plate, and support rods are rotatably connected to the U-shaped blocks, and extension springs are fixedly connected to the outside of the support rods. The outer side of the tension spring is fixedly connected with the U-shaped block, the inner side of the support rod is threadedly connected with a threaded rod, the inner side of the threaded rod is fixedly connected with a cross-shaped rod, and the inner side of the cross-shaped rod is fixedly connected with a support base.
本发明结构新颖,构思巧妙,操作简单方便,和现有技术相比具有以下优点:The present invention has novel structure, ingenious design, simple and convenient operation, and has the following advantages compared with the prior art:
1.所述主动轴左端固定连接有电机,通过所述电机带动所述主动轴转动,所述主动轴通过齿轮组传动,带动所述搅拌叶转动的同时且所述搅拌叶跟随所述长轴做上下往复运动,这样使灌浆用的原材料混合的更加均匀。1. A motor is fixedly connected to the left end of the driving shaft, and the driving shaft is driven to rotate by the motor, and the driving shaft is driven by a gear set to drive the stirring blade to rotate, and the stirring blade follows the long axis. Do the up and down reciprocating motion, so that the raw materials for grouting are mixed more evenly.
2.通过所述主动轴的转动,使所述转盘有一定时间间歇的转动,这样可以防止所述长轴下部灌浆的原材料因搅拌叶的盲区搅拌不到而沉淀下来,通过所述主动轴的转动构成所述转盘做时间间歇转动的结构,可以使灌浆用的原材料搅拌的均匀。2. Through the rotation of the driving shaft, the turntable can be rotated intermittently for a certain period of time, which can prevent the raw material grouting at the lower part of the long shaft from settling because the blind area of the stirring blade cannot be stirred. Rotation constitutes a structure in which the turntable rotates intermittently over time, so that the raw materials for grouting can be stirred evenly.
3.当所述第四齿轮均与所述第三齿轮、所述第五齿轮啮合连接时,所述第一传动杆通过所述链条带动所述第二传动杆转动,所述第二传动杆通过齿轮组带动所述传送蜗杆转动,从而使所述泵体混合后的灌浆混合液从所述出料管输出,实现了灌浆用的混合液能够有效的排出。3. When the fourth gear is meshed with the third gear and the fifth gear, the first transmission rod drives the second transmission rod to rotate through the chain, and the second transmission rod rotates. The transmission worm is driven to rotate by the gear set, so that the grouting mixed liquid mixed by the pump body is output from the discharge pipe, so that the mixed liquid for grouting can be effectively discharged.
4.当所述转盘转动时,所述转盘上会有灌浆用的混合物,通过所述扇形块清除所述转盘顶部粘连的浆液混合物,使浆液混合物混合的更均匀,减少了灌浆混合物沉淀泵体底部,搅拌叶够不到,造成灌浆用原材料搅拌不充分的现象。4. When the turntable rotates, there will be a mixture for grouting on the turntable, and the grouting mixture is removed from the top of the turntable through the sector block, so that the slurry mixture is mixed more evenly, and the grouting mixture is reduced. Precipitation of the pump body At the bottom, the stirring blade cannot reach, resulting in insufficient stirring of the raw materials for grouting.
5.当灌浆原材料放置到所述泵体内,关闭盖板,按照混合物与水的比例,通过所述接头与外界水管相连,通过所述软管将水注入到所述泵体内,可防止灌浆原材料在搅拌过程中产生的灰尘对人体的伤害以及减少对环境的污染;通过所述软管可进行搅拌后的泵体进行冲洗,防止灌浆混合物粘连在所述泵体和所述搅拌叶上,腐蚀所述泵体和所述搅拌叶,影响该装置的二次搅拌的使用。5. When the grouting raw material is placed in the pump body, close the cover, connect it with the external water pipe through the joint according to the ratio of the mixture to the water, and inject water into the pump body through the hose, which can prevent the grouting raw material. The dust generated during the stirring process will harm the human body and reduce the pollution to the environment; the pump body after stirring can be washed through the hose to prevent the grouting mixture from adhering to the pump body and the stirring blade and corroding The pump body and the stirring blade affect the use of the secondary stirring of the device.
6.所述支撑杆下端面均固定连接有推拉杆;通过移动所述推拉杆,所述支撑杆在所述伸拉弹簧的作用力下,所述支撑杆与地面接触,所述十字形杆端面开有内六角槽,因为地面存在高低不平,通过内六角扳手转动所述十字形杆,调节所述螺纹杆的高度进行调节所述支撑底座的位置,并使所述转动轮悬空,使灌浆液搅拌时,该装置更加稳定。6. A push-pull rod is fixedly connected to the lower end surface of the support rod; by moving the push-pull rod, the support rod is in contact with the ground under the force of the extension spring, and the cross-shaped rod There is a hexagonal slot on the end face, because the ground is uneven, turn the cross-shaped rod through the hexagonal wrench, adjust the height of the threaded rod to adjust the position of the support base, and make the rotating wheel hang in the air to make grouting The device is more stable when the liquid is stirred.
附图说明Description of drawings
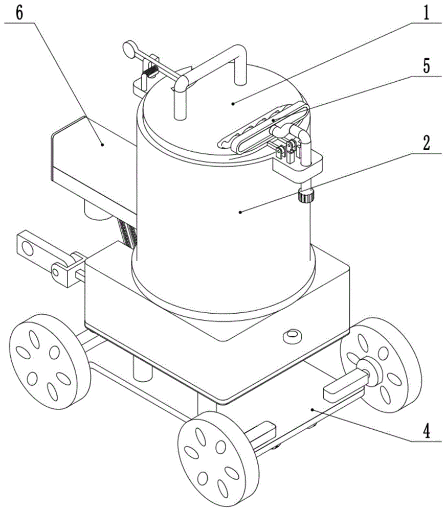
图1为本发明的一种灌浆用搅拌机的轴测结构示意图。FIG. 1 is a schematic diagram of the axonometric structure of a grouting mixer according to the present invention.
图2为本发明的一种灌浆用搅拌机的泵体剖视图。FIG. 2 is a cross-sectional view of a pump body of a grouting mixer according to the present invention.
图3为本发明的一种灌浆用搅拌机的俯视图。3 is a top view of a grouting mixer of the present invention.
图4为本发明的一种灌浆用搅拌机的泵体结构示意图。FIG. 4 is a schematic diagram of the structure of a pump body of a grouting mixer according to the present invention.
图5为本发明的一种灌浆用搅拌机的支撑板结构放大示意图。FIG. 5 is an enlarged schematic view of a support plate structure of a grouting mixer according to the present invention.
图6为本发明的一种灌浆用搅拌机的圆柱凸轮结构示意图。FIG. 6 is a schematic structural diagram of a cylindrical cam of a mixer for grouting according to the present invention.
图7为本发明的一种灌浆用搅拌机的转盘结构放大示意图。FIG. 7 is an enlarged schematic view of a turntable structure of a grouting mixer according to the present invention.
图8为本发明的一种灌浆用搅拌机的第一不完全齿轮和第二不完全齿轮结构示意图。8 is a schematic structural diagram of the first incomplete gear and the second incomplete gear of a grouting mixer of the present invention.
图9为本发明的一种灌浆用搅拌机的链条结构放大示意图。FIG. 9 is an enlarged schematic view of the chain structure of a grouting mixer according to the present invention.
图10为本发明的一种灌浆用搅拌机的传动结构放大示意图。FIG. 10 is an enlarged schematic diagram of the transmission structure of a grouting mixer according to the present invention.
图11为本发明的一种灌浆用搅拌机的棘轮结构放大示意图。FIG. 11 is an enlarged schematic view of the ratchet structure of a grouting mixer according to the present invention.
图12为本发明的一种灌浆用搅拌机的盖板结构示意图。FIG. 12 is a schematic structural diagram of a cover plate of a grouting mixer according to the present invention.
图13为本发明的一种灌浆用搅拌机的底板结构示意。FIG. 13 is a schematic diagram of the bottom plate structure of a grouting mixer according to the present invention.
图14为本发明的一种灌浆用搅拌机的底视图。Figure 14 is a bottom view of a grouting mixer of the present invention.
图15为本发明的一种灌浆用搅拌机的支撑杆结构放大示意图。FIG. 15 is an enlarged schematic view of a support rod structure of a grouting mixer according to the present invention.
具体实施方式Detailed ways
以下是本发明的具体实施例,并结合附图对本发明的技术方案作进一步的描述,但本发明并不限于这些实施例。The following are specific embodiments of the present invention, and the technical solutions of the present invention will be further described with reference to the accompanying drawings, but the present invention is not limited to these embodiments.
如图1-15所示,本发明提供一种灌浆用搅拌机,包括底板4,所述底板4顶部设置有支撑板9,所述支撑板9上部固定连接有箱体2,所述支撑板9顶部前侧设置有中空的出料管25,所述出料管25内部设置有传送蜗杆23;所述支撑板9顶部转动连接有主动轴33,所述主动轴33通过齿轮组连接有连接轴12,所述连接轴12下侧固定连接有第一齿轮15,所述第一齿轮15啮合连接有第二齿轮13,所述第二齿轮13固定连接有圆柱凸轮10,所述圆柱凸轮10与所述支撑板9转动连接,所述连接轴12上侧滑动连接有下部中空的长轴7,所述长轴7固定连接有多个大小相同、分布均匀的搅拌叶11;所述主动轴33的转动构成所述搅拌叶11转动同时且做上下往复运动的结构;As shown in FIGS. 1-15 , the present invention provides a mixer for grouting, comprising a
所述搅拌叶11中部固定连接有加强筋,增加所述搅拌叶11搅拌时的稳定性,所述搅拌叶11用于搅拌待混和的灌浆原材料;所述主动轴33左端固定连接有电机,通过所述电机带动所述主动轴33转动,所述主动轴33通过齿轮组传动,带动所述搅拌叶11转动的同时且所述搅拌叶11跟随所述长轴7做上下往复运动,这样使灌浆用的原材料混合的更加均匀。The middle part of the
如图8所示,所述主动轴33通过齿轮组连接有第一传动轴18,所述第一传动轴18上部固定连接有第一不完全齿轮16,所述第一不完全齿轮16后部设置有第二不完全齿轮17,所述第二不完全齿轮17与所述第一传动轴18转动连接,所述第一不完全齿轮16右侧设置有第二传动轴19,所述第二传动轴19顶部通过齿轮组连接有转盘8;所述主动轴33的转动构成所述转盘8做时间间歇转动的结构;As shown in FIG. 8 , the driving
通过所述主动轴33的转动,使所述转盘8有一定时间间歇的转动,这样可以防止所述长轴7下部灌浆的原材料因搅拌叶11的盲区搅拌不到而沉淀下来,通过所述主动轴33的转动构成所述转盘8做时间间歇转动的结构,可以使灌浆用的原材料搅拌的均匀。Through the rotation of the driving
如图9所示,所述主动轴33左侧设置有互不啮合连接的第三齿轮32、第四齿轮31、第五齿轮30,所述第四齿轮31转动连接有第三传动轴,所述第三传轴前侧设置有传动结构,所述传动结构右侧设置有转动手柄;所述转动手柄的转动构成所述所述第四齿轮31均与所述第三齿轮32、所述第五齿轮30啮合连接的结构;所述第四齿轮31均与所述第三齿轮32、所述第五齿轮30啮合连接形成所述传送蜗杆23转动的结构。As shown in FIG. 9 , the left side of the
通过转动所述转动手柄,所述转动手柄通过所述传动结构使所述第四齿轮31与所述第三齿轮32、第四齿轮31啮合连接的结构,从而使所述传送蜗杆23转动,所述传送蜗杆23将混合完毕的灌浆液输出泵体21外部。By rotating the rotating handle, the rotating handle meshes and connects the
如图5所示,所述连接轴12上部固定连接有键块,所长轴7下部内壁开有键槽,所述键块与所述键槽滑动连接,所述长轴7下侧内壁直径与所述连接轴12外径相同,所述长轴7下侧圆周开有环槽,所述环槽后侧设置有转杆架14,所述转杆架14前端与所述环槽转动连接,所述转杆架14有后端与所述圆柱凸轮10啮合连接,所述转杆架14转动连接有箱体2,所述连接轴12与所述支撑板9转动连接。As shown in FIG. 5 , the upper part of the connecting
通过所述键块与所述键槽的滑动连接,使所述长轴7随着所述连接轴12转动而转动的同时,长轴7又能做上下往复运动;通过所述主动轴33转动通过齿轮组带动所述连接轴12转动,所述第一齿轮15带动所述第二齿轮13转动,所述第二齿轮13带动所述圆柱凸轮10转动,所述圆柱凸轮10带动所述转杆架14做上下往复运动,所述转动架带动左侧所述长轴7做上下往复运动,从而带动所述搅拌叶11转动的同时又能做上下往复运动。Through the sliding connection between the key block and the key groove, the
如图8所示,所述第一不完全齿轮16顶侧固定连接有伸拉弹簧,所述伸拉弹簧与所述第二不完全齿轮17固定连接,所述第一不完全齿轮16后侧啮合连接有第六齿轮20,所述第六齿轮20与所述第二传动轴19固定连接。As shown in FIG. 8 , an extension spring is fixedly connected to the top side of the first
通过所述主动轴33的转动,所述主动轴33通过齿轮组带动所述第一传动轴18转动,所述第一传动轴18带动所述第一不完全齿轮16转动,当所述第二不完全齿轮17与所述第六齿轮(20)啮合连接时,所述第二不完全齿轮17相对于所述第六齿轮(20)保持相对静止的状态,此时所述第二传动轴19停止转动,所述转盘8停止转动;当所述第一不完全齿轮16左部转动与所述第二不完全齿轮17接触时,所述第二不完全齿轮17带动啮合连接的所述第六齿轮(20),此时所述第二传动轴19转动,从而带动所述转盘8进行转动。Through the rotation of the driving
如图10和如图11所示,所述传动结构包括与所述第三传动轴固定连接的第一齿条29,所述第一齿条29啮合连接有第七齿轮31,所述第七齿轮31固定连接有第四传动轴27,所述第四传动轴27右侧固定连接有棘轮36,所述棘轮36上部啮合连接有按压杆54,所述按压杆54转动连接有固定板55,所述固定板55上侧开有放置槽,所述按压杆54右侧设置有挡杆56,所述挡杆56与所述放置槽滑动连接,所述挡杆56下端固定连接有伸拉弹簧,所述伸拉弹簧底端与所述放置槽底端固定连接,所述第四传动轴27右端固定连接有L杆26,所述L杆26与所述转动手柄转动连接,所述固定板55与所述支撑板9固定连接,所述第三传动轴、所述第四传动轴27均与所述支撑板9转动连接。As shown in FIG. 10 and FIG. 11 , the transmission structure includes a
通过转动所述转动手柄,所述转动手柄带动所述L杆26转动,所述L杆26带动所述第四传动轴27转动,所述第四传动轴27带所述棘轮36转动,所述第四传动轴27带动所述第七齿轮31转动,所述第七齿轮31带动所述第一齿条29向上运动,所述第一齿条29带动所述第三传动轴向上运动,所述第四齿轮31均与所述第三齿轮32、所述第五齿轮30啮合连接;所述棘轮36使所述第四传动轴27向一个方向转动;当结束向外输出灌浆时,按压所述按压杆54,通过转动所述转动手柄,使所述第四齿轮31与所述第三齿轮32、所述第五齿轮30断开啮合连接,方便下次输出搅拌均匀后的灌浆。By rotating the rotating handle, the rotating handle drives the
如图4和如图5所示,所述第三齿轮32固定连接有第一传动杆34,所述第一传动杆34通过链条连接有第二传动杆35,所述第二传动杆35与所述箱体2转动连接,所述第二传动杆35右端通过齿轮组传送蜗杆23连接,所述传送蜗杆23前端与所述出料管25转动连接,所述出料管25与所述箱体2固定连接,所述传送蜗杆23与所述箱体2转动连接。As shown in FIG. 4 and FIG. 5 , the
当所述第四齿轮31均与所述第三齿轮32、所述第五齿轮30啮合连接时,所述第一传动杆34通过所述链条带动所述第二传动杆35转动,所述第二传动杆35通过齿轮组带动所述传送蜗杆23转动,从而使所述泵体21混合后的灌浆混合液从所述出料管25输出。When the
如图2和如图4所示,所述箱体2内部固定连接有泵体21,所述泵体21下端固定连接有多个大小相同、分布均匀的扇形块22,所述扇形块22与所述转盘8顶部滑动连接,所述泵体21底端与所述转盘8转动连接,所述转盘8下端与所述箱体2转动连接。As shown in FIG. 2 and FIG. 4 , a
当所述转盘8转动时,所述转盘8上会有灌浆用的混合物,通过所述扇形块22清除所述转盘8顶部粘连的浆液混合物,使浆液混合物混合的更均匀。When the
如图12所示,所述箱体2上部后侧铰接有盖板1,所述盖板1前侧上端面开有扇形槽39,所述盖板1前部设置有移动杆38,所述移动杆38的移动构成所述移动杆38与所述扇形槽39滑动连接的结构,所述移动杆38前侧下端固定连接有转动块37,所述转动块37与所述箱体2转动连接,所述移动杆38中部左端固定连接有伸拉弹簧,所述伸拉弹簧右端与所述箱体2固定连接;As shown in FIG. 12 , a
所述盖板1顶部固定连接有把手,当打开所述盖板1时,首先转动所述移动杆38,所述移动杆38移出所述扇形槽39,上拉所述把手,打开所述盖板1;当关闭所述盖板1时,需要将所述移动杆38右端移动到所述扇形槽39内,在所述伸拉弹簧弹力的作用下,所述移动杆38固定到所述扇形槽39内,起到固定所述盖板1的作用。A handle is fixedly connected to the top of the
所述盖板1后侧开有放置槽,所述放置槽后端面开有多个放置孔,所述放置槽后部设置有多个大小相同、分布均匀的软管40,所述软管40与所述放置孔滑动连接,所述软管40后端下侧固定连接有接头42。A placement slot is opened on the rear side of the
当灌浆原材料放置到所述泵体21内,关闭盖板1,按照混合物与水的比例,通过所述接头42与外界水管相连,通过所述软管40将水注入到所述泵体21内,可防止灌浆原材料在搅拌过程中产生的灰尘对人体的伤害以及减少对环境的污染;通过所述软管40可进行搅拌后的泵体21进行冲洗,防止灌浆混合物粘连在所述泵体21和所述搅拌叶11上,腐蚀所述泵体21和所述搅拌叶11,影响该装置的二次搅拌的使用。When the grouting raw material is placed in the
如图13所示,所述底板4顶部前侧固定连接有固定块47,所述固定块47滑动连接有左右可自由移动的第二齿条45,所述第二齿条45内侧啮合连接有转向齿轮49,所述转向齿轮49左右侧均铰接有L形连杆44,所述L形连杆44均与所述底板4转动连接,所述L形连杆44外侧均设置有移动轮43,所述转向齿轮49通过短杆均与所述底板4转动连接,所述转向齿轮49上端固定连接有拉杆46,所述底板后侧左右侧均固定连接有方板48,所述方板48均与所述移动轮43转动连接。As shown in FIG. 13 , a fixing
通过拉动所述拉杆46,所述拉杆46带动所述转向齿轮49转动,所述转向齿轮49带动所述第二齿条47向左或者向右运动,从而使前侧两个所述转动轮49产生变向的功能。By pulling the
如图14和如图15所示,所述底板4下端固定连接有多个大小相同、分布均匀的U形块50,所述U形块50均转动连接有支撑杆51,所述支撑杆51外侧均固定连接有伸拉弹簧,所述伸拉弹簧外侧与所述U形块50固定连接,所述支撑杆51内侧均螺纹连接有螺纹杆52,所述螺纹杆52内侧固定连接有十字形杆,所述十字形杆内侧固定连接有支撑底座53。As shown in FIG. 14 and FIG. 15 , a plurality of
所述支撑杆51下端面均固定连接有推拉杆46;通过移动所述推拉杆46,所述支撑杆51在所述伸拉弹簧的作用力下,所述支撑杆51与地面接触,所述十字形杆端面开有内六角槽,因为地面存在高低不平,通过内六角扳手转动所述十字形杆,调节所述螺纹杆52的高度进行调节所述支撑底座53的位置,并使所述转动轮悬空,使灌浆液搅拌时,该装置更加稳定。A push-
本发明在使用时,首先调整所述支撑底座53的位置,打开所述盖板1,将带混合的灌浆原材料放入所述泵体21内,盖上所述盖板1,通过加入的灌浆原材料按照一定的比例通过所述的软管40加入合适的水,开启电机,进行搅拌,搅拌均匀后转动所述转动手柄,通过传送蜗杆23转动,将混合均匀的灌浆液从所述出料管25排出,待灌浆混合液输出完毕后,通过向所述软管40注水清洗所述泵体21和所述搅拌叶11。When the present invention is in use, first adjust the position of the
本文中所描述的具体实施例仅仅是对本发明精神作举例说明。本发明所属技术领域的技术人员可以对所描述的具体实施例做各种各样的修改或补充或采用类似的方式代替,但并不会偏离本发明的精神或者超越所附权利要求书所定义的范围。The specific embodiments described herein are merely illustrative of the spirit of the invention. Those skilled in the art to which the present invention pertains can make various modifications or additions to the described specific embodiments or replace them in similar manners, but will not deviate from the spirit of the present invention or go beyond the definition of the appended claims range.
尽管本文中较多的使用了盖板1、箱体2、底板4、长轴7、转盘8、支撑板9、圆柱凸轮10、搅拌叶11、连接轴12、第二齿轮13、转杆架14、第一齿轮15、第一不完全齿轮16、第二不完全齿轮17、第一传动轴18、第二传动轴19、第六齿轮20、泵体21、扇形块22、传送蜗杆23、出料管25、L杆26、第四传动轴27、第一齿条29、第五齿轮30、第四齿轮31、第三齿轮32、主动轴33、第一传动杆34、第二传动杆35、棘轮36、转动块37、移动杆38、扇形槽39、软管40、接头42、移动轮43、L形连杆44、第二齿条45、拉杆46、固定块47、方板48、转向齿轮49、U形块50、支撑杆51、螺纹杆52、支撑底座53、按压杆54、固定板55、挡杆56等术语,但并不排除使用其他术语的可能性。使用这些术语仅仅是为了更方便地描述和解释本发明的本质;把它们解释成任何附加的限制都是与本发明精神相违背的。Although the
Claims (9)
Priority Applications (1)
| Application Number | Priority Date | Filing Date | Title |
|---|---|---|---|
| CN202010172347.XA CN111330496A (en) | 2020-03-12 | 2020-03-12 | Mixer is used in grout |
Applications Claiming Priority (1)
| Application Number | Priority Date | Filing Date | Title |
|---|---|---|---|
| CN202010172347.XA CN111330496A (en) | 2020-03-12 | 2020-03-12 | Mixer is used in grout |
Publications (1)
| Publication Number | Publication Date |
|---|---|
| CN111330496A true CN111330496A (en) | 2020-06-26 |
Family
ID=71176273
Family Applications (1)
| Application Number | Title | Priority Date | Filing Date |
|---|---|---|---|
| CN202010172347.XA Withdrawn CN111330496A (en) | 2020-03-12 | 2020-03-12 | Mixer is used in grout |
Country Status (1)
| Country | Link |
|---|---|
| CN (1) | CN111330496A (en) |
Cited By (3)
| Publication number | Priority date | Publication date | Assignee | Title |
|---|---|---|---|---|
| CN112316868A (en) * | 2020-10-21 | 2021-02-05 | 厦门汉旭硅材料科技有限公司 | Preparation device and preparation method of polysilicon modified wear-resistant paste and polysilicon modified wear-resistant paste |
| CN113246302A (en) * | 2021-06-04 | 2021-08-13 | 翟文娜 | Handheld type constructional engineering agitating unit |
| CN113455678A (en) * | 2021-07-07 | 2021-10-01 | 吉林农业科技学院 | Cyperus esculentus degreasing and drying device and using method thereof |
-
2020
- 2020-03-12 CN CN202010172347.XA patent/CN111330496A/en not_active Withdrawn
Cited By (4)
| Publication number | Priority date | Publication date | Assignee | Title |
|---|---|---|---|---|
| CN112316868A (en) * | 2020-10-21 | 2021-02-05 | 厦门汉旭硅材料科技有限公司 | Preparation device and preparation method of polysilicon modified wear-resistant paste and polysilicon modified wear-resistant paste |
| CN113246302A (en) * | 2021-06-04 | 2021-08-13 | 翟文娜 | Handheld type constructional engineering agitating unit |
| CN113246302B (en) * | 2021-06-04 | 2024-03-19 | 福建省鸿启建材有限公司 | Handheld building engineering agitating unit |
| CN113455678A (en) * | 2021-07-07 | 2021-10-01 | 吉林农业科技学院 | Cyperus esculentus degreasing and drying device and using method thereof |
Similar Documents
| Publication | Publication Date | Title |
|---|---|---|
| CN111330496A (en) | Mixer is used in grout | |
| CN206199089U (en) | A kind of two-way stirring equipment with double stirring device | |
| CN211645877U (en) | Construction marking equipment | |
| CN207324625U (en) | A kind of subgrade construction builds mixer | |
| CN208177911U (en) | A kind of stamping equipment cleaning mechanism | |
| CN108499922B (en) | Lead screw cleaning equipment for engineering machinery | |
| CN218700083U (en) | A kind of construction engineering construction mixing material supply cleaning device | |
| CN115888501A (en) | Chemical raw material mixing device | |
| CN208244606U (en) | A kind of multiple mixing agitator of industrial chemicals | |
| CN114984809A (en) | Preparation device and preparation method for energy-saving coating of primary converter for synthetic ammonia | |
| CN221989065U (en) | Scribing device for road bridge municipal construction | |
| CN208642657U (en) | A kind of chemical reactor | |
| CN215800868U (en) | A road surface patching device for municipal works | |
| CN218283079U (en) | Belt cleaning device for dispersion bucket | |
| CN206747201U (en) | A mixing tank cleaning device | |
| CN112809927B (en) | Vehicle-mounted cement concrete mixing device | |
| CN209937268U (en) | Dustproof mortar mixer that easily washs | |
| CN221373020U (en) | Building wall repair joint filling equipment | |
| CN209047314U (en) | A kind of dough mixing machine | |
| CN221872533U (en) | Concrete mixing equipment capable of being cleaned automatically | |
| CN214715794U (en) | Two-way agitating unit of salad dressing | |
| CN217795907U (en) | Mixer with self-cleaning function | |
| CN221753255U (en) | A water reducing agent production equipment | |
| CN211963843U (en) | Fertilizer production material mixer | |
| CN222606064U (en) | Road surface repairing material preparation device convenient to clean |
Legal Events
| Date | Code | Title | Description |
|---|---|---|---|
| PB01 | Publication | ||
| PB01 | Publication | ||
| SE01 | Entry into force of request for substantive examination | ||
| SE01 | Entry into force of request for substantive examination | ||
| WW01 | Invention patent application withdrawn after publication |
Application publication date: 20200626 |
|
| WW01 | Invention patent application withdrawn after publication |
