CN111320074A - An electric salvage device for vertical pool specimens - Google Patents
An electric salvage device for vertical pool specimens Download PDFInfo
- Publication number
- CN111320074A CN111320074A CN202010241468.5A CN202010241468A CN111320074A CN 111320074 A CN111320074 A CN 111320074A CN 202010241468 A CN202010241468 A CN 202010241468A CN 111320074 A CN111320074 A CN 111320074A
- Authority
- CN
- China
- Prior art keywords
- clamping
- vertical
- ring
- barrel
- clamping arms
- Prior art date
- Legal status (The legal status is an assumption and is not a legal conclusion. Google has not performed a legal analysis and makes no representation as to the accuracy of the status listed.)
- Pending
Links
Images
Classifications
-
- B—PERFORMING OPERATIONS; TRANSPORTING
- B66—HOISTING; LIFTING; HAULING
- B66C—CRANES; LOAD-ENGAGING ELEMENTS OR DEVICES FOR CRANES, CAPSTANS, WINCHES, OR TACKLES
- B66C1/00—Load-engaging elements or devices attached to lifting or lowering gear of cranes or adapted for connection therewith for transmitting lifting forces to articles or groups of articles
- B66C1/10—Load-engaging elements or devices attached to lifting or lowering gear of cranes or adapted for connection therewith for transmitting lifting forces to articles or groups of articles by mechanical means
- B66C1/42—Gripping members engaging only the external or internal surfaces of the articles
- B66C1/425—Gripping members engaging only the external or internal surfaces of the articles motor actuated
Landscapes
- Engineering & Computer Science (AREA)
- Mechanical Engineering (AREA)
- Load-Engaging Elements For Cranes (AREA)
Abstract
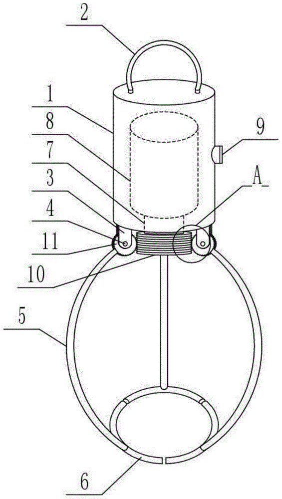
本发明涉及一种竖池标本电动打捞装置,包括位于顶部的中空的筒体,所述筒体的顶部中部设置有挂环,筒体的底部设置有至少两个支耳,每个支耳中设置有销轴,每根销轴上对应设置有夹持臂,夹持臂以竖直方向设置并且可以销轴为中心转动并锁定,夹持臂的上端与支耳相铰接,夹持臂的下端设置有夹持环,夹持环以水平方向设置,所有夹持臂上的夹持环可围合成一个环状体;所述筒体中设置有用于驱动夹持臂摆动及锁定的驱动装置。其专门针对竖池设计,可以伸入竖池中进行打捞,并且抓抱牢靠,标本不易滑脱。通过顶部的挂环,可以与行车相结合,采用遥控器进行控制,使操作人员能远离卧池进行操作,避免对操作人员的身体健康造成损害。
The invention relates to an electric salvaging device for vertical pool specimens, comprising a hollow cylinder located at the top, a hanging ring is arranged in the middle of the top of the cylinder, and at least two lugs are arranged at the bottom of the cylinder, and each lug is in the middle of the cylinder. A pin shaft is provided, and a clamping arm is correspondingly arranged on each pin shaft. The clamping arm is arranged in a vertical direction and can be rotated and locked with the pin shaft as the center. The lower end is provided with a clamping ring, the clamping ring is arranged in a horizontal direction, and the clamping rings on all the clamping arms can be enclosed into a ring body; the cylinder body is provided with a driving device for driving the clamping arms to swing and lock . It is specially designed for vertical ponds, can be extended into the vertical pond for salvage, and is gripped firmly, and the specimen is not easy to slip off. Through the hanging ring on the top, it can be combined with the driving and controlled by the remote control, so that the operator can operate away from the lying pool and avoid damage to the operator's health.
Description
【技术领域】【Technical field】
本发明涉及打捞设备的技术领域,具体涉及一种竖池标本电动打捞装置。The invention relates to the technical field of salvage equipment, in particular to an electric salvage device for vertical pool specimens.
【背景技术】【Background technique】
人体和动物的教学标本通常放入高浓度化学药液池内防腐保存。而药液池也分为卧池和竖池,主要针对不同的标本,进行分别的合理存放。在使用时,需要将标本从池中打捞出来。目前,通常采用火钳、钢筋钩、木棒等打捞工具进行打捞工作。由于抓抱不牢靠,标本在上拉时常常会滑脱,再次落入池中。不仅容易造成标本的损伤,而且溅起的药液也会使操作人员的眼角膜及身体受到损伤。现有的机械式的打捞器,也需要操作人员到达池边缘进行操作,不但费时费力,且大量有毒有害物质的吸入,也会严重损害操作人员的身体健康。尤其是在对开口较小,深度较深的竖池时,标本的打捞更加存在难度。目前尚无专门用于竖池的打捞装置。Human and animal teaching specimens are usually stored in high-concentration chemical liquid pools for preservation. The liquid medicine pool is also divided into a horizontal pool and a vertical pool, which are mainly for different specimens and reasonably stored separately. When in use, the specimen needs to be salvaged from the pool. At present, salvage tools such as tongs, steel hooks, and wooden sticks are usually used for salvage work. Due to the insecure grip, specimens often slip off when pulled up and fall into the pool again. Not only is it easy to cause damage to the specimen, but the splashed liquid will also damage the operator's cornea and body. The existing mechanical salvage device also requires the operator to reach the edge of the pool to operate, which is not only time-consuming and labor-intensive, but also inhaling a large amount of toxic and harmful substances will seriously damage the health of the operator. Especially in the case of vertical pools with small openings and deep depths, it is more difficult to salvage the specimens. At present, there is no special salvage device for vertical tanks.
【发明内容】[Content of the invention]
为解决上述问题,本发明的目的在于提供一种能适用于竖池的特有结构,抓抱牢靠,标本不易滑脱,并且与行车相结合,能使操作人员远离卧池的竖池标本电动打捞装置。In order to solve the above problems, the purpose of the present invention is to provide a unique structure that can be applied to vertical pools, the gripping is firm, the specimen is not easy to slip off, and combined with driving, the vertical pool specimen electric salvage device that can enable operators to stay away from the horizontal pool. .
为实现上述目的,本发明采取的技术方案为:一种竖池标本电动打捞装置,包括位于顶部的中空的筒体,所述筒体的顶部中部设置有挂环,筒体的底部设置有至少两个支耳,每个支耳中设置有销轴,每根销轴上对应设置有夹持臂,夹持臂以竖直方向设置并且可以销轴为中心转动并锁定,夹持臂的上端与支耳相铰接,夹持臂的下端设置有夹持环,夹持环以水平方向设置,所有夹持臂上的夹持环可围合成一个环状体;所述筒体中设置有用于驱动夹持臂摆动及锁定的驱动装置。In order to achieve the above purpose, the technical solution adopted in the present invention is: an electric salvaging device for specimens in a vertical pool, comprising a hollow cylinder located at the top, a hanging ring is provided in the middle of the top of the cylinder, and a bottom of the cylinder is provided with at least Two lugs, each lug is provided with a pin, and each pin is correspondingly provided with a clamping arm, the clamping arm is arranged in a vertical direction and can be rotated and locked with the pin as the center, and the upper end of the clamping arm It is hinged with the support lug, the lower end of the clamping arm is provided with a clamping ring, the clamping ring is arranged in a horizontal direction, and the clamping rings on all the clamping arms can be enclosed into a ring body; The drive device that drives the gripping arm to swing and lock.
本发明中的一种竖池标本电动打捞装置进一步设置为:所述驱动装置包括设置在筒体中的竖向的伸缩杆,筒体内设置有用于驱动伸缩杆进行伸缩的电机,伸缩杆的下方连接有竖向的活动柱,活动柱的外壁上排列设置有环形的齿槽;所述夹持臂的上端固定有活动盘,活动盘的中心轴与筒体的中心轴相垂直,并且活动盘的盘面方向朝向筒体的中心轴,所述销轴穿设在活动盘的中心且与活动盘环向锁定,活动盘的环形外壁中设置有环形齿,环形齿与齿槽相啮合。An electric salvaging device for vertical pool specimens in the present invention is further configured as follows: the driving device includes a vertical telescopic rod arranged in a cylinder body, and a motor for driving the telescopic rod to expand and contract is arranged in the cylinder body, and the lower part of the telescopic rod is provided with a motor. A vertical movable column is connected, and annular tooth slots are arranged on the outer wall of the movable column; a movable disc is fixed on the upper end of the clamping arm, and the central axis of the movable disc is perpendicular to the central axis of the cylinder, and the movable disc is The direction of the disk surface of the movable disk is toward the central axis of the cylinder, the pin shaft is penetrated in the center of the movable disk and is annularly locked with the movable disk. The annular outer wall of the movable disk is provided with annular teeth, and the annular teeth are engaged with the tooth grooves.
本发明中的一种竖池标本电动打捞装置进一步设置为:所述筒体的侧部设置有用于使电机与外部电源及控制器相连接的连接头。An electric salvaging device for vertical pool specimens in the present invention is further configured as follows: a connecting head for connecting the motor with an external power source and a controller is provided on the side of the cylinder.
本发明中的一种竖池标本电动打捞装置进一步设置为:所述支耳的数量为三个,三个支耳以筒体的环向均匀分布。The electric salvaging device for vertical pool specimens in the present invention is further configured as follows: the number of the lugs is three, and the three lugs are evenly distributed in the circumferential direction of the cylinder.
本发明中的一种竖池标本电动打捞装置进一步设置为:所述夹持臂为圆滑的弧形条状,分别设置在三个支耳上的夹持臂,形成一个外凸的灯笼型结构。An electric salvage device for vertical pool specimens in the present invention is further configured as follows: the clamping arms are in the shape of smooth arc strips, and the clamping arms are respectively arranged on the three lugs to form a convex lantern-shaped structure .
本发明中的一种竖池标本电动打捞装置进一步设置为:所述夹持臂上的夹持环为圆滑的弧形条状,并且每个夹持臂上的夹持环的长度相同,分别设置在三个夹持臂上的夹持环围合形成一个圆环。An electric salvaging device for vertical pool specimens in the present invention is further configured as follows: the clamping rings on the clamping arms are in the shape of smooth arc strips, and the clamping rings on each clamping arm have the same length, respectively. The clamping rings arranged on the three clamping arms form a circle.
与现有技术相比,本发明具有如下有益效果:上述的一种竖池标本电动打捞装置,其结构简单、制作简便、使用方便,专门针对竖池设计,可以伸入竖池中进行打捞,并且采用可围合成环形体的夹持环,可以使抓抱牢靠,标本不易滑脱。其整体均采用圆弧过渡的处理,以防止对标本造成损伤。通过顶部的挂环,可以与行车相结合,采用遥控器进行控制,使操作人员能远离卧池进行操作,避免对操作人员的身体健康造成损害。Compared with the prior art, the present invention has the following beneficial effects: the above-mentioned electric salvage device for vertical pool specimens has the advantages of simple structure, simple manufacture and convenient use, and is specially designed for the vertical pool, and can be extended into the vertical pool for salvaging, In addition, a clamping ring that can be formed into an annular body can be used to make the gripping firm firm, and the specimen is not easy to slip off. The whole is treated with arc transition to prevent damage to the specimen. Through the hanging ring on the top, it can be combined with the driving and controlled by the remote control, so that the operator can operate away from the lying pool and avoid damage to the operator's health.
【附图说明】【Description of drawings】
图1是本发明的结构示意图。Figure 1 is a schematic structural diagram of the present invention.
图2是图1中A部的放大结构示意图。FIG. 2 is an enlarged schematic structural diagram of part A in FIG. 1 .
图中:1、筒体,2、挂环,3、支耳,4、销轴,5、夹持臂,6、夹持环,7、伸缩杆,8、电机,9、连接头,10、活动柱,11、活动盘。In the picture: 1. Cylinder body, 2. Hanging ring, 3. Support lug, 4. Pin shaft, 5. Clamping arm, 6. Clamping ring, 7. Telescopic rod, 8. Motor, 9. Connector, 10 , Active column, 11, Active plate.
【具体实施方式】【Detailed ways】
下面通过具体实施例对本发明所述的一种竖池标本电动打捞装置作进一步的详细描述。The electric salvage device for vertical pool specimens according to the present invention will be further described in detail below through specific embodiments.
如图1所示,一种竖池标本电动打捞装置,包括位于顶部的中空的筒体1,所述筒体1的顶部中部设置有挂环2,筒体1的底部设置有至少两个支耳3,每个支耳3中设置有销轴4,每根销轴4上对应设置有夹持臂5,夹持臂5以竖直方向设置并且可以销轴4为中心转动并锁定,夹持臂5的上端与支耳3相铰接,夹持臂5的下端设置有夹持环6,夹持环6以水平方向设置,所有夹持臂5上的夹持环6可围合成一个环状体;所述筒体1中设置有用于驱动夹持臂5摆动及锁定的驱动装置。As shown in FIG. 1, an electric salvaging device for vertical pool specimens includes a
作为优选方案,所述驱动装置包括设置在筒体1中的竖向的伸缩杆7,筒体1内设置有用于驱动伸缩杆7进行伸缩的电机8,所述筒体1的侧部设置有用于使电机8与外部电源及控制器相连接的连接头9。如图2所示,伸缩杆7的下方连接有竖向的活动柱10,活动柱10的外壁上排列设置有环形的齿槽;所述夹持臂5的上端固定有活动盘11,活动盘11的中心轴与筒体1的中心轴相垂直,并且活动盘11的盘面方向朝向筒体1的中心轴,所述销轴4穿设在活动盘11的中心且与活动盘11环向锁定,活动盘11的环形外壁中设置有环形齿,环形齿与齿槽相啮合。As a preferred solution, the driving device includes a vertical
在本实施例中,所述支耳3的数量为三个,三个支耳3以筒体1的环向均匀分布。所述夹持臂5为圆滑的弧形条状,分别设置在三个支耳3上的夹持臂5,形成一个外凸的灯笼型结构。所述夹持臂5上的夹持环6为圆滑的弧形条状,并且每个夹持臂5上的夹持环6的长度相同,分别设置在三个夹持臂5上的夹持环6围合形成一个圆环。In this embodiment, the number of the
本发明的工作原理是:使用时,可以采用行车通过挂环2将本装置进行吊装,采用连接线通过连接头9与筒体1内部的电机8实现连接,以方便采用遥控器进行控制,使操作人员能远离竖池进行操作,避免对操作人员的身体健康造成损害。具体的动作原理为:需要对竖池内的标本进行打捞时,首先需要将图1所示状态的电动打捞装置中的三个夹持臂5向外张开,即由电机8驱动伸缩杆7向下伸出,带动活动柱10向下移动,通过夹持臂5上端的活动盘11上的环形齿与活动柱10上的齿槽的啮合结构,活动柱10在向下移动时,会使活动盘11顺时针转动,从而使三个夹持臂5同步向外张开。接着由行车将筒体1向下移动,待夹持臂5的下端到达竖池中的相应深度后,电机8驱动伸缩杆7向上收缩,带动活动柱10向上移动,通过夹持臂5上端的活动盘11上的环形齿与活动柱10上的齿槽的啮合结构,活动柱10在向上移动时,会使活动盘11逆时针转动,从而使三个夹持臂5同步向内收拢,最终使三个夹持臂5上的夹持环6闭合成一个圆环,从而将标本抓抱牢靠,标本不易滑脱。The working principle of the present invention is as follows: when in use, the device can be hoisted through the hanging
上述的实施例仅例示性说明本发明创造的原理及其功效,以及部分运用的实施例,而非用于限制本发明;应当指出,对于本领域的普通技术人员来说,在不脱离本发明创造构思的前提下,还可以做出若干变形和改进,这些都属于本发明的保护范围。The above-mentioned embodiments are only illustrative of the principles and effects of the present invention, as well as some applied embodiments, but are not intended to limit the present invention; it should be pointed out that for those of ordinary skill in the art, without departing from the present invention Under the premise of creating ideas, several modifications and improvements can be made, which all belong to the protection scope of the present invention.
Claims (6)
Priority Applications (1)
| Application Number | Priority Date | Filing Date | Title |
|---|---|---|---|
| CN202010241468.5A CN111320074A (en) | 2020-03-31 | 2020-03-31 | An electric salvage device for vertical pool specimens |
Applications Claiming Priority (1)
| Application Number | Priority Date | Filing Date | Title |
|---|---|---|---|
| CN202010241468.5A CN111320074A (en) | 2020-03-31 | 2020-03-31 | An electric salvage device for vertical pool specimens |
Publications (1)
| Publication Number | Publication Date |
|---|---|
| CN111320074A true CN111320074A (en) | 2020-06-23 |
Family
ID=71166380
Family Applications (1)
| Application Number | Title | Priority Date | Filing Date |
|---|---|---|---|
| CN202010241468.5A Pending CN111320074A (en) | 2020-03-31 | 2020-03-31 | An electric salvage device for vertical pool specimens |
Country Status (1)
| Country | Link |
|---|---|
| CN (1) | CN111320074A (en) |
Cited By (1)
| Publication number | Priority date | Publication date | Assignee | Title |
|---|---|---|---|---|
| CN112897309A (en) * | 2021-03-17 | 2021-06-04 | 山东科雷茵重工有限公司 | Rod-shaped building material hoisting device |
Citations (9)
| Publication number | Priority date | Publication date | Assignee | Title |
|---|---|---|---|---|
| CN104016227A (en) * | 2014-06-24 | 2014-09-03 | 山东温声玻璃有限公司 | Lifting tool applied to cylindrical bucket |
| CN204138169U (en) * | 2014-10-17 | 2015-02-04 | 株洲硬质合金集团有限公司 | For the circular hoisting appliance without hanger container |
| CN105347185A (en) * | 2015-12-09 | 2016-02-24 | 镇江远大传动机械有限公司 | Clamp for hoisting outer gear shaft sleeve in gear-type coupling |
| CN206511811U (en) * | 2017-03-01 | 2017-09-22 | 四川建筑职业技术学院 | It is a kind of to lift clamping device apart from adjustable positioning |
| CN107640699A (en) * | 2016-07-22 | 2018-01-30 | 潘素云 | Fixture for the oil drum of transport |
| CN208327139U (en) * | 2018-05-09 | 2019-01-04 | 江西江钨浩运科技有限公司 | A kind of drum hoisting clamp |
| CN209127890U (en) * | 2018-10-30 | 2019-07-19 | 广州环投南沙环保能源有限公司 | A kind of garbage incinerating power plant automatic feeding |
| CN212101657U (en) * | 2020-03-31 | 2020-12-08 | 江苏新恒升医学科技有限公司 | An electric salvage device for vertical pool specimens |
| CN116119521A (en) * | 2022-12-12 | 2023-05-16 | 浙江省送变电工程有限公司 | Transmission pole lifts by crane installation clamping jaw |
-
2020
- 2020-03-31 CN CN202010241468.5A patent/CN111320074A/en active Pending
Patent Citations (9)
| Publication number | Priority date | Publication date | Assignee | Title |
|---|---|---|---|---|
| CN104016227A (en) * | 2014-06-24 | 2014-09-03 | 山东温声玻璃有限公司 | Lifting tool applied to cylindrical bucket |
| CN204138169U (en) * | 2014-10-17 | 2015-02-04 | 株洲硬质合金集团有限公司 | For the circular hoisting appliance without hanger container |
| CN105347185A (en) * | 2015-12-09 | 2016-02-24 | 镇江远大传动机械有限公司 | Clamp for hoisting outer gear shaft sleeve in gear-type coupling |
| CN107640699A (en) * | 2016-07-22 | 2018-01-30 | 潘素云 | Fixture for the oil drum of transport |
| CN206511811U (en) * | 2017-03-01 | 2017-09-22 | 四川建筑职业技术学院 | It is a kind of to lift clamping device apart from adjustable positioning |
| CN208327139U (en) * | 2018-05-09 | 2019-01-04 | 江西江钨浩运科技有限公司 | A kind of drum hoisting clamp |
| CN209127890U (en) * | 2018-10-30 | 2019-07-19 | 广州环投南沙环保能源有限公司 | A kind of garbage incinerating power plant automatic feeding |
| CN212101657U (en) * | 2020-03-31 | 2020-12-08 | 江苏新恒升医学科技有限公司 | An electric salvage device for vertical pool specimens |
| CN116119521A (en) * | 2022-12-12 | 2023-05-16 | 浙江省送变电工程有限公司 | Transmission pole lifts by crane installation clamping jaw |
Cited By (1)
| Publication number | Priority date | Publication date | Assignee | Title |
|---|---|---|---|---|
| CN112897309A (en) * | 2021-03-17 | 2021-06-04 | 山东科雷茵重工有限公司 | Rod-shaped building material hoisting device |
Similar Documents
| Publication | Publication Date | Title |
|---|---|---|
| CN212946507U (en) | Slitting equipment convenient for steel processing and grinding | |
| CN212101657U (en) | An electric salvage device for vertical pool specimens | |
| CN111320074A (en) | An electric salvage device for vertical pool specimens | |
| CN105477658A (en) | Hand-cranking lifting rotation type disinfection instrument | |
| CN103767268A (en) | Three-jaw ground gripping device | |
| CN108851499B (en) | Electric beaker brush for analysis experiments | |
| CN211356038U (en) | Animal doctor uses rotatable platform | |
| CN211241386U (en) | Crop pest killing device suitable for different installation environments | |
| CN209583302U (en) | A kind of caravan electric wire take-up stand | |
| CN208875066U (en) | A mouse breeding cage for medical experiments | |
| CN211212116U (en) | Reagent storage box for medical nursing | |
| CN211366711U (en) | An aluminum bar hanger | |
| CN211677859U (en) | chemistry laboratory workbench | |
| CN209658441U (en) | A grounding wire device for overhead lines | |
| CN211067146U (en) | Rotary dental needle storing and taking box | |
| CN210102949U (en) | A grabbing device for gantry truss | |
| CN205555966U (en) | Automatic lifting support device of galvanized steel sheet | |
| CN208957503U (en) | A household plant placing rack with adjustable height of the carrying platform | |
| CN220038091U (en) | Physiotherapy equipment with fixed establishment | |
| CN204724079U (en) | A kind of medicine mixer with double Shell | |
| CN206403024U (en) | A kind of spina gleditsiae branch is sealed with wax veneer apparatus for placing | |
| CN214804757U (en) | First eye distance fixing device of psychology experiment | |
| CN205953397U (en) | Special packing box lifting device | |
| CN212096263U (en) | A storage device with cleaning function for hydraulic pliers | |
| CN216461605U (en) | A new type of intelligent core lowering machine |
Legal Events
| Date | Code | Title | Description |
|---|---|---|---|
| PB01 | Publication | ||
| PB01 | Publication | ||
| SE01 | Entry into force of request for substantive examination | ||
| SE01 | Entry into force of request for substantive examination | ||
| TA01 | Transfer of patent application right |
Effective date of registration: 20200812 Address after: 215600 new Hengsheng, Changnan community, Changyinsha modern agricultural demonstration park, Zhangjiagang City, Suzhou City, Jiangsu Province Applicant after: Jiangsu new Hengsheng Medical Technology Co.,Ltd. Address before: 215623 sunrise Henglong, Changnan community, Zhangjiagang modern agriculture demonstration park, Suzhou City, Jiangsu Province Applicant before: ZHANGJIAGANG HUALING ENVIRONMENTAL EDUCATIONAL EQUIPMENT FACTORY |
|
| TA01 | Transfer of patent application right | ||
| RJ01 | Rejection of invention patent application after publication |
Application publication date: 20200623 |
|
| RJ01 | Rejection of invention patent application after publication |
