CN111317640A - 一种妇科炎症治疗修复用的探照支撑一体化装置 - Google Patents
一种妇科炎症治疗修复用的探照支撑一体化装置 Download PDFInfo
- Publication number
- CN111317640A CN111317640A CN202010256847.1A CN202010256847A CN111317640A CN 111317640 A CN111317640 A CN 111317640A CN 202010256847 A CN202010256847 A CN 202010256847A CN 111317640 A CN111317640 A CN 111317640A
- Authority
- CN
- China
- Prior art keywords
- piece
- groove
- embedded
- plate
- main body
- Prior art date
- Legal status (The legal status is an assumption and is not a legal conclusion. Google has not performed a legal analysis and makes no representation as to the accuracy of the status listed.)
- Withdrawn
Links
- 206010061218 Inflammation Diseases 0.000 title claims abstract description 11
- 230000004054 inflammatory process Effects 0.000 title claims abstract description 11
- 238000009434 installation Methods 0.000 claims abstract description 6
- 230000007306 turnover Effects 0.000 claims description 20
- 239000000463 material Substances 0.000 claims description 3
- 238000000034 method Methods 0.000 claims 1
- 230000008602 contraction Effects 0.000 abstract description 9
- 239000007788 liquid Substances 0.000 description 14
- 210000002414 leg Anatomy 0.000 description 7
- 239000002906 medical waste Substances 0.000 description 6
- 238000005452 bending Methods 0.000 description 5
- 238000003958 fumigation Methods 0.000 description 5
- 238000005406 washing Methods 0.000 description 5
- 210000001217 buttock Anatomy 0.000 description 2
- 230000000694 effects Effects 0.000 description 2
- 230000004048 modification Effects 0.000 description 2
- 238000012986 modification Methods 0.000 description 2
- 230000009286 beneficial effect Effects 0.000 description 1
- 238000010586 diagram Methods 0.000 description 1
- 238000011010 flushing procedure Methods 0.000 description 1
- 238000010438 heat treatment Methods 0.000 description 1
- 238000005286 illumination Methods 0.000 description 1
- 238000000465 moulding Methods 0.000 description 1
- 229920003023 plastic Polymers 0.000 description 1
- 239000004033 plastic Substances 0.000 description 1
- 238000004321 preservation Methods 0.000 description 1
- XLYOFNOQVPJJNP-UHFFFAOYSA-N water Substances O XLYOFNOQVPJJNP-UHFFFAOYSA-N 0.000 description 1
Images
Classifications
-
- A—HUMAN NECESSITIES
- A61—MEDICAL OR VETERINARY SCIENCE; HYGIENE
- A61G—TRANSPORT, PERSONAL CONVEYANCES, OR ACCOMMODATION SPECIALLY ADAPTED FOR PATIENTS OR DISABLED PERSONS; OPERATING TABLES OR CHAIRS; CHAIRS FOR DENTISTRY; FUNERAL DEVICES
- A61G13/00—Operating tables; Auxiliary appliances therefor
- A61G13/10—Parts, details or accessories
- A61G13/12—Rests specially adapted therefor; Arrangements of patient-supporting surfaces
- A61G13/1205—Rests specially adapted therefor; Arrangements of patient-supporting surfaces for specific parts of the body
- A61G13/123—Lower body, e.g. pelvis, hip, buttocks
-
- A—HUMAN NECESSITIES
- A61—MEDICAL OR VETERINARY SCIENCE; HYGIENE
- A61G—TRANSPORT, PERSONAL CONVEYANCES, OR ACCOMMODATION SPECIALLY ADAPTED FOR PATIENTS OR DISABLED PERSONS; OPERATING TABLES OR CHAIRS; CHAIRS FOR DENTISTRY; FUNERAL DEVICES
- A61G13/00—Operating tables; Auxiliary appliances therefor
- A61G13/10—Parts, details or accessories
-
- A—HUMAN NECESSITIES
- A61—MEDICAL OR VETERINARY SCIENCE; HYGIENE
- A61G—TRANSPORT, PERSONAL CONVEYANCES, OR ACCOMMODATION SPECIALLY ADAPTED FOR PATIENTS OR DISABLED PERSONS; OPERATING TABLES OR CHAIRS; CHAIRS FOR DENTISTRY; FUNERAL DEVICES
- A61G13/00—Operating tables; Auxiliary appliances therefor
- A61G13/10—Parts, details or accessories
- A61G13/102—Fluid drainage means for collecting bodily fluids from the operating table, e.g. for blood, urine
-
- A—HUMAN NECESSITIES
- A61—MEDICAL OR VETERINARY SCIENCE; HYGIENE
- A61G—TRANSPORT, PERSONAL CONVEYANCES, OR ACCOMMODATION SPECIALLY ADAPTED FOR PATIENTS OR DISABLED PERSONS; OPERATING TABLES OR CHAIRS; CHAIRS FOR DENTISTRY; FUNERAL DEVICES
- A61G13/00—Operating tables; Auxiliary appliances therefor
- A61G13/10—Parts, details or accessories
- A61G13/12—Rests specially adapted therefor; Arrangements of patient-supporting surfaces
- A61G13/1205—Rests specially adapted therefor; Arrangements of patient-supporting surfaces for specific parts of the body
- A61G13/1245—Knees, upper or lower legs
-
- A—HUMAN NECESSITIES
- A61—MEDICAL OR VETERINARY SCIENCE; HYGIENE
- A61G—TRANSPORT, PERSONAL CONVEYANCES, OR ACCOMMODATION SPECIALLY ADAPTED FOR PATIENTS OR DISABLED PERSONS; OPERATING TABLES OR CHAIRS; CHAIRS FOR DENTISTRY; FUNERAL DEVICES
- A61G13/00—Operating tables; Auxiliary appliances therefor
- A61G13/10—Parts, details or accessories
- A61G13/12—Rests specially adapted therefor; Arrangements of patient-supporting surfaces
- A61G13/128—Rests specially adapted therefor; Arrangements of patient-supporting surfaces with mechanical surface adaptations
- A61G13/1285—Rests specially adapted therefor; Arrangements of patient-supporting surfaces with mechanical surface adaptations having modular surface parts, e.g. being replaceable or turnable
-
- A—HUMAN NECESSITIES
- A61—MEDICAL OR VETERINARY SCIENCE; HYGIENE
- A61G—TRANSPORT, PERSONAL CONVEYANCES, OR ACCOMMODATION SPECIALLY ADAPTED FOR PATIENTS OR DISABLED PERSONS; OPERATING TABLES OR CHAIRS; CHAIRS FOR DENTISTRY; FUNERAL DEVICES
- A61G2200/00—Information related to the kind of patient or his position
- A61G2200/10—Type of patient
- A61G2200/12—Women
Landscapes
- Health & Medical Sciences (AREA)
- Engineering & Computer Science (AREA)
- Biomedical Technology (AREA)
- Life Sciences & Earth Sciences (AREA)
- Animal Behavior & Ethology (AREA)
- General Health & Medical Sciences (AREA)
- Public Health (AREA)
- Veterinary Medicine (AREA)
- Infusion, Injection, And Reservoir Apparatuses (AREA)
Abstract
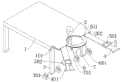
本发明提供一种妇科炎症治疗修复用的探照支撑一体化装置,包括:主体,安装槽,支撑件,支撑板,移动件,收集件和连接槽;所述主体为矩形板状结构,且主体的侧边设有内缩板;所述主体的左端底部设有支撑腿;所述安装槽包括有嵌入槽,边槽;所述安装槽为半圆形结构,且安装槽的内部设有矩形结构的嵌入槽;移动件是用来设在支撑板的外侧的,使得患者在使用的时候,可以通过脚部与移动件顶端的固定带进行连接,从而通过控制移动件带动患者脚部进行移动,从而控制其腿部的弯曲程度,而若是控制腿部张开的时候,可以直接使用支撑板向外翻转,移动件顶端通过旋转槽安装的旋转件是用来通过固定带与患者脚部连接的。
Description
技术领域
本发明属于医疗设备技术领域,更具体地说,特别涉及妇科炎症治疗修复用的探照支撑一体化装置。
背景技术
妇科炎症在治疗修复的使用,通常需要用到支撑装置进行使用,从而使大夫可以便捷的进行治疗。
例如申请号:CN201810087292.5中涉及一种妇科用多功能坐洗装置,包括装置主体、支撑桩、扶手台、控制面板、固定脚板、防滑垫板、自动熏蒸装置、冲洗池、冲洗喷头、坐垫圈、翻盖、保温储水箱、加热装置,装置主体呈矩形结构,支撑桩设有两个分别设于装置主体两侧且通过塑料浇筑呈一体化结构,扶手台设于支撑桩上方且与支撑桩呈一体化成型结构。本发明通过设有自动熏蒸装置,可以在妇科患者完成冲洗后,自动开启熏蒸功能对妇科患者进行熏蒸治疗,实现冲洗、熏蒸连续一次性完成,有效提高妇科治疗的效率,同时增强了妇科用多功能坐洗装置的治疗效果,实现多功能化。
基于现有技术发现,现有的妇科治疗探照支撑一体化装置在使用的时候,无法根据需求便捷调节人体的腿部张开与弯曲程度,且无法使用与不同体型的人员进行使用,无法根据其身高进行便捷调节,且现有的妇科治疗探照支撑一体化装置在使用的时候,通常会需要使用液体,而液体在滴落的使用,没有辅助收集的结构,且使用时的进行固定以及使用完毕之后处理的时候不够便捷。
发明内容
为了解决上述技术问题,本发明提供一种妇科炎症治疗修复用的探照支撑一体化装置,以解决现有的妇科治疗探照支撑一体化装置在使用的时候,无法根据需求便捷调节人体的腿部张开与弯曲程度,且无法使用与不同体型的人员进行使用,无法根据其身高进行便捷调节,且现有的妇科治疗探照支撑一体化装置在使用的时候,通常会需要使用液体,而液体在滴落的使用,没有辅助收集的结构,且使用时的进行固定以及使用完毕之后处理的时候不够便捷的问题。
本发明一种妇科炎症治疗修复用的探照支撑一体化装置的目的与功效,由以下具体技术手段所达成:
一种妇科炎症治疗修复用的探照支撑一体化装置,包括主体,安装槽,支撑件,支撑板,移动件,收集件和连接槽;所述主体为矩形板状结构,且主体的侧边设有内缩板;所述主体的左端底部设有支撑腿;所述安装槽包括有嵌入槽,边槽;所述安装槽为半圆形结构,且安装槽的内部设有矩形结构的嵌入槽;所述安装槽的两侧设有矩形结构的边槽,且边槽的内部设有旋转轴;所述安装槽设在主体的右端上方;所述支撑件的顶端通过固定连接的方式与内缩板的底部右端夹角位置相连接;所述支撑板的内端安装在边槽的内部,且支撑板的内端中间位置与边槽内部的连接轴相连接;所述移动件套装在支撑板的外侧,且移动件内部的拉杆内端插入在限位孔的内部;所述收集件嵌入安装在安装槽的内部,且收集件顶端的嵌入件嵌入安装在嵌入槽的内部;所述连接槽包括有连接块;所述连接槽为环状结构,且连接槽的截面为T形结构;所述连接槽的内端侧边设有嵌入口;所述连接块的顶端设有可调节角度的探照灯,且连接块的内部设有弧形T形结构的安装块;所述安装块嵌入安装在连接槽的内部;所述连接槽设在嵌入件的外侧中间位置。
进一步的,所述主体包括有内缩槽,卡槽;所述主体右侧内部设有T形结构的内缩槽,且内缩槽的内部嵌入安装有内缩板;所述内缩槽的右端底部两侧设有两个矩形槽;所述卡槽为L形结构,且卡槽设在主体的右端底部两侧。
进一步的,所述支撑件包括有翻转件;所述支撑件为矩形结构,且支撑件的底部设有旋转孔;所述翻转件的中间位置设有旋转杆,且旋转杆安装在旋转孔的内部;所述翻转件的外端底部为矩形结构,且翻转件的外端底部外侧为倾斜状结构;所述翻转件的外端上方通过连接轴安装有移动轮,且翻转件的中间位置与支撑件底部活动连接组成可翻转切换固定结构。
进一步的,所述支撑板包括有限位孔;所述支撑板为T形板状结构,且支撑板的左端为弧形结构;所述支撑板的右端上方设有T形圆形结构的控制杆;所述支撑板的外侧设有数个均匀排列的限位孔,且限位孔的外侧为倾斜状结构;所述支撑板为可导向结构。
进一步的,所述移动件包括有旋转件,拉杆;所述移动件为矩形框结构,且移动件的顶端设有T形圆形结构的旋转槽;所述旋转件的底部为T形圆形结构,且旋转件的底部嵌入安装在旋转槽的内部;所述旋转件的顶端安装有固定带;所述移动件的外侧内部通过嵌入的方式安装有拉杆,且拉杆的内部设有挡板;所述拉杆的挡板外侧通过弹簧与移动件内部相连接;所述移动件在支撑板的外侧移动为可以调节固定结构。
进一步的,所述收集件包括有嵌入件,卡板;所述收集件为圆锥形结构,且收集件的顶端外侧设有环状结构的嵌入件;所述嵌入件的两侧底部设有L形结构的卡板,且卡板的内端为楔形突起状结构;所述卡板为弹簧板材质。
与现有技术相比,本发明具有如下有益效果:
在本装置中,设置了移动件以及收集件,此处的移动件是用来设在支撑板的外侧的,使得患者在使用的时候,可以通过脚部与移动件顶端的固定带进行连接,从而通过控制移动件带动患者脚部进行移动,从而控制其腿部的弯曲程度,而若是控制腿部张开的时候,可以直接使用支撑板向外翻转,移动件顶端通过旋转槽安装的旋转件是用来通过固定带与患者脚部连接的,使得移动件在移动的时候,旋转件可以通过固定带与患者脚部进行适当角度调节,使得旋转件可以自适应旋转,从而使患者的脚部被控制的时候,不会被扭到,而拉杆则是用来在移动件的内部移动的,使得移动件带动患者脚部移动到适当的位置之后,移动件内部的弹簧可以推动拉杆的内端插入到限位孔的内部,从而使移动件可以带动患者脚部固定在适当的角度,从而便于医生进行治疗操作;
还有的是,此处的收集件是用来与安装槽进行连接的,使得患者在使用的时候,患者的臀部可以处于安装槽的内部,使得患者在被治疗的时候,有液体滴落的时候,可以进入到收集件的内部,从而使收集件可以将其便捷的收集起来,从而使液体不会滴落到地面上,使得患者被治疗完毕之后,可以更加的干净,而收集件为圆锥形结构,是为了使得医疗垃圾以及液体同时在其内部的时候,可以将液体倒出,使得医疗垃圾可处于收集件的内部底端,从而便于将医疗垃圾分类处理,而嵌入件则是用来安装在嵌入槽的内部的,使得收集件在安装的时候,可以通过嵌入件进行便捷的安装连接使用,而卡板则是用来安装在卡槽的内部的,使得嵌入件安装之后,可以通过卡板拉住,使得嵌入件可以始终处于嵌入稳固安装的状态,使得收集件整体不会掉落,从而解决了在使用的时候,无法根据需求便捷调节人体的腿部张开与弯曲程度,且无法使用与不同体型的人员进行使用,无法根据其身高进行便捷调节,且现有的妇科治疗探照支撑一体化装置在使用的时候,通常会需要使用液体,而液体在滴落的使用,没有辅助收集的结构,且使用时的进行固定以及使用完毕之后处理的时候不够便捷的问题。
附图说明
图1是本发明的立体结构示意图。
图2是本发明的收缩立体结构示意图。
图3是本发明的主体交错截面结构示意图。
图4是本发明的支撑件截面立体结构示意图。
图5是本发明的支撑板立体结构示意图。
图6是本发明的移动件截面结构示意图。
图7是本发明的收集件立体结构示意图。
图8是本发明的收集件截面结构示意图。
图中,部件名称与附图编号的对应关系为:
1、主体;101、内缩槽;102、卡槽;2、安装槽;201、嵌入槽;202、边槽;3、支撑件;301、翻转件;4、支撑板;401、限位孔;5、移动件;501、旋转件;502、拉杆;6、收集件;601、嵌入件;602、卡板;7、连接槽;701、连接块。
具体实施方式
下面结合附图和实施例对本发明的实施方式作进一步详细描述。以下实施例用于说明本发明,但不能用来限制本发明的范围。
实施例:
如附图1至附图8所示:
本发明提供一种妇科炎症治疗修复用的探照支撑一体化装置,包括有:主体1,安装槽2,支撑件3,支撑板4,移动件5,收集件6和连接槽7;主体1为矩形板状结构,且主体1的侧边设有内缩板;主体1的左端底部设有支撑腿,而卡槽102则是用来使卡板602嵌入的,使得收集件6通过卡板602固定之后,可以使卡板602与卡槽102进行连接,从而固定稳固,使得收集件6不易脱离;安装槽2包括有嵌入槽201,边槽202;安装槽2为半圆形结构,且安装槽2的内部设有矩形结构的嵌入槽201;安装槽2的两侧设有矩形结构的边槽202,且边槽202的内部设有旋转轴;安装槽2设在主体1的右端上方;支撑件3的顶端通过固定连接的方式与内缩板的底部右端夹角位置相连接,而翻转件301则是用来切换内缩板的移动方式的,使得内缩板在未内缩的时候,可以使没有移动轮的一端与地面接触,从而将本装置稳固的支撑,若是需要使内缩板内缩的时候,可以控制翻转件301翻转,使得有移动轮的一端与地面接触,使得内缩板在内缩的时候,可以更加的流畅省力;支撑板4的内端安装在边槽202的内部,且支撑板4的内端中间位置与边槽202内部的连接轴相连接,而限位孔401则是用来使拉杆502的内端插入的,使得移动件5移动到适当的位置之后,可以使拉杆502的内端插入在限位孔401的内部,使得移动件5可以带动患者的脚部进行固定;移动件5套装在支撑板4的外侧,且移动件5内部的拉杆502内端插入在限位孔401的内部,而拉杆502则是用来在移动件5的内部移动的,使得移动件5带动患者脚部移动到适当的位置之后,移动件5内部的弹簧可以推动拉杆502的内端插入到限位孔401的内部,从而使移动件5可以带动患者脚部固定在适当的角度,从而便于医生进行治疗操作;收集件6嵌入安装在安装槽2的内部1,且收集件6顶端的嵌入件601嵌入安装在嵌入槽201的内部;连接槽7包括有连接块701;连接槽7为环状结构,且连接槽7的截面为T形结构;连接槽7的内端侧边设有嵌入口;连接块701的顶端设有可调节角度的探照灯,且连接块701的内部设有弧形T形结构的安装块;安装块嵌入安装在连接槽7的内部;连接槽7设在嵌入件601的外侧中间位置,而收集件6为圆锥形结构,是为了使得医疗垃圾以及液体同时在其内部的时候,可以将液体倒出,使得医疗垃圾可处于收集件6的内部底端,从而便于将医疗垃圾分类处理,而嵌入件601则是用来安装在嵌入槽201的内部的,使得收集件6在安装的时候,可以通过嵌入件601进行便捷的安装连接使用,而卡板602则是用来安装在卡槽102的内部的,使得嵌入件601安装之后,可以通过卡板602拉住,使得嵌入件601可以始终处于嵌入稳固安装的状态,使得收集件6整体不会掉落。
其中,主体1包括有内缩槽101,卡槽102;主体右侧内部设有T形结构的内缩槽101,且内缩槽101的内部嵌入安装有内缩板;内缩槽101的右端底部两侧设有两个矩形槽;卡槽102为L形结构,且卡槽102设在主体1的右端底部两侧,此处的主体1是用来通过右侧的内缩槽101来嵌入安装内缩板的,使得患者在需要进行治疗的时候,可以使内缩板嵌入在内缩槽101的内部,从而使医生在治疗的时候,可以更加的便捷,而内缩槽101底部两侧的矩形槽则是用来使支撑件3嵌入的,使得内缩板嵌入之后,可以带动支撑件3嵌入。
其中,支撑件3包括有翻转件301;支撑件3为矩形结构,且支撑件3的底部设有旋转孔;翻转件301的中间位置设有旋转杆,且旋转杆安装在旋转孔的内部;翻转件301的外端底部为矩形结构,且翻转件301的外端底部外侧为倾斜状结构;翻转件301的外端上方通过连接轴安装有移动轮,且翻转件301的中间位置与支撑件3底部活动连接组成可翻转切换固定结构,此处的支撑件3是用来将内缩板进行支撑的。
其中,支撑板4包括有限位孔401;支撑板4为T形板状结构,且支撑板4的左端为弧形结构;支撑板4的右端上方设有T形圆形结构的控制杆;支撑板4的外侧设有数个均匀排列的限位孔401,且限位孔401的外侧为倾斜状结构;支撑板4为可导向结构,此处的支撑板4是用来通过连接轴与边槽202进行连接的,使得患者的脚部与移动件5固定之后,可以通过人力操控支撑板4进行向外翻转,使得患者的腿部可以张开,从而使医生可以方便的进行治疗。
其中,移动件5包括有旋转件501,拉杆502;移动件5为矩形框结构,且移动件5的顶端设有T形圆形结构的旋转槽;旋转件501的底部为T形圆形结构,且旋转件501的底部嵌入安装在旋转槽的内部;旋转件501的顶端安装有固定带;移动件5的外侧内部通过嵌入的方式安装有拉杆502,且拉杆502的内部设有挡板;拉杆502的挡板外侧通过弹簧与移动件5内部相连接;移动件5在支撑板4的外侧移动为可以调节固定结构,此处的移动件5是用来设在支撑板4的外侧的,使得患者在使用的时候,可以通过脚部与移动件5顶端的固定带进行连接,从而通过控制移动件5带动患者脚部进行移动,从而控制其腿部的弯曲程度,而若是控制腿部张开的时候,可以直接使用支撑板4向外翻转,移动件5顶端通过旋转槽安装的旋转件501是用来通过固定带与患者脚部连接的,使得移动件5在移动的时候,旋转件501可以通过固定带与患者脚部进行适当角度调节,使得旋转件501可以自适应旋转,从而使患者的脚部被控制的时候,不会被扭到。
其中,收集件6包括有嵌入件601,卡板602;收集件6为圆锥形结构,且收集件6的顶端外侧设有环状结构的嵌入件601;嵌入件601的两侧底部设有L形结构的卡板602,且卡板602的内端为楔形突起状结构;卡板602为弹簧板材质,此处的收集件6是用来与安装槽2进行连接的,使得患者在使用的时候,患者的臀部可以处于安装槽2的内部,使得患者在被治疗的时候,有液体滴落的时候,可以进入到收集件6的内部,从而使收集件6可以将其便捷的收集起来,从而使液体不会滴落到地面上,使得患者被治疗完毕之后,可以更加的干净。
使用时:当需要使用本装置的时候,可以通过人力使患者躺在本装置的上方,使得患者的臀部可以处于安装槽2的上方,然后通过人力控制翻转件301进行翻转,使得带有移动轮的一端与地面接触,然后将患者的腿部弯曲,使得患者的脚部可以插入到固定带的内部,然后通过人力推动内缩板进行内缩,然后通过人力控制连接块701 的安装块嵌入在连接槽7的内部进行旋转,然后通过人力控制收集件6,使得收集件6顶端的嵌入件601嵌入安装在嵌入槽201的内部,使得卡板602卡入在卡槽102的内部,从而使收集件6可以稳固的安装使用,然后通过人力控制支撑板4进行向外转动,使得支撑板4可以带动移动件5向外移动,从而使患者的腿部可以张开,然后拉动拉杆502,使得拉杆502可以向外移动,然后控制移动件5带动患者的脚部进行移动,使得患者的腿部可以处于适当的弯曲角度,然后送开拉杆502,使得拉杆502的可以插入到适当位置的限位孔401的内部,从而使医生可以进行治疗修复。
本发明的实施例是为了示例和描述起见而给出的,而并不是无遗漏的或者将本发明限于所公开的形式。很多修改和变化对于本领域的普通技术人员而言是显而易见的。选择和描述实施例是为了更好说明本发明的原理和实际应用,并且使本领域的普通技术人员能够理解本发明从而设计适于特定用途的带有各种修改的各种实施例。
Claims (6)
1.一种妇科炎症治疗修复用的探照支撑一体化装置,其特征在于:包括:主体(1),安装槽(2),支撑件(3),支撑板(4),移动件(5),收集件(6)和连接槽(7);所述主体(1)为矩形板状结构,且主体(1)的侧边设有内缩板;所述主体(1)的左端底部设有支撑腿;所述安装槽(2)包括有嵌入槽(201),边槽(202);所述安装槽(2)为半圆形结构,且安装槽(2)的内部设有矩形结构的嵌入槽(201);所述安装槽(2)的两侧设有矩形结构的边槽(202),且边槽(202)的内部设有旋转轴;所述安装槽(2)设在主体(1)的右端上方;所述支撑件(3)的顶端通过固定连接的方式与内缩板的底部右端夹角位置相连接;所述支撑板(4)的内端安装在边槽(202)的内部,且支撑板(4)的内端中间位置与边槽(202)内部的连接轴相连接;所述移动件(5)套装在支撑板(4)的外侧,且移动件(5)内部的拉杆(502)内端插入在限位孔(401)的内部;所述收集件(6)嵌入安装在安装槽(2)的内部(1),且收集件(6)顶端的嵌入件(601)嵌入安装在嵌入槽(201)的内部;所述连接槽(7)包括有连接块(701);所述连接槽(7)为环状结构,且连接槽(7)的截面为T形结构;所述连接槽(7)的内端侧边设有嵌入口;所述连接块(701)的顶端设有可调节角度的探照灯,且连接块(701)的内部设有弧形T形结构的安装块;所述安装块嵌入安装在连接槽(7)的内部;所述连接槽(7)设在嵌入件(601)的外侧中间位置。
2.如权利要求1所述妇科炎症治疗修复用的探照支撑一体化装置,其特征在于:所述主体(1)包括有内缩槽(101),卡槽(102);所述主体右侧内部设有T形结构的内缩槽(101),且内缩槽(101)的内部嵌入安装有内缩板;所述内缩槽(101)的右端底部两侧设有两个矩形槽;所述卡槽(102)为L形结构,且卡槽(102)设在主体(1)的右端底部两侧。
3.如权利要求1所述妇科炎症治疗修复用的探照支撑一体化装置,其特征在于:所述支撑件(3)包括有翻转件(301);所述支撑件(3)为矩形结构,且支撑件(3)的底部设有旋转孔;所述翻转件(301)的中间位置设有旋转杆,且旋转杆安装在旋转孔的内部;所述翻转件(301)的外端底部为矩形结构,且翻转件(301)的外端底部外侧为倾斜状结构;所述翻转件(301)的外端上方通过连接轴安装有移动轮,且翻转件(301)的中间位置与支撑件(3)底部活动连接组成可翻转切换固定结构。
4.如权利要求1所述妇科炎症治疗修复用的探照支撑一体化装置,其特征在于:所述支撑板(4)包括有限位孔(401);所述支撑板(4)为T形板状结构,且支撑板(4)的左端为弧形结构;所述支撑板(4)的右端上方设有T形圆形结构的控制杆;所述支撑板(4)的外侧设有数个均匀排列的限位孔(401),且限位孔(401)的外侧为倾斜状结构;所述支撑板(4)为可导向结构。
5.如权利要求1所述妇科炎症治疗修复用的探照支撑一体化装置,其特征在于:所述移动件(5)包括有旋转件(501),拉杆(502);所述移动件(5)为矩形框结构,且移动件(5)的顶端设有T形圆形结构的旋转槽;所述旋转件(501)的底部为T形圆形结构,且旋转件(501)的底部嵌入安装在旋转槽的内部;所述旋转件(501)的顶端安装有固定带;所述移动件(5)的外侧内部通过嵌入的方式安装有拉杆(502),且拉杆(502)的内部设有挡板;所述拉杆(502)的挡板外侧通过弹簧与移动件(5)内部相连接;所述移动件(5)在支撑板(4)的外侧移动为可以调节固定结构。
6.如权利要求1所述妇科炎症治疗修复用的探照支撑一体化装置,其特征在于:所述收集件(6)包括有嵌入件(601),卡板(602);所述收集件(6)为圆锥形结构,且收集件(6)的顶端外侧设有环状结构的嵌入件(601);所述嵌入件(601)的两侧底部设有L形结构的卡板(602),且卡板(602)的内端为楔形突起状结构;所述卡板(602)为弹簧板材质。
Priority Applications (1)
| Application Number | Priority Date | Filing Date | Title |
|---|---|---|---|
| CN202010256847.1A CN111317640A (zh) | 2020-04-02 | 2020-04-02 | 一种妇科炎症治疗修复用的探照支撑一体化装置 |
Applications Claiming Priority (1)
| Application Number | Priority Date | Filing Date | Title |
|---|---|---|---|
| CN202010256847.1A CN111317640A (zh) | 2020-04-02 | 2020-04-02 | 一种妇科炎症治疗修复用的探照支撑一体化装置 |
Publications (1)
| Publication Number | Publication Date |
|---|---|
| CN111317640A true CN111317640A (zh) | 2020-06-23 |
Family
ID=71164193
Family Applications (1)
| Application Number | Title | Priority Date | Filing Date |
|---|---|---|---|
| CN202010256847.1A Withdrawn CN111317640A (zh) | 2020-04-02 | 2020-04-02 | 一种妇科炎症治疗修复用的探照支撑一体化装置 |
Country Status (1)
| Country | Link |
|---|---|
| CN (1) | CN111317640A (zh) |
Citations (6)
| Publication number | Priority date | Publication date | Assignee | Title |
|---|---|---|---|---|
| US20070113345A1 (en) * | 2005-11-17 | 2007-05-24 | Hill-Rom Services, Inc. | Birthing bed foot support release handle |
| CN204684056U (zh) * | 2015-01-27 | 2015-10-07 | 孔德红 | 一种可收折的产科用床 |
| CN206566154U (zh) * | 2016-11-30 | 2017-10-20 | 北京大学深圳医院 | 改良型子宫输卵管超声造影床 |
| CN207532519U (zh) * | 2017-03-20 | 2018-06-26 | 徐琴芬 | 一种妇科检查床 |
| CN109528427A (zh) * | 2019-01-14 | 2019-03-29 | 尹娟 | 一种妇科疾病医疗诊治装置 |
| CN209611639U (zh) * | 2018-10-25 | 2019-11-12 | 张金玲 | 一种新型妇产科检查床 |
-
2020
- 2020-04-02 CN CN202010256847.1A patent/CN111317640A/zh not_active Withdrawn
Patent Citations (6)
| Publication number | Priority date | Publication date | Assignee | Title |
|---|---|---|---|---|
| US20070113345A1 (en) * | 2005-11-17 | 2007-05-24 | Hill-Rom Services, Inc. | Birthing bed foot support release handle |
| CN204684056U (zh) * | 2015-01-27 | 2015-10-07 | 孔德红 | 一种可收折的产科用床 |
| CN206566154U (zh) * | 2016-11-30 | 2017-10-20 | 北京大学深圳医院 | 改良型子宫输卵管超声造影床 |
| CN207532519U (zh) * | 2017-03-20 | 2018-06-26 | 徐琴芬 | 一种妇科检查床 |
| CN209611639U (zh) * | 2018-10-25 | 2019-11-12 | 张金玲 | 一种新型妇产科检查床 |
| CN109528427A (zh) * | 2019-01-14 | 2019-03-29 | 尹娟 | 一种妇科疾病医疗诊治装置 |
Similar Documents
| Publication | Publication Date | Title |
|---|---|---|
| WO1995031128A1 (en) | Bath tub, bath tub/bed assembly and method for transferring a patient between bath tub and bed | |
| CN112603696B (zh) | 用于大小便失禁患者的自动清理方法及自动清理床 | |
| CN111317640A (zh) | 一种妇科炎症治疗修复用的探照支撑一体化装置 | |
| CN109044643B (zh) | 一种救护车担架升降装置及其工作方式 | |
| US5666677A (en) | Bath tub assembly | |
| CN211095428U (zh) | 一种新型胃肠科护理床 | |
| DE1435309A1 (de) | Vorrichtung zum Trocknen und Glaetten von Leder | |
| CN205776615U (zh) | 一种通气排便辅助蠕动装置 | |
| CN114869678B (zh) | 一种腿部烧伤患者伤口清凉卫生护理装置 | |
| CN110123640A (zh) | 一种用于中草药熬制前期便于出料的装置 | |
| CN215193331U (zh) | 一种急诊外科临床创伤手术医疗装置 | |
| DE102004048724A1 (de) | Der moderne Vollautomatische Intimreiniger | |
| CN210903801U (zh) | 一种下肢静脉曲张术后下肢抬高枕 | |
| CN213250749U (zh) | 一种糖尿病足换药支架 | |
| CN213041521U (zh) | 一种美容仪寿命测试设备 | |
| CN221083695U (zh) | 一种后颅撑开引流装置 | |
| CN216891667U (zh) | 一种干衣机储水装置 | |
| CN2477146Y (zh) | 肋弓牵开器 | |
| CN216838750U (zh) | 一种人工造纸沥水机构 | |
| CN214435179U (zh) | 一种妇科用升降固定医疗检查床 | |
| CN113274072A (zh) | 一种乳腺外科术中多功能皮瓣牵拉器 | |
| CN215531412U (zh) | 一种轻便移动式调腐竹架 | |
| CN2243264Y (zh) | 拖把清洗甩干机 | |
| CN220670053U (zh) | 一种中药材晾晒架 | |
| CN221712645U (zh) | 一种移动式截石位冲洗车 |
Legal Events
| Date | Code | Title | Description |
|---|---|---|---|
| PB01 | Publication | ||
| PB01 | Publication | ||
| SE01 | Entry into force of request for substantive examination | ||
| SE01 | Entry into force of request for substantive examination | ||
| WW01 | Invention patent application withdrawn after publication | ||
| WW01 | Invention patent application withdrawn after publication |
Application publication date: 20200623 |