CN111306188B - Electric automobile supersound suspension wheel hub bearing - Google Patents
Electric automobile supersound suspension wheel hub bearing Download PDFInfo
- Publication number
- CN111306188B CN111306188B CN202010261068.0A CN202010261068A CN111306188B CN 111306188 B CN111306188 B CN 111306188B CN 202010261068 A CN202010261068 A CN 202010261068A CN 111306188 B CN111306188 B CN 111306188B
- Authority
- CN
- China
- Prior art keywords
- small
- cage
- hub bearing
- cages
- piezoelectric transducer
- Prior art date
- Legal status (The legal status is an assumption and is not a legal conclusion. Google has not performed a legal analysis and makes no representation as to the accuracy of the status listed.)
- Active
Links
- 239000000725 suspension Substances 0.000 title claims abstract description 33
- 230000005855 radiation Effects 0.000 claims description 22
- 239000000919 ceramic Substances 0.000 claims description 14
- 238000000034 method Methods 0.000 claims description 6
- 238000005266 casting Methods 0.000 claims description 3
- 238000009434 installation Methods 0.000 claims 3
- 230000002093 peripheral effect Effects 0.000 claims 1
- 230000001603 reducing effect Effects 0.000 description 6
- 238000005516 engineering process Methods 0.000 description 4
- 230000000694 effects Effects 0.000 description 3
- 238000005461 lubrication Methods 0.000 description 3
- 238000010586 diagram Methods 0.000 description 2
- 238000005339 levitation Methods 0.000 description 2
- 230000009286 beneficial effect Effects 0.000 description 1
- 229910010293 ceramic material Inorganic materials 0.000 description 1
- 238000010276 construction Methods 0.000 description 1
- 230000007423 decrease Effects 0.000 description 1
- 230000002349 favourable effect Effects 0.000 description 1
- 239000012530 fluid Substances 0.000 description 1
- 230000002706 hydrostatic effect Effects 0.000 description 1
- 238000007689 inspection Methods 0.000 description 1
- 230000002035 prolonged effect Effects 0.000 description 1
- 230000003746 surface roughness Effects 0.000 description 1
Images
Classifications
-
- F—MECHANICAL ENGINEERING; LIGHTING; HEATING; WEAPONS; BLASTING
- F16—ENGINEERING ELEMENTS AND UNITS; GENERAL MEASURES FOR PRODUCING AND MAINTAINING EFFECTIVE FUNCTIONING OF MACHINES OR INSTALLATIONS; THERMAL INSULATION IN GENERAL
- F16C—SHAFTS; FLEXIBLE SHAFTS; ELEMENTS OR CRANKSHAFT MECHANISMS; ROTARY BODIES OTHER THAN GEARING ELEMENTS; BEARINGS
- F16C32/00—Bearings not otherwise provided for
- F16C32/04—Bearings not otherwise provided for using magnetic or electric supporting means
- F16C32/0406—Magnetic bearings
- F16C32/044—Active magnetic bearings
-
- F—MECHANICAL ENGINEERING; LIGHTING; HEATING; WEAPONS; BLASTING
- F16—ENGINEERING ELEMENTS AND UNITS; GENERAL MEASURES FOR PRODUCING AND MAINTAINING EFFECTIVE FUNCTIONING OF MACHINES OR INSTALLATIONS; THERMAL INSULATION IN GENERAL
- F16C—SHAFTS; FLEXIBLE SHAFTS; ELEMENTS OR CRANKSHAFT MECHANISMS; ROTARY BODIES OTHER THAN GEARING ELEMENTS; BEARINGS
- F16C19/00—Bearings with rolling contact, for exclusively rotary movement
- F16C19/02—Bearings with rolling contact, for exclusively rotary movement with bearing balls essentially of the same size in one or more circular rows
- F16C19/14—Bearings with rolling contact, for exclusively rotary movement with bearing balls essentially of the same size in one or more circular rows for both radial and axial load
- F16C19/18—Bearings with rolling contact, for exclusively rotary movement with bearing balls essentially of the same size in one or more circular rows for both radial and axial load with two or more rows of balls
- F16C19/181—Bearings with rolling contact, for exclusively rotary movement with bearing balls essentially of the same size in one or more circular rows for both radial and axial load with two or more rows of balls with angular contact
- F16C19/183—Bearings with rolling contact, for exclusively rotary movement with bearing balls essentially of the same size in one or more circular rows for both radial and axial load with two or more rows of balls with angular contact with two rows at opposite angles
-
- F—MECHANICAL ENGINEERING; LIGHTING; HEATING; WEAPONS; BLASTING
- F16—ENGINEERING ELEMENTS AND UNITS; GENERAL MEASURES FOR PRODUCING AND MAINTAINING EFFECTIVE FUNCTIONING OF MACHINES OR INSTALLATIONS; THERMAL INSULATION IN GENERAL
- F16C—SHAFTS; FLEXIBLE SHAFTS; ELEMENTS OR CRANKSHAFT MECHANISMS; ROTARY BODIES OTHER THAN GEARING ELEMENTS; BEARINGS
- F16C32/00—Bearings not otherwise provided for
- F16C32/04—Bearings not otherwise provided for using magnetic or electric supporting means
- F16C32/0406—Magnetic bearings
- F16C32/044—Active magnetic bearings
- F16C32/0459—Details of the magnetic circuit
-
- F—MECHANICAL ENGINEERING; LIGHTING; HEATING; WEAPONS; BLASTING
- F16—ENGINEERING ELEMENTS AND UNITS; GENERAL MEASURES FOR PRODUCING AND MAINTAINING EFFECTIVE FUNCTIONING OF MACHINES OR INSTALLATIONS; THERMAL INSULATION IN GENERAL
- F16C—SHAFTS; FLEXIBLE SHAFTS; ELEMENTS OR CRANKSHAFT MECHANISMS; ROTARY BODIES OTHER THAN GEARING ELEMENTS; BEARINGS
- F16C33/00—Parts of bearings; Special methods for making bearings or parts thereof
- F16C33/30—Parts of ball or roller bearings
- F16C33/38—Ball cages
- F16C33/40—Ball cages for multiple rows of balls
-
- F—MECHANICAL ENGINEERING; LIGHTING; HEATING; WEAPONS; BLASTING
- F16—ENGINEERING ELEMENTS AND UNITS; GENERAL MEASURES FOR PRODUCING AND MAINTAINING EFFECTIVE FUNCTIONING OF MACHINES OR INSTALLATIONS; THERMAL INSULATION IN GENERAL
- F16C—SHAFTS; FLEXIBLE SHAFTS; ELEMENTS OR CRANKSHAFT MECHANISMS; ROTARY BODIES OTHER THAN GEARING ELEMENTS; BEARINGS
- F16C37/00—Cooling of bearings
- F16C37/005—Cooling of bearings of magnetic bearings
-
- F—MECHANICAL ENGINEERING; LIGHTING; HEATING; WEAPONS; BLASTING
- F16—ENGINEERING ELEMENTS AND UNITS; GENERAL MEASURES FOR PRODUCING AND MAINTAINING EFFECTIVE FUNCTIONING OF MACHINES OR INSTALLATIONS; THERMAL INSULATION IN GENERAL
- F16C—SHAFTS; FLEXIBLE SHAFTS; ELEMENTS OR CRANKSHAFT MECHANISMS; ROTARY BODIES OTHER THAN GEARING ELEMENTS; BEARINGS
- F16C37/00—Cooling of bearings
- F16C37/007—Cooling of bearings of rolling bearings
Landscapes
- Engineering & Computer Science (AREA)
- General Engineering & Computer Science (AREA)
- Mechanical Engineering (AREA)
- Rolling Contact Bearings (AREA)
Abstract
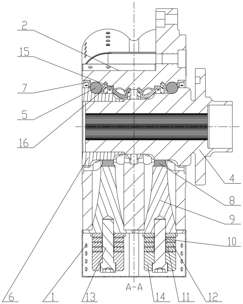
本发明公开了一种电动汽车超声悬浮轮毂轴承,包括压电换能器、轴承箱和保持架组件;所述的压电换能器安装在轴承箱的3个小箱体上;所述的保持架组件安装在轴承箱的圆形通孔内;所述的压电换能器包括辐射头、变幅杆、绝缘套筒、后盖板和预应力螺栓;所述的轴承箱包括一个六边形箱体和三个小箱体;所述的保持架组件包括两组大型保持架、两组小型保持架和滚珠。本发明能够利用超声振动的减摩特性减小轴间摩擦,降低运行过程中产生的摩擦热,其极限转速、精度和使用寿命等方面均优于目前电动汽车所使用的双列角接触球轴承。本发明利用保持架限制滚珠的相对运动,滚珠只能在大型保持架和环形滚道之间或小型保持架和环形滚道之间实现自转。
The invention discloses an ultrasonic suspension wheel hub bearing of an electric vehicle, comprising a piezoelectric transducer, a bearing box and a cage assembly; the piezoelectric transducer is installed on three small boxes of the bearing box; the The cage assembly is installed in the circular through hole of the bearing box; the piezoelectric transducer includes a radiating head, a horn, an insulating sleeve, a rear cover plate and a prestressed bolt; the bearing box includes a six A side-shaped box body and three small box bodies; the cage assembly includes two groups of large cages, two groups of small cages and balls. The invention can reduce the friction between shafts by using the friction-reducing characteristics of ultrasonic vibration and reduce the frictional heat generated during operation, and its limit rotational speed, precision and service life are superior to the double row angular contact ball bearings currently used in electric vehicles. . The invention utilizes the cage to limit the relative movement of the balls, and the balls can only realize self-rotation between the large cage and the annular raceway or between the small cage and the annular raceway.
Description
Claims (8)
Priority Applications (1)
| Application Number | Priority Date | Filing Date | Title |
|---|---|---|---|
| CN202010261068.0A CN111306188B (en) | 2020-04-03 | 2020-04-03 | Electric automobile supersound suspension wheel hub bearing |
Applications Claiming Priority (1)
| Application Number | Priority Date | Filing Date | Title |
|---|---|---|---|
| CN202010261068.0A CN111306188B (en) | 2020-04-03 | 2020-04-03 | Electric automobile supersound suspension wheel hub bearing |
Publications (2)
| Publication Number | Publication Date |
|---|---|
| CN111306188A CN111306188A (en) | 2020-06-19 |
| CN111306188B true CN111306188B (en) | 2021-12-17 |
Family
ID=71146376
Family Applications (1)
| Application Number | Title | Priority Date | Filing Date |
|---|---|---|---|
| CN202010261068.0A Active CN111306188B (en) | 2020-04-03 | 2020-04-03 | Electric automobile supersound suspension wheel hub bearing |
Country Status (1)
| Country | Link |
|---|---|
| CN (1) | CN111306188B (en) |
Citations (10)
| Publication number | Priority date | Publication date | Assignee | Title |
|---|---|---|---|---|
| WO2004099747A1 (en) * | 2003-05-06 | 2004-11-18 | Ntn Corporation | Sensor-integrated bearing for wheel |
| EP1988376A3 (en) * | 2007-05-01 | 2010-12-15 | JTEKT Corporation | Rolling bearing device with sensor |
| CN104245382A (en) * | 2012-03-26 | 2014-12-24 | 舍弗勒技术有限两合公司 | Wheel hub motor with potential equalization |
| CN104454976A (en) * | 2014-11-21 | 2015-03-25 | 南京冠盛汽配有限公司 | High-speed high-bearing hub bearing unit |
| CN204628280U (en) * | 2015-05-25 | 2015-09-09 | 新昌县开源汽车轴承有限公司 | A kind of heavily loaded multiple row spherical structure automobile hub bearing |
| CN107035769A (en) * | 2017-03-24 | 2017-08-11 | 南京航空航天大学 | A kind of contactless hub-bearing unit and its magnetic force control method |
| CN107269697A (en) * | 2017-07-07 | 2017-10-20 | 哈尔滨工业大学 | It is a kind of to bear the ultrasound suspending bearing of radial and axial load simultaneously |
| CN108223574A (en) * | 2018-01-15 | 2018-06-29 | 大连交通大学 | A kind of bullet train radial ultrasonic suspension bearing |
| CN108612752A (en) * | 2018-06-25 | 2018-10-02 | 南京航空航天大学 | Electromagnetic suspension hub-bearing unit |
| CN110454500A (en) * | 2019-07-19 | 2019-11-15 | 南京航空航天大学 | Magnetic suspension hub bearing and its magnetic force control method |
Family Cites Families (5)
| Publication number | Priority date | Publication date | Assignee | Title |
|---|---|---|---|---|
| JP4386349B2 (en) * | 2003-06-03 | 2009-12-16 | Ntn株式会社 | Wheel bearing device |
| WO2006049126A1 (en) * | 2004-11-01 | 2006-05-11 | Jtekt Corporation | Cover with sensor of bearing device for wheel |
| JP4522278B2 (en) * | 2005-01-25 | 2010-08-11 | Ntn株式会社 | Bearing device with rotational speed detector |
| CN103481728B (en) * | 2013-09-17 | 2015-11-25 | 南京航空航天大学 | The hub-bearing unit of Novel intelligent |
| CN107131208B (en) * | 2017-03-24 | 2019-07-19 | 南京航空航天大学 | A kind of hub-bearing unit and its ball wear monitoring method |
-
2020
- 2020-04-03 CN CN202010261068.0A patent/CN111306188B/en active Active
Patent Citations (10)
| Publication number | Priority date | Publication date | Assignee | Title |
|---|---|---|---|---|
| WO2004099747A1 (en) * | 2003-05-06 | 2004-11-18 | Ntn Corporation | Sensor-integrated bearing for wheel |
| EP1988376A3 (en) * | 2007-05-01 | 2010-12-15 | JTEKT Corporation | Rolling bearing device with sensor |
| CN104245382A (en) * | 2012-03-26 | 2014-12-24 | 舍弗勒技术有限两合公司 | Wheel hub motor with potential equalization |
| CN104454976A (en) * | 2014-11-21 | 2015-03-25 | 南京冠盛汽配有限公司 | High-speed high-bearing hub bearing unit |
| CN204628280U (en) * | 2015-05-25 | 2015-09-09 | 新昌县开源汽车轴承有限公司 | A kind of heavily loaded multiple row spherical structure automobile hub bearing |
| CN107035769A (en) * | 2017-03-24 | 2017-08-11 | 南京航空航天大学 | A kind of contactless hub-bearing unit and its magnetic force control method |
| CN107269697A (en) * | 2017-07-07 | 2017-10-20 | 哈尔滨工业大学 | It is a kind of to bear the ultrasound suspending bearing of radial and axial load simultaneously |
| CN108223574A (en) * | 2018-01-15 | 2018-06-29 | 大连交通大学 | A kind of bullet train radial ultrasonic suspension bearing |
| CN108612752A (en) * | 2018-06-25 | 2018-10-02 | 南京航空航天大学 | Electromagnetic suspension hub-bearing unit |
| CN110454500A (en) * | 2019-07-19 | 2019-11-15 | 南京航空航天大学 | Magnetic suspension hub bearing and its magnetic force control method |
Also Published As
| Publication number | Publication date |
|---|---|
| CN111306188A (en) | 2020-06-19 |
Similar Documents
| Publication | Publication Date | Title |
|---|---|---|
| CN104632880B (en) | Bearing arrangement for fluid machinery application | |
| CN103026103B (en) | Hub motor drive | |
| CN101668946A (en) | Multi-row large rolling bearings, especially axial-radial bearings for main bearings of rotor shafts in wind power plants | |
| CN103307120B (en) | A kind of auxiliary bearing of vertical magnetic suspension flywheel rotor | |
| CN101699085B (en) | Turntable bearing for large-size celestial observation device | |
| CN102220939B (en) | Braking device of wind power generation yaw bearing | |
| CN111306188B (en) | Electric automobile supersound suspension wheel hub bearing | |
| CN101550864B (en) | Turbocharger supported by pressure-charging flow passage groove self-lubricating dynamic-static pressure air bearing | |
| CN113669369B (en) | Active control gas tilting pad bearing | |
| CN108223574B (en) | A kind of bullet train radial ultrasonic suspension bearing | |
| CN201991930U (en) | Transmission shaft support bearing | |
| JP2024127656A (en) | Wheel bearing device | |
| CN116906447A (en) | Maintenance-free hub bearing unit | |
| CN223387782U (en) | Bearing for high-rigidity riveting hub | |
| CN212775397U (en) | Lightweight Differential Cycloidal Transmission | |
| CN211606305U (en) | A drive wheel that prevents sliding of the outer ring of the bearing | |
| CN115681346A (en) | Heavy-load electric steering gear lead screw support and bearing assembly | |
| CN114608835A (en) | Multifunctional scaling test bed for testing dynamic characteristics of rotor system shafting | |
| CN111692308A (en) | Method for reducing wear of differential shell | |
| JP2008208911A (en) | In-wheel motor drive mechanism | |
| CN218482731U (en) | Bearing structure for hub motor | |
| CN220227526U (en) | Main shaft with fixed radial air bearing and mounting structure thereof | |
| CN219119682U (en) | Brake disc structure and brake system | |
| CN206845830U (en) | automobile differential, bearing combined structure | |
| CN222185514U (en) | A bearing mechanism for a transmission output plate |
Legal Events
| Date | Code | Title | Description |
|---|---|---|---|
| PB01 | Publication | ||
| PB01 | Publication | ||
| SE01 | Entry into force of request for substantive examination | ||
| SE01 | Entry into force of request for substantive examination | ||
| GR01 | Patent grant | ||
| GR01 | Patent grant | ||
| TR01 | Transfer of patent right |
Effective date of registration: 20240613 Address after: 056000 south of bearing Avenue, Guantao County, Handan City, Hebei Province Patentee after: Hebei Jiangbei Bearing Manufacturing Co.,Ltd. Country or region after: China Address before: 116028 No. 794, the Yellow River Road, Shahekou District, Liaoning, Dalian Patentee before: Dalian Jiaotong University Country or region before: China |
|
| TR01 | Transfer of patent right | ||
| PE01 | Entry into force of the registration of the contract for pledge of patent right |
Denomination of invention: A type of ultrasonic suspension wheel hub bearing for electric vehicles Granted publication date: 20211217 Pledgee: Bank of China Limited by Share Ltd. Handan branch Pledgor: Hebei Jiangbei Bearing Manufacturing Co.,Ltd. Registration number: Y2024980052322 |
|
| PE01 | Entry into force of the registration of the contract for pledge of patent right |
