CN111302208A - A kind of auxiliary device for lifting early warning protection of board used in construction site - Google Patents
A kind of auxiliary device for lifting early warning protection of board used in construction site Download PDFInfo
- Publication number
- CN111302208A CN111302208A CN202010153262.7A CN202010153262A CN111302208A CN 111302208 A CN111302208 A CN 111302208A CN 202010153262 A CN202010153262 A CN 202010153262A CN 111302208 A CN111302208 A CN 111302208A
- Authority
- CN
- China
- Prior art keywords
- clamping
- early warning
- auxiliary device
- construction site
- block
- Prior art date
- Legal status (The legal status is an assumption and is not a legal conclusion. Google has not performed a legal analysis and makes no representation as to the accuracy of the status listed.)
- Granted
Links
- 238000010276 construction Methods 0.000 title claims abstract description 25
- 239000000725 suspension Substances 0.000 abstract description 9
- 238000000034 method Methods 0.000 abstract description 8
- 238000010586 diagram Methods 0.000 description 4
- 230000009286 beneficial effect Effects 0.000 description 2
- 230000006837 decompression Effects 0.000 description 2
- 239000000463 material Substances 0.000 description 2
- 238000012986 modification Methods 0.000 description 2
- 230000004048 modification Effects 0.000 description 2
- 230000002265 prevention Effects 0.000 description 2
- 239000002184 metal Substances 0.000 description 1
- 238000006467 substitution reaction Methods 0.000 description 1
Images
Classifications
-
- B—PERFORMING OPERATIONS; TRANSPORTING
- B66—HOISTING; LIFTING; HAULING
- B66C—CRANES; LOAD-ENGAGING ELEMENTS OR DEVICES FOR CRANES, CAPSTANS, WINCHES, OR TACKLES
- B66C1/00—Load-engaging elements or devices attached to lifting or lowering gear of cranes or adapted for connection therewith for transmitting lifting forces to articles or groups of articles
- B66C1/10—Load-engaging elements or devices attached to lifting or lowering gear of cranes or adapted for connection therewith for transmitting lifting forces to articles or groups of articles by mechanical means
- B66C1/22—Rigid members, e.g. L-shaped members, with parts engaging the under surface of the loads; Crane hooks
- B66C1/28—Duplicate, e.g. pivoted, members engaging the loads from two sides
- B66C1/30—Duplicate, e.g. pivoted, members engaging the loads from two sides and also arranged to grip the sides of the loads
-
- B—PERFORMING OPERATIONS; TRANSPORTING
- B66—HOISTING; LIFTING; HAULING
- B66C—CRANES; LOAD-ENGAGING ELEMENTS OR DEVICES FOR CRANES, CAPSTANS, WINCHES, OR TACKLES
- B66C1/00—Load-engaging elements or devices attached to lifting or lowering gear of cranes or adapted for connection therewith for transmitting lifting forces to articles or groups of articles
- B66C1/10—Load-engaging elements or devices attached to lifting or lowering gear of cranes or adapted for connection therewith for transmitting lifting forces to articles or groups of articles by mechanical means
- B66C1/42—Gripping members engaging only the external or internal surfaces of the articles
- B66C1/44—Gripping members engaging only the external or internal surfaces of the articles and applying frictional forces
-
- B—PERFORMING OPERATIONS; TRANSPORTING
- B66—HOISTING; LIFTING; HAULING
- B66C—CRANES; LOAD-ENGAGING ELEMENTS OR DEVICES FOR CRANES, CAPSTANS, WINCHES, OR TACKLES
- B66C15/00—Safety gear
Landscapes
- Engineering & Computer Science (AREA)
- Mechanical Engineering (AREA)
- Clamps And Clips (AREA)
Abstract
本发明涉及建筑技术领域,且公开了一种建筑工地用板材提升预警保护辅助装置,包括装置主体,夹持杆上设置有第一齿轮与第二齿轮,第一齿轮上啮合有第一扇形齿轮,第一扇形齿轮上连接有第一轴杆,第一轴杆上连接有合块,第二齿轮上啮合有第二扇形齿轮,第二扇形齿轮上连接有第二轴杆。该建筑工地用板材提升预警保护辅助装置,在使用时,如果板材没有卡接紧,工人没有发现时,在悬吊过程中,板材在夹持块内逐渐下滑,随着板材的逐渐下滑,带动夹持杆内设置的第一齿轮以及第二齿轮的转动,带动其上连接的合块将建筑板材夹持住,合块上设置的卡齿将建筑板材牢牢的卡接住,避免建筑板材的跌落造成安全隐患。
The invention relates to the technical field of construction, and discloses an auxiliary device for lifting, early warning and protection of a board for a construction site. The first sector gear is connected with a first shaft, the first shaft is connected with a block, the second gear is meshed with a second sector gear, and the second sector gear is connected with a second shaft. The construction site uses the plate lifting early warning protection auxiliary device. During use, if the plate is not clamped tightly and the workers do not find it, during the suspension process, the plate gradually slides in the clamping block, and as the plate gradually slides, it drives The rotation of the first gear and the second gear set in the clamping rod drives the connecting block connected to it to hold the building board, and the clamping teeth set on the block firmly clamp the building board to avoid the building board The fall creates a safety hazard.
Description
技术领域technical field
本发明涉及建筑技术领域,具体为一种建筑工地用板材提升预警保护辅助装置。The invention relates to the technical field of construction, in particular to an auxiliary device for lifting, early warning and protection of boards used in construction sites.
背景技术Background technique
板材,一般指厚度在2毫米以上的软质平面材料和厚度在0.5毫米以上的硬质平面材料,也多指锻造、轧制或铸造而成的金属板。建筑板材,因为其特殊性,往往厚度会更厚一些。Plates generally refer to soft flat materials with a thickness of more than 2 mm and hard flat materials with a thickness of more than 0.5 mm, and also refer to forged, rolled or cast metal plates. Building boards, because of their particularity, tend to be thicker.
随着中国经济的高速发展,各种大型工程随之开始建设,建筑工地越来越多,在建筑工地中,建筑板材的重要性不言而喻,建筑板材因为自身重量原因,也为了提高工作效率,通常均采用悬吊装置悬吊,工地板材因为重量原因,且工地工作时间过长,悬吊装置的卡口极易出现松弛的情况,可能会出现悬吊中途板材从卡口跌落的情况,有很大的安全隐患,这些悬吊装置也没有报警装置,工人也很难在第一时间发现悬吊装置出现的问题,做出提前的判断。With the rapid development of China's economy, various large-scale projects have begun to be constructed, and there are more and more construction sites. In construction sites, the importance of building boards is self-evident. Because of their own weight, building boards are also used to improve work efficiency. Efficiency, it is usually suspended by a suspension device. Due to the weight of the board on the construction site, and the working time of the construction site is too long, the bayonet of the suspension device is prone to slack, and the board may fall from the bayonet in the middle of the suspension. , There is a great potential safety hazard. These suspension devices do not have alarm devices, and it is difficult for workers to discover the problems of the suspension devices at the first time and make advance judgments.
因此,针对上述情况,我们提出了一种建筑工地用板材提升预警保护辅助装置,具备了悬吊中途板材假如出现松动,也能保证板材不会跌落,也能提前做出报警的优点。Therefore, in view of the above situation, we propose an auxiliary device for early warning and protection of board lifting for construction sites, which has the advantages of ensuring that the board will not fall if the board is loose in the middle of the suspension, and can also make an alarm in advance.
发明内容SUMMARY OF THE INVENTION
为实现上述目的,本发明提供如下技术方案:一种建筑工地用板材提升预警保护辅助装置,包括装置主体,所述装置主体的底部设置有夹持口,所述夹持口的上方设置有夹持块,所述夹持块的上方连接有夹持杆,所述夹持杆上连接有报警合扣,所述夹持杆之间连接有拉伸弹簧,所述夹持杆上设置有第一齿轮与第二齿轮,所述第一齿轮上啮合有第一扇形齿轮,所述第一扇形齿轮上连接有第一轴杆,所述第一轴杆上连接有合块,所述第二齿轮上啮合有第二扇形齿轮,所述第二扇形齿轮上连接有第二轴杆。In order to achieve the above purpose, the present invention provides the following technical solutions: an auxiliary device for lifting early warning and protection of plates for construction sites, comprising a device main body, a clamping opening is arranged at the bottom of the device main body, and a clamping opening is arranged above the clamping opening. A holding block, a holding rod is connected above the holding block, an alarm snap is connected on the holding rod, a tension spring is connected between the holding rods, and a third A gear and a second gear, the first gear is meshed with a first sector gear, the first sector gear is connected with a first shaft, the first shaft is connected with a block, the second A second sector gear is meshed with the gear, and a second shaft is connected to the second sector gear.
优选的,所述报警合扣位于夹持杆的一端端头,为两组呈现对称,与夹持杆之间为活动连接。Preferably, the alarm snap is located at one end of the clamping rod, is symmetrical for two groups, and is movably connected with the clamping rod.
优选的,所述夹持杆为“L”型杆,设置有对称的两组,拉伸弹簧位于两根夹持杆之间。Preferably, the clamping rods are "L"-shaped rods, which are provided with two symmetrical groups, and the tension spring is located between the two clamping rods.
优选的,所述第一轴杆与第二轴杆上均设置有合块,且合块位于夹持块的正下方。Preferably, both the first shaft rod and the second shaft rod are provided with a joint block, and the joint block is located directly below the clamping block.
优选的,所述夹持口处的开口大小与夹持块之间的开口大小保持一致,且均小于合块之间的开口大小。Preferably, the size of the opening at the clamping port is consistent with the size of the opening between the clamping blocks, and both are smaller than the size of the opening between the combined blocks.
优选的,所述夹持口的内部设置有减压弹簧,用于减小夹持时对夹持口的刚性冲击。Preferably, a decompression spring is arranged inside the clamping port to reduce the rigid impact on the clamping port during clamping.
优选的,所述合块上设置有卡齿,用于方便卡接住建筑板材。Preferably, clamping teeth are provided on the combined block to facilitate clamping and catching the building board.
有益效果beneficial effect
与现有技术相比,本发明提供了一种建筑工地用板材提升预警保护辅助装置,具备以下有益效果:Compared with the prior art, the present invention provides an auxiliary device for lifting, early warning and protection of panels for construction sites, which has the following beneficial effects:
1、该建筑工地用板材提升预警保护辅助装置,在使用时,建筑板材卡接在夹持口,以及夹持块内,建筑板材卡接在夹持块内时,夹持块将会被朝两侧撑开,夹持杆会朝相对方向运动,进行抵接,其上的报警合扣会牢牢的抵接在一起,不会发出响声;反之,夹持块没有夹紧建筑板材时,夹持杆上的报警合扣不会抵接在一起,在进行板材悬吊时,装置启动时,报警合扣就会在运动过程中就会与夹持杆发生碰撞,发出报警声,以便于工人及时发现问题,做出提前的预防,防止发生意外。1. The construction site uses the board lifting early warning protection auxiliary device. When in use, the building board is clamped in the clamping port and in the clamping block. When the building board is clamped in the clamping block, the clamping block will be pushed toward the clamping block. When the two sides are spread apart, the clamping rod will move in the opposite direction to abut, and the alarm buckles on it will be firmly abutted together without making a sound; on the contrary, when the clamping block does not clamp the building board, The alarm buckles on the clamping rod will not abut together. When the plate is suspended, when the device is started, the alarm buckle will collide with the clamping rod during the movement, and an alarm sound will be issued, so as to facilitate the operation of the clamping rod. Workers discover problems in a timely manner and take early precautions to prevent accidents.
2、该建筑工地用板材提升预警保护辅助装置,在使用时,如果板材没有卡接紧,工人没有发现时,在悬吊过程中,板材在夹持块内逐渐下滑,随着板材的逐渐下滑,带动夹持杆内设置的第一齿轮以及第二齿轮的转动,随之带动与之啮合的第一扇形齿轮与第二扇形齿轮的转动,其上连接的第一轴杆以及第二轴杆随之进行相对运动,带动其上连接的合块将建筑板材夹持住,合块上设置的卡齿将建筑板材牢牢的卡接住,避免建筑板材的跌落造成安全隐患。2. The construction site uses the board lifting early warning protection auxiliary device. When the board is not clamped tightly and the workers do not find it, the board gradually slides down in the clamping block during the suspension process, and as the board gradually slides down , drive the rotation of the first gear and the second gear arranged in the clamping rod, and then drive the rotation of the first sector gear and the second sector gear meshed with it, and the first shaft rod and the second shaft rod connected to it. Then the relative movement is carried out, and the connecting block connected to it is driven to clamp the building board, and the clamping teeth set on the block firmly clamp the building board, so as to avoid the safety hazard caused by the falling of the building board.
附图说明Description of drawings
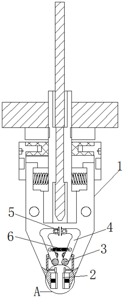
图1为本发明内部结构示意图;Fig. 1 is the internal structure schematic diagram of the present invention;
图2为本发明图1中A区域结构示意图;Fig. 2 is the structural representation of A region in Fig. 1 of the present invention;
图3为本发明图1中夹持口上方结构放大示意图;3 is an enlarged schematic view of the structure above the clamping opening in FIG. 1 of the present invention;
图4为本发明夹持块夹持杆以及报警合扣连接关系示意图;4 is a schematic diagram of the connection relationship between the clamping rod of the clamping block and the alarm buckle according to the present invention;
图5为本发明第一齿轮、第一齿轮与第一扇形齿轮、第二扇形齿轮连接结构示意图。FIG. 5 is a schematic diagram of the connection structure of the first gear, the first gear and the first sector gear and the second sector gear according to the present invention.
图6为本发明图5中运动状态示意图。FIG. 6 is a schematic diagram of the motion state in FIG. 5 of the present invention.
图中:1-装置主体、2-夹持口、3-夹持块、4-夹持杆、5-报警合扣、6-拉伸弹簧、7-第一齿轮、8-第一齿轮、9-第一扇形齿轮、10-第一轴杆、11-合块、12-第二扇形齿轮、13-第二轴杆、14-减压弹簧、15-卡齿。In the figure: 1-device body, 2-clamping port, 3-clamping block, 4-clamping rod, 5-alarm buckle, 6-tension spring, 7-first gear, 8-first gear, 9-first sector gear, 10-first shaft, 11-joint block, 12-second sector gear, 13-second shaft, 14-decompression spring, 15-card teeth.
具体实施方式Detailed ways
下面将结合本发明实施例中的附图,对本发明实施例中的技术方案进行清楚、完整地描述,显然,所描述的实施例仅仅是本发明一部分实施例,而不是全部的实施例。基于本发明中的实施例,本领域普通技术人员在没有做出创造性劳动前提下所获得的所有其他实施例,都属于本发明保护的范围。The technical solutions in the embodiments of the present invention will be clearly and completely described below with reference to the accompanying drawings in the embodiments of the present invention. Obviously, the described embodiments are only a part of the embodiments of the present invention, but not all of the embodiments. Based on the embodiments of the present invention, all other embodiments obtained by those of ordinary skill in the art without creative efforts shall fall within the protection scope of the present invention.
请参阅图1-6,一种建筑工地用板材提升预警保护辅助装置,包括装置主体1,装置主体1的底部设置有夹持口2,夹持口2的上方设置有夹持块3,夹持块3的上方连接有夹持杆4,夹持杆4上连接有报警合扣5,夹持杆4之间连接有拉伸弹簧6,夹持杆4上设置有第一齿轮7与第二齿轮8,第一齿轮7上啮合有第一扇形齿轮9,第一扇形齿轮9上连接有第一轴杆10,第一轴杆10上连接有合块11,第二齿轮8上啮合有第二扇形齿轮12,第二扇形齿轮12上连接有第二轴杆13,该建筑工地用板材提升预警保护辅助装置,在使用时,建筑板材卡接在夹持口2,以及夹持块3内,建筑板材卡接在夹持块3内时,夹持块3将会被朝两侧撑开,夹持杆4会朝相对方向运动,进行抵接,其上的报警合扣5会牢牢的抵接在一起,不会发出响声;反之,夹持块3没有夹紧建筑板材时,夹持杆4上的报警合扣5不会抵接在一起,在进行板材悬吊时,装置启动时,报警合扣5就会在运动过程中就会与夹持杆4发生碰撞,发出报警声,以便于工人及时发现问题,做出提前的预防,防止发生意外。在使用时,如果板材没有卡接紧,工人没有发现时,在悬吊过程中,板材在夹持块3内逐渐下滑,随着板材的逐渐下滑,带动夹持杆4内设置的第一齿轮7以及第二齿轮8的转动,随之带动与之啮合的第一扇形齿轮9与第二扇形齿轮12的转动,其上连接的第一轴杆10以及第二轴杆13随之进行相对运动,带动其上连接的合块11将建筑板材夹持住,合块11上设置的卡齿15将建筑板材牢牢的卡接住,避免建筑板材的跌落造成安全隐患。Please refer to Figures 1-6, an auxiliary device for lifting early warning and protection of panels for construction sites, including a device main body 1, a
报警合扣5位于夹持杆4的一端端头,为两组呈现对称,与夹持杆4之间为活动连接,夹持杆4为“L”型杆,设置有对称的两组,拉伸弹簧6位于两根夹持杆4之间,第一轴杆10与第二轴杆13上均设置有合块11,且合块11位于夹持块3的正下方,夹持口2处的开口大小与夹持块3之间的开口大小保持一致,且均小于合块11之间的开口大小,夹持口2的内部设置有减压弹簧14,用于减小夹持时对夹持口2的刚性冲击,合块11上设置有卡齿15,用于方便卡接住建筑板材。The
工作原理:该建筑工地用板材提升预警保护辅助装置,在使用时,建筑板材卡接在夹持口2,以及夹持块3内,建筑板材卡接在夹持块3内时,夹持块3将会被朝两侧撑开,夹持杆4会朝相对方向运动,进行抵接,其上的报警合扣5会牢牢的抵接在一起,不会发出响声;反之,夹持块3没有夹紧建筑板材时,夹持杆4上的报警合扣5不会抵接在一起,在进行板材悬吊时,装置启动时,报警合扣5就会在运动过程中就会与夹持杆4发生碰撞,发出报警声,以便于工人及时发现问题,做出提前的预防,防止发生意外。Working principle: The construction site uses the board lifting early warning protection auxiliary device. When in use, the building board is clamped in the
以上所述过程以及结构请参阅图1、3、4。Please refer to Figures 1, 3, and 4 for the process and structure described above.
该建筑工地用板材提升预警保护辅助装置,在使用时,如果板材没有卡接紧,工人没有发现时,在悬吊过程中,板材在夹持块3内逐渐下滑,随着板材的逐渐下滑,带动夹持杆4内设置的第一齿轮7以及第二齿轮8的转动,随之带动与之啮合的第一扇形齿轮9与第二扇形齿轮12的转动,其上连接的第一轴杆10以及第二轴杆13随之进行相对运动,带动其上连接的合块11将建筑板材夹持住,合块11上设置的卡齿15将建筑板材牢牢的卡接住,避免建筑板材的跌落造成安全隐患。The construction site uses the plate lifting early warning protection auxiliary device. During use, if the plate is not clamped tightly and the workers do not find it, during the suspension process, the plate gradually slides down in the
以上所述过程以及结构请参阅图1、5、6。Please refer to Figures 1, 5, and 6 for the above process and structure.
尽管已经示出和描述了本发明的实施例,对于本领域的普通技术人员而言,可以理解在不脱离本发明的原理和精神的情况下可以对这些实施例进行多种变化、修改、替换和变型,本发明的范围由所附权利要求及其等同物限定。Although embodiments of the present invention have been shown and described, it will be understood by those skilled in the art that various changes, modifications, and substitutions can be made in these embodiments without departing from the principle and spirit of the invention and modifications, the scope of the present invention is defined by the appended claims and their equivalents.
Claims (7)
Priority Applications (1)
| Application Number | Priority Date | Filing Date | Title |
|---|---|---|---|
| CN202010153262.7A CN111302208B (en) | 2020-03-06 | 2020-03-06 | A kind of auxiliary device for lifting early warning protection of board used in construction site |
Applications Claiming Priority (1)
| Application Number | Priority Date | Filing Date | Title |
|---|---|---|---|
| CN202010153262.7A CN111302208B (en) | 2020-03-06 | 2020-03-06 | A kind of auxiliary device for lifting early warning protection of board used in construction site |
Publications (2)
| Publication Number | Publication Date |
|---|---|
| CN111302208A true CN111302208A (en) | 2020-06-19 |
| CN111302208B CN111302208B (en) | 2021-07-16 |
Family
ID=71158631
Family Applications (1)
| Application Number | Title | Priority Date | Filing Date |
|---|---|---|---|
| CN202010153262.7A Active CN111302208B (en) | 2020-03-06 | 2020-03-06 | A kind of auxiliary device for lifting early warning protection of board used in construction site |
Country Status (1)
| Country | Link |
|---|---|
| CN (1) | CN111302208B (en) |
Cited By (1)
| Publication number | Priority date | Publication date | Assignee | Title |
|---|---|---|---|---|
| CN119929648A (en) * | 2025-04-08 | 2025-05-06 | 北京市市政工程设计研究总院有限公司 | Shield tunnel segment lifting equipment |
Citations (6)
| Publication number | Priority date | Publication date | Assignee | Title |
|---|---|---|---|---|
| JP2508233Y2 (en) * | 1990-03-26 | 1996-08-21 | 眞砂工業株式会社 | Coil lifter |
| CN204917653U (en) * | 2015-09-03 | 2015-12-30 | 衢州启程机械设备有限公司 | Pneumatic type hoist |
| CN205061368U (en) * | 2015-09-24 | 2016-03-02 | 十四冶建设集团云南安装工程有限公司 | Adjustable quick steel plate lifting clamp |
| CN208428256U (en) * | 2018-06-20 | 2019-01-25 | 广州誉康医药有限公司 | A kind of submissive clamper of novel agent card |
| CN208585954U (en) * | 2018-07-04 | 2019-03-08 | 林惠贞 | A kind of clamping structure of hoisting machinery |
| CN109678043A (en) * | 2019-01-08 | 2019-04-26 | 中国一冶集团有限公司 | A kind of board type members hoisting appliance and its construction method stood to arrangement |
-
2020
- 2020-03-06 CN CN202010153262.7A patent/CN111302208B/en active Active
Patent Citations (6)
| Publication number | Priority date | Publication date | Assignee | Title |
|---|---|---|---|---|
| JP2508233Y2 (en) * | 1990-03-26 | 1996-08-21 | 眞砂工業株式会社 | Coil lifter |
| CN204917653U (en) * | 2015-09-03 | 2015-12-30 | 衢州启程机械设备有限公司 | Pneumatic type hoist |
| CN205061368U (en) * | 2015-09-24 | 2016-03-02 | 十四冶建设集团云南安装工程有限公司 | Adjustable quick steel plate lifting clamp |
| CN208428256U (en) * | 2018-06-20 | 2019-01-25 | 广州誉康医药有限公司 | A kind of submissive clamper of novel agent card |
| CN208585954U (en) * | 2018-07-04 | 2019-03-08 | 林惠贞 | A kind of clamping structure of hoisting machinery |
| CN109678043A (en) * | 2019-01-08 | 2019-04-26 | 中国一冶集团有限公司 | A kind of board type members hoisting appliance and its construction method stood to arrangement |
Cited By (1)
| Publication number | Priority date | Publication date | Assignee | Title |
|---|---|---|---|---|
| CN119929648A (en) * | 2025-04-08 | 2025-05-06 | 北京市市政工程设计研究总院有限公司 | Shield tunnel segment lifting equipment |
Also Published As
| Publication number | Publication date |
|---|---|
| CN111302208B (en) | 2021-07-16 |
Similar Documents
| Publication | Publication Date | Title |
|---|---|---|
| CN111302208A (en) | A kind of auxiliary device for lifting early warning protection of board used in construction site | |
| CN215468689U (en) | Flame cutting device is used in processing of U-shaped rib with protection machanism | |
| CN209397812U (en) | A ceiling mounted structure | |
| CN211812982U (en) | Steel construction assembly elevating gear | |
| CN218778724U (en) | Anti-falling safety device | |
| CN212080087U (en) | Anti-jumping convex arc pulley | |
| CN220417533U (en) | Smoke discharging device based on fire control usefulness | |
| CN104929173B (en) | A kind of dust-collecting type grab bucket mechanism | |
| CN207058587U (en) | A kind of graping chaw structure | |
| CN222667606U (en) | Continuous beam template mechanism convenient to equipment | |
| CN218292411U (en) | Building curtain wall that intensity is high | |
| CN222101716U (en) | A quick-assembly enclosure plate | |
| CN219045155U (en) | A low-noise pile driver | |
| CN221680075U (en) | A bin cover opening mechanism | |
| CN221722470U (en) | Building safety protection equipment | |
| CN216939521U (en) | A special twisting machine for the production and processing of multi-station fire fighting equipment | |
| CN211865138U (en) | A kind of crushing pliers for excavator | |
| CN218694092U (en) | Top beam drilling machine for civil buildings | |
| CN213316865U (en) | Multipurpose steel processing is with cold drawing mechanism of six linkages | |
| CN112723176A (en) | Large-scale case roof beam lifting device | |
| CN222207750U (en) | A cat ladder for super high-rise building construction | |
| CN220351456U (en) | A flue hoisting device | |
| CN113102642B (en) | Photo frame corner punching device | |
| CN222716284U (en) | Concrete light wallboard | |
| CN214425931U (en) | Stage truss lamp hook |
Legal Events
| Date | Code | Title | Description |
|---|---|---|---|
| PB01 | Publication | ||
| PB01 | Publication | ||
| SE01 | Entry into force of request for substantive examination | ||
| SE01 | Entry into force of request for substantive examination | ||
| TA01 | Transfer of patent application right | ||
| TA01 | Transfer of patent application right |
Effective date of registration: 20210630 Address after: No.9 Fulin Road, Shifang Park, Wuping high tech Zone, Wuping County, Longyan City, Fujian Province, 364300 Applicant after: Fujian maozeng Wood Industry Co.,Ltd. Address before: 200120 Building 1, No.1000, Heng'an Road, Pudong New Area, Shanghai Applicant before: Yan Jinhua |
|
| GR01 | Patent grant | ||
| GR01 | Patent grant | ||
| PE01 | Entry into force of the registration of the contract for pledge of patent right | ||
| PE01 | Entry into force of the registration of the contract for pledge of patent right |
Denomination of invention: An auxiliary device for early warning protection of plate lifting in construction site Effective date of registration: 20220614 Granted publication date: 20210716 Pledgee: Wuping County sub branch of Postal Savings Bank of China Ltd. Pledgor: Fujian maozeng Wood Industry Co.,Ltd. Registration number: Y2022980007710 |
|
| PC01 | Cancellation of the registration of the contract for pledge of patent right |
Date of cancellation: 20230608 Granted publication date: 20210716 Pledgee: Wuping County sub branch of Postal Savings Bank of China Ltd. Pledgor: Fujian maozeng Wood Industry Co.,Ltd. Registration number: Y2022980007710 |
|
| PC01 | Cancellation of the registration of the contract for pledge of patent right | ||
| PE01 | Entry into force of the registration of the contract for pledge of patent right | ||
| PE01 | Entry into force of the registration of the contract for pledge of patent right |
Denomination of invention: An auxiliary device for early warning and protection of board lifting in construction sites Effective date of registration: 20230705 Granted publication date: 20210716 Pledgee: Wuping County sub branch of Postal Savings Bank of China Ltd. Pledgor: Fujian maozeng Wood Industry Co.,Ltd. Registration number: Y2023980047354 |
|
| PC01 | Cancellation of the registration of the contract for pledge of patent right | ||
| PC01 | Cancellation of the registration of the contract for pledge of patent right |
Granted publication date: 20210716 Pledgee: Wuping County sub branch of Postal Savings Bank of China Ltd. Pledgor: Fujian maozeng Wood Industry Co.,Ltd. Registration number: Y2023980047354 |
|
| PE01 | Entry into force of the registration of the contract for pledge of patent right | ||
| PE01 | Entry into force of the registration of the contract for pledge of patent right |
Denomination of invention: An auxiliary device for early warning and protection of sheet metal lifting on construction sites Granted publication date: 20210716 Pledgee: Wuping County sub branch of Postal Savings Bank of China Ltd. Pledgor: Fujian maozeng Wood Industry Co.,Ltd. Registration number: Y2024980008145 |
|
| PC01 | Cancellation of the registration of the contract for pledge of patent right | ||
| PC01 | Cancellation of the registration of the contract for pledge of patent right |
Granted publication date: 20210716 Pledgee: Wuping County sub branch of Postal Savings Bank of China Ltd. Pledgor: Fujian maozeng Wood Industry Co.,Ltd. Registration number: Y2024980008145 |
|
| PE01 | Entry into force of the registration of the contract for pledge of patent right | ||
| PE01 | Entry into force of the registration of the contract for pledge of patent right |
Denomination of invention: A construction site board lifting warning and protection auxiliary device Granted publication date: 20210716 Pledgee: Wuping County sub branch of Postal Savings Bank of China Ltd. Pledgor: Fujian maozeng Wood Industry Co.,Ltd. Registration number: Y2025980006403 |
