CN111283811A - 大口径塑料缠绕管自动开口机及其开口方法 - Google Patents

大口径塑料缠绕管自动开口机及其开口方法 Download PDF

Info

Publication number
CN111283811A
CN111283811A CN202010213498.5A CN202010213498A CN111283811A CN 111283811 A CN111283811 A CN 111283811A CN 202010213498 A CN202010213498 A CN 202010213498A CN 111283811 A CN111283811 A CN 111283811A
Authority
CN
China
Prior art keywords
axis
moving mechanism
plastic winding
milling cutter
diameter plastic
Prior art date
Legal status (The legal status is an assumption and is not a legal conclusion. Google has not performed a legal analysis and makes no representation as to the accuracy of the status listed.)
Pending
Application number
CN202010213498.5A
Other languages
English (en)
Inventor
吕建星
Current Assignee (The listed assignees may be inaccurate. Google has not performed a legal analysis and makes no representation or warranty as to the accuracy of the list.)
Hebei Xianyue Environmental Protection Equipment Co ltd
Original Assignee
Hebei Xianyue Environmental Protection Equipment Co ltd
Priority date (The priority date is an assumption and is not a legal conclusion. Google has not performed a legal analysis and makes no representation as to the accuracy of the date listed.)
Filing date
Publication date
Application filed by Hebei Xianyue Environmental Protection Equipment Co ltd filed Critical Hebei Xianyue Environmental Protection Equipment Co ltd
Priority to CN202010213498.5A priority Critical patent/CN111283811A/zh
Publication of CN111283811A publication Critical patent/CN111283811A/zh
Pending legal-status Critical Current

Links

Images

Classifications

    • BPERFORMING OPERATIONS; TRANSPORTING
    • B26HAND CUTTING TOOLS; CUTTING; SEVERING
    • B26FPERFORATING; PUNCHING; CUTTING-OUT; STAMPING-OUT; SEVERING BY MEANS OTHER THAN CUTTING
    • B26F1/00Perforating; Punching; Cutting-out; Stamping-out; Apparatus therefor
    • B26F1/16Perforating by tool or tools of the drill type
    • BPERFORMING OPERATIONS; TRANSPORTING
    • B23MACHINE TOOLS; METAL-WORKING NOT OTHERWISE PROVIDED FOR
    • B23CMILLING
    • B23C3/00Milling particular work; Special milling operations; Machines therefor
    • B23C3/02Milling surfaces of revolution
    • B23C3/04Milling surfaces of revolution while revolving the work
    • BPERFORMING OPERATIONS; TRANSPORTING
    • B23MACHINE TOOLS; METAL-WORKING NOT OTHERWISE PROVIDED FOR
    • B23QDETAILS, COMPONENTS, OR ACCESSORIES FOR MACHINE TOOLS, e.g. ARRANGEMENTS FOR COPYING OR CONTROLLING; MACHINE TOOLS IN GENERAL CHARACTERISED BY THE CONSTRUCTION OF PARTICULAR DETAILS OR COMPONENTS; COMBINATIONS OR ASSOCIATIONS OF METAL-WORKING MACHINES, NOT DIRECTED TO A PARTICULAR RESULT
    • B23Q7/00Arrangements for handling work specially combined with or arranged in, or specially adapted for use in connection with, machine tools, e.g. for conveying, loading, positioning, discharging, sorting
    • B23Q7/05Arrangements for handling work specially combined with or arranged in, or specially adapted for use in connection with, machine tools, e.g. for conveying, loading, positioning, discharging, sorting by means of roller-ways
    • BPERFORMING OPERATIONS; TRANSPORTING
    • B26HAND CUTTING TOOLS; CUTTING; SEVERING
    • B26DCUTTING; DETAILS COMMON TO MACHINES FOR PERFORATING, PUNCHING, CUTTING-OUT, STAMPING-OUT OR SEVERING
    • B26D7/00Details of apparatus for cutting, cutting-out, stamping-out, punching, perforating, or severing by means other than cutting
    • B26D7/01Means for holding or positioning work
    • BPERFORMING OPERATIONS; TRANSPORTING
    • B26HAND CUTTING TOOLS; CUTTING; SEVERING
    • B26DCUTTING; DETAILS COMMON TO MACHINES FOR PERFORATING, PUNCHING, CUTTING-OUT, STAMPING-OUT OR SEVERING
    • B26D7/00Details of apparatus for cutting, cutting-out, stamping-out, punching, perforating, or severing by means other than cutting
    • B26D7/06Arrangements for feeding or delivering work of other than sheet, web, or filamentary form
    • BPERFORMING OPERATIONS; TRANSPORTING
    • B26HAND CUTTING TOOLS; CUTTING; SEVERING
    • B26DCUTTING; DETAILS COMMON TO MACHINES FOR PERFORATING, PUNCHING, CUTTING-OUT, STAMPING-OUT OR SEVERING
    • B26D7/00Details of apparatus for cutting, cutting-out, stamping-out, punching, perforating, or severing by means other than cutting
    • B26D7/01Means for holding or positioning work
    • B26D2007/013Means for holding or positioning work the work being tubes, rods or logs

Landscapes

  • Engineering & Computer Science (AREA)
  • Mechanical Engineering (AREA)
  • Life Sciences & Earth Sciences (AREA)
  • Forests & Forestry (AREA)
  • Perforating, Stamping-Out Or Severing By Means Other Than Cutting (AREA)

Abstract

本发明公开了一种大口径塑料缠绕管自动开口机及其开口方法,其中的大口径塑料缠绕管自动开口机,包括机架,以及装配在机架上用于控制铣刀铣孔定位的第一三轴联动装置、固定在第一三轴联动装置输出控制端上的铣刀、用于驱动圆管转动的辅助开口装置;所述的大口径塑料缠绕管自动开口机的开口方法,对圆管开孔时,第一三轴联动装置带动铣刀移动的同时,动力机构驱动所有转动辊带动圆管转动。本发明能够在圆管不同角度位置开口时提高加工效率、加工质量。本发明适用于塑料管、钢管等圆管上开口时使用,特别是直径为200mm至5m的塑料缠绕管或钢管。

Description

大口径塑料缠绕管自动开口机及其开口方法
技术领域
本发明属于机械加工技术领域,涉及圆管自动开口,具体地说是一种大口径塑料缠绕管自动开口机及其开口方法。
背景技术
目前,对用于尾气净化塔上的大口径塑料缠绕管进行机械加工时,需要在塑料缠绕圆管不同角度位置上进行开口,以用于连接其它管件。现有技术中常通过人工手持铣刀对圆管上不同角度位置进行开口,采用这种方式时,一方面,工人往往很难精确把控铣刀,不仅使得切口不平整,也会降低铣削加工孔的加工精度;另一方面,工人开孔效率低,不能满足批量化生产需求。
现有技术中也有通过机械三轴联动替代人工控制铣刀定位以完成在圆管上开口的方式,虽然能够实现在圆管上的铣孔操作,但由于现有技术中的圆管往往是固定不动的,在实际操作过程中往往存有以下缺陷:
一、加工效率低。由于塑料缠绕圆管上所需铣削开口的角度位置各不相同(即所需铣削开口的轴心连线与圆管轴线不平行),在圆管上铣削加工完一个开口后,需人工将塑料缠绕管转动一定角度,以在圆管上铣削加工另一个开口。而在人工转动塑料缠绕管时,不仅耗费劳动时间,而且转动精度低,大大影响圆管加工效率。
二、加工质量差。由于铣刀是在表面为曲面的圆管上进行铣孔,圆管固定不动时,铣刀铣削圆管不同位置时,所需铣刀的使用长度也不相同。特别是具有较大的壁厚的大口径圆管,铣刀需具备足够的长度才能完成整圈的铣孔操作。而当铣刀较长时,在铣孔过程中容易出现刀片振颤而使铣削加工孔较为粗糙的情况发生,从而降低圆管上的开口质量,影响所加工的产品质量。
三、不适用于裁切管段。在实际加工过程中,往往需根据生产需要将整根圆管分段裁切,现有技术的两种方式均不能适用于管段裁切操作中使用。
发明内容
为解决现有技术中存在的以上不足,本发明旨在提供一种大口径塑料缠绕管自动开口机及其开口方法,以达到在圆管不同角度位置开口时提高加工效率、加工质量的目的。
为实现上述目的,本发明所采用的技术方案如下:一种大口径塑料缠绕管自动开口机,包括机架,以及装配在机架上用于控制铣刀铣孔定位的第一三轴联动装置、固定在第一三轴联动装置输出控制端上的铣刀、用于驱动圆管转动的辅助开口装置;
辅助开口装置,置于铣刀下方,包括由动力机构驱动转动的两组转动辊组,每组转动辊组中所有转动辊同轴且两组转动辊组的转动辊轴线相平行。
作为本发明的限定,它还包括装配在机架上用于控制压头移动定位的第二三轴联动装置以及固定在第二三轴联动装置控制输出端上的压头。
作为本发明的进一步限定,第一三轴联动装置及第二三轴联动装置均包括装配在机架上的x轴移动机构、装配在x轴移动机构输出控制端的y轴移动机构及装配在y轴移动机构输出控制端的z轴移动机构。
作为本发明的再进一步限定,x轴移动机构包括固定在机架上的x轴齿条、与x轴齿条啮合且与y轴移动机构固定相连的x轴齿轮以及驱动x轴齿轮转动的x轴电机;
y轴移动机构包括通过第一连接板与x轴齿轮相连的y轴齿条、与y轴齿条啮合且装配于第二连接板上的y轴齿轮以及驱动y轴齿轮转动的y轴电机;
z轴移动机构包括固定在第二连接板上的z轴电机、与z轴电机输出端相连的丝杠以及与丝杠螺纹连接的丝杠母。
作为本发明的限定,每组转动辊组中包括旋转轴及同轴装配在旋转轴上的转动辊,每个旋转轴与动力机构的输出端相连。
作为本发明的进一步限定,机架上开设有多个用于调整固定架位置的调节孔,每个转动辊轴承固定在固定架上,每个固定架螺栓固定在调节孔上。
作为本发明的其它限定,转动辊及压头为橡胶辊。
本发明还提供了一种利用上述大口径塑料缠绕管自动开口机所实现的大口径塑料缠绕管自动开口机的开口方法,其技术方案如下:利用大口径塑料缠绕管自动开口机来实现对圆管的开孔时,第一三轴联动装置带动铣刀移动的同时,动力机构驱动所有转动辊带动圆管转动。
作为本发明的限定,利用大口径塑料缠绕管自动开口机来实现对圆管的铣孔时,第一三轴联动装置中x轴移动机构及y轴移动机构带动铣刀移动的同时,动力机构驱动所有转动辊带动圆管转动。
作为本发明的进一步限定,首先,动力机构驱动两组转动辊组中所有转动辊带动圆管转动至铣刀工作位,第二三轴联动装置带动压头移动至压紧工作位;
然后,利用大口径塑料缠绕管自动开口机来实现对圆管的开孔时,第一三轴联动装置中x轴移动机构及y轴移动机构带动铣刀移动的同时,动力机构驱动所有转动辊带动圆管转动。
由于采用了上述的技术方案,本发明与现有技术相比,所取得的有益效果是:
本发明通过采用辅助开口装置与第一三轴联动装置相结合的方式,可集中进行多种工序:一方面,能够将圆管直接转动至与铣刀相对应的铣孔工作位,以便于提升在圆管不同角度位置进行铣孔的工作效率;另一方面,能够在铣刀铣孔过程中,将铣刀的移动与圆管的转动相配合,使铣刀于z轴保持同一高度,减短铣刀的使用长度,有效避免因铣孔过程中刀片振颤从而增大铣削加工孔粗糙度的情况发生,保证加工质量;此外,还能够根据生产需要,使固定的铣刀在圆管转动中将整根圆管裁断。
本发明通过设置第二三轴联动装置控制压头移动定位,能够使压头压紧在圆管上,增加圆管转动时的摩擦力,保证圆管与转动辊的同步转动。
本发明通过设置调节孔,可根据圆管的直径大小调整固定架的安装位置,以满足不同管径管件的开口需要。
本发明适用于塑料管、钢管等圆管上开口时使用,特别是直径为200mm至5m的塑料缠绕管或钢管。
附图说明
下面结合附图及具体实施例对本发明作更进一步详细说明。
图1为本发明实施例1的结构关系主视图(动力机构未示出);
图2为本发明实施例1的调节孔分布示意图;
图3为本发明实施例2的结构关系主视图(动力机构未示出);
图4为本发明实施例2的压头分布示意图。
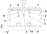
图中:1、机架;2、铣刀;3、动力机构;4、转动辊;5、压头;6、x轴移动机构;7、y轴移动机构;8、z轴移动机构;9、旋转轴;10、固定架;11、调节孔。
具体实施方式
以下结合附图对本发明的优选实施例进行说明。应当理解,此处所描述的优选实施例仅用于说明和理解本发明,并不用于限定本发明。
实施例1 一种大口径塑料缠绕管自动开口机
如图1至图2所示,本实施例包括机架1、铣刀2、用于控制铣刀2铣孔定位的第一三轴联动装置以及用于驱动圆管转动辅助开口装置。
第一三轴联动装置包括装配在机架1上的x轴移动机构6、装配在x轴移动机构6输出控制端的y轴移动机构7及装配在y轴移动机构7输出控制端的z轴移动机构8。当然,x轴移动机构6可为现有技术中的x轴平移机构,y轴移动机构7可为现有技术中的y轴平移机构,z轴移动机构8可为现有技术中的z轴升降机构。
x轴移动机构6,用于使铣刀沿x轴方向移动,即圆管轴线方向。x轴移动机构6包括固定在机架1上的x轴齿条、与x轴齿条啮合且与y轴移动机构7固定相连的x轴齿轮以及驱动x轴齿轮转动的x轴电机,x轴电机驱动x轴齿轮带动y轴移动机构7沿x轴齿条移动。
y轴移动机构7,用于使铣刀沿y轴方向移动,即水平面上垂直于圆管轴线的方向。y轴移动机构7包括通过第一连接板与x轴齿轮固定相连的y轴齿条、与y轴齿条啮合且装配于第二连接板上的y轴齿轮以及驱动y轴齿轮转动的y轴电机,y轴电机驱动y轴齿轮带动第二连接板沿y轴齿条移动。
z轴移动机构8,用于使铣刀沿z轴方向移动,即竖直面上垂直于圆管轴线的方向。z轴移动机构8包括固定在第二连接板上的z轴电机、与z轴电机输出端相连的丝杠以及与丝杠螺纹连接的丝杠母,z轴电机驱动丝杠转动,从而使固定在第一三轴联动装置丝杠母上的铣刀2沿z轴移动。
辅助开口装置置于铣刀2下方,包括由动力机构3驱动转动的两组转动辊组,每组转动辊组可分别由一个动力机构3直接驱动转动,当然动力机构3也可在传动机构作用下同时带动两组转动辊组转动。动力机构3可为电机、旋转气缸等。传动机构可为链传动、带传动、齿传动等。每组转动辊组中包括有多个转动辊4,每组转动辊中所有转动辊4同轴线,且两组转动辊组的转动辊4轴线平行间隔设置,以使得两组转动辊组能够对圆管具有支撑作用。
具体来说,本实施例中,每组转动辊组中包括旋转轴9及同轴装配在旋转轴9上的多个转动辊4,即共设有两个平行间隔设置的旋转轴9,每个旋转轴9上固定连接有多个同轴设置的转动辊4。每个旋转轴9与一个伺服电机的输出端相连。为了避免损伤圆管表面,转动辊为橡胶材质的圆辊状。
为了便于根据圆管直径调整转动辊组之间的间隙,机架1上开设有多个用于调整固定架10位置的调节孔11,每个转动辊4轴承固定在一个固定架10上,每个固定架10根据位置需要选取相应的调节孔11,从而通过螺栓将固定架10固定在机架1上。本实施例中,调节孔11位于水平面上沿垂直于圆管轴线间隔设置多个,需要说明的是,多个是指两个以上。
实施例2 一种大口径塑料缠绕管自动开口机
如图3至图4所示,为了增加圆管转动时的摩擦力,保证圆管与转动辊4的同步转动,对于质量较小的圆管,本实施例在实施例1的基础上,增加如下技术特征:
大口径塑料缠绕管自动开口机还包括压头5以及用于控制压头5移动定位的第二三轴联动装置。压头5为橡胶材质的圆辊状。
第二三轴联动装置与第一三轴联动装置结构相同,均包括装配在机架1上的x轴移动机构6、装配在x轴移动机构6输出控制端的y轴移动机构7及装配在y轴移动机构7输出控制端的z轴移动机构8,第二三轴联动装置的z轴移动机构8中丝杠母与压头5固定相连。z轴电机驱动丝杠转动,从而使轴承固定在第二三轴联动装置丝杠母上的压头5沿z轴移动。
当然,可根据实际生产需要,在机架1上设置多个第二三轴联动装置,每个第二三轴联动装置的x轴移动机构6输出控制端固定有多个y轴移动机构7。结合图3与图4,本实施例中,在机架1上设有两个第二三轴联动装置,每个第二三轴联动装置的x轴移动机构6输出控制端固定有两个y轴移动机构7,每个第二三轴联动装置的z轴移动机构8输出控制端轴承固定有一个压头5。
实施例3 一种大口径塑料缠绕管自动开口机的开口方法
本实施例利用实施例2中的大口径塑料缠绕管自动开口机来实现对圆管上不同位置的铣孔操作,包括以下步骤:
首先,动力机构驱动所有转动辊4利用摩擦力带动置于转动辊4上的圆管转动至铣刀2工作位,即圆管转动至铣刀2初始进行铣孔时的工作位置。为了增大圆管转动摩擦力,对于质量较小的圆管,由第二三轴联动装置带动压头5移动至压紧工作位,即移动至使压头5与圆管表面相接触且压紧于圆管上方。
然后,利用大口径塑料缠绕管自动开口机来实现对圆管的开孔:第一三轴联动装置中x轴移动机构及y轴移动机构带动铣刀2移动定位的同时,结合动力机构3驱动所有转动辊4带动圆管转动,以使铣刀2于z轴保持同一高度,减短铣刀2的使用长度,避免铣刀2在铣削过程中的震颤。
需要说明的是,以上所述仅为本发明的优选实施例而已,并不用于限制本发明,尽管参照上述实施例对本发明进行了详细的说明,对于本领域技术人员来说,其依然可以对上述各实施例所记载的技术方案进行修改,或者对其中部分技术特征进行等同替换。凡在本发明的精神和原则之内,所作的任何修改、等同替换、改进等,均应包含在本发明的保护范围之内。

Claims (10)

1.一种大口径塑料缠绕管自动开口机,其特征在于:包括机架,以及装配在机架上用于控制铣刀铣孔定位的第一三轴联动装置、固定在第一三轴联动装置输出控制端上的铣刀、用于驱动圆管转动的辅助开口装置;
辅助开口装置,置于铣刀下方,包括由动力机构驱动转动的两组转动辊组,每组转动辊组中所有转动辊同轴且两组转动辊组的转动辊轴线相平行。
2.根据权利要求1所述的大口径塑料缠绕管自动开口机,其特征在于:它还包括装配在机架上用于控制压头移动定位的第二三轴联动装置以及固定在第二三轴联动装置控制输出端上的压头。
3.根据权利要求2所述的大口径塑料缠绕管自动开口机,其特征在于:第一三轴联动装置及第二三轴联动装置均包括装配在机架上的x轴移动机构、装配在x轴移动机构输出控制端的y轴移动机构及装配在y轴移动机构输出控制端的z轴移动机构。
4.根据权利要求3所述的大口径塑料缠绕管自动开口机,其特征在于:x轴移动机构包括固定在机架上的x轴齿条、与x轴齿条啮合且与y轴移动机构固定相连的x轴齿轮以及驱动x轴齿轮转动的x轴电机;
y轴移动机构包括通过第一连接板与x轴齿轮相连的y轴齿条、与y轴齿条啮合且装配于第二连接板上的y轴齿轮以及驱动y轴齿轮转动的y轴电机;
z轴移动机构包括固定在第二连接板上的z轴电机、与z轴电机输出端相连的丝杠以及与丝杠螺纹连接的丝杠母。
5.根据权利要求2-4中任意一项所述的大口径塑料缠绕管自动开口机,其特征在于:每组转动辊组中包括旋转轴及同轴装配在旋转轴上的转动辊,每个旋转轴与动力机构的输出端相连。
6.根据权利要求5所述的大口径塑料缠绕管自动开口机,其特征在于:机架上开设有多个用于调整固定架位置的调节孔,每个转动辊轴承固定在固定架上,每个固定架螺栓固定在调节孔上。
7.根据权利要求5所述的大口径塑料缠绕管自动开口机,其特征在于:转动辊及压头为橡胶辊。
8.一种大口径塑料缠绕管自动开口机的开口方法,其特征在于:利用权利要求1-7中所述的大口径塑料缠绕管自动开口机来实现对圆管的开孔时,第一三轴联动装置带动铣刀移动的同时,动力机构驱动所有转动辊带动圆管转动。
9.根据权利要求8所述的大口径塑料缠绕管自动开口机的开口方法,其特征在于:利用大口径塑料缠绕管自动开口机来实现对圆管的铣孔时,第一三轴联动装置中x轴移动机构及y轴移动机构带动铣刀移动的同时,动力机构驱动所有转动辊带动圆管转动。
10.根据权利要求9所述的大口径塑料缠绕管自动开口机的开口方法,其特征在于:
首先,动力机构驱动两组转动辊组中所有转动辊带动圆管转动至铣刀工作位,第二三轴联动装置带动压头移动至压紧工作位;
然后,利用大口径塑料缠绕管自动开口机来实现对圆管的开孔时,第一三轴联动装置中x轴移动机构及y轴移动机构带动铣刀移动的同时,动力机构驱动所有转动辊带动圆管转动。
CN202010213498.5A 2020-03-24 2020-03-24 大口径塑料缠绕管自动开口机及其开口方法 Pending CN111283811A (zh)

Priority Applications (1)

Application Number Priority Date Filing Date Title
CN202010213498.5A CN111283811A (zh) 2020-03-24 2020-03-24 大口径塑料缠绕管自动开口机及其开口方法

Applications Claiming Priority (1)

Application Number Priority Date Filing Date Title
CN202010213498.5A CN111283811A (zh) 2020-03-24 2020-03-24 大口径塑料缠绕管自动开口机及其开口方法

Publications (1)

Publication Number Publication Date
CN111283811A true CN111283811A (zh) 2020-06-16

Family

ID=71019779

Family Applications (1)

Application Number Title Priority Date Filing Date
CN202010213498.5A Pending CN111283811A (zh) 2020-03-24 2020-03-24 大口径塑料缠绕管自动开口机及其开口方法

Country Status (1)

Country Link
CN (1) CN111283811A (zh)

Cited By (1)

* Cited by examiner, † Cited by third party
Publication number Priority date Publication date Assignee Title
CN114345719A (zh) * 2022-01-17 2022-04-15 青岛齐林智信自控技术有限公司 一种肠衣套缩管自动分级装置

Citations (10)

* Cited by examiner, † Cited by third party
Publication number Priority date Publication date Assignee Title
CN103753306A (zh) * 2014-01-02 2014-04-30 徐州工程学院 一种车铣加工的装置
CN206416540U (zh) * 2016-10-13 2017-08-18 河北贤悦环保设备有限公司 用于塑料焊接的挤塑机
CN108312202A (zh) * 2018-02-10 2018-07-24 昆山映树通包装机械有限公司 一种双轮带锯切纸机及其托纸装置
CN109015883A (zh) * 2018-09-21 2018-12-18 河北科技大学 一种可移动式超大口径克拉管管壁开孔装置
CN109366615A (zh) * 2018-11-29 2019-02-22 闳诚科技有限公司 一种龙门式液压裁切机系统
CN208698014U (zh) * 2018-08-24 2019-04-05 安徽杰蓝特新材料有限公司 一种用于rtp复合管缠绕管碾压机
CN209550660U (zh) * 2019-01-25 2019-10-29 上海鼎迪数控设备有限公司 一种数控型材加工装置
KR20200006236A (ko) * 2018-07-10 2020-01-20 주식회사 삼신 3축 편심 버터플라이 밸브 제조 방법
CN110842285A (zh) * 2019-12-11 2020-02-28 新疆天业节水灌溉股份有限公司 一种切割大口径圆管的锯床
CN211868033U (zh) * 2020-03-24 2020-11-06 河北贤悦环保设备有限公司 大口径塑料缠绕管自动开口机

Patent Citations (10)

* Cited by examiner, † Cited by third party
Publication number Priority date Publication date Assignee Title
CN103753306A (zh) * 2014-01-02 2014-04-30 徐州工程学院 一种车铣加工的装置
CN206416540U (zh) * 2016-10-13 2017-08-18 河北贤悦环保设备有限公司 用于塑料焊接的挤塑机
CN108312202A (zh) * 2018-02-10 2018-07-24 昆山映树通包装机械有限公司 一种双轮带锯切纸机及其托纸装置
KR20200006236A (ko) * 2018-07-10 2020-01-20 주식회사 삼신 3축 편심 버터플라이 밸브 제조 방법
CN208698014U (zh) * 2018-08-24 2019-04-05 安徽杰蓝特新材料有限公司 一种用于rtp复合管缠绕管碾压机
CN109015883A (zh) * 2018-09-21 2018-12-18 河北科技大学 一种可移动式超大口径克拉管管壁开孔装置
CN109366615A (zh) * 2018-11-29 2019-02-22 闳诚科技有限公司 一种龙门式液压裁切机系统
CN209550660U (zh) * 2019-01-25 2019-10-29 上海鼎迪数控设备有限公司 一种数控型材加工装置
CN110842285A (zh) * 2019-12-11 2020-02-28 新疆天业节水灌溉股份有限公司 一种切割大口径圆管的锯床
CN211868033U (zh) * 2020-03-24 2020-11-06 河北贤悦环保设备有限公司 大口径塑料缠绕管自动开口机

Cited By (2)

* Cited by examiner, † Cited by third party
Publication number Priority date Publication date Assignee Title
CN114345719A (zh) * 2022-01-17 2022-04-15 青岛齐林智信自控技术有限公司 一种肠衣套缩管自动分级装置
CN114345719B (zh) * 2022-01-17 2024-06-11 青岛齐林智信自控技术有限公司 一种肠衣套缩管自动分级装置

Similar Documents

Publication Publication Date Title
WO2021197031A1 (zh) 一种管材激光切割机
CN112427723A (zh) 一种行星式连续旋转切管装置及切管方法
CN112338394A (zh) 一种用于h型钢的拼装焊接装置及方法
CN101786130B (zh) 数控钢筋笼成型机的内加劲箍推动装置
CN101664897A (zh) 螺旋桨叶片砂带磨床
CN111451768B (zh) 一种大直径钢管高效率切割倒角一体机
CN201511295U (zh) 螺旋桨叶片砂带磨床
CN207857922U (zh) 一种智能法兰加工铣床
CN210024051U (zh) 管道自动切割机
CN111283811A (zh) 大口径塑料缠绕管自动开口机及其开口方法
CN114833422A (zh) 一种管件用火焰切割装置
CN202162526U (zh) H型钢组立机的翼板与腹板的对中夹紧装置
CN109623392B (zh) 薄壁管切断旋压封口机
CN112276397A (zh) 一种双螺杆空压机生产用储气罐直缝快速焊接装置
CN112139411A (zh) 一种建筑用钢筋端头螺纹滚轧机构
CN103801743A (zh) 一种现场管线坡口切割机
CN211868033U (zh) 大口径塑料缠绕管自动开口机
CN211729427U (zh) 一种调节方便的在线分切系统
CN219254313U (zh) 一种数控机电加工切割装置
CN203863847U (zh) 一种新型石质墙体构件榫槽加工装置
CN220993161U (zh) 一种管材激光切割装置
CN219337849U (zh) 一种用于多轴切卷机的切刀装置
WO2021102828A1 (zh) 一种建筑施工用钢筋切割机
CN201132220Y (zh) 便携式大型法兰密封槽加工装置
CN214978213U (zh) 一种风电塔筒钢板切割装置

Legal Events

Date Code Title Description
PB01 Publication
PB01 Publication
SE01 Entry into force of request for substantive examination
SE01 Entry into force of request for substantive examination
RJ01 Rejection of invention patent application after publication

Application publication date: 20200616

RJ01 Rejection of invention patent application after publication