CN111230543A - Universal joint clamping and machining tool and machining method - Google Patents
Universal joint clamping and machining tool and machining method Download PDFInfo
- Publication number
- CN111230543A CN111230543A CN202010212872.XA CN202010212872A CN111230543A CN 111230543 A CN111230543 A CN 111230543A CN 202010212872 A CN202010212872 A CN 202010212872A CN 111230543 A CN111230543 A CN 111230543A
- Authority
- CN
- China
- Prior art keywords
- clamping
- universal joint
- installation
- clamping plate
- groove
- Prior art date
- Legal status (The legal status is an assumption and is not a legal conclusion. Google has not performed a legal analysis and makes no representation as to the accuracy of the status listed.)
- Pending
Links
Images
Classifications
-
- B—PERFORMING OPERATIONS; TRANSPORTING
- B23—MACHINE TOOLS; METAL-WORKING NOT OTHERWISE PROVIDED FOR
- B23Q—DETAILS, COMPONENTS, OR ACCESSORIES FOR MACHINE TOOLS, e.g. ARRANGEMENTS FOR COPYING OR CONTROLLING; MACHINE TOOLS IN GENERAL CHARACTERISED BY THE CONSTRUCTION OF PARTICULAR DETAILS OR COMPONENTS; COMBINATIONS OR ASSOCIATIONS OF METAL-WORKING MACHINES, NOT DIRECTED TO A PARTICULAR RESULT
- B23Q3/00—Devices holding, supporting, or positioning work or tools, of a kind normally removable from the machine
- B23Q3/02—Devices holding, supporting, or positioning work or tools, of a kind normally removable from the machine for mounting on a work-table, tool-slide, or analogous part
- B23Q3/06—Work-clamping means
- B23Q3/062—Work-clamping means adapted for holding workpieces having a special form or being made from a special material
-
- B—PERFORMING OPERATIONS; TRANSPORTING
- B23—MACHINE TOOLS; METAL-WORKING NOT OTHERWISE PROVIDED FOR
- B23P—METAL-WORKING NOT OTHERWISE PROVIDED FOR; COMBINED OPERATIONS; UNIVERSAL MACHINE TOOLS
- B23P13/00—Making metal objects by operations essentially involving machining but not covered by a single other subclass
- B23P13/02—Making metal objects by operations essentially involving machining but not covered by a single other subclass in which only the machining operations are important
-
- B—PERFORMING OPERATIONS; TRANSPORTING
- B23—MACHINE TOOLS; METAL-WORKING NOT OTHERWISE PROVIDED FOR
- B23Q—DETAILS, COMPONENTS, OR ACCESSORIES FOR MACHINE TOOLS, e.g. ARRANGEMENTS FOR COPYING OR CONTROLLING; MACHINE TOOLS IN GENERAL CHARACTERISED BY THE CONSTRUCTION OF PARTICULAR DETAILS OR COMPONENTS; COMBINATIONS OR ASSOCIATIONS OF METAL-WORKING MACHINES, NOT DIRECTED TO A PARTICULAR RESULT
- B23Q3/00—Devices holding, supporting, or positioning work or tools, of a kind normally removable from the machine
- B23Q3/02—Devices holding, supporting, or positioning work or tools, of a kind normally removable from the machine for mounting on a work-table, tool-slide, or analogous part
- B23Q3/06—Work-clamping means
- B23Q3/061—Work-clamping means adapted for holding a plurality of workpieces
Landscapes
- Engineering & Computer Science (AREA)
- Mechanical Engineering (AREA)
- Milling Processes (AREA)
Abstract
本发明公开了一种万向节夹持加工工装及加工方法,包括底座,所述底座上设有安装槽,安装槽的一侧设有缺口,所述工装还包括设于底座上的夹持板和用于抵触夹持板以调节夹持板朝向安装槽缺口一侧夹持力的定位调节机构,所述夹持板朝向安装槽缺口的一侧面与安装槽配合形成万向节的夹持安装空间。本发明的夹持加工工装,能够实现零件的可调节定位夹持,便于在机加工时起到辅助定位固定效果,提高加工生产的良品率,以及提高生产效率。
The invention discloses a universal joint clamping processing tool and a processing method, comprising a base, a mounting groove is provided on the base, and one side of the mounting groove is provided with a notch, and the tool also includes a clamping device arranged on the base A plate and a positioning adjustment mechanism for abutting the clamping plate to adjust the clamping force of the clamping plate toward the side of the notch in the installation groove, the side of the clamping plate facing the notch in the installation groove cooperates with the installation groove to form the clamping of the universal joint installation space. The clamping and processing tooling of the invention can realize the adjustable positioning and clamping of the parts, which facilitates the auxiliary positioning and fixing effect during machining, improves the yield rate of processing and production, and improves the production efficiency.
Description
技术领域technical field
本发明属于万向节加工技术领域,具体涉及一种万向节夹持加工工装及加工方法。The invention belongs to the technical field of universal joint processing, and in particular relates to a universal joint clamping processing tool and a processing method.
背景技术Background technique
万向节即万向接头,是实现变角度动力传递的机件,用于需要改变传动轴线方向的位置,它是汽车驱动系统的万向传动装置的“关节”部件。万向节与传动轴组合,称为万向节传动装置。The universal joint is a universal joint, which is a mechanism that realizes variable-angle power transmission and is used for the position where the direction of the transmission axis needs to be changed. It is the "joint" component of the universal transmission device of the automobile drive system. The combination of the universal joint and the drive shaft is called a universal joint transmission.
采用零件机加工制造万向节时,由于没有很好的加工工装,无法对零件进行有效的定位,加工生产不方便,生产效率低下。When parts are machined to manufacture universal joints, because there is no good processing tooling, the parts cannot be effectively positioned, the processing and production are inconvenient, and the production efficiency is low.
发明内容SUMMARY OF THE INVENTION
本发明旨在解决现有技术中存在的技术问题。为此,本发明提供一种万向节夹持加工工装及加工方法,目的是便于定位夹紧零件,以便于加工。The present invention aims to solve the technical problems existing in the prior art. To this end, the present invention provides a universal joint clamping processing tool and a processing method, the purpose of which is to facilitate the positioning and clamping of the parts so as to facilitate processing.
为了实现上述目的,本发明采取的技术方案为:In order to achieve the above object, the technical scheme adopted in the present invention is:
一种万向节夹持加工工装,包括底座,所述底座上设有安装槽,安装槽的一侧设有缺口,所述工装还包括设于底座上的夹持板和用于抵触夹持板以调节夹持板朝向安装槽缺口一侧夹持力的定位调节机构,所述夹持板朝向安装槽缺口的一侧面与安装槽配合形成万向节的夹持安装空间。A universal joint clamping processing tooling includes a base, a mounting groove is provided on the base, and a gap is formed on one side of the mounting groove, and the tooling also includes a clamping plate arranged on the base and a clamping plate for interference clamping. The plate is a positioning adjustment mechanism for adjusting the clamping force of the clamping plate facing the notch side of the installation groove.
所述定位调节机构包括限位板和调节螺栓,所述调节螺栓穿过限位板抵触夹持板,通过松紧调节螺栓以调节夹持板与安装槽缺口的夹持力。The positioning adjustment mechanism includes a limit plate and an adjustment bolt, the adjustment bolt penetrates the limit plate and abuts against the clamping plate, and adjusts the clamping force between the clamping plate and the gap of the installation groove by loosening the adjustment bolt.
所述夹持板与安装槽缺口的端面之间预留有间隙空间。A clearance space is reserved between the clamping plate and the end face of the notch of the installation groove.
所述夹持安装空间的四角预留有半圆形槽孔。The four corners of the clamping installation space are reserved with semicircular slot holes.
所述夹持板朝向安装槽缺口的一侧面设有夹持槽,夹持槽与安装槽配合形成夹持安装空间。A side surface of the clamping plate facing the notch of the installation groove is provided with a clamping groove, and the clamping groove cooperates with the installation groove to form a clamping installation space.
安装槽的缺口两端与夹持板的相应位置形成带有间隙的半圆形槽孔,另外两个半圆形槽孔分别位于安装槽的另外两角处。Semi-circular slot holes with gaps are formed between the two ends of the gap of the installation slot and the corresponding positions of the clamping plate, and the other two semi-circular slot holes are respectively located at the other two corners of the installation slot.
所述安装槽的底面设有避让孔。The bottom surface of the installation groove is provided with an escape hole.
所述底座上设有横向分布和/或纵向分布的多组安装槽,每一个安装槽的缺口外均设置定位调节机构。The base is provided with a plurality of sets of installation grooves distributed laterally and/or longitudinally, and a positioning adjustment mechanism is provided outside the gap of each installation groove.
所述底座上设有导轨,导轨的顶端面与安装槽的底面处于同一个平面,所述夹持板设有卡接导轨的卡槽,所述定位调节机构带动夹持板沿导轨滑动以调节夹持板与安装槽缺口之间的距离。The base is provided with a guide rail, the top surface of the guide rail and the bottom surface of the installation groove are in the same plane, the clamping plate is provided with a clamping groove for clamping the guide rail, and the positioning adjustment mechanism drives the clamping plate to slide along the guide rail to adjust The distance between the clamping plate and the notch in the mounting groove.
所述底座的两侧设有定位夹持槽。Both sides of the base are provided with positioning and clamping grooves.
所述万向节夹持加工工装的加工方法,包括如下步骤:The processing method of the universal joint clamping and processing tooling comprises the following steps:
步骤一、将零件装入安装槽内,并通过夹持板夹持定位固定;
步骤二、通过刀具铣零件裸露在安装槽外部一侧的扁势;Step 2: Mill the flat potential of the part exposed on the outside of the installation slot by the cutter;
步骤三、铣好扁势后取出零件,将铣好扁势的一侧翻转装入安装槽内,再通过刀具铣零件相对另一侧的扁势;
步骤四、再次铣好扁势后,通过机床加工出零件中心孔;
步骤五、将零件翻转90度装入安装槽内,再加工出零件此端面的中心孔,即得万向节。
本发明的有益效果:本发明的夹持加工工装,能够实现零件的可调节定位夹持,便于在机加工时起到辅助定位固定效果,提高加工生产的良品率,以及提高生产效率。保证加工出的万向节的同轴度及对称度。Beneficial effects of the present invention: The clamping and processing tooling of the present invention can realize the adjustable positioning and clamping of the parts, which facilitates the auxiliary positioning and fixing effect during machining, improves the yield of processing and production, and improves the production efficiency. Ensure the coaxiality and symmetry of the processed universal joint.
附图说明Description of drawings
本说明书包括以下附图,所示内容分别是:This manual includes the following drawings, which are as follows:
图1是本发明万向节的结构示意图;Fig. 1 is the structural representation of the universal joint of the present invention;
图2是本发明实施例1的加工工装俯视图;Fig. 2 is the top view of the processing tool of
图3是本发明实施例2的加工工装俯视图;Fig. 3 is the top view of the processing tool of
图4是本发明实施例4的俯视图。FIG. 4 is a plan view of
图中标记为:The figure is marked as:
1、底座,2、安装槽,3、缺口,4、夹持板,5、限位板,6、调节螺栓,7、半圆形槽孔,8、夹持槽,9、避让孔。1. Base, 2. Installation slot, 3. Notch, 4. Clamping plate, 5. Limiting plate, 6. Adjusting bolt, 7. Semicircular slot, 8. Clamping slot, 9. Avoidance hole.
具体实施方式Detailed ways
下面对照附图,通过对实施例的描述,对本发明的具体实施方式作进一步详细的说明,目的是帮助本领域的技术人员对本发明的构思、技术方案有更完整、准确和深入的理解,并有助于其实施。需要说明的是,术语“上”、“下”、“前”、“后”、“左”、“右”、“竖直”、“内”、“外”等指示的方位或位置关系为基于附图所示的方位或位置关系,仅是为了便于描述本发明和简化描述,而不是指示或暗示所指的装置或元件必须具有特定的方位、以特定的方位构造和操作,因此不能理解为对发明的限制。Below with reference to the accompanying drawings, through the description of the embodiments, the specific embodiments of the present invention will be described in further detail, the purpose is to help those skilled in the art to have a more complete, accurate and in-depth understanding of the concept and technical solutions of the present invention, and contribute to its implementation. It should be noted that the orientation or positional relationship indicated by the terms "up", "down", "front", "rear", "left", "right", "vertical", "inside", "outside", etc. Based on the orientation or positional relationship shown in the drawings, it is only for the convenience of describing the present invention and simplifying the description, rather than indicating or implying that the referred device or element must have a specific orientation, be constructed and operated in a specific orientation, and therefore cannot be understood to limit the invention.
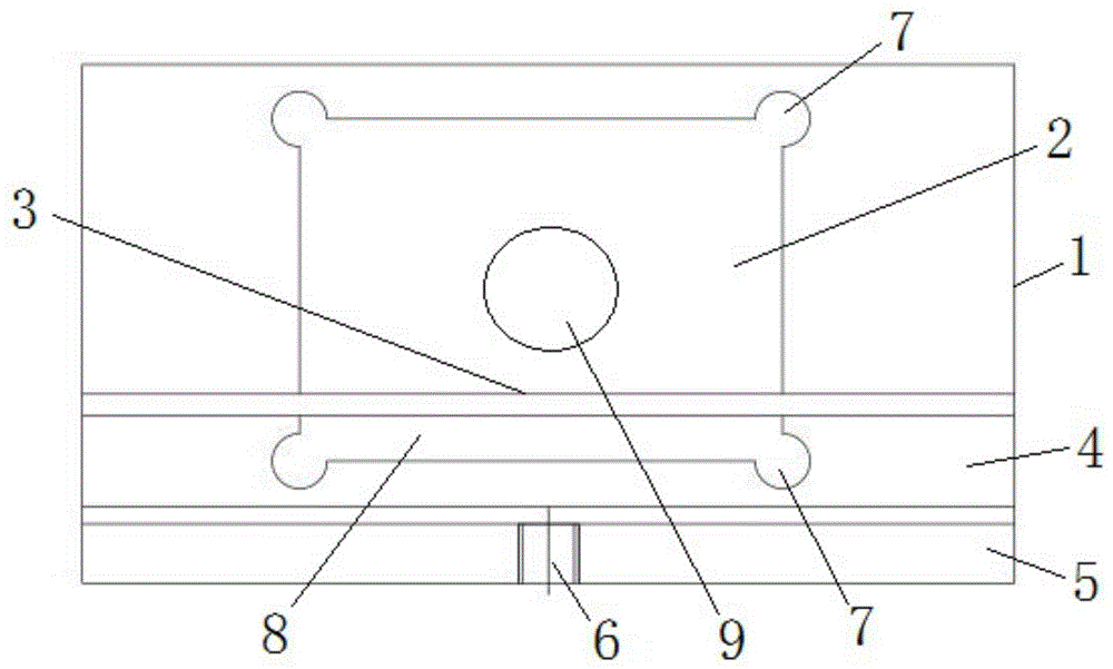
如图1至图2所示,一种万向节夹持加工工装,包括底座1,底座1上设有安装槽2,安装槽2的一侧设有缺口3,该加工工装还包括设于底座1上的夹持板4和用于抵触夹持板4以调节夹持板4朝向安装槽缺口一侧夹持力的定位调节机构,夹持板4朝向安装槽缺口的一侧面与安装槽2配合形成万向节的夹持安装空间。安装时,先将零件装入安装槽,在通过定位调节机构调节抵触夹持板的夹持力,以使夹持板配合安装槽的夹持面定位夹紧零件,防止晃动。保证加工出的万向节的同轴度及对称度。As shown in Figures 1 to 2, a universal joint clamping processing tool includes a
定位调节机构包括限位板5和调节螺栓6,调节螺栓6穿过限位板5抵触夹持板4,通过松紧调节螺栓6以调节夹持板5与安装槽缺口的夹持力。调节螺栓至少设置一个,通过松紧调节螺栓来调节夹持板的夹持力;也可以设置多个,设置多个时,多个调节螺栓呈一排分布,目的是对夹持板的整个截面上均受到挤压力,避免夹紧变形。The positioning adjustment mechanism includes a
夹持板4与安装槽缺口3的端面之间预留有间隙空间,便于形成零件夹紧时的预安装行程空间。此种结构设置,针对规格略有差异的零件也可适用。A clearance space is reserved between the
为了避免形成干涉,上述夹持安装空间的四角预留有半圆形槽孔7。四角半圆形孔的设置,目的是保证此处为直角,不会因为刀具圆角导致零件无法装入的现象;同时,也便于刀具的加工操作。In order to avoid interference, semicircular slot holes 7 are reserved at the four corners of the clamping installation space. The purpose of setting the semi-circular hole at four corners is to ensure that it is a right angle, so that the parts cannot be loaded due to the rounded corners of the tool; at the same time, it is also convenient for the machining operation of the tool.
本实施例中,夹持板4朝向安装槽缺口的一侧面设有夹持槽8,夹持槽8与安装槽2配合形成夹持安装空间。夹持安装空间整体呈方形,夹持安装空间的四角即是安装槽及夹持槽的边角处,各半圆形槽孔均是凹陷型槽孔,且大小及结构相同。此种结构设置,便于制造,同时生成加工时,仅采用一种规格的刀具即可对四角加工。夹持板的顶端面与安装槽的顶端面处于同一平面。安装槽的槽深高度即为加工制造万向节后的高度。In this embodiment, a side surface of the
由于万向节具有整体呈十字型的孔,在采用上述加工工装配合打孔时,若无相应的结构避让,会导致工装受损,基于此,在安装槽2的底面设有避让孔9。避让孔设置于安装槽的底面中间处,当加工的万向节装入安装槽后,配合打孔操作以使打出的孔位于万向节中心处。Since the universal joint has a cross-shaped hole as a whole, when the above processing tool is used for punching, if there is no corresponding structural avoidance, the tool will be damaged. The avoidance hole is arranged in the middle of the bottom surface of the installation slot. After the machined universal joint is installed in the installation slot, the punching operation is performed so that the punched hole is located at the center of the universal joint.
采用上万向节夹持加工工装的加工方法,包括如下步骤:The processing method of using the upper universal joint to clamp the processing tool includes the following steps:
步骤一、将零件装入安装槽2内,并通过夹持板4夹持定位固定;具体是将调节螺栓穿入限位板的安装孔,之后逐渐旋紧调节螺栓,使调节螺栓逐渐顶着夹持板朝向安装槽一侧,夹持板与安装槽配合夹持固定安装槽内的零件;
步骤二、通过刀具铣零件裸露在安装槽外部一侧的扁势;具体而言,将定位固定好零件的底座置于机床上限位固定后,通过刀具铣零件上侧的扁势;Step 2: Mill the flat potential of the part exposed on the outer side of the installation slot by the tool; specifically, place the base of the fixed part on the upper limit of the machine tool and fix it, and then use the tool to mill the flat potential of the upper side of the part;
步骤三、铣好扁势后取出零件,将铣好扁势的一侧翻转装入安装槽内,再通过刀具铣零件相对另一侧的扁势;两次铣扁势的工艺要求参数相同;
步骤四、再次铣好扁势后,通过机床加工出零件中心孔;具体而言,通过反复操作步骤二和步骤三,以铣出所需要的万向节扁势后,在将工装固定在机加工孔处,之后通过机加工出中心孔,由于安装槽有避让孔的存在,打孔时不会对工装的安装槽底部造成损伤;
步骤五、将零件翻转90度装入安装槽内,再加工出零件此端面的中心孔,形成十字型的孔,即得万向节。
实施例2Example 2
如图3所示,本实施例与实施例1的不同点在于,在底座上设有横向分布和/或纵向分布的多组安装槽2,每一个安装槽的缺口外均设置定位调节机构。此种结构设置,便于对多个零件进行同时夹持定位,方便多个零件同时加工制造万向节。工装中的各结构与实施例1中均相同,在此不再过多螯述。采用此种结构设置的工装,能够同时加工多个万向节,提高生产效率。同时加工多个万向节的方法与实施例1中的加工方法类似,仅是将多个零件同时采用实施例1中的加工方法进行操作。As shown in FIG. 3 , the difference between this embodiment and
此外,在底座的两侧设有定位夹持槽,便于配合机加工设备上的定位夹持件进行夹紧固定工装。In addition, two sides of the base are provided with positioning and clamping grooves, which are convenient for clamping and fixing tooling in cooperation with the positioning and clamping pieces on the machining equipment.
实施例3Example 3
本实施例与实施例1的不同点在于,底座1上设有导轨,导轨的顶端面与安装槽的底面处于同一个平面,夹持板4设有卡接导轨的卡槽,定位调节机构带动夹持板沿导轨滑动以调节夹持板与安装槽缺口之间的距离。通过此种结构设置,便于调节夹持板到安装槽缺口的距离,能够适应不同规格纵向尺寸的零件进行加工,提高工装的适用性。The difference between this embodiment and
实施例4Example 4
本实施例与实施例1的不同点在于,安装槽的缺口两端与夹持板的相应位置形成带有间隙的半圆形槽孔,另外两个半圆形槽孔分别位于安装槽的另外两角处。此结构设置中,在安装槽的缺口两端与夹持板的相应位置形成带有间隙的半圆形槽孔,一方面满足避免刀具圆角导致零件无法装入的问题,另一方面,设置了间隙空间,使得夹持时有一定的预压开合空间,便于刀具装入,同时也减小了刀具在此处的接触面积,减小磕碰率,也给刀具加工时提供了圆角进出预向空间。The difference between this embodiment and
以上结合附图对本发明进行了示例性描述。显然,本发明具体实现并不受上述方式的限制。只要是采用了本发明的方法构思和技术方案进行的各种非实质性的改进;或未经改进,将本发明的上述构思和技术方案直接应用于其它场合的,均在本发明的保护范围之内。The present invention has been exemplarily described above with reference to the accompanying drawings. Obviously, the specific implementation of the present invention is not limited by the above manner. As long as the method concept and technical solution of the present invention are adopted for various non-substantial improvements; or the above-mentioned concept and technical solution of the present invention are directly applied to other occasions without improvement, they are all within the protection scope of the present invention. within.
Claims (10)
Priority Applications (1)
| Application Number | Priority Date | Filing Date | Title |
|---|---|---|---|
| CN202010212872.XA CN111230543A (en) | 2020-03-24 | 2020-03-24 | Universal joint clamping and machining tool and machining method |
Applications Claiming Priority (1)
| Application Number | Priority Date | Filing Date | Title |
|---|---|---|---|
| CN202010212872.XA CN111230543A (en) | 2020-03-24 | 2020-03-24 | Universal joint clamping and machining tool and machining method |
Publications (1)
| Publication Number | Publication Date |
|---|---|
| CN111230543A true CN111230543A (en) | 2020-06-05 |
Family
ID=70862347
Family Applications (1)
| Application Number | Title | Priority Date | Filing Date |
|---|---|---|---|
| CN202010212872.XA Pending CN111230543A (en) | 2020-03-24 | 2020-03-24 | Universal joint clamping and machining tool and machining method |
Country Status (1)
| Country | Link |
|---|---|
| CN (1) | CN111230543A (en) |
Cited By (1)
| Publication number | Priority date | Publication date | Assignee | Title |
|---|---|---|---|---|
| CN114485393A (en) * | 2021-12-30 | 2022-05-13 | 歌尔光学科技有限公司 | Graphic card tool and calibration method |
Citations (6)
| Publication number | Priority date | Publication date | Assignee | Title |
|---|---|---|---|---|
| JPH08326715A (en) * | 1995-05-30 | 1996-12-10 | Akashi:Kk | Gimbal device with clamping mechanism |
| CN104117803A (en) * | 2014-04-25 | 2014-10-29 | 苏州金牛精密机械有限公司 | Product fixing and welding jig |
| CN203918458U (en) * | 2014-07-02 | 2014-11-05 | 马鞍山市联达机械有限责任公司 | A kind of cross axle drilling and milling machine tool |
| CN204123155U (en) * | 2014-09-17 | 2015-01-28 | 宁波市荣科迈特数控刀具有限公司 | A kind of fixture for drill bit processing |
| CN104440288A (en) * | 2013-09-12 | 2015-03-25 | 西安志越机电科技有限公司 | Hydraulic driving type multi-station milling fixture |
| CN211387800U (en) * | 2019-12-30 | 2020-09-01 | 铜陵市三圆特种铸造有限责任公司 | Universal joint clamping and processing tool |
-
2020
- 2020-03-24 CN CN202010212872.XA patent/CN111230543A/en active Pending
Patent Citations (6)
| Publication number | Priority date | Publication date | Assignee | Title |
|---|---|---|---|---|
| JPH08326715A (en) * | 1995-05-30 | 1996-12-10 | Akashi:Kk | Gimbal device with clamping mechanism |
| CN104440288A (en) * | 2013-09-12 | 2015-03-25 | 西安志越机电科技有限公司 | Hydraulic driving type multi-station milling fixture |
| CN104117803A (en) * | 2014-04-25 | 2014-10-29 | 苏州金牛精密机械有限公司 | Product fixing and welding jig |
| CN203918458U (en) * | 2014-07-02 | 2014-11-05 | 马鞍山市联达机械有限责任公司 | A kind of cross axle drilling and milling machine tool |
| CN204123155U (en) * | 2014-09-17 | 2015-01-28 | 宁波市荣科迈特数控刀具有限公司 | A kind of fixture for drill bit processing |
| CN211387800U (en) * | 2019-12-30 | 2020-09-01 | 铜陵市三圆特种铸造有限责任公司 | Universal joint clamping and processing tool |
Cited By (2)
| Publication number | Priority date | Publication date | Assignee | Title |
|---|---|---|---|---|
| CN114485393A (en) * | 2021-12-30 | 2022-05-13 | 歌尔光学科技有限公司 | Graphic card tool and calibration method |
| CN114485393B (en) * | 2021-12-30 | 2024-03-12 | 歌尔光学科技有限公司 | Picture card tool and calibration method |
Similar Documents
| Publication | Publication Date | Title |
|---|---|---|
| CN1360537A (en) | Self-guiding punch and die set | |
| CN111230543A (en) | Universal joint clamping and machining tool and machining method | |
| CN211387800U (en) | Universal joint clamping and processing tool | |
| CN108480940B (en) | Rotary clamping jig and radiating fin machining process using same | |
| CN203209732U (en) | Locating and clamping structure for machining recoil spring pocket | |
| CN210816836U (en) | Cutter head positioning structure for plate folding machine | |
| CN207223007U (en) | Hole drilling die and five station drill jigs | |
| DE102013112732A1 (en) | Motor vehicle battery for the purely electric drive of a motor vehicle | |
| CN112157448A (en) | Flywheel casing full-automatic adjustable clamp for new energy automobile and machining process flow | |
| CN218693922U (en) | Lathe spindle box positioning structure | |
| CN207087154U (en) | A kind of fixture and laser cutting device | |
| CN215432705U (en) | Clamping tool | |
| CN105773236B (en) | A kind of brake pawl fixture for processing | |
| CN214772162U (en) | Adjusting device for industrial robot | |
| CN114670034B (en) | High-precision multifunctional machine tool for long-distance hole | |
| CN116160055A (en) | Ultrasonic cutter clamping mechanism, cutting device and cutting method | |
| CN113369940A (en) | Universal clamp for milling flat plate parts | |
| CN113385692A (en) | Multi-station multifunctional machining lathe | |
| CN217551814U (en) | Milling machine extension workstation | |
| CN112872185B (en) | Arc-shaped silicon steel sheet, arc-shaped silicon steel sheet jig and arc-shaped silicon steel sheet manufacturing method | |
| CN217344171U (en) | Process partition plate for controlling welding deformation of port size of box-shaped component | |
| CN222552820U (en) | A tool for clamping a workpiece | |
| CN214162105U (en) | Auxiliary jig with eccentric shaft channel splicing end cover | |
| CN116330157B (en) | Diamond shovel clamping auxiliary tool and method | |
| CN216607983U (en) | X-axis sliding plate for machine tool |
Legal Events
| Date | Code | Title | Description |
|---|---|---|---|
| PB01 | Publication | ||
| PB01 | Publication | ||
| SE01 | Entry into force of request for substantive examination | ||
| SE01 | Entry into force of request for substantive examination | ||
| CB02 | Change of applicant information | ||
| CB02 | Change of applicant information |
Address after: 244000 No. 4201, west section of Cuihu Sixth Road, Tongling City, Anhui Province Applicant after: Tongling Sanyuan Machinery Manufacturing Co.,Ltd. Address before: 244000 No. 4201, west section of Cuihu Sixth Road, Tongling City, Anhui Province Applicant before: TONGLING SANYUAN SPECIAL CASTING CO.,LTD. |
|
| RJ01 | Rejection of invention patent application after publication |
Application publication date: 20200605 |
