CN111224284A - 电插座 - Google Patents

电插座 Download PDF

Info

Publication number
CN111224284A
CN111224284A CN202010297497.3A CN202010297497A CN111224284A CN 111224284 A CN111224284 A CN 111224284A CN 202010297497 A CN202010297497 A CN 202010297497A CN 111224284 A CN111224284 A CN 111224284A
Authority
CN
China
Prior art keywords
socket
guide groove
socket panel
guide
panel
Prior art date
Legal status (The legal status is an assumption and is not a legal conclusion. Google has not performed a legal analysis and makes no representation as to the accuracy of the status listed.)
Granted
Application number
CN202010297497.3A
Other languages
English (en)
Other versions
CN111224284B (zh
Inventor
梁万龙
肖小清
Current Assignee (The listed assignees may be inaccurate. Google has not performed a legal analysis and makes no representation or warranty as to the accuracy of the list.)
Dongguan Power Supply Bureau of Guangdong Power Grid Co Ltd
Original Assignee
Dongguan Power Supply Bureau of Guangdong Power Grid Co Ltd
Priority date (The priority date is an assumption and is not a legal conclusion. Google has not performed a legal analysis and makes no representation as to the accuracy of the date listed.)
Filing date
Publication date
Application filed by Dongguan Power Supply Bureau of Guangdong Power Grid Co Ltd filed Critical Dongguan Power Supply Bureau of Guangdong Power Grid Co Ltd
Priority to CN202010297497.3A priority Critical patent/CN111224284B/zh
Publication of CN111224284A publication Critical patent/CN111224284A/zh
Application granted granted Critical
Publication of CN111224284B publication Critical patent/CN111224284B/zh
Active legal-status Critical Current
Anticipated expiration legal-status Critical

Links

Images

Classifications

    • HELECTRICITY
    • H01ELECTRIC ELEMENTS
    • H01RELECTRICALLY-CONDUCTIVE CONNECTIONS; STRUCTURAL ASSOCIATIONS OF A PLURALITY OF MUTUALLY-INSULATED ELECTRICAL CONNECTING ELEMENTS; COUPLING DEVICES; CURRENT COLLECTORS
    • H01R13/00Details of coupling devices of the kinds covered by groups H01R12/70 or H01R24/00 - H01R33/00
    • H01R13/46Bases; Cases
    • H01R13/502Bases; Cases composed of different pieces
    • HELECTRICITY
    • H01ELECTRIC ELEMENTS
    • H01RELECTRICALLY-CONDUCTIVE CONNECTIONS; STRUCTURAL ASSOCIATIONS OF A PLURALITY OF MUTUALLY-INSULATED ELECTRICAL CONNECTING ELEMENTS; COUPLING DEVICES; CURRENT COLLECTORS
    • H01R13/00Details of coupling devices of the kinds covered by groups H01R12/70 or H01R24/00 - H01R33/00
    • H01R13/02Contact members
    • H01R13/10Sockets for co-operation with pins or blades
    • H01R13/11Resilient sockets
    • HELECTRICITY
    • H01ELECTRIC ELEMENTS
    • H01RELECTRICALLY-CONDUCTIVE CONNECTIONS; STRUCTURAL ASSOCIATIONS OF A PLURALITY OF MUTUALLY-INSULATED ELECTRICAL CONNECTING ELEMENTS; COUPLING DEVICES; CURRENT COLLECTORS
    • H01R13/00Details of coupling devices of the kinds covered by groups H01R12/70 or H01R24/00 - H01R33/00
    • H01R13/66Structural association with built-in electrical component
    • H01R13/70Structural association with built-in electrical component with built-in switch
    • H01R13/71Contact members of coupling parts operating as switch, e.g. linear or rotational movement required after mechanical engagement of coupling part to establish electrical connection

Landscapes

  • Details Of Connecting Devices For Male And Female Coupling (AREA)

Abstract

本发明涉及电器技术领域,具体公开一种电插座,包括插座本体,以及设置在插座本体表面的插座面板,插座本体表面设置有导槽,插座面板嵌设在导槽内并可沿导槽的槽面移动,插座面板设置有可供插头的插杆插入的第一插孔,导槽设置有对应第一插孔的移动轨迹且可供插杆插入的第二插孔,导槽背离插座面板的一侧设置有连接电路的导电模块,导电模块平行于插座面板移动方向的长度小于导槽的长度,导电模块设置有用于夹持插杆且可导电的夹持结构,插杆插入插座面板后,驱动插座面板沿导槽移动,直至插杆与导电模块电连接。本发明的电插座在狭长空间里能够轻易完全插入第一插孔,也能避免松脱,防止暴露插杆暴露而带来的漏电风险。

Description

电插座
技术领域
本发明涉及电器技术领域,尤其涉及一种电插座。
背景技术
电插座是指一端与电路接线,另一端设有可供插头插入插孔的座。插头通过插杆插入电插座的插孔,能够连接电插座所以连接的各种线路,以便于插头连接用电器与电路接通。插头通过插杆与电插座插孔之间的连接与断开,来实现用电器与电路的接通与断开。
为了防止插头误插入或者插头插入后松动,电插座的插孔内一般设置有能够夹持插头插杆的高弹性导电紧固片。然而,插孔设置高弹性的导电紧固片后,插头变得难以插入,容易产生插头未完全插入而暴露插杆的后果,从而带来漏电风险。并且,当电插座的插座面板正面存在近距离的障碍物时,从障碍物和墙壁的缝隙往狭长空间中的电插座插入插头十分困难,费时费力。
发明内容
本发明实施例的一个目的在于,提供一种电插座,其在狭长空间能被轻易插入,也能避免松脱和暴露插杆。
为达此目的,本发明实施例采用以下技术方案:
提供一种电插座,包括插座本体,以及设置在所述插座本体表面的插座面板,所述插座本体表面设置有导槽,所述插座面板嵌设在所述导槽内并可沿所述导槽的槽面移动,所述插座面板设置有可供插头的插杆插入的第一插孔,所述导槽设置有对应所述第一插孔的移动轨迹且可供所述插杆插入的第二插孔,所述导槽背离所述插座面板的一侧设置有连接电路的导电模块,所述导电模块平行于所述插座面板移动方向的长度小于所述导槽的长度,所述导电模块设置有用于夹持所述插杆且可导电的夹持结构,所述插杆插入所述插座面板后,驱动所述插座面板沿所述导槽移动,直至所述插杆与所述导电模块电连接。
作为电插座的一种优选方案,所述导槽的槽面设置有导轨,所述插座面板靠近所述槽面的一侧设置有对应所述导轨的移动部,所述移动部可在所述导轨上移动。
作为电插座的一种优选方案,所述导电模块设置于所述导槽背离所述插座面板的一侧的中部。
作为电插座的一种优选方案,所述夹持结构的中部间隙小于所述夹持结构两端的间隙,以使所述插杆在所述夹持结构中部所受到的夹持力大于在所述夹持结构两端所受到的夹持力。
作为电插座的一种优选方案,所述导槽上至少设置有一个锁定机构,所述导槽上靠近所述导电模块的位置为第一位置,所述导槽上远离所述导电模块的位置为第二位置,所述锁定机构设置在所述第一位置上,或所述锁定机构分别设置在所述第一位置和所述第二位置上,所述插座面板设置有与所述锁定机构配合连接的固定部,以使所述插座面板固定在所述锁定机构上。
作为电插座的一种优选方案,所述固定部为凹槽,所述锁定机构可嵌设在所述凹槽中。
作为电插座的一种优选方案,所述插座面板沿移动方向的两端分别设置有遮蔽部,所述遮蔽部用于遮蔽所述第二插孔。
作为电插座的一种优选方案,所述遮蔽部为柔性片状材料,所述插座本体沿所述插座面板移动方向的两端面分别设置有开孔,所述插座本体位于所述导槽延伸方向的两个端面分别设置有导引部,所述导引部连接所述开孔和所述导槽,所述遮蔽部通过所述开孔延伸至所述导引部上,以使所述插座面板在所述导槽上移动时所述遮蔽部始终遮蔽所述第二插孔。
作为电插座的一种优选方案,所述导引部还包括若干个滚轮,所述遮蔽部延伸至所述滚轮上。
作为电插座的一种优选方案,所述滚轮的数量为两个或两个以上时,所述遮蔽部的延伸部分末端卷绕在其中两个所述滚轮上
本发明实施例的有益效果为:
通过插座本体和设置在插座本体表面的插座面板来形成电插座,其中,插座本体表面设置有可以嵌设插座面板的导槽,插座面板可沿着导槽的槽面相对插座本体移动。插座面板上设置有可插入插头的插杆的第一插孔,导槽上相应地设置有对应第一插孔的移动轨迹且也可供插杆插入的第二插孔,而导槽背离插座面板的一侧设置有导电模块,导电模块平行于插座面板移动方向的长度小于导槽的长度。而且导电模块上设置有用于夹持插杆且同样可导电的夹持结构,将插头插入第一插孔和第二插孔时,可以驱动插头和插座面板从导槽的端部移动至导槽靠近导电模块的位置,直至插头的插杆被夹持结构夹持而与导电模块电连接,从而使得导电模块连接的电路与插头连接的电器连通。本发明实施例的电插座通过可在导槽上移动的插座面板,将插头导向至有夹持结构的导电模块上,在狭长空间中插头也能够轻易完全插入第一插孔,通过将插头和插座面板移动至导电模块所在位置时,插头的插杆能被夹持而避免松脱,避免暴露插杆暴露而带来漏电风险。
附图说明
下面根据附图和实施例对本发明作进一步详细说明。
图1为本发明一实施例提供的电插座的结构示意图。
图2为本发明另一实施例提供的电插座的结构示意图。
图3为本发明一实施例提供的电插座的截面剖视图。
图4为本发明一实施例提供的电插座的局部结构示意图。
图5为本发明另一实施例提供的电插座的截面剖视图。
图6为本发明另一实施例提供的电插座的截面剖视图。
图7为本发明另一实施例提供的电插座的结构示意图。
图8为本发明另一实施例提供的电插座的局部结构示意图。
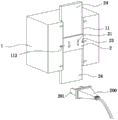
图中:
1、插座本体;11、导槽;111、第二插孔;112、导轨;113、锁定机构;114、第一位置;115、第二位置;12、导电模块;121、夹持结构;13、开孔;14、导引部;141、滚轮;
2、插座面板;21、第一插孔;22、移动部;23、固定部;24、遮蔽部;
200、插头;201、插杆;300、电路。
具体实施方式
为使本发明解决的技术问题、采用的技术方案和达到的技术效果更加清楚,下面将结合附图对本发明实施例的技术方案作进一步的详细描述,显然,所描述的实施例仅仅是本发明一部分实施例,而不是全部的实施例。基于本发明中的实施例,本领域技术人员在没有作出创造性劳动前提下所获得的所有其他实施例,都属于本发明保护的范围。
在本发明的描述中,除非另有明确的规定和限定,术语“相连”、“连接”、“固定”应做广义理解,例如,可以是固定连接,也可以是可拆卸连接,或成一体;可以是机械连接,也可以是电连接;可以是直接相连,也可以通过中间媒介间接相连,可以是两个元件内部的连通或两个元件的相互作用关系。对于本领域的普通技术人员而言,可以具体情况理解上述术语在本发明中的具体含义。
在本发明中,除非另有明确的规定和限定,第一特征在第二特征之“上”或之“下”可以包括第一和第二特征直接接触,也可以包括第一和第二特征不是直接接触而是通过它们之间的另外的特征接触。而且,第一特征在第二特征“之上”、“上方”和“上面”包括第一特征在第二特征正上方和斜上方,或仅仅表示第一特征水平高度高于第二特征。第一特征在第二特征“之下”、“下方”和“下面”包括第一特征在第二特征正下方和斜下方,或仅仅表示第一特征水平高度小于第二特征。
参考图1和图3,本发明实施例提供一种电插座,包括插座本体1,以及设置在插座本体1表面的插座面板2,插座本体1表面设置有导槽11,插座面板2嵌设在导槽11内并可沿导槽11的槽面移动,插座面板2设置有可供插头200的插杆201插入的第一插孔21,导槽11设置有对应第一插孔21的移动轨迹且可供插杆201插入的第二插孔111,导槽11背离插座面板2的一侧设置有连接电路300的导电模块12,导电模块12平行于插座面板2移动方向的长度小于导槽11的长度,导电模块12设置有用于夹持插杆201且可导电的夹持结构121,插杆201插入插座面板2后,驱动插座面板2沿导槽11移动,直至插杆201与导电模块12电连接。
本发明实施例通过插座本体1和设置在插座本体1表面的插座面板2来形成电插座,其中,插座本体1表面设置有可以嵌设插座面板2的导槽11,插座面板2可沿着导槽11的槽面相对插座本体1移动。插座面板2上设置有可插入插头200的插杆201的第一插孔21,导槽11上相应地设置有对应第一插孔21的移动轨迹且也可供插杆201插入的第二插孔111,而导槽11背离插座面板2的一侧设置有导电模块12,导电模块12平行于插座面板2移动方向的长度小于导槽11的长度。而且导电模块12上设置有用于夹持插杆201且同样可导电的夹持结构121,将插头200插入第一插孔21和第二插孔111时,可以驱动插头200和插座面板2从导槽11的端部移动至导槽11靠近导电模块12的位置,直至插头200的插杆201被夹持结构121夹持而与导电模块12电连接,从而使得导电模块12连接的电路300与插头200连接的电器连通。本发明实施例的电插座通过可在导槽11上移动的插座面板2,将插头200导向至有夹持结构121的导电模块12上,在狭长空间中插头200也能够轻易完全插入第一插孔21,通过将插头200和插座面板2移动至导电模块12所在位置时,插头200的插杆201能被夹持而避免松脱,避免暴露插杆201暴露而带来漏电风险。
在一个实施例中,参考图3和图8,导槽11的槽面设置有导轨112,插座面板2靠近导槽11的槽面的一侧设置有对应导轨112的移动部22,移动部22可在导轨112上移动,通过导轨112对移动部22的限位,从而实现插座本体1对插座面板2的限位,防止插座面板2脱离导槽11。
本发明实施例的电插座可以设置在不同高度,为了满足在不同高度的使用需求,在另一个实施例中,参考图3,导电模块12可以设置于导槽11背离插座面板2的一侧的中部,插座面板2可以从导槽11的两端中的任意一端向中部滑动。例如,当本实施例的电插座设置在低于人体腰线的位置时,插座面板2的原始位置设置在导槽11的下端,操作者可以将插头200插入插座面板2后从下往上移动插座面板2,使得插头200的插杆201与位于导槽11中部的导电模块12接触时,插杆201与夹持结构121接触并被夹持,与插头200相连的电器与电路300实现电连接;当本实施例的电插座设置在高于于人体腰线的位置时,插座面板2的原始位置设置在导槽11的上端,操作同理,本实施例不再赘述。
进一步地,参考图4,夹持结构121的中部间隙小于夹持结构121两端的间隙,以使插杆201在夹持结构121中部所受到的夹持力大于在夹持结构121两端所受到的夹持力,本实施例的夹持力为插杆201与夹持结构121之间的摩擦力,本实施例能够提升插头200在电插座上从上往中部移动或者从下往中部移动时,插杆201初次接触夹持结构121受到的阻力小于插杆201位于夹持结构121中部受到的阻力,使得本实施例的插头200易于插入使用。
在另一个实施例中,参考图2和图5,导槽11上至少设置有一个锁定机构113,导槽11上靠近导电模块12的位置为第一位置114,导槽11上远离导电模块12的位置为第二位置115,锁定机构113设置在第一位置114上,或锁定机构113分别设置在第一位置114和第二位置115上,插座面板2设置有与锁定机构113配合连接的固定部23,以使插座面板2固定在锁定机构113上。
优选地,固定部23为凹槽,锁定机构113可嵌设在凹槽中。
特别地,参考图2,插座面板2沿移动方向的两端分别设置有遮蔽部24,遮蔽部24用于遮蔽第二插孔111,能够防止第二插孔111暴露,避免儿童使用导电物体误触,也避免尘埃进入。
进一步地,参考图3和图7,遮蔽部24为柔性片状材料,插座本体1沿插座面板2移动方向的两端面分别设置有开孔13,插座本体1位于导槽11延伸方向的两个端面分别设置有导引部14,导引部14连接开孔13和导槽11,遮蔽部24通过开孔13延伸至导引部14上,以使插座面板2在导槽11上移动时遮蔽部24始终遮蔽第二插孔111,且不会突出于电插座的表面。
优选地,参考图5和图6,导引部14还包括若干个滚轮141,遮蔽部24延伸至滚轮141上,能够通过滚轮141对遮蔽部24提供张紧的作用。
在一个优选的实施例中,参考图6,滚轮141的数量为两个或两个以上时,遮蔽部24的延伸部分末端卷绕在其中两个滚轮141上,能够避免遮蔽部24占用导电模块12或电路300的体积,从而减少电插座的整体体积。
于本文的描述中,需要理解的是,术语“上”、“下”、“右”等方位或位置关系为基于附图所示的方位或位置关系,仅是为了便于描述和简化操作,而不是指示或暗示所指的装置或元件必须具有特定的方位、以特定的方位构造和操作,因此不能理解为对本发明的限制。此外,术语“第一”、“第二”、“第三”,仅仅用于在描述上加以区分,并没有特殊的含义。
在本说明书的描述中,参考术语“一实施例”、“示例”等的描述意指结合该实施例或示例描述的具体特征、结构、材料或者特点包含于本发明的至少一个实施例或示例中。在本说明书中,对上述术语的示意性表述不一定指的是相同的实施例或示例。
此外,应当理解,虽然本说明书按照实施方式加以描述,但并非每个实施方式仅包含一个独立的技术方案,说明书的这种叙述方式仅仅是为清楚起见,本领域技术人员应当将说明书作为一个整体,各实施例中的技术方案也可以适当组合,形成本领域技术人员可以理解的其他实施方式。
以上结合具体实施例描述了本发明的技术原理。这些描述只是为了解释本发明的原理,而不能以任何方式解释为对本发明保护范围的限制。基于此处的解释,本领域的技术人员不需要付出创造性的劳动即可联想到本发明的其它具体实施方式,这些方式都将落入本发明的保护范围之内。

Claims (10)

1.一种电插座,其特征在于,包括插座本体,以及设置在所述插座本体表面的插座面板,所述插座本体表面设置有导槽,所述插座面板嵌设在所述导槽内并可沿所述导槽的槽面移动,所述插座面板设置有可供插头的插杆插入的第一插孔,所述导槽设置有对应所述第一插孔的移动轨迹且可供所述插杆插入的第二插孔,所述导槽背离所述插座面板的一侧设置有连接电路的导电模块,所述导电模块平行于所述插座面板移动方向的长度小于所述导槽的长度,所述导电模块设置有用于夹持所述插杆且可导电的夹持结构,所述插杆插入所述插座面板后,驱动所述插座面板沿所述导槽移动,直至所述插杆与所述导电模块电连接。
2.根据权利要求1所述的电插座,其特征在于,所述导槽的槽面设置有导轨,所述插座面板靠近所述槽面的一侧设置有对应所述导轨的移动部,所述移动部可在所述导轨上移动。
3.根据权利要求1所述的电插座,其特征在于,所述导电模块设置于所述导槽背离所述插座面板的一侧的中部。
4.根据权利要求3所述的电插座,其特征在于,所述夹持结构的中部间隙小于所述夹持结构两端的间隙,以使所述插杆在所述夹持结构中部所受到的夹持力大于在所述夹持结构两端所受到的夹持力。
5.根据权利要求1所述的电插座,其特征在于,所述导槽上至少设置有一个锁定机构,所述导槽上靠近所述导电模块的位置为第一位置,所述导槽上远离所述导电模块的位置为第二位置,所述锁定机构设置在所述第一位置上,或所述锁定机构分别设置在所述第一位置和所述第二位置上,所述插座面板设置有与所述锁定机构配合连接的固定部,以使所述插座面板固定在所述锁定机构上。
6.根据权利要求5所述的电插座,其特征在于,所述固定部为凹槽,所述锁定机构可嵌设在所述凹槽中。
7.根据权利要求1所述的电插座,其特征在于,所述插座面板沿移动方向的两端分别设置有遮蔽部,所述遮蔽部用于遮蔽所述第二插孔。
8.根据权利要求7所述的电插座,其特征在于,所述遮蔽部为柔性片状材料,所述插座本体沿所述插座面板移动方向的两端面分别设置有开孔,所述插座本体位于所述导槽延伸方向的两个端面分别设置有导引部,所述导引部连接所述开孔和所述导槽,所述遮蔽部通过所述开孔延伸至所述导引部上,以使所述插座面板在所述导槽上移动时所述遮蔽部始终遮蔽所述第二插孔。
9.根据权利要求8所述的电插座,其特征在于,所述导引部还包括若干个滚轮,所述遮蔽部延伸至所述滚轮上。
10.根据权利要求9所述的电插座,其特征在于,所述滚轮的数量为两个或两个以上时,所述遮蔽部的延伸部分末端卷绕在其中两个所述滚轮上。
CN202010297497.3A 2020-04-16 2020-04-16 电插座 Active CN111224284B (zh)

Priority Applications (1)

Application Number Priority Date Filing Date Title
CN202010297497.3A CN111224284B (zh) 2020-04-16 2020-04-16 电插座

Applications Claiming Priority (1)

Application Number Priority Date Filing Date Title
CN202010297497.3A CN111224284B (zh) 2020-04-16 2020-04-16 电插座

Publications (2)

Publication Number Publication Date
CN111224284A true CN111224284A (zh) 2020-06-02
CN111224284B CN111224284B (zh) 2020-08-04

Family

ID=70827342

Family Applications (1)

Application Number Title Priority Date Filing Date
CN202010297497.3A Active CN111224284B (zh) 2020-04-16 2020-04-16 电插座

Country Status (1)

Country Link
CN (1) CN111224284B (zh)

Citations (4)

* Cited by examiner, † Cited by third party
Publication number Priority date Publication date Assignee Title
CN2917009Y (zh) * 2006-03-30 2007-06-27 郑启文 可锁扣插头的插座
CN102347568A (zh) * 2010-07-30 2012-02-08 北京固融科技有限公司 滑动式电连接装置及插头、插座、插线板
CN208142448U (zh) * 2018-05-09 2018-11-23 广东电网有限责任公司 一种电缆接驳装置
CN109522505A (zh) * 2016-10-09 2019-03-26 腾讯科技(深圳)有限公司 信息发布方法、装置、存储介质和电子装置

Patent Citations (4)

* Cited by examiner, † Cited by third party
Publication number Priority date Publication date Assignee Title
CN2917009Y (zh) * 2006-03-30 2007-06-27 郑启文 可锁扣插头的插座
CN102347568A (zh) * 2010-07-30 2012-02-08 北京固融科技有限公司 滑动式电连接装置及插头、插座、插线板
CN109522505A (zh) * 2016-10-09 2019-03-26 腾讯科技(深圳)有限公司 信息发布方法、装置、存储介质和电子装置
CN208142448U (zh) * 2018-05-09 2018-11-23 广东电网有限责任公司 一种电缆接驳装置

Also Published As

Publication number Publication date
CN111224284B (zh) 2020-08-04

Similar Documents

Publication Publication Date Title
CN102651520B (zh) 电连接器组件
CN102610960B (zh) 电连接器组件
EP2741373B1 (en) Electrical connector
CN111786213A (zh) 一种通电导轨及轨道插座
CN108987983B (zh) 一种家居用墙壁插座防护设备
US10103471B1 (en) Reversible connector interface
CN111224284A (zh) 电插座
CN116470327A (zh) 一种安全插座
CN110247221B (zh) 组合式出线装置
EP2680370B1 (en) Electric connector
CN110212377A (zh) 一种连接器及屏蔽片
CN216214617U (zh) 一种带滑轨可滑动开关插座面板
CN114696134B (zh) 插接式接口转换连接器
CN105161905A (zh) 插座的防尘机构
CN117791210A (zh) 一种母端连接器
CN111326371A (zh) 一种线路保护接触器
CN202474304U (zh) 电源插座
CN212968174U (zh) 一种超长寿命的工业电源插座
CN219304014U (zh) 一种具有保护外壳的连接器
CN215221188U (zh) 一种快速安装和拆卸的桌面插座
CN220122627U (zh) 一种充电装置及其工作台
CN221552343U (zh) 一种电气施工用电源接头
CN112421290A (zh) 一种便于拔插的插头
CN112103735A (zh) 一种便于电器取电的滑动式插座
CN102610946B (zh) 电源插座

Legal Events

Date Code Title Description
PB01 Publication
PB01 Publication
SE01 Entry into force of request for substantive examination
SE01 Entry into force of request for substantive examination
GR01 Patent grant
GR01 Patent grant