CN111190462A - Dustproof damping slot for host - Google Patents

Dustproof damping slot for host Download PDF

Info

Publication number
CN111190462A
CN111190462A CN201911399178.7A CN201911399178A CN111190462A CN 111190462 A CN111190462 A CN 111190462A CN 201911399178 A CN201911399178 A CN 201911399178A CN 111190462 A CN111190462 A CN 111190462A
Authority
CN
China
Prior art keywords
slot
guide
dustproof
main body
guide plate
Prior art date
Legal status (The legal status is an assumption and is not a legal conclusion. Google has not performed a legal analysis and makes no representation as to the accuracy of the status listed.)
Granted
Application number
CN201911399178.7A
Other languages
Chinese (zh)
Other versions
CN111190462B (en
Inventor
肖贤建
庄燕滨
田国忠
孟祥莲
Current Assignee (The listed assignees may be inaccurate. Google has not performed a legal analysis and makes no representation or warranty as to the accuracy of the list.)
Changzhou Institute of Technology
Original Assignee
Changzhou Institute of Technology
Priority date (The priority date is an assumption and is not a legal conclusion. Google has not performed a legal analysis and makes no representation as to the accuracy of the date listed.)
Filing date
Publication date
Application filed by Changzhou Institute of Technology filed Critical Changzhou Institute of Technology
Priority to CN201911399178.7A priority Critical patent/CN111190462B/en
Publication of CN111190462A publication Critical patent/CN111190462A/en
Application granted granted Critical
Publication of CN111190462B publication Critical patent/CN111190462B/en
Active legal-status Critical Current
Anticipated expiration legal-status Critical

Links

Images

Classifications

    • GPHYSICS
    • G06COMPUTING OR CALCULATING; COUNTING
    • G06FELECTRIC DIGITAL DATA PROCESSING
    • G06F1/00Details not covered by groups G06F3/00 - G06F13/00 and G06F21/00
    • G06F1/16Constructional details or arrangements
    • G06F1/18Packaging or power distribution
    • G06F1/183Internal mounting support structures, e.g. for printed circuit boards, internal connecting means
    • HELECTRICITY
    • H01ELECTRIC ELEMENTS
    • H01RELECTRICALLY-CONDUCTIVE CONNECTIONS; STRUCTURAL ASSOCIATIONS OF A PLURALITY OF MUTUALLY-INSULATED ELECTRICAL CONNECTING ELEMENTS; COUPLING DEVICES; CURRENT COLLECTORS
    • H01R13/00Details of coupling devices of the kinds covered by groups H01R12/70 or H01R24/00 - H01R33/00
    • H01R13/46Bases; Cases
    • H01R13/52Dustproof, splashproof, drip-proof, waterproof, or flameproof cases
    • HELECTRICITY
    • H01ELECTRIC ELEMENTS
    • H01RELECTRICALLY-CONDUCTIVE CONNECTIONS; STRUCTURAL ASSOCIATIONS OF A PLURALITY OF MUTUALLY-INSULATED ELECTRICAL CONNECTING ELEMENTS; COUPLING DEVICES; CURRENT COLLECTORS
    • H01R13/00Details of coupling devices of the kinds covered by groups H01R12/70 or H01R24/00 - H01R33/00
    • H01R13/62Means for facilitating engagement or disengagement of coupling parts or for holding them in engagement
    • H01R13/629Additional means for facilitating engagement or disengagement of coupling parts, e.g. aligning or guiding means, levers, gas pressure electrical locking indicators, manufacturing tolerances

Landscapes

  • Engineering & Computer Science (AREA)
  • Theoretical Computer Science (AREA)
  • Computer Hardware Design (AREA)
  • Power Engineering (AREA)
  • Human Computer Interaction (AREA)
  • Physics & Mathematics (AREA)
  • General Engineering & Computer Science (AREA)
  • General Physics & Mathematics (AREA)
  • Connector Housings Or Holding Contact Members (AREA)

Abstract

本发明提供一种用于主机防尘减震插槽,涉及计算机技术领域,以解决现有的插槽槽口均裸露在外,一方面,由于计算机本身的静电和热吸附都致使插槽极易吸收灰尘,另一方面,插槽本身结构较小,不易添加防尘机构,结构较为复杂的防尘结构极易使得插槽在使用过程中出现问题的问题,包括插槽主体;所述插槽主体的后端内插有内接头。本发明中由于导向机构的左端和右端分别垂直设置有凹状的导向槽,引导板与防尘机构之间的导向柱上套接有缓冲弹簧,当从外部通过插头挤压引导板时,引导板可向上下两侧分开,当插头插劲后,引导板可在缓冲弹簧将插头进一步固定,防止脱落,并且当闲置时,引导板可始终保持闭合,以便于进行防尘。

Figure 201911399178

The present invention provides a dust-proof and shock-absorbing slot for a host computer, which relates to the technical field of computers, so as to solve the problem that the notches of the existing slot are exposed. It absorbs dust. On the other hand, the structure of the slot itself is small, and it is not easy to add a dust-proof mechanism. The dust-proof structure with a more complex structure can easily cause problems in the use of the slot, including the main body of the slot; the slot An inner connector is inserted into the rear end of the main body. In the present invention, the left end and the right end of the guide mechanism are respectively vertically provided with concave guide grooves, and a buffer spring is sleeved on the guide column between the guide plate and the dustproof mechanism. When the guide plate is pressed from the outside through the plug, the guide plate It can be separated from the upper and lower sides. When the plug is inserted, the guide plate can further fix the plug in the buffer spring to prevent it from falling off, and when it is idle, the guide plate can always be kept closed to facilitate dust prevention.

Figure 201911399178

Description

Dustproof damping slot for host
Technical Field
The invention relates to the technical field of computers, in particular to a dustproof damping slot for a host.
Background
Along with the increase of computer users, people's requirement to the computer performance is higher and higher, the user can insert some expansion cards in the slot on the computer mainboard usually, be used for improving computer characteristic and function, but the slot exposes in the air usually, when not using, the dust in the air gets into in the slot easily, can cause plug-in card and slot contact failure when using, reduce life, and computer host places subaerial usually, the user is the leg easily played the host computer when using, cause the vibration of slot, make the plug-in card break away from the slot easily, influence the use.
A dustproof shock attenuation slot of computer as in patent application CN201821086476.1, which comprises a housin, the equal fixedly connected with connecting block in both ends side of casing, the side of connecting block is equipped with first logical groove, the inside in first logical groove has first dust guard and second dust guard of sliding connection respectively, the side fixedly connected with slide bar of first dust guard and second dust guard, the side of connecting block is equipped with first through-hole, the one end of first through-hole is connected in the terminal surface in first logical groove, the side sliding connection of slide bar is in the inside of first through-hole, the side sliding of slide bar has cup jointed first spring, the one end fixed connection of first spring is in the side of first dust guard and second dust guard, the other end fixed connection of first spring is on the terminal surface of first through-hole, the side fixedly connected with fixture block of first dust guard. This dustproof shock attenuation slot of computer can prevent that the dust from getting into inside the slot, increase of service life.
Usually, current slot notch all exposes outside, on the one hand, because the static and the thermal adsorption of computer itself all cause the slot to easily absorb the dust, on the other hand, slot structure itself is less, is difficult for adding dustproof mechanism, and the dustproof construction that the structure is comparatively complicated very easily makes the slot go wrong in the use.
Therefore, in view of the above, research and improvement are made for the existing structure and defects, and a dustproof and shock-absorbing slot for a host is provided, so as to achieve the purpose of higher practical value.
Disclosure of Invention
In order to solve the technical problems, the invention provides a dustproof and damping slot for a host, which aims to solve the problems that the slot is exposed outside, on one hand, the slot is easy to absorb dust due to static electricity and thermal adsorption of a computer, on the other hand, the slot is small in structure, a dustproof mechanism is not easy to add, and the slot is easy to cause problems in the use process due to the dustproof structure with a complicated structure.
The invention is used for the purpose and the effect of the dustproof damping slot of the host, and is achieved by the following specific technical means:
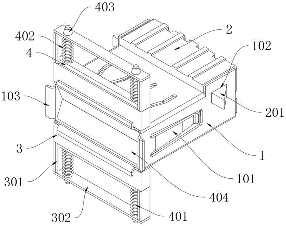
a dustproof and shock-absorbing slot for a host comprises a slot main body; an inner joint is inserted into the rear end of the slot main body; the slot main body and the inner joint form an L-shaped structure together; the upper end and the lower end of the front end of the slot main body are respectively and vertically provided with a guide mechanism; the guide mechanism comprises a guide groove and a sealing plate, the left end and the right end of the guide mechanism are respectively and vertically provided with a concave guide groove, and the sealing plate is fixedly arranged at the outer end of the guide groove; and a dustproof mechanism is arranged in the guide mechanism.
Furthermore, the slot main body comprises extrusion clappers, a clamping groove, a turned edge and a door hole, the left side wall, the right side wall, the upper side wall and the lower side wall of the slot main body are respectively and longitudinally provided with the extrusion clappers, one end of each extrusion clapper is fixedly connected with the slot main body, and the other end of each extrusion clapper is bent upwards and then tilted.
Furthermore, the slot main body further comprises a clamping groove, and rectangular clamping grooves which penetrate left and right are formed in the rear ends of the left end side wall and the right end side wall of the slot main body respectively.
Furthermore, the slot main body further comprises a turned edge and a door hole, the front end notch ring edge of the slot main body is respectively provided with an outward-turned edge, and the upper end and the lower end of the slot main body on the rear side of the turned edge are respectively provided with a rectangular door hole.
Furthermore, the inner joint comprises wing lugs, the left end and the right end of the inner joint are respectively provided with wedge-shaped wing lugs with soft texture, and the wing lugs are matched with the clamping grooves.
Further, dustproof mechanism includes guide post, buffer spring, end cap and guide board, the guide board is installed perpendicularly to dustproof mechanism's outer end, and its two be the scarf structure on the preceding lateral wall of butt joint department of guide board, the upper end of guide post slides and passes the guide board, two guide posts are installed to perpendicular symmetry on dustproof mechanism's the upper end plane, and the outer end of its guide post slides respectively and pegs graft on corresponding shrouding, buffer spring has been cup jointed on the guide post between guide board and the dustproof mechanism, the outer end spiro union of guide post has the end cap of truncated cone shape.
Furthermore, the height of the guide plate is lower than that of the guide mechanism, and the height of the guide plate is half of that of the slot main body.
Compared with the prior art, the invention has the following beneficial effects:
because the left end and the right-hand member of guiding mechanism are provided with the guide way of concavity respectively perpendicularly, the outer end fixed mounting of guide way has the shrouding, can guide dustproof mechanism to remove, and the inner fixed mounting of dustproof mechanism has the guide board that the front end is the inclined plane structure, two guide posts are installed to dustproof mechanism's upper end symmetry, the outer end horizontal installation of dustproof mechanism has the guide board, the upper end of guide post slides and passes the guide board, buffer spring has been cup jointed on the guide post between guide board and the dustproof mechanism, when from the outside when through plug extrusion guide board, the guide board can separate to upper and lower both sides, after the plug is inserted hard, the guide board can further fix the plug at buffer spring, prevent to drop, and when idle, the guide board can remain closed throughout, so that prevent dust.
Additional advantages, objects, and features of the invention will be set forth in part in the description which follows and in part will become apparent to those having ordinary skill in the art upon examination of the following or may be learned from practice of the invention.
Drawings
FIG. 1 is a front right upper axial view of the present invention.
Fig. 2 is a schematic diagram of the left rear upper axial view structure of the invention.
Fig. 3 is a schematic front view of the present invention.
Fig. 4 is a schematic top view of the present invention.
Fig. 5 is a schematic structural view of the dust-proof mechanism of the present invention in an open state.
FIG. 6 is a schematic view showing a structure in which a socket body and an inner joint part of the present invention are separated from each other.
Fig. 7 is an axial view of the socket body and the guiding mechanism of the present invention in a partially separated state.
Fig. 8 is a partial axial view of the guide mechanism of the present invention.
In the drawings, the corresponding relationship between the component names and the reference numbers is as follows:
1. a socket body; 101. extruding the tongue plate; 102. a card slot; 103. curling; 104. a door opening; 2. an inner joint; 201. A wing ear; 3. a guide mechanism; 301. a guide groove; 302. closing the plate; 4. a dust-proof mechanism; 401. a guide post; 402. a buffer spring; 403. a plug; 404. a guide plate.
Detailed Description
The embodiments of the present invention will be described in further detail with reference to the drawings and examples. The following examples are intended to illustrate the invention but are not intended to limit the scope of the invention.
In the description of the present invention, "a plurality" means two or more unless otherwise specified; the terms "upper", "lower", "left", "right", "inner", "outer", "front", "rear", "head", "tail", and the like, indicate orientations or positional relationships based on the orientations or positional relationships shown in the drawings, are only for convenience in describing and simplifying the description, and do not indicate or imply that the device or element referred to must have a particular orientation, be constructed in a particular orientation, and be operated, and thus, should not be construed as limiting the invention. Furthermore, the terms "first," "second," "third," and the like are used for descriptive purposes only and are not to be construed as indicating or implying relative importance.
In the description of the present invention, it is to be noted that, unless otherwise explicitly specified or limited, the terms "connected" and "connected" are to be interpreted broadly, e.g., as being fixed or detachable or integrally connected; can be mechanically or electrically connected; may be directly connected or indirectly connected through an intermediate. The specific meanings of the above terms in the present invention can be understood in specific cases to those skilled in the art.
Example (b):
as shown in figures 1 to 8:
the invention provides a dustproof damping slot for a host, which comprises a slot main body 1; an inner joint 2 is inserted into the rear end of the slot main body 1; the slot body 1 and the inner joint 2 jointly form an L-shaped structure; the upper end and the lower end of the front end of the slot main body 1 are respectively and vertically provided with a guide mechanism 3; the guide mechanism 3 comprises a guide groove 301 and a sealing plate 302, the left end and the right end of the guide mechanism 3 are respectively vertically provided with a concave guide groove 301, and the sealing plate 302 is fixedly arranged at the outer end of the guide groove 301; the guide mechanism 3 is provided with a dust-proof mechanism 4.
The slot body 1 comprises a tongue pressing plate 101, a clamping groove 102, a curled edge 103 and a door hole 104, the tongue pressing plate 101 is longitudinally arranged on the left, right, upper and lower side walls of the slot body 1 respectively, one end of the tongue pressing plate 101 is fixedly connected with the slot body 1, the other end of the tongue pressing plate 101 is bent upwards and then tilted, and the USB plug can be tightly pressed by the tongue pressing plate 101 after the USB plug is inserted due to the fact that the tongue pressing plate 101 protrudes outwards, and the USB plug is prevented from falling off.
The slot body 1 further includes a slot 102, and the rear ends of the left end side wall and the right end side wall of the slot body 1 are respectively provided with a rectangular slot 102 penetrating left and right.
Wherein, slot main body 1 still includes turn-up 103 and door opening 104, and the front end notch ring limit department of slot main body 1 is provided with the turn-up 103 of outer book respectively, and rectangular door opening 104 is seted up respectively to the upper end and the lower extreme of slot main body 1 of turn-up 103 rear side, can make the USB plug have bigger area of contact when inserting, conveniently inserts.
The nipple 2 comprises a wing lug 201, the left end and the right end of the nipple 2 are respectively provided with a wedge-shaped wing lug 201 with soft texture, and the wing lugs 201 are matched with the clamping grooves 102 and can fix the nipple 2 and the slot main body 1.
Wherein, the dustproof mechanism 4 includes guide posts 401, buffer springs 402, plugs 403 and guide plates 404, the outer end of the dustproof mechanism 4 is vertically installed with guide plates 404, the front side wall of the butt joint of the two guide plates 404 is a bevel structure, the upper end of the guide post 401 slides through the guide plates 404, the upper end plane of the dustproof mechanism 4 is vertically and symmetrically installed with two guide posts 401, the outer ends of the guide posts 401 are respectively inserted on the corresponding seal plates 302 in a sliding way, the buffer springs 402 are sleeved on the guide posts 401 between the guide plates 404 and the dustproof mechanism 4, the outer ends of the guide posts 401 are screwed with the plugs 403 in a truncated cone shape, when the guide plates 404 are extruded by a plug from the outside, the guide plates 404 can be separated from the upper side and the lower side, when the plug is tightly inserted, the guide plates 404 can further fix the plug at the buffer springs 402 to prevent falling off, and when the guide plates 404 are idle, the guide plates 404, so as to prevent dust, and the left end and the right end of the inner joint 2 are respectively provided with the wedge-shaped fin ears 201 with softer texture, so that the slot body 1 can be tightly connected with the inner joint 2 to avoid falling off when being vibrated.
The height of the guide plate 404 is lower than that of the guide mechanism 3, and the height of the guide plate 404 is half of the height of the slot body 1.
The specific use mode and function of the embodiment are as follows:
when in use, the concave guide grooves 301 are respectively vertically arranged at the left end and the right end of the guide mechanism 3, the outer end of the guide groove 301 is fixedly provided with the closing plate 302 which can guide the dust-proof mechanism 4 to move, the inner end of the dust-proof mechanism 4 is fixedly provided with the guide plate 404 with the front end in an inclined surface structure, the upper end of the dust-proof mechanism 4 is symmetrically provided with two guide posts 401, the outer end of the dust-proof mechanism 4 is horizontally provided with the guide plate 404, the upper ends of the guide posts 401 slide through the guide plate 404, the buffer spring 402 is sleeved on the guide post 401 between the guide plate 404 and the dust-proof mechanism 4, when the guide plate 404 is extruded by a plug from the outside, the guide plate 404 can be separated from the upper side and the lower side, when the plug is tightly inserted, the guide plate 404 can further fix the plug at the buffer spring 402 to prevent falling off, and the left end and the right end of the inner joint 2 are respectively provided with the wedge-shaped fin ears 201 with softer texture, so that the slot main body 1 can be tightly connected with the inner joint 2, and the falling off when the vibration is received can be avoided.
The embodiments of the present invention have been presented for purposes of illustration and description, and are not intended to be exhaustive or limited to the invention in the form disclosed. Many modifications and variations will be apparent to those of ordinary skill in the art. The embodiment was chosen and described in order to best explain the principles of the invention and the practical application, and to enable others of ordinary skill in the art to understand the invention for various embodiments with various modifications as are suited to the particular use contemplated.

Claims (7)

1. The utility model provides a be used for dustproof shock attenuation slot of host computer which characterized in that: comprises a socket main body (1); an inner joint (2) is inserted into the rear end of the slot main body (1); the slot main body (1) and the inner joint (2) jointly form an L-shaped structure; the upper end and the lower end of the front end of the slot main body (1) are respectively and vertically provided with a guide mechanism (3); the guide mechanism (3) comprises a guide groove (301) and a sealing plate (302), the left end and the right end of the guide mechanism (3) are respectively and vertically provided with a concave guide groove (301), and the sealing plate (302) is fixedly arranged at the outer end of the guide groove (301); and a dustproof mechanism (4) is installed in the guide mechanism (3).
2. The dustproof and shock-absorbing slot for host computer according to claim 1, wherein: the slot main body (1) comprises extrusion clappers (101), a clamping groove (102), a turned edge (103) and a door hole (104), the extrusion clappers (101) are longitudinally arranged on the left side wall, the right side wall, the upper side wall and the lower side wall of the slot main body (1) respectively, one end of each extrusion clapper (101) is fixedly connected with the slot main body (1), and the other end of each extrusion clapper is bent upwards and then tilted.
3. The dustproof and shock-absorbing slot for host computer according to claim 1 or 2, wherein: the slot body (1) further comprises a clamping groove (102), and the rear ends of the left end side wall and the right end side wall of the slot body (1) are respectively provided with a rectangular clamping groove (102) which penetrates through the slot body from left to right.
4. The dustproof and shock-absorbing slot for host computer according to claim 1 or 2, wherein: the slot body (1) further comprises a turned edge (103) and a door hole (104), the turned edge (103) which is outward rolled is arranged at the annular edge of the slot opening at the front end of the slot body (1), and the rectangular door hole (104) is formed in the upper end and the lower end of the slot body (1) at the rear side of the turned edge (103) respectively.
5. The dustproof and shock-absorbing slot for host computer according to claim 1, wherein: the inner joint (2) comprises wing lugs (201), the left end and the right end of the inner joint (2) are respectively provided with wedge-shaped wing lugs (201) which are soft in texture, and the wing lugs (201) are adapted to the clamping grooves (102).
6. The dustproof and shock-absorbing slot for host computer according to claim 1, wherein: the dustproof mechanism (4) comprises a guide post (401), a buffer spring (402) and a plug (403)
And a guide plate (404), the outer end of the dustproof mechanism (4) is perpendicularly provided with the guide plate (404), the guide plate is two, a scarf structure is arranged on the front side wall of the butt joint of the guide plate (404), the upper end of each guide post (401) slides to penetrate through the guide plate (404), two guide posts (401) are perpendicularly and symmetrically arranged on the upper end plane of the dustproof mechanism (4), the outer ends of the guide posts (401) are respectively slidably inserted into corresponding seal plates (302), the guide posts (401) between the guide plate (404) and the dustproof mechanism (4) are sleeved with buffer springs (402), and the outer ends of the guide posts (401) are screwed with plugs (403) in a truncated cone shape.
7. The dustproof and shock-absorbing slot for host computer according to claim 1, wherein: the height of the guide plate (404) is lower than that of the guide mechanism (3), and the height of the guide plate (404) is half of that of the slot main body (1).
CN201911399178.7A 2019-12-30 2019-12-30 A dust-proof and shock-absorbing slot for the host Active CN111190462B (en)

Priority Applications (1)

Application Number Priority Date Filing Date Title
CN201911399178.7A CN111190462B (en) 2019-12-30 2019-12-30 A dust-proof and shock-absorbing slot for the host

Applications Claiming Priority (1)

Application Number Priority Date Filing Date Title
CN201911399178.7A CN111190462B (en) 2019-12-30 2019-12-30 A dust-proof and shock-absorbing slot for the host

Publications (2)

Publication Number Publication Date
CN111190462A true CN111190462A (en) 2020-05-22
CN111190462B CN111190462B (en) 2021-06-08

Family

ID=70707889

Family Applications (1)

Application Number Title Priority Date Filing Date
CN201911399178.7A Active CN111190462B (en) 2019-12-30 2019-12-30 A dust-proof and shock-absorbing slot for the host

Country Status (1)

Country Link
CN (1) CN111190462B (en)

Citations (7)

* Cited by examiner, † Cited by third party
Publication number Priority date Publication date Assignee Title
US5713754A (en) * 1995-09-28 1998-02-03 Yazaki Corporation Fitting structure of movable connector
CN203720749U (en) * 2014-02-20 2014-07-16 哈尔滨师范大学 Movable dustproof computer case
CN106292924A (en) * 2016-08-17 2017-01-04 陈玮彤 A kind of memory bar slot anti-gray structure
CN206515765U (en) * 2017-03-07 2017-09-22 杨金峰 It is a kind of can dust-proof dust-removing computer cabinet
CN107968300A (en) * 2017-11-28 2018-04-27 成都麟成科技有限公司 A kind of computer hardware dustproof and waterproof USB slot
CN108334168A (en) * 2018-01-26 2018-07-27 齐鲁工业大学 A kind of energy saving dust and moisture hardware slot of computer
CN209248437U (en) * 2019-03-06 2019-08-13 邹元杰 A kind of dust-proof slot of server master board memory bar

Patent Citations (7)

* Cited by examiner, † Cited by third party
Publication number Priority date Publication date Assignee Title
US5713754A (en) * 1995-09-28 1998-02-03 Yazaki Corporation Fitting structure of movable connector
CN203720749U (en) * 2014-02-20 2014-07-16 哈尔滨师范大学 Movable dustproof computer case
CN106292924A (en) * 2016-08-17 2017-01-04 陈玮彤 A kind of memory bar slot anti-gray structure
CN206515765U (en) * 2017-03-07 2017-09-22 杨金峰 It is a kind of can dust-proof dust-removing computer cabinet
CN107968300A (en) * 2017-11-28 2018-04-27 成都麟成科技有限公司 A kind of computer hardware dustproof and waterproof USB slot
CN108334168A (en) * 2018-01-26 2018-07-27 齐鲁工业大学 A kind of energy saving dust and moisture hardware slot of computer
CN209248437U (en) * 2019-03-06 2019-08-13 邹元杰 A kind of dust-proof slot of server master board memory bar

Also Published As

Publication number Publication date
CN111190462B (en) 2021-06-08

Similar Documents

Publication Publication Date Title
CN205141266U (en) Cassette structure and electronic equipment
CN2917195Y (en) multi-function electronic card
US7713079B2 (en) Card edge connector
US11418868B2 (en) Earphone and head-mounted earphone
CN111190462B (en) A dust-proof and shock-absorbing slot for the host
CN207801919U (en) A kind of Kato component and mobile terminal
WO2020248085A1 (en) Longitudinally sliding safety door
CN210692844U (en) Sound box connecting wire
CN210576752U (en) A waterproof terminal automobile wiring harness
CN207518814U (en) Wear electronic equipment
CN108419161B (en) A kind of detachable earphone based on big data
CN109245232B (en) A mobile power bank
CN217386234U (en) Docking station capable of placing hard disk
CN213071608U (en) Sucking disc formula is fixed to extend depressed place
CN102842451B (en) Push-button switch and connector thereof
CN208723259U (en) A kind of HDMI adapter
CN214329360U (en) A kind of reading soundproof board for library
CN213906571U (en) Adapter shell with good impact resistance
CN218585805U (en) Capacitor guide pin with good heat dissipation performance
CN209860266U (en) USB female connector
US20120052743A1 (en) Ultrathin usb female connector
CN222705861U (en) Electric box internal circuit plug connector
CN218632555U (en) Socket shutter structure and socket
CN216850516U (en) Special USB connector for computer
CN211879665U (en) Novel USB interface and USB plug

Legal Events

Date Code Title Description
PB01 Publication
PB01 Publication
SE01 Entry into force of request for substantive examination
SE01 Entry into force of request for substantive examination
GR01 Patent grant
GR01 Patent grant