CN111186961B - Electrochemical bubble-free aeration membrane bioreactor and application thereof - Google Patents
Electrochemical bubble-free aeration membrane bioreactor and application thereof Download PDFInfo
- Publication number
- CN111186961B CN111186961B CN202010035667.0A CN202010035667A CN111186961B CN 111186961 B CN111186961 B CN 111186961B CN 202010035667 A CN202010035667 A CN 202010035667A CN 111186961 B CN111186961 B CN 111186961B
- Authority
- CN
- China
- Prior art keywords
- hollow fiber
- reactor
- membrane
- aeration
- fiber membrane
- Prior art date
- Legal status (The legal status is an assumption and is not a legal conclusion. Google has not performed a legal analysis and makes no representation as to the accuracy of the status listed.)
- Active
Links
- 239000012528 membrane Substances 0.000 title claims abstract description 111
- 238000005273 aeration Methods 0.000 title claims abstract description 61
- XLYOFNOQVPJJNP-UHFFFAOYSA-N water Substances O XLYOFNOQVPJJNP-UHFFFAOYSA-N 0.000 claims abstract description 38
- OKTJSMMVPCPJKN-UHFFFAOYSA-N Carbon Chemical compound [C] OKTJSMMVPCPJKN-UHFFFAOYSA-N 0.000 claims abstract description 18
- 229910002804 graphite Inorganic materials 0.000 claims abstract description 18
- 239000010439 graphite Substances 0.000 claims abstract description 18
- 239000010865 sewage Substances 0.000 claims abstract description 16
- 239000003344 environmental pollutant Substances 0.000 claims abstract description 11
- 231100000719 pollutant Toxicity 0.000 claims abstract description 11
- 230000001105 regulatory effect Effects 0.000 claims abstract description 8
- 239000012510 hollow fiber Substances 0.000 claims description 42
- 238000000034 method Methods 0.000 claims description 14
- 239000002352 surface water Substances 0.000 claims description 12
- 239000010802 sludge Substances 0.000 claims description 10
- 230000014759 maintenance of location Effects 0.000 claims description 8
- 229910001220 stainless steel Inorganic materials 0.000 claims description 8
- -1 polypropylene Polymers 0.000 claims description 7
- 239000011734 sodium Substances 0.000 claims description 6
- 125000004122 cyclic group Chemical group 0.000 claims description 5
- 239000000203 mixture Substances 0.000 claims description 5
- DGAQECJNVWCQMB-PUAWFVPOSA-M Ilexoside XXIX Chemical compound C[C@@H]1CC[C@@]2(CC[C@@]3(C(=CC[C@H]4[C@]3(CC[C@@H]5[C@@]4(CC[C@@H](C5(C)C)OS(=O)(=O)[O-])C)C)[C@@H]2[C@]1(C)O)C)C(=O)O[C@H]6[C@@H]([C@H]([C@@H]([C@H](O6)CO)O)O)O.[Na+] DGAQECJNVWCQMB-PUAWFVPOSA-M 0.000 claims description 3
- 239000002033 PVDF binder Substances 0.000 claims description 3
- 239000004695 Polyether sulfone Substances 0.000 claims description 3
- 239000004743 Polypropylene Substances 0.000 claims description 3
- 235000015097 nutrients Nutrition 0.000 claims description 3
- 229920006393 polyether sulfone Polymers 0.000 claims description 3
- 229920001155 polypropylene Polymers 0.000 claims description 3
- 229920001343 polytetrafluoroethylene Polymers 0.000 claims description 3
- 239000004810 polytetrafluoroethylene Substances 0.000 claims description 3
- 229920002981 polyvinylidene fluoride Polymers 0.000 claims description 3
- 229910052708 sodium Inorganic materials 0.000 claims description 3
- 239000000126 substance Substances 0.000 abstract description 7
- 230000001590 oxidative effect Effects 0.000 abstract description 6
- 239000002957 persistent organic pollutant Substances 0.000 abstract description 5
- 230000008878 coupling Effects 0.000 abstract description 4
- 238000010168 coupling process Methods 0.000 abstract description 4
- 238000005859 coupling reaction Methods 0.000 abstract description 4
- 230000005684 electric field Effects 0.000 abstract description 4
- 238000006056 electrooxidation reaction Methods 0.000 abstract description 4
- 239000013043 chemical agent Substances 0.000 abstract description 2
- 229960005404 sulfamethoxazole Drugs 0.000 description 9
- JLKIGFTWXXRPMT-UHFFFAOYSA-N sulphamethoxazole Chemical compound O1C(C)=CC(NS(=O)(=O)C=2C=CC(N)=CC=2)=N1 JLKIGFTWXXRPMT-UHFFFAOYSA-N 0.000 description 9
- QVGXLLKOCUKJST-UHFFFAOYSA-N atomic oxygen Chemical compound [O] QVGXLLKOCUKJST-UHFFFAOYSA-N 0.000 description 7
- 239000001301 oxygen Substances 0.000 description 7
- 229910052760 oxygen Inorganic materials 0.000 description 7
- WZRJTRPJURQBRM-UHFFFAOYSA-N 4-amino-n-(5-methyl-1,2-oxazol-3-yl)benzenesulfonamide;5-[(3,4,5-trimethoxyphenyl)methyl]pyrimidine-2,4-diamine Chemical compound O1C(C)=CC(NS(=O)(=O)C=2C=CC(N)=CC=2)=N1.COC1=C(OC)C(OC)=CC(CC=2C(=NC(N)=NC=2)N)=C1 WZRJTRPJURQBRM-UHFFFAOYSA-N 0.000 description 6
- 229940006995 sulfamethoxazole and trimethoprim Drugs 0.000 description 6
- IEDVJHCEMCRBQM-UHFFFAOYSA-N trimethoprim Chemical compound COC1=C(OC)C(OC)=CC(CC=2C(=NC(N)=NC=2)N)=C1 IEDVJHCEMCRBQM-UHFFFAOYSA-N 0.000 description 6
- 239000006260 foam Substances 0.000 description 3
- 239000007789 gas Substances 0.000 description 3
- 239000013067 intermediate product Substances 0.000 description 3
- 239000005416 organic matter Substances 0.000 description 3
- 230000003647 oxidation Effects 0.000 description 3
- 238000007254 oxidation reaction Methods 0.000 description 3
- 229960001082 trimethoprim Drugs 0.000 description 3
- CWYNVVGOOAEACU-UHFFFAOYSA-N Fe2+ Chemical compound [Fe+2] CWYNVVGOOAEACU-UHFFFAOYSA-N 0.000 description 2
- 230000000694 effects Effects 0.000 description 2
- 244000005700 microbiome Species 0.000 description 2
- 239000007800 oxidant agent Substances 0.000 description 2
- 241000894007 species Species 0.000 description 2
- VTLYFUHAOXGGBS-UHFFFAOYSA-N Fe3+ Chemical compound [Fe+3] VTLYFUHAOXGGBS-UHFFFAOYSA-N 0.000 description 1
- 239000003242 anti bacterial agent Substances 0.000 description 1
- 229940088710 antibiotic agent Drugs 0.000 description 1
- 230000009286 beneficial effect Effects 0.000 description 1
- 230000015556 catabolic process Effects 0.000 description 1
- 238000006243 chemical reaction Methods 0.000 description 1
- 238000005260 corrosion Methods 0.000 description 1
- 230000007797 corrosion Effects 0.000 description 1
- 238000006731 degradation reaction Methods 0.000 description 1
- 230000000593 degrading effect Effects 0.000 description 1
- 239000003651 drinking water Substances 0.000 description 1
- 235000020188 drinking water Nutrition 0.000 description 1
- 229940079593 drug Drugs 0.000 description 1
- 239000003814 drug Substances 0.000 description 1
- 238000005265 energy consumption Methods 0.000 description 1
- 238000005516 engineering process Methods 0.000 description 1
- TUJKJAMUKRIRHC-UHFFFAOYSA-N hydroxyl Chemical compound [OH] TUJKJAMUKRIRHC-UHFFFAOYSA-N 0.000 description 1
- 238000011065 in-situ storage Methods 0.000 description 1
- 238000004519 manufacturing process Methods 0.000 description 1
- 239000000463 material Substances 0.000 description 1
- 230000000813 microbial effect Effects 0.000 description 1
- 239000000047 product Substances 0.000 description 1
- 210000003437 trachea Anatomy 0.000 description 1
Images
Classifications
-
- C—CHEMISTRY; METALLURGY
- C02—TREATMENT OF WATER, WASTE WATER, SEWAGE, OR SLUDGE
- C02F—TREATMENT OF WATER, WASTE WATER, SEWAGE, OR SLUDGE
- C02F1/00—Treatment of water, waste water, or sewage
- C02F1/46—Treatment of water, waste water, or sewage by electrochemical methods
- C02F1/461—Treatment of water, waste water, or sewage by electrochemical methods by electrolysis
- C02F1/467—Treatment of water, waste water, or sewage by electrochemical methods by electrolysis by electrochemical disinfection; by electrooxydation or by electroreduction
- C02F1/4672—Treatment of water, waste water, or sewage by electrochemical methods by electrolysis by electrochemical disinfection; by electrooxydation or by electroreduction by electrooxydation
-
- C—CHEMISTRY; METALLURGY
- C02—TREATMENT OF WATER, WASTE WATER, SEWAGE, OR SLUDGE
- C02F—TREATMENT OF WATER, WASTE WATER, SEWAGE, OR SLUDGE
- C02F3/00—Biological treatment of water, waste water, or sewage
- C02F3/02—Aerobic processes
- C02F3/12—Activated sludge processes
- C02F3/1236—Particular type of activated sludge installations
- C02F3/1268—Membrane bioreactor systems
-
- C—CHEMISTRY; METALLURGY
- C02—TREATMENT OF WATER, WASTE WATER, SEWAGE, OR SLUDGE
- C02F—TREATMENT OF WATER, WASTE WATER, SEWAGE, OR SLUDGE
- C02F2101/00—Nature of the contaminant
- C02F2101/30—Organic compounds
-
- C—CHEMISTRY; METALLURGY
- C02—TREATMENT OF WATER, WASTE WATER, SEWAGE, OR SLUDGE
- C02F—TREATMENT OF WATER, WASTE WATER, SEWAGE, OR SLUDGE
- C02F2101/00—Nature of the contaminant
- C02F2101/30—Organic compounds
- C02F2101/34—Organic compounds containing oxygen
-
- C—CHEMISTRY; METALLURGY
- C02—TREATMENT OF WATER, WASTE WATER, SEWAGE, OR SLUDGE
- C02F—TREATMENT OF WATER, WASTE WATER, SEWAGE, OR SLUDGE
- C02F2101/00—Nature of the contaminant
- C02F2101/30—Organic compounds
- C02F2101/38—Organic compounds containing nitrogen
-
- C—CHEMISTRY; METALLURGY
- C02—TREATMENT OF WATER, WASTE WATER, SEWAGE, OR SLUDGE
- C02F—TREATMENT OF WATER, WASTE WATER, SEWAGE, OR SLUDGE
- C02F2101/00—Nature of the contaminant
- C02F2101/30—Organic compounds
- C02F2101/40—Organic compounds containing sulfur
Landscapes
- Life Sciences & Earth Sciences (AREA)
- Chemical & Material Sciences (AREA)
- Water Supply & Treatment (AREA)
- Hydrology & Water Resources (AREA)
- Engineering & Computer Science (AREA)
- Environmental & Geological Engineering (AREA)
- Organic Chemistry (AREA)
- Microbiology (AREA)
- Biodiversity & Conservation Biology (AREA)
- Chemical Kinetics & Catalysis (AREA)
- Electrochemistry (AREA)
- General Chemical & Material Sciences (AREA)
- Separation Using Semi-Permeable Membranes (AREA)
Abstract
本发明公开了一种电化学无泡曝气膜生物反应器及其应用,属于污水处理技术领域。该反应器包括进水管、进水泵、反应器壳体、石墨板阳极、电化学无泡曝气膜组件、电源、曝气系统、出水管和循环装置。本发明采用石墨板作为阳极,采用电化学无泡曝气膜组件直接作为电化学系统中的阴极,通过稳压直流电源施加外加电场,在连续流模式下操作运行时,不仅能实现污水中常规污染物的去除,而且无需添加任何化学剂就可利用电催化产生的强氧化性物质实现污水中难降解有机污染物的去除,可以实现电化学氧化与无泡曝气膜生物反应器的高效耦合。
The invention discloses an electrochemical bubble-free aeration membrane bioreactor and an application thereof, belonging to the technical field of sewage treatment. The reactor includes a water inlet pipe, an inlet water pump, a reactor shell, a graphite plate anode, an electrochemical bubble-free aeration membrane assembly, a power source, an aeration system, a water outlet pipe and a circulation device. The invention adopts graphite plate as anode, adopts electrochemical bubble-free aeration membrane assembly as cathode in electrochemical system directly, and applies external electric field through regulated DC power supply. The removal of pollutants, and the strong oxidizing substances produced by electrocatalysis can be used to achieve the removal of refractory organic pollutants in sewage without adding any chemical agents, and the efficient coupling of electrochemical oxidation and bubble-free aeration membrane bioreactors can be realized. .
Description
技术领域technical field
本发明涉及一种膜生物反应器及其应用,具体涉及一种电化学无泡曝气膜生物反应器及其应用,属于污水处理技术领域。The invention relates to a membrane bioreactor and applications thereof, in particular to an electrochemical non-foam aeration membrane bioreactor and applications thereof, belonging to the technical field of sewage treatment.
背景技术Background technique
随着药物、抗生素、个人护理品等广泛应用,大量难降解有机污染物通过各种渠道进入市政管网。由于这些微污染物绝大多数可生物降解性能差,而常规的污水处理厂并未特意设计相应的处理工艺,导致这些微污染物能够通过污水处理单元进入收纳水体中,严重威胁饮用水安全和人类健康。With the wide application of drugs, antibiotics, personal care products, etc., a large number of refractory organic pollutants enter the municipal pipeline network through various channels. Since most of these micropollutants have poor biodegradability, and conventional sewage treatment plants have not specially designed corresponding treatment processes, these micropollutants can enter the receiving water body through the sewage treatment unit, which seriously threatens the safety of drinking water and the human health.
无泡曝气膜生物反应器是应用于水处理的一种生物膜反应器,其采用透气性膜作为微生物生长载体的同时又利用透气膜为附着生长的微生物供氧。无泡曝气膜生物反应器的技术优势主要体现在污染物与氧气异相传质,曝气膜以无泡的形式供氧以及生物膜结构能实现功能性分层三个方面。但是目前无泡曝气膜生物反应器对难生物降解污染物的去除效率仍然十分有限。The bubble-free aerated membrane bioreactor is a biofilm reactor used in water treatment. It uses a gas-permeable membrane as a microbial growth carrier, and at the same time uses a gas-permeable membrane to supply oxygen to the attached and growing microorganisms. The technical advantages of the bubble-free aerated membrane bioreactor are mainly reflected in the heterogeneous mass transfer of pollutants and oxygen, the oxygen supply of the aeration membrane in the form of no bubbles, and the functional layering of the biofilm structure. However, the removal efficiency of refractory pollutants by bubble-free aerated membrane bioreactors is still very limited.
电化学高级氧化法是一种处理污水中难降解污染物的环境友好型技术。通过外加电场,可以原位生成氧化剂物种(如羟基自由基、超氧负离子、H2O2等),从而降解水体中的难降解有机污染物。因此如何合理设计电化学反应器的结构并开发相应的工艺以实现电化学氧化与无泡曝气膜生物反应器的高效耦合,从而实现对难降解污染物的高效去除是目前亟需解决的问题。Electrochemical advanced oxidation is an environmentally friendly technology for the treatment of refractory pollutants in sewage. By applying an electric field, oxidant species (such as hydroxyl radicals, superoxide anions, H 2 O 2 , etc.) can be generated in situ, thereby degrading the refractory organic pollutants in water. Therefore, how to reasonably design the structure of the electrochemical reactor and develop the corresponding process to realize the efficient coupling of the electrochemical oxidation and the bubble-free aerated membrane bioreactor, so as to realize the efficient removal of the refractory pollutants, is an urgent problem to be solved at present. .
发明内容SUMMARY OF THE INVENTION
针对现有技术中的问题,本发明提供一种电化学无泡曝气膜生物反应器及其应用,本发明结构简单,采用石墨板作为阳极,采用电化学无泡曝气膜组件直接作为电化学系统中的阴极,通过稳压直流电源施加外加电场,在连续流模式下操作运行时,不仅能实现污水中常规污染物的去除,而且无需添加任何化学剂就可利用电催化产生的强氧化性物质实现污水中难降解有机污染物的去除,可以实现电化学氧化与无泡曝气膜生物反应器的高效耦合。In view of the problems in the prior art, the present invention provides an electrochemical bubble-free aeration membrane bioreactor and its application. The invention has a simple structure, uses a graphite plate as an anode, and adopts an electrochemical bubble-free aeration membrane assembly directly as a battery The cathode in the chemical system applies an external electric field through a regulated DC power supply. When operating in a continuous flow mode, it can not only achieve the removal of conventional pollutants in sewage, but also use the strong oxidation generated by electrocatalysis without adding any chemicals. It can realize the removal of refractory organic pollutants in sewage, and realize the efficient coupling of electrochemical oxidation and bubble-free aerated membrane bioreactor.
为实现以上技术目的,本发明的技术方案是:For realizing the above technical purpose, the technical scheme of the present invention is:
一种电化学无泡曝气膜生物反应器,包括进水管、进水泵、反应器壳体、石墨板阳极、电化学无泡曝气膜组件、电源、曝气系统、出水管和循环装置;所述进水管一端置于反应器壳体内;所述石墨板阳极、电化学无泡曝气膜组件位于反应器壳体内;所述石墨板阳极通过导线与电源的正极相连;所述电化学无泡曝气膜组件通过导线与电源的负极相连,电化学无泡曝气膜组件包括膜框、不锈钢丝网和中空纤维膜,所述膜框包括上导气管和下导气管,上导气管上设有进气口,下导气管上设有排气口,所述中空纤维膜以帘式排布形式编织在不锈钢丝网上,中空纤维膜的上下两端分别密封固定于上导气管和下导气管内,中空纤维膜的内腔与上导气管和下导气管内腔相通,所述中空纤维膜表面负载有生物膜;所述曝气系统包括曝气泵、曝气管和排气管,曝气管上设有用于调节进气量的气体流量计和用于调节曝气压力的压力表,曝气管与进气口相连,排气管与排气口相连;所述出水管与设于反应器壳体顶部的溢流堰连通;所述循环装置包括循环泵和循环管,循环管的两端分别与反应器壳体的下端和上端相连通。An electrochemical bubble-free aeration membrane bioreactor, comprising a water inlet pipe, an inlet pump, a reactor shell, a graphite plate anode, an electrochemical bubble-free aeration membrane assembly, a power source, an aeration system, a water outlet pipe and a circulation device; One end of the water inlet pipe is placed in the reactor shell; the graphite plate anode and the electrochemical bubble-free aeration membrane assembly are located in the reactor shell; the graphite plate anode is connected to the positive electrode of the power supply through a wire; The bubble aeration membrane assembly is connected to the negative electrode of the power supply through a wire. The electrochemical bubble-free aeration membrane assembly includes a membrane frame, a stainless steel wire mesh and a hollow fiber membrane. The membrane frame includes an upper air duct and a lower air duct. There is an air inlet, an exhaust port is arranged on the lower air duct, the hollow fiber membrane is woven on the stainless steel wire mesh in the form of a curtain arrangement, and the upper and lower ends of the hollow fiber membrane are sealed and fixed on the upper air duct and the lower guide respectively. In the trachea, the inner cavity of the hollow fiber membrane is communicated with the inner cavity of the upper airway and the lower airway, and the surface of the hollow fiber membrane is loaded with a biofilm; the aeration system includes an aeration pump, an aeration pipe and an exhaust pipe, The aeration pipe is provided with a gas flow meter for adjusting the intake air volume and a pressure gauge for adjusting the aeration pressure, the aeration pipe is connected with the air inlet, the exhaust pipe is connected with the exhaust port; the water outlet pipe is connected with the device. The overflow weir at the top of the reactor shell is communicated; the circulation device includes a circulation pump and a circulation pipe, and the two ends of the circulation pipe are respectively communicated with the lower end and the upper end of the reactor shell.
优选地,所述生物膜为通过循环挂膜法形成的异向传质生物膜。Preferably, the biofilm is a heterogeneous mass transfer biofilm formed by a cyclic hanging film method.
进一步优选地,所述循环挂膜法步骤为:Further preferably, the steps of the circulating film hanging method are:
(1)首先配制COD含量为50 mg/L,NH4+-N含量为5 mg/L的模拟微污染地表水,然后将从污水处理厂采集的活性污泥和配制的模拟微污染地表水按照体积比为1:2混匀形成混合水体,关闭进水泵,将混合水体倒入反应器中,其中,循环挂膜法所采用的反应器上述电化学无泡曝气膜生物反应器的结构相同,其区别仅在于循环挂膜法所采用的反应器中的中空纤维膜表面未负载有生物膜,开启循环泵使反应器底部的活性污泥通过循环管从反应器顶部流入底部,反应器的循环流量设置为1.50 mL/min,水力停留时间为24 h,待中空纤维膜表面附着生长出一层肉眼可见的生物膜后将反应器内的活性污泥和模拟污染物地表水全部排出;(1) First prepare simulated micro-polluted surface water with COD content of 50 mg/L and NH4 + -N content of 5 mg/L, then the activated sludge collected from the sewage treatment plant and the prepared simulated micro-polluted surface water according to The volume ratio is 1:2 and mixed to form a mixed water body. The water inlet pump is turned off, and the mixed water body is poured into the reactor. Among them, the reactor used in the circulating film method has the same structure as the electrochemical non-foam aeration membrane bioreactor. , the difference is only that the surface of the hollow fiber membrane in the reactor used in the circulating membrane method is not loaded with biofilm, and the circulating pump is turned on to make the activated sludge at the bottom of the reactor flow from the top of the reactor to the bottom through the circulating pipe. The circulating flow rate was set to 1.50 mL/min, and the hydraulic retention time was 24 h. After a layer of biofilm visible to the naked eye was attached to the surface of the hollow fiber membrane, all the activated sludge and simulated pollutant surface water in the reactor were discharged;
(2)打开进水泵,采用营养液连续进水直到中空纤维膜表面上附着生长出一层黄褐色的厚度均匀的生物膜为止,其中,反应器的进水流量设置为1.50 mL/min,营养液的成分为腐植酸钠40 mg/L、NH4Cl 19.11 mg/L、KCl 0.58 mg/L、MgSO4∙7H2O 12.3 mg/L、CaCl2∙2H2O 29.4 mg/L、Na2SO3 50 mg/L。(2) Turn on the water inlet pump, and use the nutrient solution to continuously feed water until a yellow-brown biofilm with uniform thickness grows on the surface of the hollow fiber membrane. The composition of the solution is sodium humate 40 mg/L, NH 4 Cl 19.11 mg/L, KCl 0.58 mg/L, MgSO 4 ∙7H2O 12.3 mg/L, CaCl 2 ∙2H 2 O 29.4 mg/L, Na 2 SO 3 50 mg/L.
优选地,所述中空纤维膜为聚偏氟乙烯中空纤维膜、聚丙烯中空纤维膜、聚四氟乙烯中空纤维膜、聚醚砜中空纤维膜中的任意一种。Preferably, the hollow fiber membrane is any one of polyvinylidene fluoride hollow fiber membrane, polypropylene hollow fiber membrane, polytetrafluoroethylene hollow fiber membrane, and polyethersulfone hollow fiber membrane.
优选地,所述中空纤维膜外径为0.5~1.5 mm。Preferably, the outer diameter of the hollow fiber membrane is 0.5-1.5 mm.
优选地,所述电源为稳压直流电源,电源的电压范围为0.5~2 V。Preferably, the power supply is a regulated DC power supply, and the voltage range of the power supply is 0.5-2 V.
优选地,所述石墨板阳极与电化学无泡曝气膜组件的距离为0.5~5 cm。Preferably, the distance between the graphite plate anode and the electrochemical bubble-free aeration membrane assembly is 0.5-5 cm.
上述反应器在污水处理上的应用。Application of the above reactor in sewage treatment.
优选地,水力停留时间为2~8 h。Preferably, the hydraulic retention time is 2-8 h.
本发明的原理:Principle of the present invention:
污水由进水管进入到电化学无泡曝气膜生物反应器内,难降解有机物先被石墨板阳极表面产生的氧化性物质(羟基自由基)初步氧化降解,在水流的作用下,水中的污染物到达阴极电化学无泡曝气膜组件表面,阳极降解所得的中间产物与水中的易降解的污染物被阴极膜组件上的生物膜降解去除,同时,中空纤维膜释放的O2在阴极表面得电子被还原生成H2O2,H2O2和O2通过腐蚀作用促进阴极膜组件的不锈钢丝表面产生Fe(II),从而在阴极界面发生Fenton反应,同时Fe(III)又可通过接受电子还原成Fe(II),从而保证氧化剂物种的持续生成,提高难降解有机物的去除率,处理后的水经溢流堰和出水管流出。The sewage enters the electrochemical bubble-free aeration membrane bioreactor from the water inlet pipe, and the refractory organic matter is first oxidized and degraded by the oxidizing substances (hydroxyl radicals) generated on the anode surface of the graphite plate. The pollutants reach the surface of the cathode electrochemical bubble-free aeration membrane module, and the intermediate products obtained from the anode degradation and the easily degradable pollutants in the water are degraded and removed by the biofilm on the cathode membrane module. At the same time, the O2 released by the hollow fiber membrane is on the cathode surface. The obtained electrons are reduced to form H 2 O 2 , and H 2 O 2 and O 2 promote the production of Fe(II) on the surface of the stainless steel wire of the cathode membrane module through corrosion, so that the Fenton reaction occurs at the cathode interface, and at the same time, Fe(III) can pass through. It accepts electrons and is reduced to Fe(II), thereby ensuring the continuous generation of oxidant species and improving the removal rate of refractory organic matter. The treated water flows out through overflow weirs and outlet pipes.
与现有技术相比,本发明的有益效果在于:Compared with the prior art, the beneficial effects of the present invention are:
1.本发明采用石墨板作为阳极,采用电化学无泡曝气膜组件直接作为阴极,在外加电场的连续流模式下操作运行时,阳极产生的羟基自由基能实现难降解有机物的初步氧化,氧化中间产物可以进一步被阴极膜组件上的生物膜降解去除,而未完全降解去除的中间产物可进一步被阴极膜组件表面产生的强氧化性物质降解,本发明无需任何化学剂的添加就可利用电催化产生的强氧化性物质实现难降解有机污染物的高效去除,实现了电化学氧化与无泡曝气膜生物反应器的高效耦合。1. The present invention adopts graphite plate as anode, adopts electrochemical bubble-free aeration membrane assembly as cathode directly, and when operating under the continuous flow mode of external electric field, the hydroxyl radical generated by anode can realize the preliminary oxidation of refractory organic matter, The oxidized intermediate products can be further degraded and removed by the biofilm on the cathode membrane module, and the intermediate products that are not completely degraded and removed can be further degraded by the strong oxidizing substances produced on the surface of the cathode membrane module. The present invention can be used without the addition of any chemical agent. The strong oxidizing substances produced by electrocatalysis realize the efficient removal of refractory organic pollutants, and realize the efficient coupling of electrochemical oxidation and bubble-free aerated membrane bioreactor.
2.本发明通过无泡曝气膜,氧气以无泡的形式经过膜壁进入生物膜,可直接被微生物利用,氧气利用率高,且较低的供氧便能满足曝气所需,有利于降低能耗。此外,无泡曝气不产生气泡,电化学无泡曝气膜组件表面的生物膜不会受到气泡的摩擦,因而不易脱落。独特的双膜结构和异向传质过程使其具有同步硝化反硝化、控氧灵活、生物膜泥龄长、活性高以及基建运行成本低等诸多优点。2. In the present invention, through the bubble-free aeration membrane, oxygen enters the biofilm through the membrane wall in a bubble-free form, and can be directly utilized by microorganisms. The oxygen utilization rate is high, and the low oxygen supply can meet the needs of aeration. Conducive to reducing energy consumption. In addition, the bubble-free aeration does not generate bubbles, and the biofilm on the surface of the electrochemical bubble-free aeration membrane module will not be rubbed by the bubbles, so it is not easy to fall off. The unique double-membrane structure and anisotropic mass transfer process make it have many advantages such as simultaneous nitrification and denitrification, flexible oxygen control, long biofilm sludge age, high activity, and low cost of infrastructure and operation.
3.本发明反应器结构简单,操作方便,其出水水质稳定,具有高效的污水处理效益。3. The reactor of the present invention has simple structure, convenient operation, stable effluent quality, and high efficiency in sewage treatment.
4.采用本发明反应器对污水进行处理,无化学添加,不会造成二次污染。4. The reactor of the present invention is used to treat the sewage without chemical addition and will not cause secondary pollution.
附图说明Description of drawings
图1是本发明反应器的结构示意图;Fig. 1 is the structural representation of the reactor of the present invention;
图2是本发明中的电化学无泡曝气膜组件的结构示意图;Fig. 2 is the structural representation of the electrochemical bubble-free aeration membrane assembly in the present invention;
附图标记:Reference number:
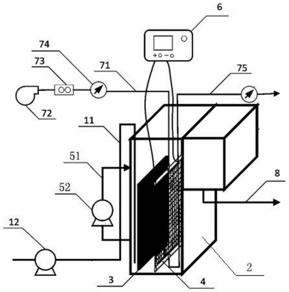
11.进水管 12.进水泵 2.反应器壳体 3.石墨板阳极 4.电化学无泡曝气膜组件41.不锈钢丝网 42.中空纤维膜 43.膜框 44.上导气管 45.下导气管 51.循环管 52.循环泵 6.电源 71.曝气管 72.曝气泵 73.气体流量计 74.压力计 75.排气管 8.出水管11.
具体实施方式Detailed ways
下面通过实施例子,进一步阐述本发明的特点,但不对本发明的权利要求做任何限定。The features of the present invention are further described below through examples, but the claims of the present invention are not limited in any way.
实施例1:Example 1:
一种电化学无泡曝气膜生物反应器,包括进水管11、进水泵12、反应器壳体2、石墨板阳极3、电化学无泡曝气膜组件4、电源6、曝气系统、出水管8和循环装置;所述进水管11一端置于反应器壳体2内;所述石墨板阳极3、电化学无泡曝气膜组件4位于反应器壳体2内;所述石墨板阳极3通过导线与电源6的正极相连;所述电化学无泡曝气膜组件通过导线与电源6的负极相连,电化学无泡曝气膜组件与石墨板阳极3的距离为50mm,所述电化学无泡曝气膜组件4包括膜框43、不锈钢丝网41和中空纤维膜42,所述膜框43包括上导气管44和下导气管45,上导气管44上设有进气口,下导气管45上设有排气口,所述中空纤维膜42以帘式排布形式编织在不锈钢丝网41上,中空纤维膜42的上下两端分别密封固定于上导气管44和下导气管45内,中空纤维膜42的内腔与上导气管44和下导气管45内腔相通,中空纤维膜材质可以为聚偏氟乙烯中空纤维膜、聚丙烯中空纤维膜、聚四氟乙烯中空纤维膜、聚醚砜中空纤维膜中的任意一种,其外径为1.0mm,所述中空纤维膜表面负载有生物膜(图中未示出),其中,生物膜为通过循环挂膜法形成的异向传质生物膜;所述电源6为稳压直流电源6;所述曝气系统包括曝气泵72、曝气管71和排气管75,曝气管71上设有用于调节进气量的气体流量计73和检测曝气管71气压的压力计74,曝气管71与进气口相连,排气管75与排气口相连;所述出水管8与设于反应器壳体2顶部的溢流堰连通;所述循环装置包括循环泵52和循环管51,循环管51的两端分别与反应器壳体2的下端和上端相连通。An electrochemical bubble-free aeration membrane bioreactor, comprising a
本实施例中所提及的循环挂膜法所采用的反应器与上述电化学无泡曝气膜生物反应器的结构相同,其区别仅在于循环挂膜法所采用的反应器中的中空纤维膜表面未负载有生物膜,循环挂膜法的具体步骤如下:The structure of the reactor used in the cyclic film hanging method mentioned in this embodiment is the same as that of the electrochemical non-foam aerated membrane bioreactor mentioned above, and the difference is only in the hollow fibers in the reactor used in the cyclic film hanging method. The surface of the membrane is not loaded with biofilm, and the specific steps of the cyclic film hanging method are as follows:
(1)首先配制COD含量为50 mg/L,NH4+-N含量为5 mg/L的模拟微污染地表水,然后将从污水处理厂采集的活性污泥和配制的模拟微污染地表水按照体积比为1:2混匀形成混合水体,关闭进水泵,将混合水体倒入反应器中,开启循环泵使反应器底部的活性污泥通过循环管从反应器顶部流入底部,反应器的循环流量设置为1.50 mL/min,水力停留时间为24h,待中空纤维膜表面附着生长出一层肉眼可见的生物膜后将反应器内的活性污泥和模拟污染物地表水全部排出;(1) First prepare simulated micro-polluted surface water with COD content of 50 mg/L and NH4 + -N content of 5 mg/L, then the activated sludge collected from the sewage treatment plant and the prepared simulated micro-polluted surface water according to The volume ratio is 1:2 and mix to form a mixed water body, close the water inlet pump, pour the mixed water body into the reactor, turn on the circulating pump to make the activated sludge at the bottom of the reactor flow from the top of the reactor to the bottom through the circulating pipe, and the circulation of the reactor The flow rate was set to 1.50 mL/min, and the hydraulic retention time was 24 h. After a layer of biofilm visible to the naked eye was attached to the surface of the hollow fiber membrane, all the activated sludge and simulated pollutant surface water in the reactor were discharged;
(2)打开进水泵,采用营养液连续进水直到中空纤维膜表面上附着生长出一层黄褐色的厚度均匀的生物膜为止,其中,反应器的进水流量设置为1.50 mL/min,营养液的成分为腐植酸钠40 mg/L、NH4Cl 19.11 mg/L、KCl 0.58 mg/L、MgSO4∙7H2O 12.3 mg/L、CaCl2∙2H2O 29.4 mg/L、Na2SO3 50 mg/L。(2) Turn on the inlet water pump, and use the nutrient solution to continuously feed water until a yellow-brown biofilm with uniform thickness grows on the surface of the hollow fiber membrane. The composition of the solution is sodium humate 40 mg/L, NH 4 Cl 19.11 mg/L, KCl 0.58 mg/L, MgSO 4 ∙7H2O 12.3 mg/L, CaCl 2 ∙2H 2 O 29.4 mg/L, Na 2 SO 3 50 mg/L.
利用上述电化学无泡曝气膜生物反应器处理含磺胺甲恶唑(SMX)、甲氧苄啶(TMP)的模拟微污染地表水,实验工况设置为:进水COD 50 mg/L,NH4 +-N 5 mg/L,磺胺甲恶唑 100μg/L,甲氧苄啶100 μg/L,水力停留时间为2 h,稳压直流电源电压为1 V。其他条件相同,设置不加电的反应器为空白对照组。在连续流模式下操作运行20天后检测反应器出水情况,结果显示,两个反应器的出水COD 均低于10 mg/L,空白组对磺胺甲恶唑、甲氧苄啶的去除率只能达到约10%,而外加1.0 V 电压的电化学无泡曝气膜生物反应器对磺胺甲恶唑、甲氧苄啶的去除率可稳定维持在70%左右。The above electrochemical bubble-free aerated membrane bioreactor was used to treat simulated micro-polluted surface water containing sulfamethoxazole (SMX) and trimethoprim (TMP). The experimental conditions were set as: influent COD 50 mg/L, NH 4 + -N 5 mg/L, sulfamethoxazole 100 μg/L, trimethoprim 100 μg/L, the hydraulic retention time was 2 h, and the regulated DC power supply voltage was 1 V. Other conditions were the same, and the unpowered reactor was set as the blank control group. After 20 days of operation in continuous flow mode, the effluent condition of the reactor was detected. The results showed that the effluent COD of the two reactors was lower than 10 mg/L, and the removal rate of sulfamethoxazole and trimethoprim in the blank group was only The removal rate of sulfamethoxazole and trimethoprim can be stably maintained at about 70% in the electrochemical bubble-free aerated membrane bioreactor with an external voltage of 1.0 V.
实施例2:Example 2:
利用与实施例1相同的电化学无泡曝气膜生物反应器处理含磺胺甲恶唑(SMX)、甲氧苄啶(TMP)的模拟微污染地表水,实验工况设置为:进水COD 50 mg/L,NH4 +-N 5 mg/L,磺胺甲恶唑 100 μg/L,甲氧苄啶100 μg/L,水力停留时间为4 h,稳压直流电源电压为1.5 V。其他条件相同,设置不加电的反应器为空白对照组。在连续流模式下操作运行20天后检测反应器出水情况,结果显示,两个反应器的出水COD 均低于10 mg/L,空白组对磺胺甲恶唑、甲氧苄啶的去除率只能达到约10%,而外加1.5 V电压的电化学无泡曝气膜生物反应器对磺胺甲恶唑、甲氧苄啶的去除率可稳定维持在80%以上。The same electrochemical bubble-free aerated membrane bioreactor as in Example 1 was used to treat the simulated micro-polluted surface water containing sulfamethoxazole (SMX) and trimethoprim (TMP), and the experimental conditions were set as: influent COD 50 mg/L, NH 4 + -N 5 mg/L, sulfamethoxazole 100 μg/L, trimethoprim 100 μg/L, the hydraulic retention time was 4 h, and the regulated DC power supply voltage was 1.5 V. Other conditions were the same, and the unpowered reactor was set as the blank control group. After 20 days of operation in continuous flow mode, the effluent condition of the reactor was detected. The results showed that the effluent COD of the two reactors was lower than 10 mg/L, and the removal rate of sulfamethoxazole and trimethoprim in the blank group was only The removal rate of sulfamethoxazole and trimethoprim can be stably maintained at more than 80% by the electrochemical bubble-free aerated membrane bioreactor with an external voltage of 1.5 V.
实施例3:Example 3:
利用与实施例1相同的电化学无泡曝气膜生物反应器处理含磺胺甲恶唑(SMX)、甲氧苄啶(TMP)的模拟微污染地表水,实验工况设置为:进水COD 50 mg/L,NH4 +-N 5 mg/L,磺胺甲恶唑 100 μg/L,甲氧苄啶100 μg/L,水力停留时间为8 h,稳压直流电源电压为2 V。其他条件相同,设置不加电的反应器为空白对照组。在连续流模式下操作运行20天后检测反应器出水情况,结果显示,两个反应器的出水COD 均低于10 mg/L,空白组对磺胺甲恶唑、甲氧苄啶的去除率只能达到约10%,而外加2 V电压的电化学无泡曝气膜生物反应器对磺胺甲恶唑、甲氧苄啶的去除率可稳定维持在90%以上。The same electrochemical bubble-free aerated membrane bioreactor as in Example 1 was used to treat the simulated micro-polluted surface water containing sulfamethoxazole (SMX) and trimethoprim (TMP), and the experimental conditions were set as: influent COD 50 mg/L, NH 4 + -N 5 mg/L, sulfamethoxazole 100 μg/L, trimethoprim 100 μg/L, the hydraulic retention time was 8 h, and the regulated DC power supply voltage was 2 V. Other conditions were the same, and the unpowered reactor was set as the blank control group. After 20 days of operation in continuous flow mode, the effluent condition of the reactor was detected. The results showed that the effluent COD of the two reactors was lower than 10 mg/L, and the removal rate of sulfamethoxazole and trimethoprim in the blank group was only The removal rate of sulfamethoxazole and trimethoprim was stably maintained at more than 90% in the electrochemical bubble-free aerated membrane bioreactor with an external voltage of 2 V.
可以理解的是,以上关于本发明的具体描述,仅用于说明本发明而并非受限于本发明实施例所描述的技术方案。本领域的普通技术人员应当理解,仍然可以对本发明进行修改或等同替换,以达到相同的技术效果;只要满足使用需要,都在本发明的保护范围之内。It can be understood that the above specific description of the present invention is only used to illustrate the present invention and is not limited to the technical solutions described in the embodiments of the present invention. Those of ordinary skill in the art should understand that the present invention can still be modified or equivalently replaced to achieve the same technical effect; as long as it meets the needs of use, it is within the protection scope of the present invention.
Claims (7)
Priority Applications (1)
| Application Number | Priority Date | Filing Date | Title |
|---|---|---|---|
| CN202010035667.0A CN111186961B (en) | 2020-01-14 | 2020-01-14 | Electrochemical bubble-free aeration membrane bioreactor and application thereof |
Applications Claiming Priority (1)
| Application Number | Priority Date | Filing Date | Title |
|---|---|---|---|
| CN202010035667.0A CN111186961B (en) | 2020-01-14 | 2020-01-14 | Electrochemical bubble-free aeration membrane bioreactor and application thereof |
Publications (2)
| Publication Number | Publication Date |
|---|---|
| CN111186961A CN111186961A (en) | 2020-05-22 |
| CN111186961B true CN111186961B (en) | 2022-04-26 |
Family
ID=70703709
Family Applications (1)
| Application Number | Title | Priority Date | Filing Date |
|---|---|---|---|
| CN202010035667.0A Active CN111186961B (en) | 2020-01-14 | 2020-01-14 | Electrochemical bubble-free aeration membrane bioreactor and application thereof |
Country Status (1)
| Country | Link |
|---|---|
| CN (1) | CN111186961B (en) |
Families Citing this family (4)
| Publication number | Priority date | Publication date | Assignee | Title |
|---|---|---|---|---|
| CN112607864A (en) * | 2020-12-30 | 2021-04-06 | 同济大学 | Electrochemical performance-enhanced bacteria-algae membrane aeration biomembrane reactor system and application thereof |
| CN113401981B (en) * | 2021-06-22 | 2022-07-15 | 武汉大学 | A device and method for treating organic wastewater by electro-Fenton without adding chemicals |
| CN116571101A (en) * | 2023-06-14 | 2023-08-11 | 大连理工大学 | Preparation method of conductive carbon nano tube-polyvinylidene fluoride composite hollow fiber membrane and electrochemical coupling membrane separation assembly |
| CN119269746B (en) * | 2023-07-07 | 2025-11-25 | 中国石油化工股份有限公司 | A pollutant exposure device suitable for aquatic organisms and a large-scale simulated continuous dilution method |
Citations (5)
| Publication number | Priority date | Publication date | Assignee | Title |
|---|---|---|---|---|
| CN102531153A (en) * | 2011-12-21 | 2012-07-04 | 大连大学 | Integrated bubbleless aeration membrane bioreactor |
| CN107285466A (en) * | 2017-07-10 | 2017-10-24 | 天津城建大学 | The sewage-treatment plant and processing method of bubble-free aeration bioreactor synchronous nitration and denitrification |
| CN107441950A (en) * | 2017-08-02 | 2017-12-08 | 同济大学 | A kind of electrochemical couple ceramic filtration membrane and its application |
| CN108394960A (en) * | 2017-06-19 | 2018-08-14 | 同济大学 | A kind of electrochemical cathode micro-filtration membrane coupled reactor suitable for source water pollutant removal |
| CN110156145A (en) * | 2019-04-10 | 2019-08-23 | 同济大学 | A Novel Electrochemical Fluidized Bed Microfiltration Membrane Bioreactor and Its Application |
-
2020
- 2020-01-14 CN CN202010035667.0A patent/CN111186961B/en active Active
Patent Citations (5)
| Publication number | Priority date | Publication date | Assignee | Title |
|---|---|---|---|---|
| CN102531153A (en) * | 2011-12-21 | 2012-07-04 | 大连大学 | Integrated bubbleless aeration membrane bioreactor |
| CN108394960A (en) * | 2017-06-19 | 2018-08-14 | 同济大学 | A kind of electrochemical cathode micro-filtration membrane coupled reactor suitable for source water pollutant removal |
| CN107285466A (en) * | 2017-07-10 | 2017-10-24 | 天津城建大学 | The sewage-treatment plant and processing method of bubble-free aeration bioreactor synchronous nitration and denitrification |
| CN107441950A (en) * | 2017-08-02 | 2017-12-08 | 同济大学 | A kind of electrochemical couple ceramic filtration membrane and its application |
| CN110156145A (en) * | 2019-04-10 | 2019-08-23 | 同济大学 | A Novel Electrochemical Fluidized Bed Microfiltration Membrane Bioreactor and Its Application |
Also Published As
| Publication number | Publication date |
|---|---|
| CN111186961A (en) | 2020-05-22 |
Similar Documents
| Publication | Publication Date | Title |
|---|---|---|
| CN111186961B (en) | Electrochemical bubble-free aeration membrane bioreactor and application thereof | |
| CN103613254B (en) | The deep treatment method of fine chemistry industry garden sewage work organic wastewater with difficult degradation thereby | |
| CN108821498B (en) | A method for treating black and odorous water bodies using bionics | |
| CN112607864A (en) | Electrochemical performance-enhanced bacteria-algae membrane aeration biomembrane reactor system and application thereof | |
| CN111573830A (en) | Device and method for deep denitrification by coupling anaerobic ammonia oxidation and hydrogen autotrophic denitrification | |
| CN110451636A (en) | A kind of membrane bioreactor, sewage disposal system and processing method | |
| CN110240367A (en) | A sewage treatment system and method for simultaneous and efficient removal of carbon, nitrogen and phosphorus | |
| CN108455799A (en) | Sewage disposal system and method | |
| CN102249480A (en) | System and operating method for treating rubbish leachate and urban household sewage in combined way | |
| CN109970194A (en) | It is a kind of integrate Ao Baoer, biological multiplication, MBBR, MBR diversification technique sewage treatment pot | |
| CN103496789A (en) | Sewage treatment unit and method using bioelectrochemistry to aid membrane bioreactor | |
| CN104628133B (en) | A kind of overflow-type electrochemica biological membrane reactor | |
| CN101704575B (en) | Energy-saving and aerating filling device and integrated oxidization and sedimentation basin having same | |
| CN106045010A (en) | Speed separation ball filter material | |
| CN113087321A (en) | Container formula electro-Fenton biochemical pond MBR membrane allies oneself with uses water treatment system | |
| CN217838497U (en) | Synchronous nitrification and denitrification sewage treatment device based on MABR (moving aerated biofilm reactor) membrane | |
| CN106745675B (en) | A bioelectrochemical device and working method for treating antibiotic wastewater | |
| CN210150799U (en) | A sewage treatment tank integrating Obauer, biomultiplier, MBBR, and MBR diversified processes | |
| CN208218617U (en) | Sewage disposal system | |
| CN109231673B (en) | A/O combined micro-electric field-Fe/C reinforced dephosphorization device and application thereof | |
| CN113955899A (en) | Efficient paint production wastewater treatment system and process | |
| CN110342634A (en) | The micro- oxygen sludge bed process of membrane aeration biomembrane and its wastewater treatment method | |
| CN102001745A (en) | Low-energy consumption aeration-free membrane bioreactor | |
| CN111018101B (en) | A membrane biofilm culture and domestication process and a membrane biofilm reaction device for treating high-salt wastewater | |
| CN209537084U (en) | A kind of device of Anammox and the coupling depth denitrogenation of hydrogen autotrophic denitrification |
Legal Events
| Date | Code | Title | Description |
|---|---|---|---|
| PB01 | Publication | ||
| PB01 | Publication | ||
| SE01 | Entry into force of request for substantive examination | ||
| SE01 | Entry into force of request for substantive examination | ||
| GR01 | Patent grant | ||
| GR01 | Patent grant |
