CN111185826A - 一种新型打磨装置 - Google Patents
一种新型打磨装置 Download PDFInfo
- Publication number
- CN111185826A CN111185826A CN202010203846.0A CN202010203846A CN111185826A CN 111185826 A CN111185826 A CN 111185826A CN 202010203846 A CN202010203846 A CN 202010203846A CN 111185826 A CN111185826 A CN 111185826A
- Authority
- CN
- China
- Prior art keywords
- bevel gear
- cavity
- transmission shaft
- transmission
- grinding
- Prior art date
- Legal status (The legal status is an assumption and is not a legal conclusion. Google has not performed a legal analysis and makes no representation as to the accuracy of the status listed.)
- Withdrawn
Links
- 230000005540 biological transmission Effects 0.000 claims abstract description 84
- 230000007246 mechanism Effects 0.000 claims description 9
- 238000005498 polishing Methods 0.000 abstract description 22
- 244000137852 Petrea volubilis Species 0.000 description 2
- 230000009471 action Effects 0.000 description 2
- 230000009286 beneficial effect Effects 0.000 description 2
- 230000008859 change Effects 0.000 description 2
- 230000006872 improvement Effects 0.000 description 2
- 239000004576 sand Substances 0.000 description 2
- 230000000694 effects Effects 0.000 description 1
- 229910001651 emery Inorganic materials 0.000 description 1
- 238000009434 installation Methods 0.000 description 1
- 238000003754 machining Methods 0.000 description 1
- 238000004519 manufacturing process Methods 0.000 description 1
- 238000000034 method Methods 0.000 description 1
- 238000012986 modification Methods 0.000 description 1
- 230000004048 modification Effects 0.000 description 1
- 230000008569 process Effects 0.000 description 1
Images
Classifications
-
- B—PERFORMING OPERATIONS; TRANSPORTING
- B24—GRINDING; POLISHING
- B24B—MACHINES, DEVICES, OR PROCESSES FOR GRINDING OR POLISHING; DRESSING OR CONDITIONING OF ABRADING SURFACES; FEEDING OF GRINDING, POLISHING, OR LAPPING AGENTS
- B24B21/00—Machines or devices using grinding or polishing belts; Accessories therefor
-
- B—PERFORMING OPERATIONS; TRANSPORTING
- B24—GRINDING; POLISHING
- B24B—MACHINES, DEVICES, OR PROCESSES FOR GRINDING OR POLISHING; DRESSING OR CONDITIONING OF ABRADING SURFACES; FEEDING OF GRINDING, POLISHING, OR LAPPING AGENTS
- B24B21/00—Machines or devices using grinding or polishing belts; Accessories therefor
- B24B21/18—Accessories
- B24B21/20—Accessories for controlling or adjusting the tracking or the tension of the grinding belt
-
- B—PERFORMING OPERATIONS; TRANSPORTING
- B24—GRINDING; POLISHING
- B24B—MACHINES, DEVICES, OR PROCESSES FOR GRINDING OR POLISHING; DRESSING OR CONDITIONING OF ABRADING SURFACES; FEEDING OF GRINDING, POLISHING, OR LAPPING AGENTS
- B24B27/00—Other grinding machines or devices
- B24B27/0084—Other grinding machines or devices the grinding wheel support being angularly adjustable
-
- B—PERFORMING OPERATIONS; TRANSPORTING
- B24—GRINDING; POLISHING
- B24B—MACHINES, DEVICES, OR PROCESSES FOR GRINDING OR POLISHING; DRESSING OR CONDITIONING OF ABRADING SURFACES; FEEDING OF GRINDING, POLISHING, OR LAPPING AGENTS
- B24B41/00—Component parts such as frames, beds, carriages, headstocks
- B24B41/06—Work supports, e.g. adjustable steadies
-
- B—PERFORMING OPERATIONS; TRANSPORTING
- B24—GRINDING; POLISHING
- B24B—MACHINES, DEVICES, OR PROCESSES FOR GRINDING OR POLISHING; DRESSING OR CONDITIONING OF ABRADING SURFACES; FEEDING OF GRINDING, POLISHING, OR LAPPING AGENTS
- B24B47/00—Drives or gearings; Equipment therefor
-
- B—PERFORMING OPERATIONS; TRANSPORTING
- B24—GRINDING; POLISHING
- B24B—MACHINES, DEVICES, OR PROCESSES FOR GRINDING OR POLISHING; DRESSING OR CONDITIONING OF ABRADING SURFACES; FEEDING OF GRINDING, POLISHING, OR LAPPING AGENTS
- B24B47/00—Drives or gearings; Equipment therefor
- B24B47/22—Equipment for exact control of the position of the grinding tool or work at the start of the grinding operation
Landscapes
- Engineering & Computer Science (AREA)
- Mechanical Engineering (AREA)
- Finish Polishing, Edge Sharpening, And Grinding By Specific Grinding Devices (AREA)
Abstract
本发明公开了一种新型打磨装置,包括底座,所述底座内设有电机腔,所述电机腔左侧顶端设有传动腔,所述传动腔右侧设有打磨腔,所述打磨腔前端铰接有转动块,所述打磨腔后端壁上转动安装有锥齿轮轴,所述锥齿轮轴上固定安装有第一锥齿轮,所述锥齿轮轴向前延伸转动安装在所述打磨腔前端壁上,所述锥齿轮轴向前伸出所述打磨腔且所述锥齿轮轴前端固定安装有主传动皮带轮,本装置机构简单,使用简便,通过转动块,铰接球以及扇形齿轮之间的的配合使得皮带在转动皮带轮的作用下前后移动,增加打磨效率,同时通过往复机构以及夹紧机构的配合使得待加工工具能够绕定位杆转动,同时待加工工具在砂轮皮带上进行转动实现全方位的打磨。
Description
技术领域
本发明涉及磨具技术领域,具体为一种新型打磨装置。
背景技术
在当下生活中,对加工过后的工具进行打磨抛光工序已是工具生产中的重要一环,而现如今对磨具的要求亦是越来越高,通过磨具对产品进行磨削以及抛光是对产品的耐用度以及耐久度等能力的提升,故对于磨具的使用方式以及磨具的选取亦是多种多样,而如今的磨具诸如砂轮,砂块,砂纸,锉刀以及磨盘等对于产品的打磨仅仅是一个方向,对于多方向诸如球形结构时打磨又不易打磨完全,留有缺隙,本发明阐述的一种新型打磨装置能够解决此问题。
发明内容
技术问题:
通过磨具对产品进行磨削以及抛光是对产品的耐用度以及耐久度等能力的提升,故对于磨具的使用方式以及磨具的选取亦是多种多样,而如今的磨具诸如砂轮,砂块,砂纸,锉刀以及磨盘等对于产品的打磨仅仅是一个方向,对于多方向诸如球形结构时打磨又不易打磨完全,留有缺隙。
为解决上述问题,本例设计了一种新型打磨装置,包括底座,所述底座内设有电机腔,所述电机腔左侧顶端设有传动腔,所述传动腔右侧设有打磨腔,所述打磨腔前端铰接有转动块,所述打磨腔后端壁上转动安装有锥齿轮轴,所述锥齿轮轴上固定安装有第一锥齿轮,所述锥齿轮轴向前延伸转动安装在所述打磨腔前端壁上,所述锥齿轮轴向前伸出所述打磨腔且所述锥齿轮轴前端固定安装有主传动皮带轮,所述打磨腔前端转动安装有副皮带轮,所述转动块上转动安装有转动皮带轮,所述主传动皮带轮,所述副皮带轮以及所述转动皮带轮通过砂轮皮带相安装配合,所述打磨腔左侧底端转动安装有第一传动轴,所述第一传动轴顶端固定安装有第二锥齿轮,所述第一锥齿轮与所述第二锥齿轮相啮合,所述打磨腔右侧底端转动安装有第二传动轴,所述打磨腔底端向上开设有滑动槽,所述第二传动轴伸入所述滑动槽内且所述第二传动轴顶端固定安装有扇形齿轮,所述滑动槽内滑动安装有一滑动块,所述滑动块开设有槽,所述槽前后安装有齿条组,所述齿条组与所述扇形齿轮相配合,所述滑动块左端固定安装有固定杆,所述固定杆左端固定安装有铰接球,所述铰接球与所述转动块相铰接。
进一步的,所述电机腔内设有电机,所述电机动力输出轴转动安装在所述电机腔顶部,所述动力输出轴上固定安装有蜗杆,所述电机腔左右内端壁上转动安装有主传动轴,所述主传动轴上从左到右固定安装有第三锥齿轮,第四锥齿轮,蜗轮以及第五锥齿轮,所述蜗杆与所述蜗轮相啮合,所述第一传动轴向下伸入所述电机腔内且所述第一传动轴底端固定安装有第六锥齿轮,所述第六锥齿轮与所述第四锥齿轮相啮合,所述第二传动轴向下伸入所述电机腔内且所述第二传动轴底端固定安装有第七锥齿轮,所述第七锥齿轮与所述第五锥齿轮相啮合,所述电机腔顶端转动安装有第三传动轴,所述第三传动轴底端固定安装有第八锥齿轮,所述第八锥齿轮与所述第三锥齿轮相啮合。
进一步的,所述传动腔内设有圆盘,所述第三传动轴向上伸入所述传动腔内且所述第三传动轴转动安装在所述传动腔内,所述第三传动轴顶端与所述圆盘固定安装,所述传动腔内的所述第三传动轴右侧固定安装有一定位杆,所述定位杆顶端设有往复机构,所述往复机构包括偏心安装在所述圆盘上的圆销,所述定位杆顶端转动安装有旋转块,所述旋转块内上下开设有旋转槽,所述圆销设置在所述旋转槽内,所述定位杆右端设有夹紧架,所述夹紧架内设有开口向右的夹紧腔,所述夹紧腔顶部螺纹安装有夹紧块。
本发明的有益效果是:本装置机构简单,使用简便,通过转动块,铰接球以及扇形齿轮之间的的配合使得皮带在转动皮带轮的作用下前后移动,增加打磨效率,同时通过往复机构以及夹紧机构的配合使得待加工工具能够绕定位杆转动,同时待加工工具在砂轮皮带上进行转动实现全方位的打磨。
附图说明
为了更清楚地说明本发明实施例或现有技术中的技术方案,下面将对实施例中所需要使用的附图作简单地介绍,显而易见地,下面描述中的附图仅仅是本发明的一些实施例,对于本领域普通技术人员来讲,在不付出创造性劳动的前提下,还可以根据这些附图获得其他的附图。
图1为本发明的一种新型打磨装置的整体结构示意图;
图2为图1中“A”的放大结构示意图;
图3是图2中“B-B”方向的结构示意图;
图4是图1中“C-C”方向的结构示意图;
图5是图1中“D”的放大结构示意图;
图6是图5中“E”的放大结构示意图;
图7是图6中“F-F”方向的结构示意图。
具体实施方式
下面结合图1-图7对本发明进行详细说明,为叙述方便,现对下文所说的方位规定如下:下文所说的上下左右前后方向与图1本身投影关系的上下左右前后方向一致。
本发明涉及一种新型打磨装置,主要用于磨具以及打磨方向,下面将结合本发明附图对本发明做进一步说明:
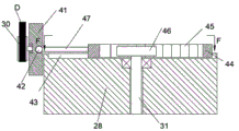
本发明所述的一种新型打磨装置包括底座11,所述底座11内设有电机腔12,所述电机腔12左侧顶端设有传动腔23,所述传动腔23右侧设有打磨腔28,所述打磨腔28前端铰接有转动块41,所述打磨腔28后端壁上转动安装有锥齿轮轴39,所述锥齿轮轴39上固定安装有第一锥齿轮38,所述锥齿轮轴39向前延伸转动安装在所述打磨腔28前端壁上,所述锥齿轮轴39向前伸出所述打磨腔28且所述锥齿轮轴39前端固定安装有主传动皮带轮29,所述打磨腔28前端转动安装有副皮带轮26,所述转动块41上转动安装有转动皮带轮30,所述主传动皮带轮29,所述副皮带轮26以及所述转动皮带轮30通过砂轮皮带27相安装配合,所述打磨腔28左侧底端转动安装有第一传动轴22,所述第一传动轴22顶端固定安装有第二锥齿轮40,所述第一锥齿轮38与所述第二锥齿轮40相啮合,所述打磨腔28右侧底端转动安装有第二传动轴31,所述打磨腔28底端向上开设有滑动槽43,所述第二传动轴31伸入所述滑动槽43内且所述第二传动轴31顶端固定安装有扇形齿轮46,所述滑动槽43内滑动安装有一滑动块44,所述滑动块44开设有槽48,所述槽48前后安装有齿条组45,所述齿条组45与所述扇形齿轮46相配合,所述滑动块左端固定安装有固定杆47,所述固定杆47左端固定安装有铰接球42,所述铰接球42与所述转动块41相铰接。
有益的,所述电机腔12内设有电机16,所述电机16动力输出轴15转动安装在所述电机腔12顶部,所述动力输出轴15上固定安装有蜗杆17,所述电机腔12左右内端壁上转动安装有主传动轴13,所述主传动轴13上从左到右固定安装有第三锥齿轮21,第四锥齿轮19,蜗轮15以及第五锥齿轮33,所述蜗杆17与所述蜗轮15相啮合,所述第一传动轴22向下伸入所述电机腔12内且所述第一传动轴22底端固定安装有第六锥齿轮18,所述第六锥齿轮18与所述第四锥齿轮19相啮合,所述第二传动轴31向下伸入所述电机腔12内且所述第二传动轴31底端固定安装有第七锥齿轮32,所述第七锥齿轮32与所述第五锥齿轮33相啮合,所述电机腔12顶端转动安装有第三传动轴22,所述第三传动轴22底端固定安装有第八锥齿轮20,所述第八锥齿轮20与所述第三锥齿轮21相啮合。
有益的,所述传动腔23内设有圆盘24,所述第三传动轴22向上伸入所述传动腔23内且所述第三传动轴22转动安装在所述传动腔23内,所述第三传动轴22顶端与所述圆盘24固定安装,所述传动腔23内的所述第三传动轴22右侧固定安装有一定位杆40,所述定位杆40顶端设有往复机构25,所述往复机构25包括偏心安装在所述圆盘24上的圆销35,所述定位杆40顶端转动安装有旋转块34,所述旋转块34内上下开设有旋转槽36,所述圆销35设置在所述旋转槽36内,所述定位杆40右端设有夹紧架37,所述夹紧架37内设有开口向右的夹紧腔39,所述夹紧腔39顶部螺纹安装有夹紧块38。
以下结合图1至图7对本文中的一种新型打磨装置的使用步骤进行详细说明:
初始状态时,所述电机16不运转,所述夹紧块38由于螺纹的作用位于夹紧腔39最顶部,所述转动块30由于铰接球42以及滑动块44的作用与所述打磨腔28前端接触。
当需要对待测工件进行打磨时,将待测工件放入夹紧腔39内同时转动夹紧块38使得夹紧块38通过螺纹连接将待测工件夹紧,驱动所述电机16,所述电机16带动动力输出轴14,蜗杆17,蜗轮15,主传动轴13,第三锥齿轮21,第八锥齿轮20,第三传动轴22,圆盘24以及圆销35带动旋转块34绕定位杆40转动,旋转块34带动夹紧架37转动,夹紧架37内部的待测工件跟随一起转动,同时电机16带动带动动力输出轴14,蜗杆17,蜗轮15,主传动轴13,第四锥齿轮19,第六锥齿轮18,第一传动轴22,第二锥齿轮40,第一锥齿轮38以及锥齿轮轴39转动,所述锥齿轮轴上的主传动皮带轮29通过砂轮皮带27带动副皮带轮26以及转动皮带轮30转动,通过砂轮皮带27与待测工件之间的摩擦对待测工件进行打磨抛光,同时所述电机16带动动力输出轴14,蜗杆17,蜗轮15,主传动轴13,第五锥齿轮33,第七锥齿轮32,第二传动轴31,扇形齿轮46,齿条组45,滑动块44,固定杆47以及铰接球42带动转动块41转动,位于转动块41上的转动皮带轮30跟随转动块41一同转动,由于转动皮带轮30的位置改变,使得砂轮皮带27受力方向改变,从而使砂轮皮带27通过转动皮带轮30的位置改变而在主传动皮带轮29以及副皮带轮26上前后滑动,增加待测工件的受力面,提高效率。
以上所述仅为本发明的较佳实施例而已,并不用以限制本发明,凡在本发明的精神和原则之内,所作的任何修改、等同替换、改进等,均应包含在本发明的保护范围之内。
Claims (3)
1.一种新型打磨装置,包括底座,其特征在于:所述底座内设有电机腔,所述电机腔左侧顶端设有传动腔,所述传动腔右侧设有打磨腔,所述打磨腔前端铰接有转动块,所述打磨腔后端壁上转动安装有锥齿轮轴,所述锥齿轮轴上固定安装有第一锥齿轮,所述锥齿轮轴向前延伸转动安装在所述打磨腔前端壁上,所述锥齿轮轴向前伸出所述打磨腔且所述锥齿轮轴前端固定安装有主传动皮带轮,所述打磨腔前端转动安装有副皮带轮,所述转动块上转动安装有转动皮带轮,所述主传动皮带轮,所述副皮带轮以及所述转动皮带轮通过砂轮皮带相安装配合,所述打磨腔左侧底端转动安装有第一传动轴,所述第一传动轴顶端固定安装有第二锥齿轮,所述第一锥齿轮与所述第二锥齿轮相啮合,所述打磨腔右侧底端转动安装有第二传动轴,所述打磨腔底端向上开设有滑动槽,所述第二传动轴伸入所述滑动槽内且所述第二传动轴顶端固定安装有扇形齿轮,所述滑动槽内滑动安装有一滑动块,所述滑动块开设有槽,所述槽前后安装有齿条组,所述齿条组与所述扇形齿轮相配合,所述滑动块左端固定安装有固定杆,所述固定杆左端固定安装有铰接球,所述铰接球与所述转动块相铰接。
2.根据权利要求1所述的一种新型打磨装置,其特征在于:所述电机腔内设有电机,所述电机动力输出轴转动安装在所述电机腔顶部,所述动力输出轴上固定安装有蜗杆,所述电机腔左右内端壁上转动安装有主传动轴,所述主传动轴上从左到右固定安装有第三锥齿轮,第四锥齿轮,蜗轮以及第五锥齿轮,所述蜗杆与所述蜗轮相啮合,所述第一传动轴向下伸入所述电机腔内且所述第一传动轴底端固定安装有第六锥齿轮,所述第六锥齿轮与所述第四锥齿轮相啮合,所述第二传动轴向下伸入所述电机腔内且所述第二传动轴底端固定安装有第七锥齿轮,所述第七锥齿轮与所述第五锥齿轮相啮合,所述电机腔顶端转动安装有第三传动轴,所述第三传动轴底端固定安装有第八锥齿轮,所述第八锥齿轮与所述第三锥齿轮相啮合。
3.根据权利要求1所述的一种新型打磨装置,其特征在于:所述传动腔内设有圆盘,所述第三传动轴向上伸入所述传动腔内且所述第三传动轴转动安装在所述传动腔内,所述第三传动轴顶端与所述圆盘固定安装,所述传动腔内的所述第三传动轴右侧固定安装有一定位杆,所述定位杆顶端设有往复机构,所述往复机构包括偏心安装在所述圆盘上的圆销,所述定位杆顶端转动安装有旋转块,所述旋转块内上下开设有旋转槽,所述圆销设置在所述旋转槽内,所述定位杆右端设有夹紧架,所述夹紧架内设有开口向右的夹紧腔,所述夹紧腔顶部螺纹安装有夹紧块。
Priority Applications (1)
| Application Number | Priority Date | Filing Date | Title |
|---|---|---|---|
| CN202010203846.0A CN111185826A (zh) | 2020-03-21 | 2020-03-21 | 一种新型打磨装置 |
Applications Claiming Priority (1)
| Application Number | Priority Date | Filing Date | Title |
|---|---|---|---|
| CN202010203846.0A CN111185826A (zh) | 2020-03-21 | 2020-03-21 | 一种新型打磨装置 |
Publications (1)
| Publication Number | Publication Date |
|---|---|
| CN111185826A true CN111185826A (zh) | 2020-05-22 |
Family
ID=70704848
Family Applications (1)
| Application Number | Title | Priority Date | Filing Date |
|---|---|---|---|
| CN202010203846.0A Withdrawn CN111185826A (zh) | 2020-03-21 | 2020-03-21 | 一种新型打磨装置 |
Country Status (1)
| Country | Link |
|---|---|
| CN (1) | CN111185826A (zh) |
Cited By (2)
| Publication number | Priority date | Publication date | Assignee | Title |
|---|---|---|---|---|
| CN111482873A (zh) * | 2020-05-28 | 2020-08-04 | 王军 | 一种打磨抛光机床 |
| CN113618571A (zh) * | 2021-08-16 | 2021-11-09 | 苏州市东望钣金有限公司 | 倒圆角自动磨削工装及磨削方法 |
-
2020
- 2020-03-21 CN CN202010203846.0A patent/CN111185826A/zh not_active Withdrawn
Cited By (3)
| Publication number | Priority date | Publication date | Assignee | Title |
|---|---|---|---|---|
| CN111482873A (zh) * | 2020-05-28 | 2020-08-04 | 王军 | 一种打磨抛光机床 |
| CN111482873B (zh) * | 2020-05-28 | 2021-10-26 | 山东恒信科技服务有限公司 | 一种打磨抛光机床 |
| CN113618571A (zh) * | 2021-08-16 | 2021-11-09 | 苏州市东望钣金有限公司 | 倒圆角自动磨削工装及磨削方法 |
Similar Documents
| Publication | Publication Date | Title |
|---|---|---|
| CN211805451U (zh) | 一种机械加工生产用的抛光设备 | |
| CN111230668B (zh) | 一种铝合金型材机械抛光装置 | |
| CN215787232U (zh) | 一种齿轮加工用剔毛刺装置 | |
| CN215748320U (zh) | 一种陶瓷半球阀阀芯加工装置 | |
| CN111185826A (zh) | 一种新型打磨装置 | |
| CN115194628A (zh) | 一种变速箱壳体铸件外表面清理打磨设备 | |
| CN216542465U (zh) | 一种发动机缸体内腔打磨装置 | |
| CN222779291U (zh) | 一种液压油缸端部加工装置 | |
| CN221270596U (zh) | 一种齿轮去毛刺的打磨机构 | |
| CN222569482U (zh) | 一种齿轮打磨装置 | |
| CN219882198U (zh) | 一种水泵外壳端盖打磨用定位工装 | |
| CN213438765U (zh) | 一种用于齿轮生产的端面去毛刺装置 | |
| CN116000727B (zh) | 一种装载机后桥的支撑打磨装置 | |
| CN115502874B (zh) | 一种汽车刹车盘抛光装置 | |
| CN215432993U (zh) | 自动化风机外壳打磨机 | |
| CN213917590U (zh) | 一种用于半导体单晶硅加工用外圆磨床 | |
| CN222741048U (zh) | 一种机械加工的磨床定位装置 | |
| CN215035979U (zh) | 一种电机皮带轮生产用打磨装置 | |
| CN223383233U (zh) | 一种金属制品打磨机构 | |
| CN222449706U (zh) | 一种具有废料清理结构的打磨装置 | |
| CN215470372U (zh) | 一种用于不规则表面的抛光机构 | |
| CN220762240U (zh) | 一种进给机构 | |
| CN221539194U (zh) | 一种机械零部件的去毛刺机构 | |
| CN218397395U (zh) | 一种燃气灶压电陶瓷加工用磨边装置 | |
| CN221232378U (zh) | 一种用于数控磨削加工的复合磨轮 |
Legal Events
| Date | Code | Title | Description |
|---|---|---|---|
| PB01 | Publication | ||
| PB01 | Publication | ||
| SE01 | Entry into force of request for substantive examination | ||
| SE01 | Entry into force of request for substantive examination | ||
| WW01 | Invention patent application withdrawn after publication | ||
| WW01 | Invention patent application withdrawn after publication |
Application publication date: 20200522 |