CN111129854A - 电连接器 - Google Patents

电连接器 Download PDF

Info

Publication number
CN111129854A
CN111129854A CN201911159784.1A CN201911159784A CN111129854A CN 111129854 A CN111129854 A CN 111129854A CN 201911159784 A CN201911159784 A CN 201911159784A CN 111129854 A CN111129854 A CN 111129854A
Authority
CN
China
Prior art keywords
ring
connector
wave crest
electrical connector
insulating body
Prior art date
Legal status (The legal status is an assumption and is not a legal conclusion. Google has not performed a legal analysis and makes no representation as to the accuracy of the status listed.)
Granted
Application number
CN201911159784.1A
Other languages
English (en)
Other versions
CN111129854B (zh
Inventor
王冬生
李伟
韩子骞
王航
魏星星
陈卫
肖潇
刘静
贺永辉
杜登科
吴兴花
Current Assignee (The listed assignees may be inaccurate. Google has not performed a legal analysis and makes no representation or warranty as to the accuracy of the list.)
Shenzhen Yingda Information Technology Co ltd
Original Assignee
Shenzhen Yingda Information Technology Co ltd
Priority date (The priority date is an assumption and is not a legal conclusion. Google has not performed a legal analysis and makes no representation as to the accuracy of the date listed.)
Filing date
Publication date
Application filed by Shenzhen Yingda Information Technology Co ltd filed Critical Shenzhen Yingda Information Technology Co ltd
Priority to CN201911159784.1A priority Critical patent/CN111129854B/zh
Publication of CN111129854A publication Critical patent/CN111129854A/zh
Application granted granted Critical
Publication of CN111129854B publication Critical patent/CN111129854B/zh
Active legal-status Critical Current
Anticipated expiration legal-status Critical

Links

Images

Classifications

    • HELECTRICITY
    • H01ELECTRIC ELEMENTS
    • H01RELECTRICALLY-CONDUCTIVE CONNECTIONS; STRUCTURAL ASSOCIATIONS OF A PLURALITY OF MUTUALLY-INSULATED ELECTRICAL CONNECTING ELEMENTS; COUPLING DEVICES; CURRENT COLLECTORS
    • H01R13/00Details of coupling devices of the kinds covered by groups H01R12/70 or H01R24/00 - H01R33/00
    • H01R13/46Bases; Cases
    • H01R13/52Dustproof, splashproof, drip-proof, waterproof, or flameproof cases
    • HELECTRICITY
    • H01ELECTRIC ELEMENTS
    • H01RELECTRICALLY-CONDUCTIVE CONNECTIONS; STRUCTURAL ASSOCIATIONS OF A PLURALITY OF MUTUALLY-INSULATED ELECTRICAL CONNECTING ELEMENTS; COUPLING DEVICES; CURRENT COLLECTORS
    • H01R13/00Details of coupling devices of the kinds covered by groups H01R12/70 or H01R24/00 - H01R33/00
    • H01R13/46Bases; Cases
    • H01R13/52Dustproof, splashproof, drip-proof, waterproof, or flameproof cases
    • H01R13/5219Sealing means between coupling parts, e.g. interfacial seal

Landscapes

  • Connector Housings Or Holding Contact Members (AREA)

Abstract

本发明提供一种电连接器,用以朝前与一对接连接器对接,所述电连接器的特征在于,包括一绝缘本体,具有一主体部和由所述主体部朝前延伸的一舌部;多个端子,设于所述绝缘本体且显露于所述舌部;一密封圈,设于所述主体部且环绕所述舌部,所述密封圈具有沿前后平行设置的一第一波峰圈和一第二波峰圈,所述对接连接器沿对接方向抵接于所述第一波峰圈,达到良好的密封效果,防止水分进入所述电连接器内部,造成端子短路,且由于所述对接连接器主要对所述密封圈产生正向的挤压力,不会造成所述密封圈的磨损,防止密封圈失去密封效果。

Description

电连接器
技术领域
本发明涉及一种电连接器,尤指一种防水电连接器。
背景技术:
现有的一种防水连接器,包括壳体和设于壳体外表面一圈的防水圈,当插接连接器与防水连接器插接时,防水圈可密封防水连接器的外壳与插接连接器之间的间隙,以防止水分进入内部,造成短路。然而,在多次插拔的过程中,防水圈与插接连接器反复摩擦,容易造成磨损,导致密封性降低,甚至造成防水圈脱离,无法起到密封效果。
本发明针对以上问题,提供一种新的电连接器,采用新的方法和技术手段以解决这些问题。
发明内容
针对背景技术所面临的问题,本发明创作的目的在于提供一种通过设置在绝缘本体上的密封圈与对接连接器沿对接方向对接,以达到密封效果的电连接器。
为实现上述目的,本发明采用以下技术手段:
本发明提供一种电连接器,用以朝前与一对接连接器对接,所述电连接器的特征在于,包括:一绝缘本体,具有一主体部和由所述主体部朝前延伸的一舌部;多个端子,设于所述绝缘本体且显露于所述舌部;一密封圈,设于所述主体部且环绕所述舌部,所述密封圈具有沿前后平行设置的一第一波峰圈和一第二波峰圈,所述对接连接器沿对接方向抵接于所述第一波峰圈。
可选地,所述第一波峰圈受挤压而朝向所述第二波峰圈运动。
可选地,所述密封圈受压缩而横向扩张。
可选地,所述密封圈设于所述舌部与所述主体部的连接处。
可选地,所述密封圈由弹性材料注塑成型于所述主体部的前端面。
本发明提供一种电连接器,用以朝前与一对接连接器对接,所述电连接器的特征在于,包括:绝缘本体、设于所述绝缘本体上的端子、包覆于所述绝缘本体的外壳,和设于所述外壳的前端面上的弹性密封圈;所述密封圈具有沿前后方向平行设置的第一波峰圈和第二波峰圈,所述对接连接器沿对接方向抵接于所述第一波峰圈。
可选地,所述第一波峰圈受挤压而朝向所述第二波峰圈运动。
可选地,所述密封圈受压缩而横向扩张。
可选地,所述电连接器与所述对接连接器包括相互配合的卡勾和缺口,当所述卡勾卡扣于所述缺口时,所述对接连接器刚好抵接并压缩所述第一波峰圈。
本发明提供一种电连接器,用以朝前与一对接连接器对接,所述电连接器的特征在于,包括:绝缘本体、设于所述绝缘本体上的端子、包覆于所述绝缘本体的外壳,和设于所述绝缘本体的前表面且环绕所述端子的弹性密封圈;所述密封圈具有沿前后方向平行设置的第一波峰圈和第二波峰圈,所述对接连接器沿对接方向抵接于所述第一波峰圈。
与现有技术相比,本发明具有以下有益效果:
通过在所述主体部上环绕所述舌部设置密封圈,且所述密封圈具有沿前后平行设置的一第一波峰圈和一第二波峰圈,所述对接连接器沿对接方向抵接于所述第一波峰圈,以达到良好的密封效果,防止水分进入电连接器内部,造成端子短路;且由于所述对接连接器仅对所述密封圈产生挤压而不会产生摩擦,不会造成所述密封圈的磨损,防止密封圈失去密封效果;更重要的,通过设置所述第一波峰圈和所述第二波峰圈,使得所述密封圈具有更大的压缩量,使得所述电连接器与所述对接连接器沿对接方向具有更大的配合公差,具有更大的容错量,降低所述电连接器的设计难度。
附图说明
图1为本发明第一实施例电连接器与对接连接器对接前的立体图;
图2为本发明的电连接器去掉外壳后的示意图;
图3为图1中的电连接器与对接连接器对接后的示意图;
图4为图3中沿A-A方向的剖视图;
图5为本发明第二实施例电连接器与对接连接器对接前的立体图;
图6为图5中的电连接器与对接连接器对接后的示意图;
图7为图6中沿B-B方向的剖视图。
具体实施方式的附图标号说明:
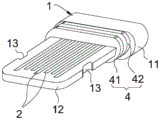
电连接器100 绝缘本体1 主体部11 舌部12 缺口13
端子2 外壳3 密封圈4 第一波峰圈41 第二波峰圈42
对接连接器200 金属壳5 绝缘体6 对接腔7 对接端子8
卡勾9
具体实施方式
为便于更好的理解本发明的目的、结构、特征以及功效等,现结合附图和具体实施方式对本发明作进一步说明。
如图1所示,为本发明第一实施例的电连接器100与对接连接器200。
请补充参考图2所示,所述电连接器100主要包括一个绝缘本体1、设于所述绝缘本体1的多个端子2、包覆于所述绝缘本体1的外壳3以及设于所述绝缘本体1上的弹性密封圈4。
所述绝缘本体1具有一个主体部11和由所述主体部11的前端面朝前延伸的一个舌部12,所述舌部12的两侧各设有一个缺口13,多个所述端子2与所述绝缘本体1一体注塑成型,且多个所述端子2显露于所述舌部12的表面。所述密封圈4由弹性材料注塑成型于所述主体部11上且环绕所述舌部12设置,所述密封圈4优选为设于所述主体部11与所述舌部12的连接处,所述密封圈4包括前后平行设置的第一波峰圈41和第二波峰圈42,所述第一波峰圈41和所述第二波峰圈42之间形成一个凹陷的波谷,进一步增加所述密封圈4的弹性。
所述外壳3由金属制成,以对所述端子2起到屏蔽和保护的作用。
如图3和图4所示,所述电连接器100用以朝前与所述对接连接器200相对接,所述对接连接器200包括一个金属壳5和收容于所述金属壳5的绝缘体6,所述绝缘体6的中间形成一个对接腔7,多个对接端子8设于所述绝缘体6且显露于所述对接腔7,用以与多个所述端子2电性接触,所述对接腔7的两侧各设有一个卡勾9,用以与两个所述缺口13相卡扣。
当所述对接连接器200沿对接方向与所述电连接器100对接时,所述舌部12进入所述对接腔7,所述金属壳5的前端面抵接并挤压所述第一波峰圈41,使得所述第一波峰圈41朝向所述第二波峰圈42运动,且所述密封圈4由于整体受压而产生横向扩张,进一步填充所述电连接器100与所述对接连接器200之间的间隙。且当所述卡勾9进入所述缺口13时,所述电连接器100与所述对接连接器200完成对接,多个所述端子2与多个所述对接端子8对应形成电连接,所述金属壳5的前端面刚好抵接并对所述第一波峰圈41形成压缩,达到良好的密封效果。由于所述第一波峰圈41与所述第二波峰圈42之间的波谷的存在,使得所述密封圈4沿对接方向具有很大的压缩量,即使所述卡勾9与所述缺口13的配合公差较大,也能完成对接。
如图5至图7所示,为本发明第二实施例的电连接器100,其余第一实施例的区别在于:所述密封圈4设于所述外壳3的前端面上,当所述电连接器100朝前与所述对接连接器200对接时,所述对接连接器200沿对接方向(或朝前)抵接并压缩所述密封圈4,从而形成密封效果。
其它实施例中(未图示,下同),所述缺口13可设于所述对接连接器200上,相对应的,所述卡勾9可以设于所述电连接器100上。
其它实施例中(未图示,下同),所述密封圈4可设于所述对接连接器200上,当所述电连接器100与所述对接连接器200对接时,所述电连接器100将沿对接方向抵接并压缩所述密封圈4,从而形成密封效果。
本发明的电连接器具有以下有益效果:
1、通过在所述主体部11上环绕所述舌部12设置密封圈4,且所述密封圈4具有沿前后平行设置的一第一波峰圈41和一第二波峰圈42,所述对接连接器200沿对接方向抵接于所述第一波峰圈41,以达到良好的密封效果,防止水分进入电连接器100内部,造成端子2短路;且由于所述对接连接器200仅对所述密封圈4产生挤压而不会产生摩擦,不会造成所述密封圈4的磨损,防止密封圈4失去密封效果;更重要的,通过设置所述第一波峰圈41和所述第二波峰圈42,使得所述密封圈4具有更大的压缩量,使得所述电连接器100与所述对接连接器200沿对接方向具有更大的配合公差,具有更大的容错量,降低所述电连接器100的设计难度。
2、通过在所述外壳3的前端面上设置的弹性密封圈4,且所述密封圈4具有沿前后方向平行设置的所述第一波峰圈41和所述第二波峰圈42,所述对接连接器200沿对接方向抵接于所述第一波峰圈41,以达到良好的密封效果,防止水分进入电连接器100内部,造成端子2短路;且由于所述对接连接器200仅对所述密封圈4产生挤压而不会产生摩擦,不会造成所述密封圈4的磨损,防止密封圈4失去密封效果;更重要的,通过设置所述第一波峰圈41和所述第二波峰圈42,使得所述密封圈4具有更大的压缩量,使得所述电连接器100与所述对接连接器200沿对接方向具有更大的配合公差,具有更大的容错量,降低所述电连接器100的设计难度。
以上详细说明仅为本发明之较佳实施例的说明,非因此局限本发明之专利范围,所以,凡运用本创作说明书及图示内容所为之等效技术变化,均包含于本创作之专利范围内。

Claims (10)

1.一种电连接器,用以朝前与一对接连接器对接,所述电连接器的特征在于,包括:
一绝缘本体,具有一主体部和由所述主体部朝前延伸的一舌部;
多个端子,设于所述绝缘本体且显露于所述舌部;
一密封圈,设于所述主体部且环绕所述舌部,所述密封圈具有沿前后平行设置的一第一波峰圈和一第二波峰圈,所述对接连接器沿对接方向抵接于所述第一波峰圈。
2.如权利要求1所述的电连接器,其特征在于:所述第一波峰圈受挤压而朝向所述第二波峰圈运动。
3.如权利要求1所述的电连接器,其特征在于:所述密封圈受压缩而横向扩张。
4.如权利要求1所述的电连接器,其特征在于:所述密封圈设于所述舌部与所述主体部的连接处。
5.如权利要求1所述的电连接器,其特征在于:所述密封圈由弹性材料注塑成型于所述主体部的前端面。
6.一种电连接器,用以朝前与一对接连接器对接,所述电连接器的特征在于,包括:
绝缘本体、设于所述绝缘本体上的端子、包覆于所述绝缘本体的外壳,和设于所述外壳的前端面上的弹性密封圈;所述密封圈具有沿前后方向平行设置的第一波峰圈和第二波峰圈,所述对接连接器沿对接方向抵接于所述第一波峰圈。
7.如权利要求6所述的电连接器,其特征在于:所述第一波峰圈受挤压而朝向所述第二波峰圈运动。
8.如权利要求6所述的电连接器,其特征在于:所述密封圈受压缩而横向扩张。
9.如权利要求6所述的电连接器,其特征在于:所述电连接器与所述对接连接器包括相互配合的卡勾和缺口,当所述卡勾卡扣于所述缺口时,所述对接连接器刚好抵接并压缩所述第一波峰圈。
10.一种电连接器,用以朝前与一对接连接器对接,所述电连接器的特征在于,包括:
绝缘本体、设于所述绝缘本体上的端子、包覆于所述绝缘本体的外壳,和设于所述绝缘本体的前表面且环绕所述端子的弹性密封圈;所述密封圈具有沿前后方向平行设置的第一波峰圈和第二波峰圈,所述对接连接器沿对接方向抵接于所述第一波峰圈。
CN201911159784.1A 2019-11-22 2019-11-22 电连接器 Active CN111129854B (zh)

Priority Applications (1)

Application Number Priority Date Filing Date Title
CN201911159784.1A CN111129854B (zh) 2019-11-22 2019-11-22 电连接器

Applications Claiming Priority (1)

Application Number Priority Date Filing Date Title
CN201911159784.1A CN111129854B (zh) 2019-11-22 2019-11-22 电连接器

Publications (2)

Publication Number Publication Date
CN111129854A true CN111129854A (zh) 2020-05-08
CN111129854B CN111129854B (zh) 2021-10-12

Family

ID=70496440

Family Applications (1)

Application Number Title Priority Date Filing Date
CN201911159784.1A Active CN111129854B (zh) 2019-11-22 2019-11-22 电连接器

Country Status (1)

Country Link
CN (1) CN111129854B (zh)

Citations (12)

* Cited by examiner, † Cited by third party
Publication number Priority date Publication date Assignee Title
JPH0714635A (ja) * 1993-06-22 1995-01-17 Yazaki Corp 防水コネクタのシール部材
TWM453272U (zh) * 2013-01-14 2013-05-11 Amphenol Ltw Technology Co Ltd 具止擋結構之防水連接器
CN203009700U (zh) * 2012-12-19 2013-06-19 杭州东华链条集团有限公司 一种密封圈链条
CN203103646U (zh) * 2013-01-17 2013-07-31 安费诺亮泰企业股份有限公司 防水电连接器
CN203434356U (zh) * 2013-07-12 2014-02-12 番禺得意精密电子工业有限公司 电连接器
CN203707457U (zh) * 2013-11-01 2014-07-09 安费诺亮泰企业股份有限公司 防水连接器
US9093779B1 (en) * 2014-02-12 2015-07-28 Cheng Uei Precision Industry Co., Ltd. Water-proof connector
CN206364268U (zh) * 2016-12-12 2017-07-28 番禺得意精密电子工业有限公司 电连接器
CN207338689U (zh) * 2017-03-31 2018-05-08 珠海市魅族科技有限公司 连接器
CN108075290A (zh) * 2017-11-28 2018-05-25 昆山思瑞奕电子有限公司 电连接器
CN108232699A (zh) * 2016-12-15 2018-06-29 富士康(昆山)电脑接插件有限公司 电连接器
CN209313047U (zh) * 2018-10-15 2019-08-27 泰科电子(上海)有限公司 电连接器

Patent Citations (12)

* Cited by examiner, † Cited by third party
Publication number Priority date Publication date Assignee Title
JPH0714635A (ja) * 1993-06-22 1995-01-17 Yazaki Corp 防水コネクタのシール部材
CN203009700U (zh) * 2012-12-19 2013-06-19 杭州东华链条集团有限公司 一种密封圈链条
TWM453272U (zh) * 2013-01-14 2013-05-11 Amphenol Ltw Technology Co Ltd 具止擋結構之防水連接器
CN203103646U (zh) * 2013-01-17 2013-07-31 安费诺亮泰企业股份有限公司 防水电连接器
CN203434356U (zh) * 2013-07-12 2014-02-12 番禺得意精密电子工业有限公司 电连接器
CN203707457U (zh) * 2013-11-01 2014-07-09 安费诺亮泰企业股份有限公司 防水连接器
US9093779B1 (en) * 2014-02-12 2015-07-28 Cheng Uei Precision Industry Co., Ltd. Water-proof connector
CN206364268U (zh) * 2016-12-12 2017-07-28 番禺得意精密电子工业有限公司 电连接器
CN108232699A (zh) * 2016-12-15 2018-06-29 富士康(昆山)电脑接插件有限公司 电连接器
CN207338689U (zh) * 2017-03-31 2018-05-08 珠海市魅族科技有限公司 连接器
CN108075290A (zh) * 2017-11-28 2018-05-25 昆山思瑞奕电子有限公司 电连接器
CN209313047U (zh) * 2018-10-15 2019-08-27 泰科电子(上海)有限公司 电连接器

Also Published As

Publication number Publication date
CN111129854B (zh) 2021-10-12

Similar Documents

Publication Publication Date Title
US8215988B2 (en) Waterproof electrical connector
JP6053920B2 (ja) コネクタの防水構造
JP6198066B2 (ja) コネクタ
US4648672A (en) Wire seal
US10074930B2 (en) Electrical connector having excellent waterproof property
TWI266459B (en) Micro coaxial cable assembly having improved contacts
US10305219B2 (en) Plug connector with damping element
CN110932009A (zh) 具有引入的绝缘压接
CN107546518B (zh) 电连接器
US3621448A (en) Accordion seal for electrical connectors
CN111129854B (zh) 电连接器
CN107910711B (zh) 插座连接器
US5490789A (en) Molded connector with internal grounding
CN102377063B (zh) 电连接器组件及其插头连接器组件
KR101810128B1 (ko) 고전압 커넥터용 와이어 연결장치
KR20130043017A (ko) 고전압 커넥터용 와이어 연결장치
CN109449693B (zh) 连接器组件、连接器、绝缘体
KR102046412B1 (ko) 밀폐형 고전압 전선 조인트 클립
JP2007042449A (ja) フラットケーブル用防水コネクタ
CN105932475B (zh) 射频连接器组件及其射频连接器和适配射频连接器
JP6195137B1 (ja) コネクタ
CN212725733U (zh) 电连接器
US11171442B2 (en) Housing
JP4080670B2 (ja) コネクタ
KR100833802B1 (ko) 쉴드쉘 커넥터 조립체

Legal Events

Date Code Title Description
PB01 Publication
PB01 Publication
SE01 Entry into force of request for substantive examination
SE01 Entry into force of request for substantive examination
GR01 Patent grant
GR01 Patent grant