CN111076310A - Fresh air cooling and heating dehumidification integrated machine - Google Patents

Fresh air cooling and heating dehumidification integrated machine Download PDF

Info

Publication number
CN111076310A
CN111076310A CN202010059497.XA CN202010059497A CN111076310A CN 111076310 A CN111076310 A CN 111076310A CN 202010059497 A CN202010059497 A CN 202010059497A CN 111076310 A CN111076310 A CN 111076310A
Authority
CN
China
Prior art keywords
air
return
heat exchanger
fresh air
opening
Prior art date
Legal status (The legal status is an assumption and is not a legal conclusion. Google has not performed a legal analysis and makes no representation as to the accuracy of the status listed.)
Pending
Application number
CN202010059497.XA
Other languages
Chinese (zh)
Inventor
杨建斌
王德锁
Current Assignee (The listed assignees may be inaccurate. Google has not performed a legal analysis and makes no representation or warranty as to the accuracy of the list.)
Zhejiang Xingguang Dianke Intelligent Home Technology Co ltd
Original Assignee
Zhejiang Xingguang Dianke Intelligent Home Technology Co ltd
Priority date (The priority date is an assumption and is not a legal conclusion. Google has not performed a legal analysis and makes no representation as to the accuracy of the date listed.)
Filing date
Publication date
Application filed by Zhejiang Xingguang Dianke Intelligent Home Technology Co ltd filed Critical Zhejiang Xingguang Dianke Intelligent Home Technology Co ltd
Priority to CN202010059497.XA priority Critical patent/CN111076310A/en
Publication of CN111076310A publication Critical patent/CN111076310A/en
Pending legal-status Critical Current

Links

Images

Classifications

    • FMECHANICAL ENGINEERING; LIGHTING; HEATING; WEAPONS; BLASTING
    • F24HEATING; RANGES; VENTILATING
    • F24FAIR-CONDITIONING; AIR-HUMIDIFICATION; VENTILATION; USE OF AIR CURRENTS FOR SCREENING
    • F24F3/00Air-conditioning systems in which conditioned primary air is supplied from one or more central stations to distributing units in the rooms or spaces where it may receive secondary treatment; Apparatus specially designed for such systems
    • F24F3/044Systems in which all treatment is given in the central station, i.e. all-air systems
    • FMECHANICAL ENGINEERING; LIGHTING; HEATING; WEAPONS; BLASTING
    • F24HEATING; RANGES; VENTILATING
    • F24FAIR-CONDITIONING; AIR-HUMIDIFICATION; VENTILATION; USE OF AIR CURRENTS FOR SCREENING
    • F24F11/00Control or safety arrangements
    • F24F11/62Control or safety arrangements characterised by the type of control or by internal processing, e.g. using fuzzy logic, adaptive control or estimation of values
    • F24F11/63Electronic processing
    • F24F11/65Electronic processing for selecting an operating mode
    • FMECHANICAL ENGINEERING; LIGHTING; HEATING; WEAPONS; BLASTING
    • F24HEATING; RANGES; VENTILATING
    • F24FAIR-CONDITIONING; AIR-HUMIDIFICATION; VENTILATION; USE OF AIR CURRENTS FOR SCREENING
    • F24F11/00Control or safety arrangements
    • F24F11/70Control systems characterised by their outputs; Constructional details thereof
    • F24F11/72Control systems characterised by their outputs; Constructional details thereof for controlling the supply of treated air, e.g. its pressure
    • FMECHANICAL ENGINEERING; LIGHTING; HEATING; WEAPONS; BLASTING
    • F24HEATING; RANGES; VENTILATING
    • F24FAIR-CONDITIONING; AIR-HUMIDIFICATION; VENTILATION; USE OF AIR CURRENTS FOR SCREENING
    • F24F11/00Control or safety arrangements
    • F24F11/89Arrangement or mounting of control or safety devices
    • FMECHANICAL ENGINEERING; LIGHTING; HEATING; WEAPONS; BLASTING
    • F24HEATING; RANGES; VENTILATING
    • F24FAIR-CONDITIONING; AIR-HUMIDIFICATION; VENTILATION; USE OF AIR CURRENTS FOR SCREENING
    • F24F13/00Details common to, or for air-conditioning, air-humidification, ventilation or use of air currents for screening
    • F24F13/28Arrangement or mounting of filters
    • FMECHANICAL ENGINEERING; LIGHTING; HEATING; WEAPONS; BLASTING
    • F24HEATING; RANGES; VENTILATING
    • F24FAIR-CONDITIONING; AIR-HUMIDIFICATION; VENTILATION; USE OF AIR CURRENTS FOR SCREENING
    • F24F13/00Details common to, or for air-conditioning, air-humidification, ventilation or use of air currents for screening
    • F24F13/30Arrangement or mounting of heat-exchangers
    • FMECHANICAL ENGINEERING; LIGHTING; HEATING; WEAPONS; BLASTING
    • F24HEATING; RANGES; VENTILATING
    • F24FAIR-CONDITIONING; AIR-HUMIDIFICATION; VENTILATION; USE OF AIR CURRENTS FOR SCREENING
    • F24F3/00Air-conditioning systems in which conditioned primary air is supplied from one or more central stations to distributing units in the rooms or spaces where it may receive secondary treatment; Apparatus specially designed for such systems
    • F24F3/12Air-conditioning systems in which conditioned primary air is supplied from one or more central stations to distributing units in the rooms or spaces where it may receive secondary treatment; Apparatus specially designed for such systems characterised by the treatment of the air otherwise than by heating and cooling
    • F24F3/14Air-conditioning systems in which conditioned primary air is supplied from one or more central stations to distributing units in the rooms or spaces where it may receive secondary treatment; Apparatus specially designed for such systems characterised by the treatment of the air otherwise than by heating and cooling by humidification; by dehumidification
    • F24F3/1405Air-conditioning systems in which conditioned primary air is supplied from one or more central stations to distributing units in the rooms or spaces where it may receive secondary treatment; Apparatus specially designed for such systems characterised by the treatment of the air otherwise than by heating and cooling by humidification; by dehumidification in which the humidity of the air is exclusively affected by contact with the evaporator of a closed-circuit cooling system or heat pump circuit
    • FMECHANICAL ENGINEERING; LIGHTING; HEATING; WEAPONS; BLASTING
    • F24HEATING; RANGES; VENTILATING
    • F24FAIR-CONDITIONING; AIR-HUMIDIFICATION; VENTILATION; USE OF AIR CURRENTS FOR SCREENING
    • F24F8/00Treatment, e.g. purification, of air supplied to human living or working spaces otherwise than by heating, cooling, humidifying or drying
    • F24F8/10Treatment, e.g. purification, of air supplied to human living or working spaces otherwise than by heating, cooling, humidifying or drying by separation, e.g. by filtering
    • FMECHANICAL ENGINEERING; LIGHTING; HEATING; WEAPONS; BLASTING
    • F24HEATING; RANGES; VENTILATING
    • F24FAIR-CONDITIONING; AIR-HUMIDIFICATION; VENTILATION; USE OF AIR CURRENTS FOR SCREENING
    • F24F8/00Treatment, e.g. purification, of air supplied to human living or working spaces otherwise than by heating, cooling, humidifying or drying
    • F24F8/10Treatment, e.g. purification, of air supplied to human living or working spaces otherwise than by heating, cooling, humidifying or drying by separation, e.g. by filtering
    • F24F8/108Treatment, e.g. purification, of air supplied to human living or working spaces otherwise than by heating, cooling, humidifying or drying by separation, e.g. by filtering using dry filter elements
    • FMECHANICAL ENGINEERING; LIGHTING; HEATING; WEAPONS; BLASTING
    • F24HEATING; RANGES; VENTILATING
    • F24FAIR-CONDITIONING; AIR-HUMIDIFICATION; VENTILATION; USE OF AIR CURRENTS FOR SCREENING
    • F24F2110/00Control inputs relating to air properties
    • F24F2110/50Air quality properties

Landscapes

  • Engineering & Computer Science (AREA)
  • Chemical & Material Sciences (AREA)
  • Combustion & Propulsion (AREA)
  • Mechanical Engineering (AREA)
  • General Engineering & Computer Science (AREA)
  • Signal Processing (AREA)
  • Physics & Mathematics (AREA)
  • Fuzzy Systems (AREA)
  • Mathematical Physics (AREA)
  • Central Air Conditioning (AREA)

Abstract

本发明一种新风冷暖除湿一体机,涉及家用电器领域。本发明包括壳体,设于壳体内的第一送风风机、第二送风风机、排风风机、换热器,设于壳体外的电控组件,所述壳体的一侧设有新风口,所述新风口的两边分别设有第一送风口、第二送风口;所述壳体的对侧设置有带止回阀的排风口51,排风口两边设置第一回风口、第二回风口;所述换热器设置在壳体中部,使得自第一回风口或第二回风口进入的室内空气能通过换热器从第一送风口与第二送风口进入室内,且自新风口进入的室外新风能通过换热器从第一送风口与第二送风口进入室内。本发明提供了一种带制冷制热功能、理论覆盖面积大、送风量大的新风机。

Figure 202010059497

The invention relates to a fresh air cooling, heating and dehumidifying integrated machine, which relates to the field of household appliances. The invention includes a casing, a first air supply fan, a second air supply fan, an exhaust fan and a heat exchanger arranged in the casing, an electric control assembly arranged outside the casing, and one side of the casing is provided with a new The air outlet, the two sides of the new air outlet are respectively provided with a first air outlet and a second air outlet; the opposite side of the casing is provided with an air outlet 51 with a check valve, and both sides of the air outlet are provided with a first air outlet, The second air return port; the heat exchanger is arranged in the middle of the casing, so that the indoor air entering from the first air return port or the second air return port can enter the room from the first air supply port and the second air supply port through the heat exchanger, and The outdoor fresh air energy entering from the fresh air outlet enters the room from the first air supply opening and the second air supply opening through the heat exchanger. The invention provides a fresh fan with cooling and heating function, large theoretical coverage area and large air supply volume.

Figure 202010059497

Description

Fresh air cooling and heating dehumidification integrated machine
Technical Field
The invention relates to the field of household appliances, in particular to a new fan.
Background
The traditional fresh air machine is simple in structure, mainly takes fresh air ventilation as a main part, and is single in function. The new fan of current total heat exchange has total heat exchange and air-purifying's effect, but its heat exchange efficiency is not high, can't realize the effect of adjusting indoor air temperature, humidity moreover, needs the product of additional installation air conditioner class, occupies indoor space like this, can't satisfy the demand of present user to high-quality life.
For example, the utility model discloses a patent application publication No. CN207907389U, publication No. 2018, 9/25/h, the utility model is named as a total heat exchange fresh air fan, which discloses a total heat exchange fresh air fan, the structure of which comprises a total heat exchange fresh air fan body, a total heat exchanger, an indoor air inlet, an outdoor air inlet, an indoor air outlet, an outdoor air outlet, a centrifugal fan, a purification device and a heating device, wherein the total heat exchanger is arranged in the middle of the total heat exchange fresh air fan body, the left side of the top of the total heat exchange fresh air fan body is provided with the indoor air inlet, the right side of the top of the total heat exchange fresh air fan body is provided with the outdoor air inlet, the outsides of the indoor air inlet and the outdoor air inlet are provided with the heating device, infrared heating lamp tubes are distributed in the heating device, the insides of the indoor air inlet and the outdoor air inlet are provided with the purification device, the left side, and an outdoor air outlet is formed in the right side of the bottom of the total heat exchange fresh air machine body. Although the utility model discloses an effectively with the wind heating that the new fan produced, the high efficiency is clean with filtration, eliminates the bacterium, but can't realize the effect of adjusting indoor air temperature, humidity, and the function is single, needs the product of additional installation air conditioner class, occupies more spaces.
Disclosure of Invention
The invention overcomes the problems that the traditional fresh air fan in the prior art is simple in structure, mainly takes fresh air ventilation as main, is single in function, is low in heat exchange efficiency of a total heat exchange fresh air fan, does not have a temperature and humidity adjusting function, and needs to additionally install air conditioners, occupies space, and provides the fresh air fan with a refrigerating and heating function, large theoretical coverage area and large air supply quantity.
In order to achieve the above purpose, the invention is realized by the following technical scheme:
a fresh air cooling and heating dehumidification integrated machine comprises a shell, a first air supply fan, a second air supply fan, an exhaust fan, a heat exchanger and an electric control assembly, wherein the first air supply fan, the second air supply fan, the exhaust fan and the heat exchanger are arranged in the shell; an air outlet with a check valve is arranged on the opposite side of the shell, and a first air return opening and a second air return opening are arranged on two sides of the air outlet; the heat exchanger is arranged in the middle of the shell, so that indoor air entering from the first air return opening or the second air return opening can enter the room from the first air supply opening and the second air supply opening through the heat exchanger, and outdoor fresh air entering from the fresh air opening enters the room from the first air supply opening and the second air supply opening through the heat exchanger.
Set up two return air inlets and two air supply fan for more indoor air is adjusted into suitable humiture after the heat exchanger and is sent into indoorly again, has improved conversion efficiency and theoretical coverage, and the demand that more efficient satisfied user's needs. And meanwhile, the fresh air opening is arranged, so that outdoor fresh air can be adjusted to be proper in temperature and humidity through the heat exchanger from the fresh air opening and then enters the room from the first air supply opening and the second air supply opening, and fresh air is brought to the room. The arranged air exhaust fan can enable indoor air entering from the first air return opening and the second air return opening to be directly exhausted from the air exhaust opening, and the indoor air purification function is achieved.
Preferably, the fresh air inlet in the shell is separated from the first air supply outlet and the second air supply outlet in the shell by the first fresh air baffle and the second fresh air baffle respectively.
The fresh air inlet is separated from the first air supply outlet and the second air supply outlet, so that the fresh air outside enters the room only through the first air supply outlet and the second air supply outlet after entering the room through the heat exchanger.
Preferably, a first return air filter screen assembly is arranged between the first return air inlet in the shell and the heat exchanger, and a second return air filter screen assembly is arranged between the second return air inlet in the shell and the heat exchanger; and a fresh air filter screen assembly is arranged between the fresh air inlet in the shell and the heat exchanger.
The first return air filter screen component filters the indoor air entering from the first return air inlet, and the second return air filter screen component filters the indoor air entering from the second return air inlet, so that the indoor air is purified. The fresh air filter screen component filters fresh air entering from the fresh air port, so that air entering the room is cleaner.
Preferably, a first electric heating module is arranged between the first air supply fan and the heat exchanger, and a second electric heating module is arranged between the second air supply fan and the heat exchanger.
The first electric heating module and the second electric heating module improve the heating capacity of the fresh air machine when the air temperature is lower, and the heating efficiency is improved.
Preferably, the first air return filter screen assembly is provided with a first negative ion purification assembly on one side facing the first air return opening, and the second air return filter screen assembly is provided with a second negative ion purification assembly on one side facing the second air return opening.
First anion purifies the subassembly and removes dust, removes flavor, sterilization to the room air that gets into from first return air inlet, and second anion purifies the subassembly and removes dust, removes flavor, sterilization to the room air that gets into from the second return air inlet, makes room air cleaner and cleaner like this.
Preferably, an air quality detection assembly is arranged between the first negative ion purification assembly and the first air return opening.
The indoor air quality that air quality detection subassembly can detect can adjust new fan and start corresponding function according to indoor air quality.
Preferably, the fresh air opening in the shell is provided with an electric air valve.
The electronic blast gate that the fresh air inlet set up can control the switch in fresh air inlet for new fan can switch different modes.
Preferably, the heat exchanger is connected to the outdoor unit through a refrigerant pipe.
The heat exchanger is connected with the outdoor unit through a refrigerant pipeline, and the heat exchanger can be controlled to refrigerate and heat by controlling the flow direction of the refrigerant, so that the temperature and the humidity of air are adjusted.
Preferably, a water collecting tank is arranged below the heat exchanger, and the water collecting tank is connected with a drain pipe and extends out of the side face of the shell.
The water catch bowl can effectively avoid the seepage problem of comdenstion water in equipment inside.
Preferably, a first return air reserved opening is formed in the shell of the cavity where the first return air opening is located, and a second return air reserved opening is formed in the shell of the cavity where the second return air opening is located.
The first return air reserved opening and the second return air reserved opening are arranged, so that the pipe path of the return air pipeline can be adjusted more conveniently, and the problem of system pipeline interference caused by factors such as building structures, installation positions and installation spaces is solved.
Compared with the prior art, the invention has the beneficial effects that:
1. the invention combines the refrigerating and heating functions of the air conditioner, solves the problem that a user needs to install both the air conditioner and the new fan, and saves space.
2. The invention is provided with two air return inlets and two air supply fans, so that more indoor air is adjusted into proper temperature and humidity after passing through the heat exchanger and then is sent into the room, the conversion efficiency and the theoretical coverage range are improved, and the air supply quantity is large.
3. The invention is provided with two return air reserved ports, the pipe path of the return air pipeline can be more conveniently adjusted, and the problem of system pipeline interference caused by factors such as building structure, installation position, installation space and the like is avoided.
Drawings
Fig. 1 is a schematic view of the overall structure of the fresh air cooling, heating and dehumidifying all-in-one machine.
FIG. 2 is a schematic diagram of the overall structure of the fresh air cooling, heating and dehumidifying all-in-one machine
FIG. 3 is an air flow diagram of the internal circulation mode of the fresh air cooling, heating and dehumidifying all-in-one machine of the invention.
Fig. 4 is an air flow diagram of a fresh air external circulation mode of the fresh air cooling and heating dehumidification integrated machine.
FIG. 5 is an air flow diagram of the air exhaust internal circulation mode of the fresh air cooling, heating and dehumidifying all-in-one machine of the invention.
FIG. 6 is an air flow diagram of a mixed circulation mode of the fresh air cooling, heating and dehumidifying all-in-one machine of the present invention.
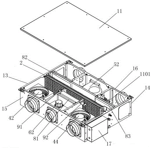
In the figure: 11-a top cover plate, 12-a bottom plate, 13-a first side plate, 14-a second side plate, 15-a first ventilation plate, 16-a second ventilation plate, 17-an electronic control component, 2-a heat exchanger, 3-a water collecting tank, 41-a first air supply outlet, 42-a first air supply fan, 43-a second air supply outlet, 44-a second air supply fan, 51-an air outlet with a check valve, 52-an air exhaust fan, 61-a fresh air inlet, 62-an electric air valve, 71-a first air return inlet, 72-a second air return inlet, 81-a fresh air filter screen component, 82-a first air return filter screen component, 83-a second air return filter screen component, 91-a first electric heating module, 92-a second electric heating module, 1001-a first negative ion purification component, 1002-a second negative ion purification component, 1101-an air quality detection assembly, 1201-a first air return reserved port, 1202-a first air return reserved port cover plate, 1203-a second air return reserved port, 1204-a second air return reserved port cover plate, 1301-a first exhaust partition plate, 1302-a second exhaust partition plate, 1303-a first exhaust air inlet, 1304-a second exhaust air inlet, 1401-a first fresh air baffle, 1402-a second fresh air baffle and 1501-heat preservation silencing cotton.
Detailed Description
The following are specific embodiments of the present invention and are further described with reference to the drawings, but the present invention is not limited to these embodiments.
As shown in fig. 1 and fig. 2, a fresh air cooling and heating dehumidification integrated machine comprises a housing, a first air supply fan 42, a second air supply fan 44, an exhaust fan 52, a heat exchanger 2 and an electric control assembly 17, wherein the first air supply fan, the second air supply fan 44, the exhaust fan 52 and the heat exchanger 2 are arranged in the housing, the electric control assembly 17 is arranged outside the housing, a fresh air port 61 is arranged at one side of the housing, and a first air supply port 41 and a second air supply port 43 are respectively arranged at two sides of the fresh air port 61; an air outlet 51 with a check valve is arranged on the opposite side of the shell, and a first air return opening 71 and a second air return opening 72 are arranged on two sides of the air outlet 51; the heat exchanger 2 is arranged in the middle of the casing, so that indoor air entering from the first air return opening 71 or the second air return opening 72 can enter the room from the first air supply opening 41 and the second air supply opening 43 through the heat exchanger 2, and outdoor fresh air entering from the fresh air opening 61 can enter the room from the first air supply opening 41 and the second air supply opening 43 through the heat exchanger 2.
Set up two return air inlets and two air supply fan for more indoor air is adjusted into suitable humiture after heat exchanger 2 and is sent into indoorly again, has improved conversion efficiency and theoretical coverage, and the demand that more efficient satisfied user's needs. Meanwhile, the fresh air opening 61 is arranged, so that outdoor fresh air can be adjusted to be proper in temperature and humidity through the heat exchanger 2 from the fresh air opening 61 and then enters the room from the first air supply opening 41 and the second air supply opening 43, and fresh air is brought to the room. The exhaust fan 52 is arranged to make the indoor air entering from the first return air inlet 71 and the second return air inlet 72 directly exhaust from the exhaust outlet 51, and thus, the function of indoor air purification is achieved.
The shell comprises a bottom plate 12, a top cover plate 11, a first ventilating plate 15, a first side plate 13, a second ventilating plate 16 and a second side plate 14 which are sequentially connected. The middle of the first ventilating plate 15 is provided with a fresh air inlet 61, two sides of the fresh air inlet 61 are respectively provided with a first air supply outlet 41 and a second air supply outlet 43, the middle of the second ventilating plate 16 is provided with an air outlet 51, and two sides of the fresh air inlet 61 are respectively provided with a first air return opening 71 and a second air return opening 72. An exhaust fan 52 is arranged between the air outlet 51 in the shell and the heat exchanger 2, so that the indoor air entering from the first air return opening 71 and the second air return opening 72 is directly exhausted from the air outlet 51, and the indoor air purification function is achieved. And a first air supply fan 42 and a second air supply fan 44 are respectively arranged between the first air supply outlet 41 and the second air supply outlet 43 in the shell and the heat exchanger 2, so that the air supply quantity is increased by the two air supply fans, and the theoretical coverage area of the new air fan is increased. The fresh air inlet 61 in the casing is separated from the first air supply outlet 41 and the second air supply outlet 43 in the casing by the first fresh air baffle 1401 and the second fresh air baffle 1402 respectively, so that the fresh air outside enters the casing and then enters the indoor from the first air supply outlet 41 and the second air supply outlet 43 through the heat exchanger 2. The casing air outlet 51 is separated from the casing first air return opening 71 and second air return opening 72 by a first air exhaust partition 1301 provided with a first air exhaust inlet 1303 and a second air exhaust partition 1302 provided with a second air exhaust inlet 1304. The whole structure is symmetrical, which is beneficial to the installation and maintenance of the equipment.
The heat exchanger 2 is arranged in the middle of the casing, so that indoor air entering from the first air return opening 71 or the second air return opening 72 can enter the room from the first air supply opening 41 and the second air supply opening 43 through the heat exchanger 2, and outdoor fresh air entering from the fresh air opening 61 can enter the room from the first air supply opening 41 and the second air supply opening 43 through the heat exchanger 2. The heat exchanger 2 is vertically arranged, and two sides of the heat exchanger are respectively contacted with the first side plate 13 and the second side plate 14, so that the heat exchanger 2 is not contacted with the air passing through the heat exchanger 2 more comprehensively, and the contact area is large and the efficiency is high. And a water collecting tank 3 is arranged below the heat exchanger 2, and the water collecting tank 3 is connected with a drain pipe and extends out of the side face of the shell. The water collecting tank 3 can effectively avoid the leakage problem of the condensed water in the equipment.
A first return air filter screen component 82 is arranged between the first return air opening 71 in the shell and the heat exchanger 2, and a second return air filter screen component 83 is arranged between the second return air opening 72 in the shell and the heat exchanger 2; a fresh air filter screen component 81 is arranged between the fresh air inlet 61 in the shell and the heat exchanger 2. The first return air filter screen assembly 82 is provided with a first negative ion purification assembly 1001 on the side facing the first return air inlet 71, and the second return air filter screen assembly 83 is provided with a second negative ion purification assembly 1002 on the side facing the second return air inlet 72. The filter screen component mainly filters impurities in the air through the filter screen. The anion purification component is mainly used for purifying, dedusting, deodorizing and sterilizing air by generating anions.
The indoor air that gets into from first return air inlet 71 purifies through first anion purification subassembly 1001, remove dust, remove the flavor, filter through first return air filter screen subassembly 82 after the sterilization, the indoor air that gets into from second return air inlet 72 purifies through second anion purification subassembly 1002, remove dust, remove the flavor, filter through second return air filter screen subassembly 83 after the sterilization, make the indoor air obtain twice and purify like this, the air impurity that purifies through anion purification subassembly simultaneously diminishes, the absorptive impurity of filter screen diminishes makes the change frequency reduction of filter screen. Fresh air filter screen assembly 81 filters the fresh air entering from fresh air port 61, so that the air entering the room is cleaner.
An air quality detection assembly 1101 is arranged between the first negative ion purification assembly 1001 and the first air return opening 71. The air quality detection assembly 1101 includes an air extraction pump, a filter membrane, a sampler, an analyzer, and an information transmitter. The air suction pump in the air quality detection module 1101 sucks the indoor air entering from the first return air inlet 71, the sucked air passes through the filter membrane and is sampled by the sampler, the indoor air is analyzed by the analyzer, and the analysis result is sent to the fresh air machine controller through the information transmitter. According to the indoor air quality, the corresponding function of the fresh air machine can be adjusted.
A first electric heating module 91 is arranged between the first air supply fan 42 and the heat exchanger 2, and a second electric heating module 92 is arranged between the second air supply fan 44 and the heat exchanger 2. The electric heating module adopts PTC electric heating technology, PTC is semiconductor heating ceramic, when the outside temperature is reduced, the resistance value of the PTC is reduced, and the heating value is correspondingly increased. The first electric heating module 91 and the second electric heating module 92 improve the heating capacity of the fresh air machine when the air temperature is low, and improve the heating efficiency.
The heat exchanger 2 is connected with the outdoor unit through a refrigerant pipeline, and the heat exchanger 2 can be controlled to refrigerate and heat by controlling the flow direction of the refrigerant, so that the temperature and the humidity of the air can be adjusted.
A first return air reserved opening 1201 is arranged on the shell of the cavity where the first return air opening 71 is located, a second return air reserved opening 1203 is arranged on the shell of the cavity where the second return air opening 72 is located, a first return air reserved opening cover plate 1202 is arranged on the outer cover of the shell on the first return air reserved opening 1201, and a second return air reserved opening cover plate 1204 is arranged on the outer cover of the shell on the second return air reserved opening 1203. The arrangement of the first return air reserved opening 1201 and the second return air reserved opening 1203 can more conveniently adjust the pipeline path of the return air pipeline, and the problem of system pipeline interference caused by factors such as building structures, installation positions and installation spaces is avoided.
The inner surface of the fresh air fan shell is pasted with heat preservation noise reduction cotton 1501, and the heat preservation noise reduction cotton 1501 is made of high foaming polyethylene with the thickness of 5 mm-15 mm. The heat preservation amortization is cotton 1501 avoids the appearance of the dewfall problem of external surface under refrigeration or dehumidification operating mode, can effectively completely cut off the noise that noise source centrifugal fan produced simultaneously, improves the energy-conserving efficiency of product, promotes the travelling comfort of product.
The fresh air port 61 in the shell is provided with an electric air valve 62. The electric air valve 62 arranged at the fresh air opening 61 can control the opening and closing of the fresh air opening 61, so that the fresh air fan can be switched to different modes.
The mode of the fresh air cooling and heating dehumidification all-in-one machine is a refrigeration mode, a heating mode, a dehumidification mode, an inner circulation mode, a fresh air outer circulation mode, an exhaust inner circulation mode and a mixed circulation mode.
A refrigeration mode: the heat exchanger 2 is connected with an outdoor unit through a refrigerant pipeline, and the heat exchanger 2 can be controlled to refrigerate by controlling the flow direction of the refrigerant, so that the temperature and the humidity of air can be adjusted.
Heating mode: the heat exchanger 2 is connected with an outdoor unit through a refrigerant pipeline, and the heat exchanger 2 can be controlled to heat and regulate the temperature and humidity of air by controlling the flow direction of the refrigerant. The first electric heating module 91 and the second electric heating module 92 can assist the fresh air machine to heat under a relatively limited low temperature condition, so that the heating capacity of the fresh air machine is improved, and the indoor temperature set by a user can be reached more quickly.
A dehumidification mode: heat exchanger 2 passes through the refrigerant pipeline and is connected with the off-premises station, and the flow direction through the control refrigerant can control heat exchanger 2 and cool down the dehumidification, and when the higher air of relative temperature during through microthermal heat exchanger 2, the vapor that carries condenses in the air in 2 fin surfaces of heat exchanger, collects in water catch bowl 3 at last, arranges to outdoor through the drain pipe.
An internal circulation mode: as shown in fig. 3, the fresh air machine stops conveying fresh air, only the air quality and the temperature and humidity of the indoor air are processed, and the service life of the fresh air purification component is prolonged. In this mode, the electric air valve 62 for fresh air is closed, the exhaust fan 52 is not operated, and the first and second air supply fans 42 and 44 are started. Indoor air can be sent to the indoor through the first air return opening 71, the first air return duct, the first negative ion purification assembly 1001, the first air return filter screen assembly 82, the heat exchanger 2, the air supply fan and the first air supply opening 41, and indoor air can be sent to the indoor through the second air return opening 72, the second air return duct, the second negative ion purification assembly 1002, the second air return filter screen assembly 83, the heat exchanger 2, the air supply fan and the second air supply opening 43. Because the air exhaust outlet is provided with the check valve, outdoor air cannot enter the room through the air exhaust outlet.
When the cooling and heating or dehumidifying mode is operated simultaneously in the mode, outdoor fresh air is not introduced, and only the temperature and humidity of indoor air are adjusted, so that the adjusting effect on the indoor air can be more quickly displayed.
Fresh air external circulation mode: as shown in fig. 4, the fresh air blower is used for introducing fresh air from the outside into the room while processing the return air from the room, so as to bring fresh air into the room. In this mode, the electric air valve 62 for fresh air is opened, the exhaust fan 52 is not operated, and the first and second air supply fans 42 and 44 are started. After the outdoor fresh air passes through the fresh air inlet, the fresh air duct, the fresh air valve, the fresh air filter screen component 81 and the heat exchanger 2 and the indoor air passing through the first air return opening 71, the first air return duct, the first negative ion purification component 1001 and the first air return filter screen component 82 are mixed, the mixed air is sent to the indoor space through the heat exchanger 2, the first air supply fan 42 and the first air supply opening 41 again. Outdoor fresh air passes through the fresh air inlet, the fresh air valve, the fresh air filter screen component 81 and the heat exchanger 2, can also be mixed with indoor air passing through the second air return inlet 72, the second air return duct, the second negative ion purification component 1002 and the second air return filter screen component 83, and then is sent to the indoor space through the heat exchanger 2, the second air supply fan 44 and the second air supply outlet 43 again. Because the air exhaust outlet is provided with the check valve, outdoor air cannot enter the room through the air exhaust outlet. When the mode of refrigeration and heating or dehumidification is operated simultaneously, outdoor fresh air passes through the heat exchanger 2 twice, and the temperature and humidity control of air is more obvious.
Air exhaust internal circulation mode: as shown in fig. 5, the fresh air blower discharges part of the indoor return air to the outside of the room in the process of internally circulating the indoor return air, and in this mode, the fresh air blower is a negative pressure type fresh air blower, the indoor pressure is lower than the outdoor pressure, and the outdoor air flows into the room through the window gap, so that the function of exchanging the indoor air and the outdoor air is realized. In this mode, the electric air valve 62 for fresh air is closed, the exhaust fan 52 is started, and the first and second air supply fans 42 and 44 are started. The indoor air is divided into two parts by the difference of the operation directions of the first supply fan 42 and the exhaust fan 52 after passing through the first return air opening 71. A small part of air enters the air exhaust duct through a first air exhaust inlet 1303 on the first air exhaust partition plate 1301 and is exhausted outdoors through an air exhaust fan 52; most of the remaining air is sent to the room through the first negative ion purification assembly 1001, the first air return screen assembly 82, the heat exchanger 2, the first air supply fan 42, and the first air supply outlet 41. Meanwhile, the indoor air is divided into two parts by the difference of the acting directions of the second supply fan 44 and the exhaust fan 52 after passing through the second return air inlet 72. A small part of air enters the air exhaust duct through a second air exhaust air inlet 1304 on the second air exhaust partition 1302 and is exhausted outdoors through the air exhaust fan 52; most of the remaining air is sent to the room through the second negative ion purification assembly 1002, the second return air filter screen assembly 83, the heat exchanger 2, the second air supply fan and the second air supply outlet 43.
Mixed circulation mode: as shown in fig. 6, the ventilation efficiency is the highest by introducing fresh air and discharging dirty air from a part of the room while treating the original air in the part of the room. In this mode, the electric air valve 62 for fresh air is opened, the exhaust fan 52 is started, and the first and second air supply fans 42 and 44 are started. The indoor air is divided into two parts by the difference of the operation directions of the first supply fan 42 and the exhaust fan 52 after passing through the first return air opening 71. A small part of air enters the air exhaust duct through a first air exhaust inlet 1303 on the first air exhaust partition plate 1301 and is exhausted outdoors through an air exhaust fan 52; most of the air left is mixed with the fresh air passing through the fresh air inlet, the fresh air duct, the fresh air valve, the fresh air filter screen assembly 81 and the heat exchanger 2 after passing through the first negative ion purification assembly 1001 and the first air return filter screen assembly 82, and then is sent to the indoor through the heat exchanger 2, the first air supply fan 42 and the first air supply outlet 41.
Meanwhile, the indoor air is divided into two parts by the difference of the acting directions of the second supply fan 44 and the exhaust fan 52 after passing through the second return air inlet 72. A small part of air enters the air exhaust duct through a second air exhaust air inlet 1304 on the second air exhaust partition 1302 and is exhausted outdoors through the air exhaust fan 52; most residual air is mixed with fresh air passing through a fresh air inlet, a fresh air duct, a fresh air valve, a fresh air filter screen component 81 and the heat exchanger 2 after passing through the first negative ion purification component 1001 and the second return air filter screen component 83, and then is sent to the indoor through the heat exchanger 2, the second air supply fan 44 and the second air supply outlet 43.
The specific embodiments described herein are merely illustrative of the spirit of the invention. Various modifications or additions may be made to the described embodiments or alternatives may be employed by those skilled in the art without departing from the spirit or ambit of the invention as defined in the appended claims.

Claims (10)

1. A fresh air cooling and heating dehumidification integrated machine comprises a shell, a first air supply fan, a second air supply fan, an exhaust fan, a heat exchanger and an electric control assembly, wherein the first air supply fan, the second air supply fan, the exhaust fan and the heat exchanger are arranged in the shell; an air outlet with a check valve is arranged on the opposite side of the shell, and a first air return opening and a second air return opening are arranged on two sides of the air outlet; the heat exchanger is arranged in the middle of the shell, so that indoor air entering from the first air return opening or the second air return opening can enter the room from the first air supply opening and the second air supply opening through the heat exchanger, and outdoor fresh air entering from the fresh air opening enters the room from the first air supply opening and the second air supply opening through the heat exchanger.
2. A fresh air cooling and heating dehumidification all-in-one machine as claimed in claim 1, wherein the fresh air inlet in the housing is separated from the first air supply outlet and the second air supply outlet in the housing by a first fresh air baffle and a second fresh air baffle respectively.
3. A fresh air cooling, heating and dehumidifying all-in-one machine as claimed in claim 1, wherein a first return air filter screen assembly is arranged between a first return air inlet in the casing and the heat exchanger, and a second return air filter screen assembly is arranged between a second return air inlet in the casing and the heat exchanger; and a fresh air filter screen assembly is arranged between the fresh air inlet in the shell and the heat exchanger.
4. The integrated fresh air cooling, heating and dehumidifying machine according to claim 1, wherein a first electric heating module is arranged between the first air supply fan and the heat exchanger, and a second electric heating module is arranged between the second air supply fan and the heat exchanger.
5. A fresh air cooling and heating dehumidification all-in-one machine as claimed in claim 1, wherein the first return air filter screen assembly is provided with a first negative ion purification assembly on a side facing the first return air inlet, and the second return air filter screen assembly is provided with a second negative ion purification assembly on a side facing the second return air inlet.
6. A fresh air cooling and heating dehumidification all-in-one machine as claimed in claim 1, wherein an air quality detection assembly is arranged between the first negative ion purification assembly and the first air return opening.
7. A fresh air cooling, heating and dehumidifying all-in-one machine as claimed in claim 1, wherein an electric air valve is arranged at a fresh air inlet in the shell.
8. A fresh air cooling, heating and dehumidifying all-in-one machine as claimed in claim 1, wherein the heat exchanger is connected with an outdoor unit through a refrigerant pipeline.
9. A fresh air cooling, heating and dehumidifying all-in-one machine as claimed in claim 1, wherein a water collecting tank is arranged below the heat exchanger, and the water collecting tank is connected with a water drain pipe which extends out of the side face of the shell.
10. A fresh air cooling, heating and dehumidifying all-in-one machine as claimed in claim 1, wherein a first air return reserved opening is formed in a housing of the chamber in which the first air return opening is located, and a second air return reserved opening is formed in a housing of the chamber in which the second air return opening is located.
CN202010059497.XA 2020-01-19 2020-01-19 Fresh air cooling and heating dehumidification integrated machine Pending CN111076310A (en)

Priority Applications (1)

Application Number Priority Date Filing Date Title
CN202010059497.XA CN111076310A (en) 2020-01-19 2020-01-19 Fresh air cooling and heating dehumidification integrated machine

Applications Claiming Priority (1)

Application Number Priority Date Filing Date Title
CN202010059497.XA CN111076310A (en) 2020-01-19 2020-01-19 Fresh air cooling and heating dehumidification integrated machine

Publications (1)

Publication Number Publication Date
CN111076310A true CN111076310A (en) 2020-04-28

Family

ID=70323812

Family Applications (1)

Application Number Title Priority Date Filing Date
CN202010059497.XA Pending CN111076310A (en) 2020-01-19 2020-01-19 Fresh air cooling and heating dehumidification integrated machine

Country Status (1)

Country Link
CN (1) CN111076310A (en)

Cited By (2)

* Cited by examiner, † Cited by third party
Publication number Priority date Publication date Assignee Title
CN113418295A (en) * 2021-03-22 2021-09-21 青岛海尔空调电子有限公司 Humidity conditioner, and method and device for controlling mute operation of humidity conditioner
WO2023124492A1 (en) * 2021-12-31 2023-07-06 海信(广东)空调有限公司 Outdoor unit

Citations (6)

* Cited by examiner, † Cited by third party
Publication number Priority date Publication date Assignee Title
CN102080936A (en) * 2011-01-12 2011-06-01 张家港市保丽洁环保科技有限公司 Residual heat recovery device of industrial waste gas
CN106091184A (en) * 2016-08-11 2016-11-09 冯晓宏 A kind of energy-efficient full quality air conditioning system
CN107131567A (en) * 2016-02-26 2017-09-05 大金工业株式会社 Air cleaning system and its control method
CN208349503U (en) * 2018-06-15 2019-01-08 江阴市富吉机械设备有限公司 Fresh air air conditioner for machine
KR101956591B1 (en) * 2018-10-23 2019-03-11 (주)브이아이테크 Ventilation type air purification system with heat recovery function
CN211925957U (en) * 2020-01-19 2020-11-13 浙江星光电科智能家居科技有限公司 Fresh air cooling and heating dehumidification integrated machine

Patent Citations (6)

* Cited by examiner, † Cited by third party
Publication number Priority date Publication date Assignee Title
CN102080936A (en) * 2011-01-12 2011-06-01 张家港市保丽洁环保科技有限公司 Residual heat recovery device of industrial waste gas
CN107131567A (en) * 2016-02-26 2017-09-05 大金工业株式会社 Air cleaning system and its control method
CN106091184A (en) * 2016-08-11 2016-11-09 冯晓宏 A kind of energy-efficient full quality air conditioning system
CN208349503U (en) * 2018-06-15 2019-01-08 江阴市富吉机械设备有限公司 Fresh air air conditioner for machine
KR101956591B1 (en) * 2018-10-23 2019-03-11 (주)브이아이테크 Ventilation type air purification system with heat recovery function
CN211925957U (en) * 2020-01-19 2020-11-13 浙江星光电科智能家居科技有限公司 Fresh air cooling and heating dehumidification integrated machine

Cited By (3)

* Cited by examiner, † Cited by third party
Publication number Priority date Publication date Assignee Title
CN113418295A (en) * 2021-03-22 2021-09-21 青岛海尔空调电子有限公司 Humidity conditioner, and method and device for controlling mute operation of humidity conditioner
CN113418295B (en) * 2021-03-22 2023-04-28 青岛海尔空调电子有限公司 Damping machine, method and device for controlling damping operation of damping machine
WO2023124492A1 (en) * 2021-12-31 2023-07-06 海信(广东)空调有限公司 Outdoor unit

Similar Documents

Publication Publication Date Title
CN105276686B (en) A kind of air processor and processing method
KR100519309B1 (en) air conditioning system with fresh air supplying device
KR100565593B1 (en) Supply / exhaust direct ventilation / air conditioning system
CN108397829B (en) Fresh air conditioner indoor unit
KR100519310B1 (en) air-conditioner system with ventilation
CN205191736U (en) Air treatment device
CN211925957U (en) Fresh air cooling and heating dehumidification integrated machine
CN207394975U (en) Cabinet-type indoor fresh air purification air-conditioning
CN111076297A (en) A ceiling-mounted fresh air air conditioner indoor unit
CN106839185A (en) A kind of changeable replacement aeration type of new return air removes the new blower fan of haze
CN111076310A (en) Fresh air cooling and heating dehumidification integrated machine
KR20060091467A (en) Ultra Thin Ventilator
CN212431075U (en) Indoor machine of air conditioner
CN212204815U (en) Terminal device of temperature and humidity independent control air conditioning system
CN215260242U (en) Kitchen air treatment system
CN104676751A (en) Indoor air purification and refrigeration method and rotary valve type air conditioner
CN208139468U (en) A kind of domestic air conditioner
JP2555814B2 (en) Variable air supply type air purification system
CN220038575U (en) Range hood with refrigeration function
CN116241951B (en) Mobile air conditioner
CN1570491A (en) Household integral central air-conditioner
CN115468242B (en) Kitchen air treatment system and control method thereof
CN112648688A (en) Central fresh air dehumidifier
CN220338597U (en) Kitchen air conditioning system
CN221881695U (en) Indoor air conditioning system

Legal Events

Date Code Title Description
PB01 Publication
PB01 Publication
SE01 Entry into force of request for substantive examination
SE01 Entry into force of request for substantive examination
RJ01 Rejection of invention patent application after publication
RJ01 Rejection of invention patent application after publication

Application publication date: 20200428