CN111017442A - Be applied to garbage bin in environmental protection field - Google Patents

Be applied to garbage bin in environmental protection field Download PDF

Info

Publication number
CN111017442A
CN111017442A CN201911386711.6A CN201911386711A CN111017442A CN 111017442 A CN111017442 A CN 111017442A CN 201911386711 A CN201911386711 A CN 201911386711A CN 111017442 A CN111017442 A CN 111017442A
Authority
CN
China
Prior art keywords
shell
lifting rod
garbage
guide rail
filter plate
Prior art date
Legal status (The legal status is an assumption and is not a legal conclusion. Google has not performed a legal analysis and makes no representation as to the accuracy of the status listed.)
Pending
Application number
CN201911386711.6A
Other languages
Chinese (zh)
Inventor
侯伟峰
Current Assignee (The listed assignees may be inaccurate. Google has not performed a legal analysis and makes no representation or warranty as to the accuracy of the list.)
Xi'an Kingclean Environmental Technology Co ltd
Original Assignee
Xi'an Kingclean Environmental Technology Co ltd
Priority date (The priority date is an assumption and is not a legal conclusion. Google has not performed a legal analysis and makes no representation as to the accuracy of the date listed.)
Filing date
Publication date
Application filed by Xi'an Kingclean Environmental Technology Co ltd filed Critical Xi'an Kingclean Environmental Technology Co ltd
Priority to CN201911386711.6A priority Critical patent/CN111017442A/en
Publication of CN111017442A publication Critical patent/CN111017442A/en
Pending legal-status Critical Current

Links

Images

Classifications

    • BPERFORMING OPERATIONS; TRANSPORTING
    • B65CONVEYING; PACKING; STORING; HANDLING THIN OR FILAMENTARY MATERIAL
    • B65FGATHERING OR REMOVAL OF DOMESTIC OR LIKE REFUSE
    • B65F1/00Refuse receptacles; Accessories therefor
    • B65F1/14Other constructional features; Accessories
    • BPERFORMING OPERATIONS; TRANSPORTING
    • B65CONVEYING; PACKING; STORING; HANDLING THIN OR FILAMENTARY MATERIAL
    • B65FGATHERING OR REMOVAL OF DOMESTIC OR LIKE REFUSE
    • B65F1/00Refuse receptacles; Accessories therefor
    • B65F1/0033Refuse receptacles; Accessories therefor specially adapted for segregated refuse collecting, e.g. receptacles with several compartments; Combination of receptacles
    • B65F1/004Refuse receptacles; Accessories therefor specially adapted for segregated refuse collecting, e.g. receptacles with several compartments; Combination of receptacles the receptacles being divided in compartments by partitions
    • BPERFORMING OPERATIONS; TRANSPORTING
    • B65CONVEYING; PACKING; STORING; HANDLING THIN OR FILAMENTARY MATERIAL
    • B65FGATHERING OR REMOVAL OF DOMESTIC OR LIKE REFUSE
    • B65F1/00Refuse receptacles; Accessories therefor
    • B65F1/12Refuse receptacles; Accessories therefor with devices facilitating emptying
    • BPERFORMING OPERATIONS; TRANSPORTING
    • B65CONVEYING; PACKING; STORING; HANDLING THIN OR FILAMENTARY MATERIAL
    • B65FGATHERING OR REMOVAL OF DOMESTIC OR LIKE REFUSE
    • B65F2210/00Equipment of refuse receptacles
    • B65F2210/132Draining means
    • YGENERAL TAGGING OF NEW TECHNOLOGICAL DEVELOPMENTS; GENERAL TAGGING OF CROSS-SECTIONAL TECHNOLOGIES SPANNING OVER SEVERAL SECTIONS OF THE IPC; TECHNICAL SUBJECTS COVERED BY FORMER USPC CROSS-REFERENCE ART COLLECTIONS [XRACs] AND DIGESTS
    • Y02TECHNOLOGIES OR APPLICATIONS FOR MITIGATION OR ADAPTATION AGAINST CLIMATE CHANGE
    • Y02WCLIMATE CHANGE MITIGATION TECHNOLOGIES RELATED TO WASTEWATER TREATMENT OR WASTE MANAGEMENT
    • Y02W30/00Technologies for solid waste management
    • Y02W30/10Waste collection, transportation, transfer or storage, e.g. segregated refuse collecting, electric or hybrid propulsion

Landscapes

  • Engineering & Computer Science (AREA)
  • Mechanical Engineering (AREA)
  • Processing Of Solid Wastes (AREA)

Abstract

在本发明实施例中,在第一外壳与第二外壳之间设置过滤板,可以有效的将湿垃圾中的水分与湿垃圾分开,湿垃圾的水分通过过滤板流入第二外壳内,在需要对第二外壳内的水进行清理时,通过翻转结构打开上述第二外壳,通过其他容器可以轻松清理位于第二外壳内的水,当需要对位于过滤板上的垃圾进行清理时,控制开关控制第一升降杆、第二升降杆、第三升降杆同时伸长,此时,设置在第一升降杆、第二升降杆、第三升降杆工作端的第一外壳升起,用户可以将过滤板轻松取出,进而快速清理位于过滤板上的垃圾,采用本发明实施例提供的应用于环保领域的垃圾桶,解决了由于潮湿的垃圾扔入垃圾桶内而导致的水分积压在桶内不易排出和桶底部不易清洗的技术问题。

Figure 201911386711

In the embodiment of the present invention, a filter plate is arranged between the first shell and the second shell, which can effectively separate the moisture in the wet garbage from the wet garbage, and the moisture in the wet garbage flows into the second shell through the filter plate. When cleaning the water in the second shell, the above-mentioned second shell is opened through the flip structure, and the water in the second shell can be easily cleaned through other containers. When the garbage on the filter plate needs to be cleaned, the control switch controls The first lifting rod, the second lifting rod, and the third lifting rod are extended at the same time. At this time, the first housing provided on the working end of the first lifting rod, the second lifting rod, and the third lifting rod is raised, and the user can lift the filter plate It is easy to take out, and then quickly clean up the garbage on the filter plate. Using the trash can applied in the field of environmental protection provided by the embodiment of the present invention solves the problem that the moisture accumulated in the trash can not be easily discharged and caused by throwing wet garbage into the trash can. The technical problem that the bottom of the barrel is not easy to clean.

Figure 201911386711

Description

Be applied to garbage bin in environmental protection field
Technical Field
The invention relates to the technical field of environmental protection, in particular to a garbage can applied to the field of environmental protection.
Background
With the increase of the quality of life of people, household garbage is increased, and in order to facilitate the collection of the household garbage in family life, the garbage can is invented as a container for containing the garbage, however, in real life, the garbage is more in variety, some garbage is very humid and even contains a large amount of moisture when still in the garbage can, such as tea leaves and the like are poured, the weight of the garbage can is increased after the garbage can is thrown into the garbage can, and meanwhile, due to the fact that the moisture is large and cannot be discharged, the inner wall and the bottom of the garbage can are not easy to clean, the putrefactive odor is caused after a long time, and the quality of life is affected.
Disclosure of Invention
An embodiment of the invention aims to provide a garbage can applied to the field of environmental protection, and aims to solve the problems that moisture is accumulated in the garbage can and is not easy to discharge and the bottom of the garbage can is not easy to clean due to the fact that wet garbage is thrown into the garbage can in the prior art. The specific technical scheme is as follows:
the embodiment of the invention provides a garbage can applied to the field of environmental protection, which comprises: the device comprises a first shell, a second shell, a first lifting rod, a second lifting rod, a third lifting rod, a control switch, a sealing ring, a cover plate, a filter plate, a turnover structure and a fixing frame;
the second shell is supported by the fixing frame, the second shell is of a hollow columnar structure, the first shell and the second shell are detachably connected, a sealing ring is arranged at the joint of the first shell and the second shell, and the first shell is of a horn-shaped structure;
the turning plate structure is arranged at the bottom of the second shell and used for turning the bottom of the second shell to be opened or turned to be closed;
the first lifting rod, the second lifting rod and the third lifting rod are fixed on the ground in a triangular shape, and the working directions of the first lifting rod, the second lifting rod and the third lifting rod are the same;
the working end of the first lifting rod, the working end of the second lifting rod and the working end of the third lifting rod are respectively fixed on the side wall of the first shell and used for lifting or lowering the first shell;
the filter screen is disposed between the first housing and the second housing;
the cover plate is hinged with the first shell and used for closing the first shell;
the control switch respectively controls the first lifting rod, the second lifting rod and the third lifting rod.
Optionally, the sealing ring is a water-filled sealing ring.
Optionally, the turnover structure comprises an oil cylinder, a guide rail, a turning plate and a roller, wherein the guide rail is arranged on the side wall of the turning plate; the pulley can slide in the guide rail, and the guide rail limits the pulley to roll only in the guide rail; the oil cylinder is fixed on the side wall of the second shell, and the working end of the guide rail is rotatably connected with the roller.
In the practical application, the initial state of the garbage can is that the first shell and the second shell extrude the sealing ring, at the moment, a user can throw wet garbage into the first shell, at the moment, the wet garbage enters the first shell and is intercepted between the first shell and the second shell by the filter plate arranged between the first shell and the second shell, in the scheme of the embodiment of the invention, the filter plate is arranged between the first shell and the second shell, the moisture in the wet garbage can be effectively separated from the wet garbage, the moisture in the wet garbage flows into the second shell through the filter plate, when the water in the second shell needs to be cleaned, the second shell is opened through the overturning structure, the water in the second shell can be easily cleaned through other containers, when the garbage on the filter plate needs to be cleaned, the control switch controls the first lifting rod, the second lifting rod and the third lifting rod to extend simultaneously, at the moment, the first shell arranged at the working ends of the first lifting rod, the second lifting rod and the third lifting rod is lifted, a user can take out the filter plate easily, and then garbage on the filter plate is cleaned quickly.
Drawings
In order to more clearly illustrate the embodiments of the present invention or the technical solutions in the prior art, the drawings used in the description of the embodiments or the prior art will be briefly described below.
Fig. 1 is a schematic structural diagram of a trash can applied to the field of environmental protection according to an embodiment of the present invention;
fig. 2 is a schematic view of a turning plate structure provided in the embodiment of the present invention;
fig. 3 is a schematic view of another turning plate structure provided in the embodiment of the present invention.
Detailed Description
The technical solutions in the embodiments of the present invention will be described below with reference to the drawings in the embodiments of the present invention.
In order to solve the problems of complex operation, resource waste and insufficient removal of sulfur in gas in the prior art, the embodiment of the invention provides a high-efficiency desulfurizing tower.
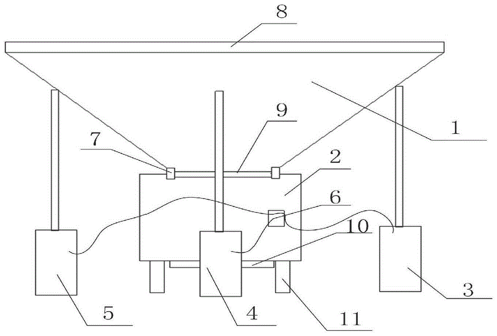
Referring to fig. 1, an embodiment of the present invention provides a trash can applied in the field of environmental protection, including: the device comprises a first shell 1, a second shell 2, a first lifting rod 3, a second lifting rod 4, a third lifting rod 5, a control switch 6, a sealing ring 7, a cover plate 8, a filter plate 9, a turnover structure 10 and a fixing frame 11;
the fixed frame 11 supports the second shell 2, the second shell 2 is a hollow columnar structure, the first shell 1 is detachably connected with the second shell 2, a sealing ring 7 is arranged at the joint of the first shell 1 and the second shell 2, and the first shell is of a horn-shaped structure;
the turning plate 14 structure is arranged at the bottom of the second shell 2, and the turning plate 14 structure is used for turning the bottom of the second shell 2 open or turning the bottom of the second shell 2 closed;
the first lifting rod 3, the second lifting rod 4 and the third lifting rod 5 are fixed on the ground in a triangular shape, and the working directions of the first lifting rod 3, the second lifting rod 4 and the third lifting rod 5 are the same;
the working end of the first lifting rod 3, the working end of the second lifting rod 4 and the working end of the third lifting rod 5 are respectively fixed on the side wall of the first shell 1 and used for lifting or lowering the first shell 1;
the filter screen is arranged between the first shell 1 and the second shell 2;
the cover plate 8 is hinged with the first shell 1, and the cover plate 8 is used for closing the first shell 1;
the control switch 6 controls the first lifting rod 3, the second lifting rod 4 and the third lifting rod 5 respectively.
In particular, in the garbage can applied to the environmental protection field, in practical application, the initial state of the garbage can is that the first housing 1 and the second housing 2 press the sealing ring 7, at this time, a user can throw wet garbage into the first housing 1, at this time, the wet garbage enters the first housing 1, the filter plate 9 arranged between the first housing 1 and the second housing 2 intercepts between the first housing 1 and the second housing 2, in the solution of the embodiment of the present invention, the filter plate 9 is arranged between the first housing 1 and the second housing 2, moisture in the wet garbage can be effectively separated from the wet garbage, the moisture in the wet garbage flows into the second housing 2 through the filter plate 9, when water in the second housing 2 needs to be cleaned, the second housing 2 is opened through the overturning structure 10, water in the second housing 2 can be easily cleaned through other containers, when the garbage on the filter plate 9 needs to be cleaned, the control switch 6 controls the first lifting rod 3, the second lifting rod 4 and the third lifting rod 5 to extend simultaneously, at the moment, the first shell 1 arranged at the working ends of the first lifting rod 3, the second lifting rod 4 and the third lifting rod 5 is lifted, a user can easily take out the filter plate 9, and then the garbage on the filter plate 9 is quickly cleaned.
Further, the sealing ring 7 is a water-filled sealing ring.
Further, the turnover structure 10 comprises an oil cylinder 12, a guide rail 13, a turning plate 14 and a roller 15, wherein the guide rail 13 is arranged on the side wall of the turning plate 14; the pulley can slide in the guide rail 13, and the guide rail 13 limits the pulley to roll only in the guide rail 13; the oil cylinder 12 is fixed on the side wall of the second shell 2, and the working end of the guide rail 13 is rotatably connected with the roller 15.
In practical application, the garbage can applied to the environmental protection field is in an initial state that the first shell 1 and the second shell 2 squeeze the sealing ring 7, at this time, a user can throw wet garbage into the first shell 1, at this time, the wet garbage enters the first shell 1 and is intercepted between the first shell 1 and the second shell 2 by the filter plate 9 arranged between the first shell 1 and the second shell 2, in the scheme of the embodiment of the invention, the filter plate 9 is arranged between the first shell 1 and the second shell 2, moisture in the wet garbage can be effectively separated from the wet garbage, the moisture in the wet garbage flows into the second shell 2 through the filter plate 9, when water in the second shell 2 needs to be cleaned, the second shell 2 is opened through the overturning structure 10, and the water in the second shell 2 can be easily cleaned through other containers, when the garbage on the filter plate 9 needs to be cleaned, the control switch 6 controls the first lifting rod 3, the second lifting rod 4 and the third lifting rod 5 to extend simultaneously, at the moment, the first shell 1 arranged at the working ends of the first lifting rod 3, the second lifting rod 4 and the third lifting rod 5 is lifted, a user can easily take out the filter plate 9, and then the garbage on the filter plate 9 is quickly cleaned.
It is noted that, herein, relational terms such as first and second, and the like may be used solely to distinguish one entity or action from another entity or action without necessarily requiring or implying any actual such relationship or order between such entities or actions. Also, the terms "comprises," "comprising," or any other variation thereof, are intended to cover a non-exclusive inclusion, such that a process, method, article, or apparatus that comprises a list of elements does not include only those elements but may include other elements not expressly listed or inherent to such process, method, article, or apparatus. Without further limitation, an element defined by the phrase "comprising an … …" does not exclude the presence of other identical elements in a process, method, article, or apparatus that comprises the element.
All the embodiments in the present specification are described in a related manner, and the same and similar parts among the embodiments may be referred to each other, and each embodiment focuses on the differences from the other embodiments. The above description is only for the preferred embodiment of the present invention, and is not intended to limit the scope of the present invention. Any modification, equivalent replacement, or improvement made within the spirit and principle of the present invention shall fall within the protection scope of the present invention.

Claims (3)

1. The utility model provides a be applied to garbage bin in environmental protection field which characterized in that includes: the device comprises a first shell, a second shell, a first lifting rod, a second lifting rod, a third lifting rod, a control switch, a sealing ring, a cover plate, a filter plate, a turnover structure and a fixing frame;
the second shell is supported by the fixing frame, the second shell is of a hollow columnar structure, the first shell and the second shell are detachably connected, a sealing ring is arranged at the joint of the first shell and the second shell, and the first shell is of a horn-shaped structure;
the turning plate structure is arranged at the bottom of the second shell and used for turning the bottom of the second shell to be opened or turned to be closed;
the first lifting rod, the second lifting rod and the third lifting rod are fixed on the ground in a triangular shape, and the working directions of the first lifting rod, the second lifting rod and the third lifting rod are the same;
the working end of the first lifting rod, the working end of the second lifting rod and the working end of the third lifting rod are respectively fixed on the side wall of the first shell and used for lifting or lowering the first shell;
the filter screen is disposed between the first housing and the second housing;
the cover plate is hinged with the first shell and used for closing the first shell;
the control switch respectively controls the first lifting rod, the second lifting rod and the third lifting rod.
2. The trash can applied to the field of environmental protection of claim 1, wherein the sealing ring is a water-filled sealing ring.
3. The trash can applied to the field of environmental protection of claim 1, wherein the turnover structure comprises an oil cylinder, a guide rail, a turning plate and a roller, wherein the guide rail is arranged on a side wall of the turning plate; the pulley can slide in the guide rail, and the guide rail limits the pulley to roll only in the guide rail; the oil cylinder is fixed on the side wall of the second shell, and the working end of the guide rail is rotatably connected with the roller.
CN201911386711.6A 2019-12-29 2019-12-29 Be applied to garbage bin in environmental protection field Pending CN111017442A (en)

Priority Applications (1)

Application Number Priority Date Filing Date Title
CN201911386711.6A CN111017442A (en) 2019-12-29 2019-12-29 Be applied to garbage bin in environmental protection field

Applications Claiming Priority (1)

Application Number Priority Date Filing Date Title
CN201911386711.6A CN111017442A (en) 2019-12-29 2019-12-29 Be applied to garbage bin in environmental protection field

Publications (1)

Publication Number Publication Date
CN111017442A true CN111017442A (en) 2020-04-17

Family

ID=70195370

Family Applications (1)

Application Number Title Priority Date Filing Date
CN201911386711.6A Pending CN111017442A (en) 2019-12-29 2019-12-29 Be applied to garbage bin in environmental protection field

Country Status (1)

Country Link
CN (1) CN111017442A (en)

Citations (4)

* Cited by examiner, † Cited by third party
Publication number Priority date Publication date Assignee Title
CN207030115U (en) * 2017-08-14 2018-02-23 福建师范大学 One kind improvement solid-liquid separation dustbin
CN207551056U (en) * 2017-10-20 2018-06-29 北京轩昂环保科技股份有限公司 A kind of solid-liquid separating environmental sanitation dustbin
CN209097468U (en) * 2018-08-10 2019-07-12 江苏生久环境科技有限公司 Intelligent garbage recycling treatment equipment
CN212355186U (en) * 2019-12-29 2021-01-15 西安金清泰环境科技有限公司 Be applied to garbage bin in environmental protection field

Patent Citations (4)

* Cited by examiner, † Cited by third party
Publication number Priority date Publication date Assignee Title
CN207030115U (en) * 2017-08-14 2018-02-23 福建师范大学 One kind improvement solid-liquid separation dustbin
CN207551056U (en) * 2017-10-20 2018-06-29 北京轩昂环保科技股份有限公司 A kind of solid-liquid separating environmental sanitation dustbin
CN209097468U (en) * 2018-08-10 2019-07-12 江苏生久环境科技有限公司 Intelligent garbage recycling treatment equipment
CN212355186U (en) * 2019-12-29 2021-01-15 西安金清泰环境科技有限公司 Be applied to garbage bin in environmental protection field

Similar Documents

Publication Publication Date Title
CN111573069A (en) Municipal construction filters dustbin of waste water with automatic compression rubbish
CN207467459U (en) A kind of Odourproof refuse receptacle of separation of solid and liquid
CN107458783A (en) A kind of street environmental-protection dustbin
CN207551056U (en) A kind of solid-liquid separating environmental sanitation dustbin
CN212355186U (en) Be applied to garbage bin in environmental protection field
CN104016044B (en) Convenient dustbin of compressible formula
CN111017442A (en) Be applied to garbage bin in environmental protection field
CN208666126U (en) A kind of environment-friendly trash can
CN110510280B (en) Kitchen garbage dewatering dustbin
CN207030115U (en) One kind improvement solid-liquid separation dustbin
CN109606977A (en) Household environmental protection intelligent classification trash can
CN212767872U (en) Outdoor garbage bin convenient to it is categorised
CN205771207U (en) One eliminates the unusual smell compacting refuse receptacle
CN207645096U (en) A kind of refuse collector that can be separated by solid-liquid separation
CN203781136U (en) Compressible WiFi (Wireless Fidelity) dustbin
CN207293140U (en) A kind of gardens energy saving and environmental protection garbage bucket
CN212798097U (en) Automatic closed environment-friendly garbage can
CN201125057Y (en) Embedded environmental protection trash can
CN205293858U (en) Elasticity open -close type pedal type dustbin
CN206827418U (en) Press down smelly dustbin
CN211339106U (en) Solid-liquid separation equipment for environmental protection
CN208086531U (en) A kind of environment-friendly trash can for environmental improvement
CN208394076U (en) A kind of garbage collection equipment of the household with compression function
CN205589833U (en) Utilize rubbish to produce garbage bin of sanitizer
CN220549533U (en) Medical dustbin in PCR laboratory

Legal Events

Date Code Title Description
PB01 Publication
PB01 Publication
SE01 Entry into force of request for substantive examination
SE01 Entry into force of request for substantive examination