CN111013777A - Cleaning brush of meat grinder - Google Patents

Cleaning brush of meat grinder Download PDF

Info

Publication number
CN111013777A
CN111013777A CN201911226365.5A CN201911226365A CN111013777A CN 111013777 A CN111013777 A CN 111013777A CN 201911226365 A CN201911226365 A CN 201911226365A CN 111013777 A CN111013777 A CN 111013777A
Authority
CN
China
Prior art keywords
brush
crank
meat
handle
sheath
Prior art date
Legal status (The legal status is an assumption and is not a legal conclusion. Google has not performed a legal analysis and makes no representation as to the accuracy of the status listed.)
Granted
Application number
CN201911226365.5A
Other languages
Chinese (zh)
Other versions
CN111013777B (en
Inventor
刘昌亚
Current Assignee (The listed assignees may be inaccurate. Google has not performed a legal analysis and makes no representation or warranty as to the accuracy of the list.)
Zhenping Hanba Food Co ltd
Original Assignee
Individual
Priority date (The priority date is an assumption and is not a legal conclusion. Google has not performed a legal analysis and makes no representation as to the accuracy of the date listed.)
Filing date
Publication date
Application filed by Individual filed Critical Individual
Priority to CN201911226365.5A priority Critical patent/CN111013777B/en
Publication of CN111013777A publication Critical patent/CN111013777A/en
Application granted granted Critical
Publication of CN111013777B publication Critical patent/CN111013777B/en
Active legal-status Critical Current
Anticipated expiration legal-status Critical

Links

Images

Classifications

    • BPERFORMING OPERATIONS; TRANSPORTING
    • B02CRUSHING, PULVERISING, OR DISINTEGRATING; PREPARATORY TREATMENT OF GRAIN FOR MILLING
    • B02CCRUSHING, PULVERISING, OR DISINTEGRATING IN GENERAL; MILLING GRAIN
    • B02C18/00Disintegrating by knives or other cutting or tearing members which chop material into fragments
    • B02C18/30Mincing machines with perforated discs and feeding worms
    • B02C18/305Details
    • BPERFORMING OPERATIONS; TRANSPORTING
    • B08CLEANING
    • B08BCLEANING IN GENERAL; PREVENTION OF FOULING IN GENERAL
    • B08B9/00Cleaning hollow articles by methods or apparatus specially adapted thereto
    • B08B9/08Cleaning containers, e.g. tanks
    • B08B9/087Cleaning containers, e.g. tanks by methods involving the use of tools, e.g. brushes, scrapers

Landscapes

  • Engineering & Computer Science (AREA)
  • Food Science & Technology (AREA)
  • Mechanical Engineering (AREA)
  • Cleaning In General (AREA)

Abstract

本发明公开一种绞肉机清洗刷,包括曲柄,上握把,下握把,固刷鞘和钢丝刷头,其特征在于,曲柄分为曲柄上段,曲柄中段和曲柄下段,上握把套在曲柄上段,下握把套在曲柄下段,固刷销固定连接(可以是焊接,也可以是螺孔连接)在曲柄上段的顶部;多个钢丝刷头绕曲柄上段的中心轴排列,在钢丝刷头和钢丝刷头之间形成进轴腔;钢丝刷头插入固刷鞘内,与固刷鞘紧密插接。本发明能够轻松实现对绞肉腔内壁上粘附的肉渣和铁锈进行清洗,节约了时间和劳动力,避免了绞肉机因为清理不干净而造成的卫生问题。

Figure 201911226365

The invention discloses a cleaning brush for a meat grinder, comprising a crank handle, an upper handle, a lower handle, a fixed brush sheath and a wire brush head. On the upper part of the crank, the lower grip is sleeved on the lower part of the crank, and the fixed brush pin is fixedly connected (either by welding or by screw hole connection) on the top of the upper part of the crank; a plurality of wire brush heads are arranged around the central axis of the upper part of the crank, on the wire A shaft cavity is formed between the brush head and the wire brush head; the wire brush head is inserted into the fixed brush sheath, and is tightly inserted into the fixed brush sheath. The invention can easily clean the meat residue and rust adhering to the inner wall of the meat grinder cavity, saves time and labor, and avoids the hygienic problem caused by the uncleanness of the meat grinder.

Figure 201911226365

Description

Cleaning brush of meat grinder
Technical Field
The invention relates to the field of kitchen hardware tools, in particular to a cleaning brush for a meat grinder, which is a small kitchen tool capable of being used for cleaning a meat grinding cavity of the meat grinder.
Background
Meat grinders are commonly used in meat spreads or other meat selling and processing points in supermarkets, and the meat grinders comprise two meat grinder units, one meat grinder unit is used for grinding meat stuffing, and the other meat grinder unit is used for cutting meat into meat slices. One has only the function of mincing meat or slicing. The row of cutters are used for cutting meat slices, the screw rod is used for mincing meat, the screw rod presses meat into the rotating blades in the meat mincing cavity, and the meat is extruded through the holes to form the meat paste. When the meat grinder is not used, the meat grinder needs to be cleaned, because meat residues are accumulated in the meat grinder, or the meat residues are stuck on the blades or the walls of the meat grinder, if the meat grinder is not cleaned, meat can be rotten and smelly, serious sanitary problems are caused, the next use is influenced, and the iron wall cavity is easy to rust. However, the meat residue and the rust are cleaned by some tools. Brushes for cleaning slicing knives are currently available on the market, including similar patents in patent libraries, but there are no brushes on the market that are specialized for cleaning the cavity of the meat grinder. The meat grinding cavity is generally deep and small in hole diameter, so that the meat grinding cavity is not easy to clean, particularly, the wall cavity close to the connecting shaft part is difficult to clean, and meat residue and rust accumulated inside the meat grinding cavity are difficult to clean without the help of professional tools. In response to this situation, the present solution proposes a meat grinder cleaning brush to solve this problem. The cleaning brush for the meat grinder is simple in structure, convenient and fast to use, and capable of well cleaning a meat grinding cavity of the meat grinder.
Disclosure of Invention
The invention discloses a meat grinder cleaning brush for solving the defects in the prior art. The cleaning brush for the meat grinder is simple in structure, convenient and fast to use, and capable of well cleaning a meat grinding cavity of the meat grinder.
The utility model provides a meat grinder cleaning brush, includes the crank, goes up the handle, down the handle, gu brush sheath and steel wire brush head, its characterized in that: the crank is divided into an upper crank section, a middle crank section and a lower crank section, an upper handle is sleeved on the upper crank section, a lower handle is sleeved on the lower crank section, and a fixed brush pin is fixedly connected (can be welded or connected with a screw hole) at the top of the upper crank section; a plurality of steel wire brush heads are arranged around the central shaft of the upper section of the crank, and a shaft inlet cavity is formed between the steel wire brush heads and the steel wire brush heads; the steel wire brush head is inserted into the fixed brush sheath and is tightly inserted with the fixed brush sheath.
Furthermore, the upper handle and the lower handle are both of cylindrical structures with holes in the middle, and are mainly used for grasping.
Furthermore, the brush fixing sheath comprises a front sheath and a rear sheath, and the rear sheath is provided with a clamping piece structure capable of fixing the steel wire brush head.
Furthermore, the steel wire brush head is provided with bristles and a bristle handle structure, and the bristle handle is a clamping piece structure and can fix the bristles.
Compared with the prior art, the invention has the following beneficial effects:
can easily realize wasing the meat sediment and the rust of adhesion on the minced steak intracavity wall, practice thrift time and labour, avoid the meat grinder because the clearance is unclean and the sanitary problem that causes.
Drawings
In order to more clearly illustrate the technical solution in the embodiments of the present invention, the following is further illustrated by the accompanying drawings:
fig. 1 shows a schematic view of a part of the structure of the screw and the meat-grinding chamber of the meat grinder according to the invention.
Figure 2 shows a schematic representation of the layout of the meat grinder washing brushes and the meat grinding chamber.
Fig. 3 shows a schematic view of the overall structure of the meat gripper washing brush.
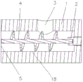
Figure 4 shows a partially exploded schematic view of the washing brush of the meat grinder.
Fig. 5 shows an enlarged view of the portion B in fig. 4.
Fig. 6 shows an enlarged view of a portion a in fig. 4.
The numbering corresponds to the names in the figure as follows: 1-meat grinder, 2-connecting shaft, 3-meat inlet hole, 4-screw, 5-meat outlet hole, 6-meat grinding cavity, 7-shaft inlet cavity, 8-lower grip, 9-upper grip, 10-upper crank section, 11-rear sheath, 12-front sheath, 13-bristle, 14-bristle handle, 15-bristle cavity, 16-front sheath clamping piece, 17-bristle handle clamping piece, 18-inner wall, 19-middle crank section, 20-lower crank section, 21-crank, 22-steel wire brush head and 23-fixed brush sheath.
Detailed Description
The invention discloses a meat grinder cleaning brush, and in order to make the purpose, technical scheme and effect of the invention clearer and clearer, two embodiments in the scheme are further described in detail below. It should be understood that the specific embodiments described herein are merely illustrative of the invention and are not limiting of the invention.
In fig. 1-6, 1 is a meat grinder, 2 is a connecting shaft, 4 is a screw, 3 is a meat inlet, when in normal use, the connecting shaft 2 is driven by a motor to drive the screw 4 to rotate, meat blocks put in from the meat inlet 3 move forward under the push of the screw 4 and go out from a meat outlet 5, and a blade (omitted in the figures) in front of an extrusion knife completes grinding and meat mincing. After the work is finished, the cleaning is needed, at the moment, the screw rod 4 needs to be detached for cleaning, the screw rod 4 is easy to clean, but meat residues stuck on the inner wall 18 of the meat grinding hole 6, particularly the inner wall part close to the connecting shaft 2, are difficult to clean.
The main body of the invention is composed of a crank 21 and a steel wire brush head 22, wherein the crank 21 is divided into a crank upper section 10, a crank middle section 19 and a crank lower section 20. The cylindrical lower handle 8 and the cylindrical upper handle 9 are respectively sleeved on the lower crank section 20 and the upper crank section 10. The front end of the upper crank section 10 is fixedly connected with a brush fixing sheath 23, and the brush fixing sheath 23 can be welded on the upper crank section 10 or connected on the upper crank section 10 by other modes, such as a screw hole. The front section of the brush fixing sheath 23 is a front sheath 12, and the rear section is a rear sheath 11, wherein the front sheath 12 has a clip-like structure called front sheath clip 16, and a bristle chamber 15 is formed inside. A wire brush head 22 may be inserted into the bristle chamber 15.
The invention adopts a multi-wire brush head structure, and a plurality of wire brush heads 22 can be arranged around the shaft of the upper section 10 of the crank. The wire brush head is composed of bristles 13 and a bristle handle 14, and the bristle handle 14 clamps the bristles 13 by forming a bristle handle clip 17. The bristle shank 14 can be inserted into the bristle cavity 15. The space that can form between the well assembled steel wire brush head and the steel wire brush head is called into axle chamber 7, after inserting the cleaning brush in minced steak chamber 6, advances axle chamber 7 and can hold down connecting axle 2, and the steel wire brush head 22 of being convenient for supports the meat grinder inner wall, carries out thorough washing.
When the cleaning brush is used, the cleaning brush is inserted into the meat grinding cavity 6, one hand holds the upper grip 9, the other hand holds the lower grip 8, the lower grip 8 is rotated, the upper grip 9 is kept still, the rotation of the lower grip 8 drives the crank 21 to rotate, and then the steel wire brush head 22 is driven to rotate along the inner wall 18 and lean against the friction between the steel wire brush head 22 and the inner wall 18, and meat residue and iron rust adhered to the inner wall 18 are removed. During the rotation, the depth of the steel wire brush head 22 can be adjusted by the upper grip 9, so that the whole inner wall 18 can be cleaned.
It should be understood that the application of the present invention is not limited to the above-mentioned examples, but the above-mentioned examples are only the preferred embodiments of the present invention, and those skilled in the art can make modifications or changes according to the above-mentioned description, and all such modifications and changes should fall within the scope of the appended claims.
The technical points are as follows:
1. a crank that can rotate;
2. a wire brush head arranged around the shaft;
3. an inlet cavity can be formed between the steel wire brush heads.

Claims (4)

1. The utility model provides a meat grinder cleaning brush, includes the crank, goes up the handle, down the handle, gu brush sheath and steel wire brush head, its characterized in that: the crank is divided into an upper crank section, a middle crank section and a lower crank section, an upper handle is sleeved on the upper crank section, a lower handle is sleeved on the lower crank section, and a fixed brush pin is fixedly connected to the top of the upper crank section; a plurality of steel wire brush heads are arranged around the central shaft of the upper section of the crank, and a shaft inlet cavity is formed between the steel wire brush heads and the steel wire brush heads; the steel wire brush head is inserted into the fixed brush sheath and is tightly inserted with the fixed brush sheath.
2. A meat grinder cleaning brush according to claim 1, characterized in that: the upper handle and the lower handle are both of cylindrical structures with holes in the middle, and are mainly used for gripping.
3. A meat grinder cleaning brush according to claim 1, characterized in that: the brush fixing sheath comprises a front sheath and a rear sheath, and the rear sheath is provided with a clamping piece structure capable of fixing the steel wire brush head.
4. A meat grinder cleaning brush according to claim 1, characterized in that: the steel wire brush head is provided with brush hair and a brush hair handle structure, and the brush hair handle is a clamping piece structure and can fix the brush hair.
CN201911226365.5A 2019-12-04 2019-12-04 A meat grinder cleaning brush Active CN111013777B (en)

Priority Applications (1)

Application Number Priority Date Filing Date Title
CN201911226365.5A CN111013777B (en) 2019-12-04 2019-12-04 A meat grinder cleaning brush

Applications Claiming Priority (1)

Application Number Priority Date Filing Date Title
CN201911226365.5A CN111013777B (en) 2019-12-04 2019-12-04 A meat grinder cleaning brush

Publications (2)

Publication Number Publication Date
CN111013777A true CN111013777A (en) 2020-04-17
CN111013777B CN111013777B (en) 2025-03-25

Family

ID=70204218

Family Applications (1)

Application Number Title Priority Date Filing Date
CN201911226365.5A Active CN111013777B (en) 2019-12-04 2019-12-04 A meat grinder cleaning brush

Country Status (1)

Country Link
CN (1) CN111013777B (en)

Cited By (1)

* Cited by examiner, † Cited by third party
Publication number Priority date Publication date Assignee Title
CN111938465A (en) * 2020-09-03 2020-11-17 杭州富阳福士得食品有限公司 Minced meat cutting device

Citations (4)

* Cited by examiner, † Cited by third party
Publication number Priority date Publication date Assignee Title
CN207626776U (en) * 2017-12-08 2018-07-20 中水电四局南方(珠海)工程有限公司 Hand-held kerbstone cleaning device
CN209205987U (en) * 2018-11-08 2019-08-06 铅山县疾病预防控制中心 A kind of disease prevention and control center's laboratory apparatus cleaning sterilizing device
CN209238632U (en) * 2018-10-24 2019-08-13 广东精测检验检测中心(有限合伙) Improve abluent brush of volumetric flask
CN212142946U (en) * 2019-12-04 2020-12-15 刘昌亚 Cleaning brush of meat grinder

Patent Citations (4)

* Cited by examiner, † Cited by third party
Publication number Priority date Publication date Assignee Title
CN207626776U (en) * 2017-12-08 2018-07-20 中水电四局南方(珠海)工程有限公司 Hand-held kerbstone cleaning device
CN209238632U (en) * 2018-10-24 2019-08-13 广东精测检验检测中心(有限合伙) Improve abluent brush of volumetric flask
CN209205987U (en) * 2018-11-08 2019-08-06 铅山县疾病预防控制中心 A kind of disease prevention and control center's laboratory apparatus cleaning sterilizing device
CN212142946U (en) * 2019-12-04 2020-12-15 刘昌亚 Cleaning brush of meat grinder

Cited By (1)

* Cited by examiner, † Cited by third party
Publication number Priority date Publication date Assignee Title
CN111938465A (en) * 2020-09-03 2020-11-17 杭州富阳福士得食品有限公司 Minced meat cutting device

Also Published As

Publication number Publication date
CN111013777B (en) 2025-03-25

Similar Documents

Publication Publication Date Title
CN110973219A (en) Automatic fish killing machine
US20160194857A1 (en) Powered Drain Unclogging Attachment Device
CN212142946U (en) Cleaning brush of meat grinder
US20120246855A1 (en) Painting tool system
CN111013777A (en) Cleaning brush of meat grinder
CN105534008A (en) Hair cleaning brush
CN213463658U (en) Cut mixer with garbage collection function
CN106942756B (en) A sugarcane peeling machine
CN220048888U (en) A kind of impurity removal and filtering device for walnut processing
CN110896987A (en) Conveniently get salted fish bucket of fish
CN208340877U (en) A kind of blade cleaning machine for meat grinder
CN109480315B (en) A non-damaged garlic head splitting device imitating the shape of a garlic head
CN221104643U (en) Fresh fish scale removal device
CN209518843U (en) A kind of household clearing apparatus being conveniently replaceable hairbrush
JP6526455B2 (en) Kitchen knife
CN117547032B (en) A small green walnut peeling equipment
CN217937080U (en) Bone sawing device for slaughtering process
CN223247449U (en) A handheld fish black film removal device
CN209769449U (en) A kind of oral instrument cleaning tool
CN211432772U (en) Cleaning device for daily hardware cutter
CN221578179U (en) Multifunctional dental floss rod
CN112790224B (en) Pig slaughtering unhairing device
CN110693402A (en) A broom for easy cleaning of hair
CN214102988U (en) Meatball forming machine
CN222469870U (en) A portable cleaning device for the rake nails of tobacco storage cabinet

Legal Events

Date Code Title Description
PB01 Publication
PB01 Publication
SE01 Entry into force of request for substantive examination
SE01 Entry into force of request for substantive examination
TA01 Transfer of patent application right

Effective date of registration: 20250228

Address after: 725000 group 1, Xinhua Village, Chengguan Town, Zhenping county, Ankang City, Shaanxi Province

Applicant after: Zhenping hanba Food Co.,Ltd.

Country or region after: China

Address before: 236302 Huang Xiaozhuang 21, Yang Qiao village, Ying Township, Funan County, Fuyang, Anhui

Applicant before: Liu Changya

Country or region before: China

TA01 Transfer of patent application right
GR01 Patent grant
GR01 Patent grant