CN110986530A - A baking device for wire and cable production - Google Patents
A baking device for wire and cable production Download PDFInfo
- Publication number
- CN110986530A CN110986530A CN201911157199.8A CN201911157199A CN110986530A CN 110986530 A CN110986530 A CN 110986530A CN 201911157199 A CN201911157199 A CN 201911157199A CN 110986530 A CN110986530 A CN 110986530A
- Authority
- CN
- China
- Prior art keywords
- fixed
- baking
- wire
- main shaft
- cable production
- Prior art date
- Legal status (The legal status is an assumption and is not a legal conclusion. Google has not performed a legal analysis and makes no representation as to the accuracy of the status listed.)
- Granted
Links
Images
Classifications
-
- F—MECHANICAL ENGINEERING; LIGHTING; HEATING; WEAPONS; BLASTING
- F26—DRYING
- F26B—DRYING SOLID MATERIALS OR OBJECTS BY REMOVING LIQUID THEREFROM
- F26B11/00—Machines or apparatus for drying solid materials or objects with movement which is non-progressive
- F26B11/18—Machines or apparatus for drying solid materials or objects with movement which is non-progressive on or in moving dishes, trays, pans, or other mainly-open receptacles
-
- F—MECHANICAL ENGINEERING; LIGHTING; HEATING; WEAPONS; BLASTING
- F26—DRYING
- F26B—DRYING SOLID MATERIALS OR OBJECTS BY REMOVING LIQUID THEREFROM
- F26B21/00—Arrangements or duct systems, e.g. in combination with pallet boxes, for supplying and controlling air or gases for drying solid materials or objects
- F26B21/001—Drying-air generating units, e.g. movable, independent of drying enclosure
-
- F26B21/50—
-
- F—MECHANICAL ENGINEERING; LIGHTING; HEATING; WEAPONS; BLASTING
- F26—DRYING
- F26B—DRYING SOLID MATERIALS OR OBJECTS BY REMOVING LIQUID THEREFROM
- F26B23/00—Heating arrangements
- F26B23/04—Heating arrangements using electric heating
- F26B23/06—Heating arrangements using electric heating resistance heating
-
- F—MECHANICAL ENGINEERING; LIGHTING; HEATING; WEAPONS; BLASTING
- F26—DRYING
- F26B—DRYING SOLID MATERIALS OR OBJECTS BY REMOVING LIQUID THEREFROM
- F26B25/00—Details of general application not covered by group F26B21/00 or F26B23/00
- F26B25/06—Chambers, containers, or receptacles
- F26B25/14—Chambers, containers, receptacles of simple construction
- F26B25/18—Chambers, containers, receptacles of simple construction mainly open, e.g. dish, tray, pan, rack
-
- F—MECHANICAL ENGINEERING; LIGHTING; HEATING; WEAPONS; BLASTING
- F26—DRYING
- F26B—DRYING SOLID MATERIALS OR OBJECTS BY REMOVING LIQUID THEREFROM
- F26B9/00—Machines or apparatus for drying solid materials or objects at rest or with only local agitation; Domestic airing cupboards
- F26B9/06—Machines or apparatus for drying solid materials or objects at rest or with only local agitation; Domestic airing cupboards in stationary drums or chambers
-
- H—ELECTRICITY
- H01—ELECTRIC ELEMENTS
- H01B—CABLES; CONDUCTORS; INSULATORS; SELECTION OF MATERIALS FOR THEIR CONDUCTIVE, INSULATING OR DIELECTRIC PROPERTIES
- H01B13/00—Apparatus or processes specially adapted for manufacturing conductors or cables
- H01B13/30—Drying; Impregnating
Landscapes
- Engineering & Computer Science (AREA)
- Mechanical Engineering (AREA)
- General Engineering & Computer Science (AREA)
- Life Sciences & Earth Sciences (AREA)
- Sustainable Development (AREA)
- Manufacturing & Machinery (AREA)
- Baking, Grill, Roasting (AREA)
Abstract
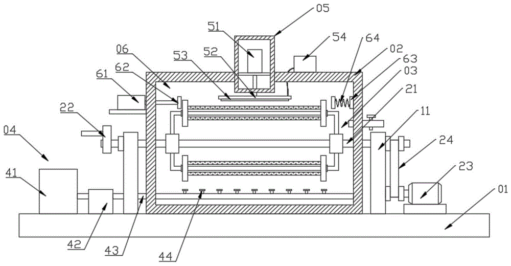
本发明公开了一种用于电线电缆生产的烘烤装置,包括底座,底座上方固定有两个立柱,立柱之间固定有烘烤箱,所述立柱之间转动连接有主轴,主轴通过皮带与底座上的电机的输出端固定连接,主轴远离电机一侧固定有摇把,所述主轴位于烘烤箱内部固定有固定组件,所述固定组件包括固定在主轴上的固定块,固定块两侧固定有连接杆,连接杆上滑动连接有限位板,每个连接杆上限位板的数量为两个,两个限位板之间通过固定轴固定连接,所述固定轴上设有多个交错固定的凸起;所述底座上还设有第一烘烤组件,烘烤箱上设有辅助烘烤箱和推动组件,提高了对电线电缆的烘烤效率。
The invention discloses a baking device for wire and cable production, which comprises a base, two uprights are fixed above the base, a baking box is fixed between the uprights, a main shaft is rotatably connected between the uprights, and the main shaft is connected to the main shaft through a belt. The output end of the motor on the base is fixedly connected, the side of the main shaft away from the motor is fixed with a shaking handle, the main shaft is located inside the baking box and a fixed component is fixed, and the fixed component includes a fixed block fixed on the main shaft, on both sides of the fixed block A connecting rod is fixed, and a limit plate is slidably connected to the connecting rod. The number of limit plates on each connecting rod is two, and the two limit plates are fixedly connected by a fixed shaft. The fixed shaft is provided with a plurality of staggered The base is also provided with a first baking component, and the baking box is provided with an auxiliary baking box and a pushing component, which improves the baking efficiency of the wires and cables.
Description
Claims (8)
Priority Applications (1)
| Application Number | Priority Date | Filing Date | Title |
|---|---|---|---|
| CN201911157199.8A CN110986530B (en) | 2019-11-22 | 2019-11-22 | A baking device for wire and cable production |
Applications Claiming Priority (1)
| Application Number | Priority Date | Filing Date | Title |
|---|---|---|---|
| CN201911157199.8A CN110986530B (en) | 2019-11-22 | 2019-11-22 | A baking device for wire and cable production |
Publications (2)
| Publication Number | Publication Date |
|---|---|
| CN110986530A true CN110986530A (en) | 2020-04-10 |
| CN110986530B CN110986530B (en) | 2021-07-06 |
Family
ID=70086038
Family Applications (1)
| Application Number | Title | Priority Date | Filing Date |
|---|---|---|---|
| CN201911157199.8A Active CN110986530B (en) | 2019-11-22 | 2019-11-22 | A baking device for wire and cable production |
Country Status (1)
| Country | Link |
|---|---|
| CN (1) | CN110986530B (en) |
Cited By (2)
| Publication number | Priority date | Publication date | Assignee | Title |
|---|---|---|---|---|
| CN112212661A (en) * | 2020-10-29 | 2021-01-12 | 爱可道生物科技有限公司 | Automatic artichoke stalk drying device of upset |
| WO2022099863A1 (en) * | 2020-11-12 | 2022-05-19 | 扬州创群网络科技有限公司 | Baking apparatus for wire and cable production |
Citations (6)
| Publication number | Priority date | Publication date | Assignee | Title |
|---|---|---|---|---|
| JPH0963375A (en) * | 1995-08-29 | 1997-03-07 | Furukawa Electric Co Ltd:The | Rotation guide device for dry infiltration pot for OF cable |
| CN203454631U (en) * | 2013-07-15 | 2014-02-26 | 黄琼娥 | Overturning type tea leaf dewatering machine |
| CN205722998U (en) * | 2016-06-17 | 2016-11-23 | 常州市拓源电缆成套有限公司 | A kind of cable processing wind |
| CN207489585U (en) * | 2017-09-29 | 2018-06-12 | 天津普瑞韦尔电缆科技有限公司 | Bilateral continuous drying device of high-efficient cable core |
| CN208087979U (en) * | 2018-02-05 | 2018-11-13 | 吴江鼎泰电子材料有限公司 | A kind of fabric perms machine automatically |
| CN208736081U (en) * | 2018-05-20 | 2019-04-12 | 南京正亮医药科技有限公司 | A microwave drying device for medicinal materials |
-
2019
- 2019-11-22 CN CN201911157199.8A patent/CN110986530B/en active Active
Patent Citations (6)
| Publication number | Priority date | Publication date | Assignee | Title |
|---|---|---|---|---|
| JPH0963375A (en) * | 1995-08-29 | 1997-03-07 | Furukawa Electric Co Ltd:The | Rotation guide device for dry infiltration pot for OF cable |
| CN203454631U (en) * | 2013-07-15 | 2014-02-26 | 黄琼娥 | Overturning type tea leaf dewatering machine |
| CN205722998U (en) * | 2016-06-17 | 2016-11-23 | 常州市拓源电缆成套有限公司 | A kind of cable processing wind |
| CN207489585U (en) * | 2017-09-29 | 2018-06-12 | 天津普瑞韦尔电缆科技有限公司 | Bilateral continuous drying device of high-efficient cable core |
| CN208087979U (en) * | 2018-02-05 | 2018-11-13 | 吴江鼎泰电子材料有限公司 | A kind of fabric perms machine automatically |
| CN208736081U (en) * | 2018-05-20 | 2019-04-12 | 南京正亮医药科技有限公司 | A microwave drying device for medicinal materials |
Cited By (2)
| Publication number | Priority date | Publication date | Assignee | Title |
|---|---|---|---|---|
| CN112212661A (en) * | 2020-10-29 | 2021-01-12 | 爱可道生物科技有限公司 | Automatic artichoke stalk drying device of upset |
| WO2022099863A1 (en) * | 2020-11-12 | 2022-05-19 | 扬州创群网络科技有限公司 | Baking apparatus for wire and cable production |
Also Published As
| Publication number | Publication date |
|---|---|
| CN110986530B (en) | 2021-07-06 |
Similar Documents
| Publication | Publication Date | Title |
|---|---|---|
| CN110986530B (en) | A baking device for wire and cable production | |
| CN108735390B (en) | A kind of electromagnetic wire high-speed painting machine and painting method | |
| CN112902616A (en) | Drying device is used in processing of efficient solar photovoltaic board subassembly | |
| CN210842732U (en) | Hot air rotary oven | |
| CN212197865U (en) | A communication cable winding device with surface cleaning function | |
| CN214250359U (en) | Plank drying device for building | |
| CN212770880U (en) | Copper line annealing wire winding integration all-in-one | |
| CN218730149U (en) | Cable processing drying equipment with straightening function | |
| CN214567712U (en) | A kind of thermal insulation device for convenient classification of petri dishes | |
| CN214600175U (en) | Aluminum foil adhesive tape coating and drying device | |
| CN210036144U (en) | Baking device for wires and cables | |
| CN109174795A (en) | A kind of surface cleaning apparatus and cleaning method for copper strips production | |
| CN212827346U (en) | A kind of aluminum alloy profile thermal transfer equipment | |
| CN213778412U (en) | Battery cell pre-baking equipment | |
| CN211567512U (en) | Dong minority brocade finished product mounting device | |
| CN217817812U (en) | Stent oven for baking medical catheters | |
| CN210267981U (en) | Energy-saving drying device for corrugated medium paper production | |
| CN220691782U (en) | Drying oven for drying painted copper-clad aluminum enameled wire | |
| CN222129224U (en) | Energy-saving tea baking equipment | |
| CN210070477U (en) | Drying device for machine part | |
| CN210960397U (en) | Multipurpose curing barn | |
| CN219645568U (en) | Baking equipment for baking strings | |
| CN211404158U (en) | Special heating equipment for preparing high-temperature-resistant insulating material of cable | |
| CN217954309U (en) | Architectural coatings performance detection device | |
| CN217429146U (en) | Integral type tealeaves roasting machine with dustproof construction |
Legal Events
| Date | Code | Title | Description |
|---|---|---|---|
| PB01 | Publication | ||
| PB01 | Publication | ||
| SE01 | Entry into force of request for substantive examination | ||
| SE01 | Entry into force of request for substantive examination | ||
| TA01 | Transfer of patent application right |
Effective date of registration: 20210615 Address after: No.1938, Madame Shi Road, Taiping Street, Wenling City, Taizhou City, Zhejiang Province, 317500 Applicant after: Taizhou ed Food Co.,Ltd. Address before: Building D4, innovation and entrepreneurship Park, Leiyang Economic Development Zone, Hengyang City, Hunan Province, 421800 Applicant before: HUNAN XINLEI CONDUCTING MATERIAL TECHNOLOGY Co.,Ltd. |
|
| TA01 | Transfer of patent application right | ||
| GR01 | Patent grant | ||
| GR01 | Patent grant | ||
| TR01 | Transfer of patent right |
Effective date of registration: 20240205 Address after: 110000 2-13-2, No. 9, 185 lane, Nanwu Road, Heping District, Shenyang City, Liaoning Province Patentee after: Chen Lianqing Country or region after: China Address before: No.1938, Madame Shi Road, Taiping Street, Wenling City, Taizhou City, Zhejiang Province, 317500 Patentee before: Taizhou ed Food Co.,Ltd. Country or region before: China |
|
| TR01 | Transfer of patent right | ||
| TR01 | Transfer of patent right |
Effective date of registration: 20240424 Address after: 110000 No. 12, Hangzhou West Road, shenbeixin District, Shenyang City, Liaoning Province Patentee after: SHENYANG CHANGSHUN CABLE MANUFACTURING Co.,Ltd. Country or region after: China Address before: 110000 2-13-2, No. 9, 185 lane, Nanwu Road, Heping District, Shenyang City, Liaoning Province Patentee before: Chen Lianqing Country or region before: China |
|
| TR01 | Transfer of patent right |
