CN110984701A - A slide-type smart lock whose cover plate automatically slides down - Google Patents

A slide-type smart lock whose cover plate automatically slides down Download PDF

Info

Publication number
CN110984701A
CN110984701A CN201911314142.4A CN201911314142A CN110984701A CN 110984701 A CN110984701 A CN 110984701A CN 201911314142 A CN201911314142 A CN 201911314142A CN 110984701 A CN110984701 A CN 110984701A
Authority
CN
China
Prior art keywords
fixedly connected
cover plate
sliding
sides
intelligent lock
Prior art date
Legal status (The legal status is an assumption and is not a legal conclusion. Google has not performed a legal analysis and makes no representation as to the accuracy of the status listed.)
Pending
Application number
CN201911314142.4A
Other languages
Chinese (zh)
Inventor
梁秋萍
Current Assignee (The listed assignees may be inaccurate. Google has not performed a legal analysis and makes no representation or warranty as to the accuracy of the list.)
Zhongshan Lantong Hardware Co ltd
Original Assignee
Zhongshan Lantong Hardware Co ltd
Priority date (The priority date is an assumption and is not a legal conclusion. Google has not performed a legal analysis and makes no representation as to the accuracy of the date listed.)
Filing date
Publication date
Application filed by Zhongshan Lantong Hardware Co ltd filed Critical Zhongshan Lantong Hardware Co ltd
Priority to CN201911314142.4A priority Critical patent/CN110984701A/en
Publication of CN110984701A publication Critical patent/CN110984701A/en
Pending legal-status Critical Current

Links

Images

Classifications

    • EFIXED CONSTRUCTIONS
    • E05LOCKS; KEYS; WINDOW OR DOOR FITTINGS; SAFES
    • E05BLOCKS; ACCESSORIES THEREFOR; HANDCUFFS
    • E05B17/00Accessories in connection with locks
    • E05B17/14Closures or guards for keyholes
    • E05B17/18Closures or guards for keyholes shaped as lids or slides
    • E05B17/186Closures or guards for keyholes shaped as lids or slides sliding
    • EFIXED CONSTRUCTIONS
    • E05LOCKS; KEYS; WINDOW OR DOOR FITTINGS; SAFES
    • E05BLOCKS; ACCESSORIES THEREFOR; HANDCUFFS
    • E05B49/00Electric permutation locks; Circuits therefor ; Mechanical aspects of electronic locks; Mechanical keys therefor
    • EFIXED CONSTRUCTIONS
    • E05LOCKS; KEYS; WINDOW OR DOOR FITTINGS; SAFES
    • E05CBOLTS OR FASTENING DEVICES FOR WINGS, SPECIALLY FOR DOORS OR WINDOWS
    • E05C17/00Devices for holding wings open; Devices for limiting opening of wings or for holding wings open by a movable member extending between frame and wing; Braking devices, stops or buffers, combined therewith
    • E05C17/56Devices for holding wings open; Devices for limiting opening of wings or for holding wings open by a movable member extending between frame and wing; Braking devices, stops or buffers, combined therewith by magnetic or electromagnetic attraction or operated by electric or electromagnetic means
    • EFIXED CONSTRUCTIONS
    • E05LOCKS; KEYS; WINDOW OR DOOR FITTINGS; SAFES
    • E05FDEVICES FOR MOVING WINGS INTO OPEN OR CLOSED POSITION; CHECKS FOR WINGS; WING FITTINGS NOT OTHERWISE PROVIDED FOR, CONCERNED WITH THE FUNCTIONING OF THE WING
    • E05F5/00Braking devices, e.g. checks; Stops; Buffers
    • E05F5/06Buffers or stops limiting opening of swinging wings, e.g. floor or wall stops
    • E05F5/08Buffers or stops limiting opening of swinging wings, e.g. floor or wall stops with springs
    • GPHYSICS
    • G07CHECKING-DEVICES
    • G07CTIME OR ATTENDANCE REGISTERS; REGISTERING OR INDICATING THE WORKING OF MACHINES; GENERATING RANDOM NUMBERS; VOTING OR LOTTERY APPARATUS; ARRANGEMENTS, SYSTEMS OR APPARATUS FOR CHECKING NOT PROVIDED FOR ELSEWHERE
    • G07C9/00Individual registration on entry or exit
    • G07C9/00174Electronically operated locks; Circuits therefor; Nonmechanical keys therefor, e.g. passive or active electrical keys or other data carriers without mechanical keys
    • G07C9/00563Electronically operated locks; Circuits therefor; Nonmechanical keys therefor, e.g. passive or active electrical keys or other data carriers without mechanical keys using personal physical data of the operator, e.g. finger prints, retinal images, voicepatterns

Landscapes

  • Physics & Mathematics (AREA)
  • Electromagnetism (AREA)
  • Engineering & Computer Science (AREA)
  • Mechanical Engineering (AREA)
  • General Physics & Mathematics (AREA)
  • Lock And Its Accessories (AREA)

Abstract

本发明公开了一种盖板自动滑落的滑盖式智能锁,包括智能锁本体,智能锁本体的两侧均开设有T型滑槽,T型滑槽的内壁滑动连接有盖板,盖板底部的两侧均固定连接有插柱,两个插柱相互远离的一侧均固定连接有金属弹性片,金属弹性片的顶部固定连接有限位块,智能锁本体正面的底部固定连接有固定板,固定板顶部的两侧均开设有安装槽,本发明涉及智能锁技术领域。该盖板自动滑落的滑盖式智能锁,可对盖板进行定位,防止外部环境对指纹识别器造成干扰,增加装置使用寿命,需上移盖板时挤压按压块即可,然后向上拉动盖板,操作方便,可启动电磁铁产生磁力吸住铁块,防止盖板下滑,方便人们输入密码,结构简单操作较为方便。

Figure 201911314142

The present invention discloses a sliding cover type smart lock with a cover plate that slides down automatically, comprising a smart lock body, both sides of the smart lock body are provided with T-shaped slide grooves, the inner wall of the T-shaped slide groove is slidably connected with a cover plate, both sides of the bottom of the cover plate are fixedly connected with plug posts, the sides of the two plug posts that are away from each other are fixedly connected with metal elastic sheets, the top of the metal elastic sheet is fixedly connected with a limited block, the bottom of the front of the smart lock body is fixedly connected with a fixed plate, and both sides of the top of the fixed plate are provided with mounting grooves. The present invention relates to the field of smart lock technology. The sliding cover type smart lock with the cover plate that slides down automatically can position the cover plate, prevent the external environment from interfering with the fingerprint identifier, and increase the service life of the device. When the cover plate needs to be moved up, the pressing block can be squeezed, and then the cover plate is pulled up. The operation is convenient, and the electromagnet can be started to generate magnetic force to absorb the iron block to prevent the cover plate from sliding down, which is convenient for people to input passwords. The structure is simple and the operation is relatively convenient.

Figure 201911314142

Description

Sliding closure type intelligent lock with automatically sliding cover plate
Technical Field
The invention relates to the technical field of intelligent locks, in particular to a sliding cover type intelligent lock with an automatically sliding cover plate.
Background
The intelligent door lock is an improved lock which is different from a traditional mechanical lock, more intelligent and convenient in the aspects of user safety, identification and manageability, is an execution component of a door lock in an access control system, is different from the traditional mechanical lock, has safety and convenience, is a composite lock with advanced technology, and is common nowadays along with the arrival of the intelligent era, wherein banks, government departments, hotels, dormitories of schools, residential quarters, villas, hotels and the like are often seen, a plurality of families are provided with the intelligent lock, the safety is greatly improved, and the phenomena of theft and the like are obviously fewer.
According to the patent No. CN207960191U sliding cover type intelligent lock with the automatic sliding cover plate, the sliding grooves are formed in the left side and the right side of the installation wood plate, the sliding connection of the surface of the installation wood plate and the position of the sliding grooves is provided with the cover plate, the surface of the installation wood plate is fixedly connected with the digital key panel, the surface of the installation wood plate and the position below the digital key panel are provided with the fingerprint groove identification groove, the back surface of the cover plate is provided with the magnetic block, the sliding cover type intelligent lock with the automatic sliding cover plate enables the impact force between the cover plate and the limiting groove to be reduced when the cover plate falls down through the buffer spring arranged in the limiting groove, so that the service life of the device is prolonged, but the sliding cover type intelligent lock cover plate with the automatic sliding cover plate can not be fixed in the limiting groove after sliding down, the positioning of the cover plate is not convenient, and, make digit button panel and fingerprint identification groove expose easily in the air, expose for a long time in the air on the ash layer and moisture can influence the life of intelligence lock.
Disclosure of Invention
Aiming at the defects of the prior art, the invention provides a sliding cover type intelligent lock with an automatically sliding cover plate, and solves the problem that the service life of the intelligent lock is influenced because the cover plate is not conveniently positioned.
In order to achieve the purpose, the invention is realized by the following technical scheme: a sliding cover type intelligent lock with an automatically sliding cover plate comprises an intelligent lock body, wherein T-shaped sliding grooves are formed in two sides of the intelligent lock body, a cover plate is connected on the inner wall of each T-shaped sliding groove in a sliding mode, inserting columns are fixedly connected to two sides of the bottom of the cover plate, a metal elastic sheet is fixedly connected to one side, away from each other, of each inserting column, a limiting block is fixedly connected to the top of each metal elastic sheet, a fixing plate is fixedly connected to the bottom of the front face of the intelligent lock body, mounting grooves are formed in two sides of the top of the fixing plate, spring fixing blocks are fixedly connected to the bottoms of the inner walls of the two mounting grooves, buffer springs are fixedly connected to the tops of the two spring fixing blocks, sliding blocks are fixedly connected to the top ends of the two buffer springs, two sides of the sliding blocks are slidably connected with, and extrusion reset mechanisms are arranged on two sides of the fixing plate.
Preferably, the extrusion reset mechanism includes the extrusion pole, the surface of extrusion pole and the inner wall sliding connection of through-hole, the left end of extrusion pole runs through the through-hole and extends to the outside of through-hole, the left end fixedly connected with of extrusion pole presses the briquetting, press the equal fixedly connected with reset spring in top and the below on briquetting right side, two reset spring's right-hand member all with the left side fixed connection of fixed plate.
Preferably, the front surface of the inner wall of the cover plate is fixedly connected with an iron block, and the front surface of the intelligent lock body is fixedly connected with an electromagnet.
Preferably, the front of intelligence lock body just is located the below fixedly connected with number button board of electro-magnet, the front of intelligence lock body just is located the below fixedly connected with fingerprint identification ware on number button board right side.
Preferably, the front surface of the fixing plate is rotatably connected with a door handle through a rotating shaft, a lock hole is formed in the front surface of the fixing plate and below the door handle, an electromagnet switch is fixedly connected to the front surface of the fixing plate and below the lock hole, and a movable handle is fixedly connected to the front surface of the cover plate.
Preferably, the inside fixedly connected with battery of intelligence lock body, the battery passes through the wire and respectively with electromagnet switch, electro-magnet, digit keypad, fingerprint identification ware electric connection.
Preferably, the top fixedly connected with rubber pad of sliding block, the bottom fixedly connected with rubber pad of inserting the post.
Preferably, the through hole is communicated with the mounting groove, and the diameter of the inserting column is smaller than that of the mounting groove.
Advantageous effects
The invention provides a sliding cover type intelligent lock with a cover plate capable of automatically sliding off. Compared with the prior art, the method has the following beneficial effects:
(1) the sliding cover type intelligent lock with the automatically sliding cover plate comprises an intelligent lock body, wherein T-shaped sliding grooves are formed in two sides of the intelligent lock body, the inner wall of each T-shaped sliding groove is connected with the cover plate in a sliding mode, inserting columns are fixedly connected to two sides of the bottom of the cover plate, a metal elastic sheet is fixedly connected to one side, away from each other, of each inserting column, a limiting block is fixedly connected to the top of each metal elastic sheet, a fixing plate is fixedly connected to the bottom of the front side of the intelligent lock body, mounting grooves are formed in two sides of the top of the fixing plate, spring fixing blocks are fixedly connected to the bottoms of the inner walls of the two mounting grooves, buffer springs are fixedly connected to the tops of the two spring fixing blocks, sliding blocks are fixedly connected to the tops of the two buffer springs, two sides of each sliding, the extrusion reset mechanism comprises an extrusion rod, the surface of the extrusion rod is in sliding connection with the inner wall of the through hole, the left end of the extrusion rod penetrates through the through hole and extends to the outside of the through hole, the left end of the extrusion rod is fixedly connected with a pressing block, reset springs are fixedly connected above and below the right side of the pressing block, the right ends of the two reset springs are fixedly connected with the left side of the fixing plate, the insert posts can be matched with the mounting groove for use, the cover plate slides down after unlocking, the insert posts are contacted with the sliding block to further extrude the buffer springs, the buffer springs buffer the insert posts, so as to buffer the cover plate, when the metal elastic sheet enters the mounting groove, the metal elastic sheet can generate elastic deformation, the limit block can slide downwards along the inner wall of the mounting groove, when the metal elastic sheet slides to the through hole, the limit block is extruded and is matched and clamped with the through hole, the, increase device life, need move up the apron during extrusion press the briquetting can, then upwards stimulate the apron, convenient operation.
(2) This automatic sliding closure formula intelligence lock of landing of apron through the positive fixedly connected with iron plate at the apron inner wall, and the positive fixedly connected with electro-magnet of intelligence lock body can start the electro-magnet and produce magnetic force and hold the iron plate when moving the apron on, further fixes a position the apron, prevents the apron gliding, makes things convenient for people to input the password, and simple structure operates comparatively conveniently.
Drawings
FIG. 1 is a front view of the structure of the present invention;
FIG. 2 is a cross-sectional view of a portion of the structure of the present invention;
FIG. 3 is a side view of the structure of the present invention;
FIG. 4 is a front view of the partial structure of the intelligent lock body of the present invention;
FIG. 5 is a perspective view of the cover plate of the present invention;
FIG. 6 is a top view of a partial structure of the intelligent lock body according to the present invention;
FIG. 7 is an enlarged view of a portion of the invention at A in FIG. 2;
fig. 8 is a partial enlarged view of the invention at B in fig. 1.
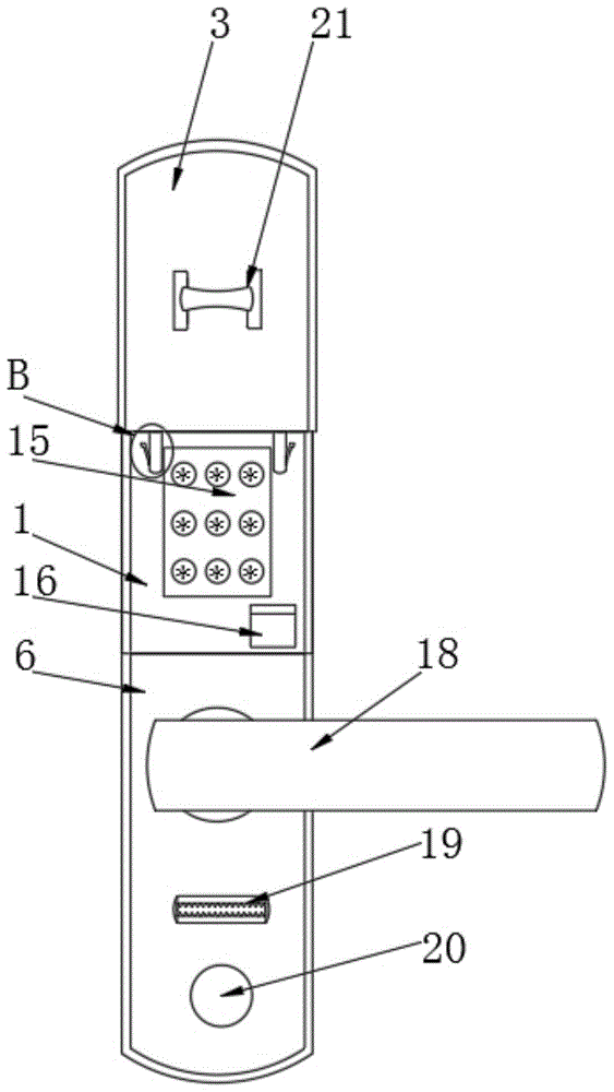
In the figure: 1. an intelligent lock body; 2. a T-shaped chute; 3. a cover plate; 4. inserting a column; 5. a metal elastic sheet; 6. a fixing plate; 7. mounting grooves; 8. a spring fixing block; 9. a buffer spring; 10. a slider; 11. a through hole; 12. an extrusion resetting mechanism; 121. an extrusion stem; 122. a pressing block; 123. a return spring; 13. an iron block; 14. an electromagnet; 15. a number keypad; 16. a fingerprint identifier; 17. a rotating shaft; 18. a door handle; 19. a lock hole; 20. an electromagnet switch; 21. moving the handle; 22. and a limiting block.
Detailed Description
The technical solutions in the embodiments of the present invention will be clearly and completely described below with reference to the drawings in the embodiments of the present invention, and it is obvious that the described embodiments are only a part of the embodiments of the present invention, and not all of the embodiments. All other embodiments, which can be derived by a person skilled in the art from the embodiments given herein without making any creative effort, shall fall within the protection scope of the present invention.
Referring to fig. 1-8, the present invention provides a technical solution: a sliding cover type intelligent lock with an automatically sliding cover plate comprises an intelligent lock body 1, wherein T-shaped sliding grooves 2 are formed in two sides of the intelligent lock body 1 and can be matched with a cover plate 3 to slide to limit the cover plate 3, the inner wall of each T-shaped sliding groove 2 is connected with the cover plate 3 in a sliding mode, a number key plate 15 and a fingerprint recognizer 16 can be effectively protected, inserting columns 4 are fixedly connected to two sides of the bottom of the cover plate 3, metal elastic pieces 5 are fixedly connected to one sides, away from each other, of the two inserting columns 4, the metal elastic pieces 5 are made of stainless steel and have good elasticity, limiting blocks 22 are fixedly connected to the tops of the metal elastic pieces 5, each limiting block 22 is of an arc-shaped structure, friction with the inner wall of a mounting groove 7 can be reduced when the limiting blocks are in contact with the inner wall of the mounting groove 7, a fixing plate 6 is fixedly connected to the bottom of the, the bottom of the inner wall of the two mounting grooves 7 is fixedly connected with a spring fixing block 8, which is convenient for fixing the buffer spring 9, the buffer spring 9 is stabilized, the top of the two spring fixing blocks 8 is fixedly connected with the buffer spring 9, which can effectively buffer the inserted column 4, thereby realizing the protection effect on the cover plate 3, the top ends of the two buffer springs 9 are fixedly connected with a sliding block 10, both sides of the sliding block 10 are slidably connected with both sides of the inner wall of the mounting groove 7, both sides of the fixing plate 6 are provided with through holes 11, the through holes 11 are matched with the limiting blocks 22 for use, so that the limiting blocks 22 can be clamped through the through holes 11 in a matching way, the positioning of the inserted column 4 is completed, thereby realizing the positioning of the cover plate 3, preventing the influence of an external ash layer and moist air on the intelligent lock, both sides of the fixing plate 6 are, the cover plate 3 is moved, the cover plate 3 slides after unlocking, the inserting column 4 is contacted with the sliding block 10 to extrude the buffer spring 9, the buffer spring 9 buffers the inserting column 4, the cover plate 3 is buffered, when the metal elastic sheet 5 enters the mounting groove 7, elastic deformation occurs, the limit block 22 slides downwards along the inner wall of the mounting groove 7, when the metal elastic sheet 5 slides to the through hole 11, the limit block 22 is extruded by the metal elastic sheet 5 to be matched and clamped with the through hole 11, the cover plate 3 can be positioned, the interference of the external environment to the fingerprint recognizer 16 is prevented, the service life of the device is prolonged, the extruding reset mechanism 12 comprises an extruding rod 121, the surface of the extruding rod 121 is slidably connected with the inner wall of the through hole 11, the left end of the extruding rod 121 penetrates through the through hole 11 and extends to the outside of the through hole 11, the left end of the extruding rod 121 is fixedly connected with a pressing block 122, the upper part and the lower part on the right, the right ends of the two reset springs 123 are fixedly connected with the left side of the fixed plate 6, when the fingerprint unlocking is needed, the press block 122 is pressed by a hand, the press block 122 further presses the pressing rod 121, the pressing rod 121 further presses the limiting block 22, the limiting block 22 is separated from the through hole 11, the movable handle 21 can be pulled at the moment to drive the cover plate 3 to move upwards, the iron block 13 is fixedly connected to the front side of the inner wall of the cover plate 3, the electromagnet 14 is fixedly connected to the front side of the intelligent lock body 1, when the electromagnet 14 is powered on, magnetic force can be generated to adsorb the iron block 13, further, the positioning effect on the cover plate 3 can be completed, the cover plate 3 is prevented from sliding downwards, so that the unlocking of an operator is affected, the digital key plate 15 is fixedly connected to the front side of the intelligent lock body 1 and is positioned below the electromagnet 14, the digital key unlocking can be performed, the fingerprint identifier 16 is fixedly connected to the, the multifunctional lock can be unlocked by fingerprints, so that multifunctional unlocking is realized, the multifunctional lock is convenient to use, the front surface of the fixing plate 6 is rotatably connected with the door handle 18 through the rotating shaft 17, the front surface of the fixing plate 6 is provided with the lock hole 19 below the door handle 18 and can also be unlocked by a key through the lock hole 19 and can also be used when the digital key board 15 and the fingerprint recognizer 16 break down, the practicability is high, the front surface of the fixing plate 6 is fixedly connected with the electromagnet switch 20 below the lock hole 19 and can control the electromagnet 14 to be electrified so as to facilitate the movement and the positioning of the cover board 3, the front surface of the cover board 3 is fixedly connected with the movable handle 21 so as to facilitate the pulling of the cover board 3 through the movable handle 21, the storage battery is fixedly connected with the inside of the intelligent lock body 1, the storage battery is respectively and electrically connected with the electromagnet switch 20, the electromagnet 14, the bottom fixedly connected with rubber pad of inserting post 4, the rubber pad has buffering cushioning effect, and effective protection device prolongs its life, through-hole 11 and mounting groove 7 intercommunication make things convenient for stopper 22 and the cooperation chucking of through-hole 11, and the diameter of inserting post 4 is less than the diameter of mounting groove 7.
When the device is used, after the digital key board 15 or the fingerprint recognizer 16 is unlocked, the electromagnet switch 20 is closed, the electromagnet 14 loses magnetism, the cover plate 3 slides down through the T-shaped sliding groove 2, the inserting column 4 contacts with the sliding block 10 to extrude the buffer spring 9, the buffer spring 9 performs buffer action on the inserting column 4 to buffer the cover plate 3, when the metal elastic sheet 5 enters the mounting groove 7, elastic deformation occurs, the limit block 22 slides downwards along the inner wall of the mounting groove 7, when the metal elastic sheet 5 slides to the through hole 11, the limit block 22 is extruded by the metal elastic sheet 5 to be matched and clamped with the through hole 11, the cover plate 3 can be positioned, the interference of the external environment on the fingerprint recognizer 16 is prevented, the service life of the device is prolonged, when the fingerprint unlocking is needed, the press block 122 is extruded by hand, the press block 122 further extrudes the extrusion rod 121, the extrusion rod 121 further extrudes the limit block 22, make stopper 22 break away from through-hole 11, can pull removal handle 21 this moment, drive apron 3 and shift up, then open electromagnet switch 20, electro-magnet 14 has magnetism and adsorbs effect to iron plate 13, and then can accomplish the positioning action to apron 3, prevents that apron 3 from gliding, can not influence operating personnel unblock.
It is noted that, herein, relational terms such as first and second, and the like may be used solely to distinguish one entity or action from another entity or action without necessarily requiring or implying any actual such relationship or order between such entities or actions. Also, the terms "comprises," "comprising," or any other variation thereof, are intended to cover a non-exclusive inclusion, such that a process, method, article, or apparatus that comprises a list of elements does not include only those elements but may include other elements not expressly listed or inherent to such process, method, article, or apparatus.
Although embodiments of the present invention have been shown and described, it will be appreciated by those skilled in the art that changes, modifications, substitutions and alterations can be made in these embodiments without departing from the principles and spirit of the invention, the scope of which is defined in the appended claims and their equivalents.

Claims (8)

1. The utility model provides a sliding closure formula intelligence lock of automatic landing of apron, includes intelligent lock body (1), its characterized in that: the intelligent lock is characterized in that T-shaped sliding grooves (2) are formed in two sides of the intelligent lock body (1), a cover plate (3) is connected to the inner wall of each T-shaped sliding groove (2) in a sliding mode, inserting columns (4) are fixedly connected to two sides of the bottom of the cover plate (3), metal elastic pieces (5) are fixedly connected to one sides, away from each other, of the two inserting columns (4), limiting blocks (22) are fixedly connected to the tops of the metal elastic pieces (5), fixing plates (6) are fixedly connected to the front bottoms of the intelligent lock body (1), mounting grooves (7) are formed in two sides of the top of each fixing plate (6), spring fixing blocks (8) are fixedly connected to the bottoms of the inner walls of the two mounting grooves (7), buffer springs (9) are fixedly connected to the tops of the two spring fixing blocks (8), and sliding blocks (10) are fixedly connected, the both sides of sliding block (10) all with the both sides sliding connection of mounting groove (7) inner wall, through-hole (11) have all been seted up to the both sides of fixed plate (6), the both sides of fixed plate (6) all are provided with extrusion canceling release mechanical system (12).
2. The sliding closure type intelligent lock with the automatically sliding cover plate as claimed in claim 1, wherein: extrusion canceling release mechanical system (12) are including extrusion stem (121), the surface of extrusion stem (121) and the inner wall sliding connection of through-hole (11), the left end of extrusion stem (121) runs through-hole (11) and extends to the outside of through-hole (11), the left end fixedly connected with of extrusion stem (121) presses briquetting (122), press briquetting (122) the equal fixedly connected with reset spring (123) in top and the below on right side, two the right-hand member of reset spring (123) all with the left side fixed connection of fixed plate (6).
3. The sliding closure type intelligent lock with the automatically sliding cover plate as claimed in claim 1, wherein: the front side of the inner wall of the cover plate (3) is fixedly connected with an iron block (13), and the front side of the intelligent lock body (1) is fixedly connected with an electromagnet (14).
4. The sliding closure type intelligent lock with the automatically sliding cover plate as claimed in claim 3, wherein: the front of intelligence lock body (1) just is located below fixedly connected with number keypad (15) of electro-magnet (14), the front of intelligence lock body (1) just is located below fixedly connected with fingerprint identification ware (16) on number keypad (15) right side.
5. The sliding closure type intelligent lock with the automatically sliding cover plate as claimed in claim 1, wherein: the front surface of the fixing plate (6) is rotatably connected with a door handle (18) through a rotating shaft (17), a lock hole (19) is formed in the front surface of the fixing plate (6) and located below the door handle (18), an electromagnet switch (20) is fixedly connected to the front surface of the fixing plate (6) and located below the lock hole (19), and a movable handle (21) is fixedly connected to the front surface of the cover plate (3).
6. The sliding closure type intelligent lock with the automatically sliding cover plate as claimed in claim 5, wherein: the inside fixedly connected with battery of intelligence lock body (1), the battery passes through the wire and respectively with electromagnet switch (20), electro-magnet (14), digit keypad (15), fingerprint identification ware (16) electric connection.
7. The sliding closure type intelligent lock with the automatically sliding cover plate as claimed in claim 1, wherein: the top fixedly connected with rubber pad of sliding block (10), the bottom fixedly connected with rubber pad of inserting post (4).
8. The sliding closure type intelligent lock with the automatically sliding cover plate as claimed in claim 1, wherein: the through hole (11) is communicated with the mounting groove (7), and the diameter of the inserting column (4) is smaller than that of the mounting groove (7).
CN201911314142.4A 2019-12-18 2019-12-18 A slide-type smart lock whose cover plate automatically slides down Pending CN110984701A (en)

Priority Applications (1)

Application Number Priority Date Filing Date Title
CN201911314142.4A CN110984701A (en) 2019-12-18 2019-12-18 A slide-type smart lock whose cover plate automatically slides down

Applications Claiming Priority (1)

Application Number Priority Date Filing Date Title
CN201911314142.4A CN110984701A (en) 2019-12-18 2019-12-18 A slide-type smart lock whose cover plate automatically slides down

Publications (1)

Publication Number Publication Date
CN110984701A true CN110984701A (en) 2020-04-10

Family

ID=70095808

Family Applications (1)

Application Number Title Priority Date Filing Date
CN201911314142.4A Pending CN110984701A (en) 2019-12-18 2019-12-18 A slide-type smart lock whose cover plate automatically slides down

Country Status (1)

Country Link
CN (1) CN110984701A (en)

Cited By (6)

* Cited by examiner, † Cited by third party
Publication number Priority date Publication date Assignee Title
CN111636771A (en) * 2020-06-08 2020-09-08 杭州米兔智能家居科技有限公司 Smart lock keyhole protection device
CN111631525A (en) * 2020-06-18 2020-09-08 广西职业技术学院 Intelligent furniture
CN113579792A (en) * 2021-07-30 2021-11-02 俞国贤 Numerical control machining center with elasticity clamping tool
CN113664567A (en) * 2021-09-14 2021-11-19 俞国贤 A CNC machining center capable of hanging and clamping products
CN114059852A (en) * 2021-11-11 2022-02-18 唐青青 An intelligent electronic lock
CN115690966A (en) * 2022-09-19 2023-02-03 夏梦 Intelligent entrance guard system of building

Citations (9)

* Cited by examiner, † Cited by third party
Publication number Priority date Publication date Assignee Title
JP2002089111A (en) * 2000-09-18 2002-03-27 Hinomoto Jomae Ltd Magnet lock
KR20090024027A (en) * 2007-09-03 2009-03-06 (주)조이텍 door lock
DE202013103126U1 (en) * 2013-07-12 2013-07-25 ASTRA Gesellschaft für Asset Management mbH & Co. KG Secure cover for the electronics area of a door fitting
CN204571498U (en) * 2015-04-20 2015-08-19 深圳市同创新佳科技有限公司 A kind of tapered end protection mechanism of door lock
CN205637887U (en) * 2016-04-15 2016-10-12 宝得利实业有限公司 Intelligence door lock panel
CN207960191U (en) * 2018-03-14 2018-10-12 合肥品冠智能锁具科技有限责任公司 A kind of sliding cover type intelligent that cover board slides automatically lock
CN208010113U (en) * 2018-02-08 2018-10-26 上海华星电器有限公司 A kind of armoured switch cabinet door latch structure
CN209413497U (en) * 2018-09-12 2019-09-20 河北志方通信设备有限公司 A kind of inactive component electric intelligent lock
CN110273580A (en) * 2019-07-10 2019-09-24 江苏龙合物联科技有限公司 A kind of smart home door lock

Patent Citations (9)

* Cited by examiner, † Cited by third party
Publication number Priority date Publication date Assignee Title
JP2002089111A (en) * 2000-09-18 2002-03-27 Hinomoto Jomae Ltd Magnet lock
KR20090024027A (en) * 2007-09-03 2009-03-06 (주)조이텍 door lock
DE202013103126U1 (en) * 2013-07-12 2013-07-25 ASTRA Gesellschaft für Asset Management mbH & Co. KG Secure cover for the electronics area of a door fitting
CN204571498U (en) * 2015-04-20 2015-08-19 深圳市同创新佳科技有限公司 A kind of tapered end protection mechanism of door lock
CN205637887U (en) * 2016-04-15 2016-10-12 宝得利实业有限公司 Intelligence door lock panel
CN208010113U (en) * 2018-02-08 2018-10-26 上海华星电器有限公司 A kind of armoured switch cabinet door latch structure
CN207960191U (en) * 2018-03-14 2018-10-12 合肥品冠智能锁具科技有限责任公司 A kind of sliding cover type intelligent that cover board slides automatically lock
CN209413497U (en) * 2018-09-12 2019-09-20 河北志方通信设备有限公司 A kind of inactive component electric intelligent lock
CN110273580A (en) * 2019-07-10 2019-09-24 江苏龙合物联科技有限公司 A kind of smart home door lock

Cited By (6)

* Cited by examiner, † Cited by third party
Publication number Priority date Publication date Assignee Title
CN111636771A (en) * 2020-06-08 2020-09-08 杭州米兔智能家居科技有限公司 Smart lock keyhole protection device
CN111631525A (en) * 2020-06-18 2020-09-08 广西职业技术学院 Intelligent furniture
CN113579792A (en) * 2021-07-30 2021-11-02 俞国贤 Numerical control machining center with elasticity clamping tool
CN113664567A (en) * 2021-09-14 2021-11-19 俞国贤 A CNC machining center capable of hanging and clamping products
CN114059852A (en) * 2021-11-11 2022-02-18 唐青青 An intelligent electronic lock
CN115690966A (en) * 2022-09-19 2023-02-03 夏梦 Intelligent entrance guard system of building

Similar Documents

Publication Publication Date Title
CN110984701A (en) A slide-type smart lock whose cover plate automatically slides down
CN209525725U (en) Intelligent doorbell
CN107675996B (en) A kind of anti-theft storage device
CN211258096U (en) Fingerprint dust-proof device for fingerprint lock for smart home
CN211673254U (en) A two-stage pressing and rebounding device and a drawer
CN211115426U (en) Electric control structure of linkage door lock
CN209369683U (en) A security door
CN212802882U (en) Intelligent door lock with pick-proof performance
CN2442205Y (en) Refrigerator with touching electromalgnetic door opener
CN209879591U (en) Wisdom is laboratory intelligence lock for campus
CN211422167U (en) Dustproof sliding cover of intelligent coded lock
CN212136295U (en) Power switch touch-proof protection device
CN114809815A (en) Intelligent home induction intelligent door lock
CN208010080U (en) a sliding connector
CN210924332U (en) Classified document retrieval device
CN207852502U (en) A kind of shutdown lamp turnoff device for forgetting to turn off the light that prevents from going out
CN210039843U (en) Electric shock prevention box type transformer shell
CN219929336U (en) Elevator does not have computer lab switch board
CN210003044U (en) push-button mechanical puzzle lock
CN216043141U (en) Sliding closure formula intelligence lock with apron is automatic to be slided off
CN207800435U (en) One kind identifying hand touch switches for intelligent steering
CN207469934U (en) A kind of intelligent door lock
CN221200446U (en) Entrance guard card reader
CN221927828U (en) Double-split padlock mechanism applied to double-power transfer switch
CN203401927U (en) Back door of vehicle and vehicle

Legal Events

Date Code Title Description
PB01 Publication
PB01 Publication
SE01 Entry into force of request for substantive examination
SE01 Entry into force of request for substantive examination
WD01 Invention patent application deemed withdrawn after publication

Application publication date: 20200410

WD01 Invention patent application deemed withdrawn after publication