CN110946739A - A kind of auxiliary device for daily exercise in rehabilitation of nerve hemiplegia - Google Patents

A kind of auxiliary device for daily exercise in rehabilitation of nerve hemiplegia Download PDF

Info

Publication number
CN110946739A
CN110946739A CN201911280193.XA CN201911280193A CN110946739A CN 110946739 A CN110946739 A CN 110946739A CN 201911280193 A CN201911280193 A CN 201911280193A CN 110946739 A CN110946739 A CN 110946739A
Authority
CN
China
Prior art keywords
swing
frame
sliding
nerve
patient
Prior art date
Legal status (The legal status is an assumption and is not a legal conclusion. Google has not performed a legal analysis and makes no representation as to the accuracy of the status listed.)
Granted
Application number
CN201911280193.XA
Other languages
Chinese (zh)
Other versions
CN110946739B (en
Inventor
张震
苏丹丹
Current Assignee (The listed assignees may be inaccurate. Google has not performed a legal analysis and makes no representation or warranty as to the accuracy of the list.)
SHOUGUANG CITY PEOPLE S HOSPIT
Original Assignee
SHOUGUANG CITY PEOPLE S HOSPIT
Priority date (The priority date is an assumption and is not a legal conclusion. Google has not performed a legal analysis and makes no representation as to the accuracy of the date listed.)
Filing date
Publication date
Application filed by SHOUGUANG CITY PEOPLE S HOSPIT filed Critical SHOUGUANG CITY PEOPLE S HOSPIT
Priority to CN201911280193.XA priority Critical patent/CN110946739B/en
Publication of CN110946739A publication Critical patent/CN110946739A/en
Application granted granted Critical
Publication of CN110946739B publication Critical patent/CN110946739B/en
Expired - Fee Related legal-status Critical Current
Anticipated expiration legal-status Critical

Links

Images

Classifications

    • AHUMAN NECESSITIES
    • A61MEDICAL OR VETERINARY SCIENCE; HYGIENE
    • A61HPHYSICAL THERAPY APPARATUS, e.g. DEVICES FOR LOCATING OR STIMULATING REFLEX POINTS IN THE BODY; ARTIFICIAL RESPIRATION; MASSAGE; BATHING DEVICES FOR SPECIAL THERAPEUTIC OR HYGIENIC PURPOSES OR SPECIFIC PARTS OF THE BODY
    • A61H1/00Apparatus for passive exercising; Vibrating apparatus; Chiropractic devices, e.g. body impacting devices, external devices for briefly extending or aligning unbroken bones
    • A61H1/02Stretching or bending or torsioning apparatus for exercising
    • A61H1/0274Stretching or bending or torsioning apparatus for exercising for the upper limbs
    • AHUMAN NECESSITIES
    • A61MEDICAL OR VETERINARY SCIENCE; HYGIENE
    • A61HPHYSICAL THERAPY APPARATUS, e.g. DEVICES FOR LOCATING OR STIMULATING REFLEX POINTS IN THE BODY; ARTIFICIAL RESPIRATION; MASSAGE; BATHING DEVICES FOR SPECIAL THERAPEUTIC OR HYGIENIC PURPOSES OR SPECIFIC PARTS OF THE BODY
    • A61H2201/00Characteristics of apparatus not provided for in the preceding codes
    • A61H2201/12Driving means
    • A61H2201/1207Driving means with electric or magnetic drive
    • AHUMAN NECESSITIES
    • A61MEDICAL OR VETERINARY SCIENCE; HYGIENE
    • A61HPHYSICAL THERAPY APPARATUS, e.g. DEVICES FOR LOCATING OR STIMULATING REFLEX POINTS IN THE BODY; ARTIFICIAL RESPIRATION; MASSAGE; BATHING DEVICES FOR SPECIAL THERAPEUTIC OR HYGIENIC PURPOSES OR SPECIFIC PARTS OF THE BODY
    • A61H2205/00Devices for specific parts of the body
    • A61H2205/06Arms

Landscapes

  • Health & Medical Sciences (AREA)
  • Epidemiology (AREA)
  • Pain & Pain Management (AREA)
  • Physical Education & Sports Medicine (AREA)
  • Rehabilitation Therapy (AREA)
  • Life Sciences & Earth Sciences (AREA)
  • Animal Behavior & Ethology (AREA)
  • General Health & Medical Sciences (AREA)
  • Public Health (AREA)
  • Veterinary Medicine (AREA)
  • Rehabilitation Tools (AREA)

Abstract

本发明涉及一种神经偏瘫康复日常锻炼辅助装置,包括背靠板,背靠板的上端安装有固定支架,固定支架的左右两侧的下端对称安装有手臂支具,背靠板的后端安装有驱动机构。本发明可以解决现有神经偏瘫患者在进行康复锻炼时存在的以下难题,a,神经偏瘫患者进行康复锻炼时需要护理人员手扶着患者的臂膀进行锻炼,护理人员进行扶着患者臂膀锻炼时控制运动的幅度,容易对患者身体造成不适,b需要护理人员调节患者的摆动角度,护理人员在患者康复锻炼时需要时刻扶着患者的手臂,劳动强度大而且护理人员扶着患者手臂锻炼的时间无法长时间进行,影响患者康复锻炼的效果。

Figure 201911280193

The invention relates to an auxiliary device for daily exercise of nerve hemiplegia rehabilitation. There is a drive mechanism. The present invention can solve the following problems existing in the rehabilitation exercise of the existing nerve hemiplegia patients: a, when the nerve hemiplegia patient performs the rehabilitation exercise, the nursing staff needs to hold the patient's arm to exercise, and the nursing staff controls the control when exercising while holding the patient's arm. The range of motion is easy to cause discomfort to the patient's body. b The nursing staff needs to adjust the patient's swing angle. The nursing staff needs to hold the patient's arm at all times during the rehabilitation exercise of the patient. Prolonged use will affect the effect of rehabilitation exercises for patients.

Figure 201911280193

Description

Neural hemiplegia rehabilitation daily exercise auxiliary device
Technical Field
The invention relates to the technical field of exercise equipment, in particular to a daily exercise assisting device for hemiparalysis rehabilitation.
Background
Hemiplegia refers to the movement disorder of the upper and lower limbs, facial muscles and lower part of the tongue muscle on the same side, and is a common symptom of acute cerebrovascular disease. The nervous hemiplegia is a common disease in hemiplegia symptoms, the nervous hemiplegia patient cannot control limbs like a normal person, the patient needs to exercise the activities of the limbs to increase the rehabilitation effect, and particularly, the arm of the patient can be quickly recovered, so that the self-care ability of the patient is improved, and the labor intensity of nursing staff is reduced.
However, the following difficult problem that exists when carrying out the rehabilitation exercise of current neural hemiplegia patient, a, the neural hemiplegia patient needs the hand arm of nursing staff to take exercise when carrying out the rehabilitation exercise, the amplitude of control motion when nursing staff holds the arm of patient and takes exercise, cause the discomfort to patient's health easily, b needs nursing staff to adjust patient's swing angle, nursing staff need hold up patient's arm constantly when patient's rehabilitation exercise, intensity of labour is big and nursing staff holds up the time that patient's arm was taken exercise and can't go on for a long time, influence the effect of patient's rehabilitation exercise.
For the technical problems existing in the rehabilitation exercise of the patients with hemiplegia at present, people in the related technical field make adaptive improvements after research, for example, the arm exercising device for rehabilitation is invented in Chinese patent No. 2018107825997, which is favorable for the rehabilitation of the patients, and the elastic exercise avoids the muscle damage to the patients caused by the high exercise intensity, however, the problems existing in the rehabilitation exercise of the patients with hemiplegia mentioned above are not mentioned.
Disclosure of Invention
In order to solve the above problems, the present invention provides a daily exercise assisting device for hemiparalysis rehabilitation, which can solve the above-mentioned problems of hemiparalysis patients during rehabilitation exercise.
In order to achieve the purpose, the invention adopts the following technical scheme to realize the purpose: the utility model provides a recovered daily exercise auxiliary device of hemiplegia, includes the back board, and the fixed bolster is installed to the upper end of back board, and the arm brace is installed to the lower extreme symmetry of the left and right sides of fixed bolster, and actuating mechanism is installed to the rear end of back board.
The arm support comprises a ball hinge arranged at the lower end of a fixed support, a top plate is arranged at the lower end of the ball hinge, an upper protective tool is arranged at the lower end of the top plate, a rubber belt in a semicircular structure is arranged at the lower end of the upper protective tool, the lower end of the rubber belt is connected with a lower protective tool, and the upper protective tool and the lower protective tool are in the same structure;
actuating mechanism is including installing the braced frame on the back board, the sliding tray has been seted up to braced frame's left and right sides symmetry, be provided with the carriage through the sliding fit mode in the sliding tray, the sliding hole has been seted up at the middle part of carriage, be provided with the slide bar in the sliding hole, the cover is equipped with reset spring between slide bar and the carriage, there is the regulation pole front end of slide bar through hinged joint, the front end of adjusting the pole links to each other with the spacing frame that slides through the sliding fit mode, the whipping branch chain is installed to braced frame's rear end, the swing branch chain is installed to braced frame's rear end, the rear end of slide bar supports and leans on the.
Preferably, the upper protective tool comprises a semicircular protective plate arranged at the lower end of the top plate, a sliding limiting frame is arranged on the outer wall of the semicircular protective plate, an insertion block is arranged on the outer wall of the front end of the semicircular protective plate, an insertion slot is formed in the insertion block, a fastening buckle is evenly arranged on the insertion block, a tightening belt is arranged on the inner wall of the rear end of the semicircular protective plate, a tightening plate is arranged at the front end of the tightening belt, and a fastening hole matched with the fastening buckle for use is formed in the tightening plate.
Preferably, the swing branch chain comprises a swing motor installed on the supporting frame through a motor base, a swing shaft is installed on an output shaft of the swing motor, swing frames are symmetrically installed at the left end and the right end of the swing shaft, a driving frame is arranged in the swing frames in a sliding mode and connected to the supporting frame through a pin shaft, the inner wall of the driving frame abuts against the sliding rod, and a spring is connected between the driving frame and the supporting frame.
Preferably, the swing branch chain includes and installs the swing motor on the back-up plate through the motor cabinet, installs the swing piece on swing motor's the output shaft, and the swing piece is located swing frame's inside, and swing frame sets up on braced frame's inner wall through the sliding fit mode, and the locating piece is installed to braced frame's left and right sides symmetry, has seted up the locating hole on the locating piece, is connected with the swinging arms through the sliding fit mode in the locating hole, and the other end is connected on swing frame on the carriage is connected to the one end of swinging arms, and the cover is equipped with the spring on the swinging arms that is located.
Preferably, the driving frame is of an L-shaped structure, and an end surface of the driving frame contacting the sliding rod is of an inclined structure.
Preferably, the oscillating block has an elliptical structure.
1. The rehabilitation training device can solve the following problems of the existing patients with the hemiparalysis during rehabilitation training, namely a, when the patients with the hemiparalysis perform rehabilitation training, a nursing person needs to hold the arm of the patients for training, when the nursing person holds the arm of the patients for training, the range of motion is controlled, discomfort is easily caused to the bodies of the patients, b, when the nursing person needs to adjust the swing angle of the patients, when the patients perform rehabilitation training, the nursing person needs to hold the arm of the patients constantly, the labor intensity is high, the time for the nursing person to hold the arm of the patients for training cannot be carried out for a long time, and the effect of the patients on the rehabilitation training is influenced. The present invention can solve the problems mentioned above, and has unexpected effects.
2. The swinging branched chain in the driving mechanism can control the sliding rod to perform front and back telescopic operation in operation, the sliding rod and the adjusting rod are matched with each other to control the arm support to perform front and back swinging, the swinging branched chain drives the sliding frame to move in the sliding groove in action, and the sliding frame drives the arm support to perform left and right swinging in motion.
Drawings
The invention is further illustrated with reference to the following figures and examples.
FIG. 1 is a schematic structural view of the present invention;
FIG. 2 is a schematic view of the structure between the fixing bracket and the arm brace of the present invention;
FIG. 3 is a cross-sectional view of the arm brace of the present invention;
FIG. 4 is a schematic view of the structure between the backrest plate and the driving mechanism of the present invention
FIG. 5 is a schematic view of the structure between the swing motor, the swing block and the swing frame of the present invention
Detailed Description
The embodiments of the invention will be described in detail below with reference to the drawings, but the invention can be implemented in many different ways as defined and covered by the claims.
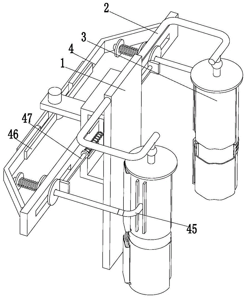
As shown in fig. 1 to 5, a daily exercise assisting device for hemiparalysis rehabilitation comprises a backrest plate 1, a fixed bracket 2 is installed at the upper end of the backrest plate 1, arm braces 3 are symmetrically installed at the lower ends of the left side and the right side of the fixed bracket 2, and a driving mechanism 4 is installed at the rear end of the backrest plate 1.
The arm brace 3 comprises a ball hinge 31 arranged at the lower end of the fixing support 2, a top plate 32 is arranged at the lower end of the ball hinge 31, an upper layer protector 33 is arranged at the lower end of the top plate 32, a rubber belt 34 in a semicircular structure is arranged at the lower end of the upper layer protector 33, the lower end of the rubber belt 34 is connected with a lower layer protector 35, and the upper layer protector 33 and the lower layer protector 35 are in the same structure; the driving mechanism 4 controls the arm brace 3 to swing in different directions during the operation, and the ball hinge 31 is connected in a way that the arm brace 3 can control the arm of the patient to swing under the driving of the driving mechanism 4.
Upper protective equipment 33 is including installing semicircle backplate 331 at roof 32 lower extreme, install on the outer wall of semicircle backplate 331 and slide spacing 332, install on the front end outer wall of semicircle backplate 331 and wear insert piece 333, it has seted up on the piece 333 and has worn the slot to alternate, it evenly is provided with fastening button 336 to alternate on the piece 333, install on the rear end inner wall of semicircle backplate 331 and tighten area 334, the front end of tightening area 334 is installed fastening plate 335, be provided with the fastening hole that cooperation fastening button 336 used on the fastening plate 335.
The patient leans against on backrest plate 1, and in the nursing staff help patient put into semicircle backplate 331 with the arm, then nursing staff control fastening board 335 passed and has worn the slot, and the thickness control fastening hole inserts and buckles 336 with the fastening that corresponds according to the patient arm and peg graft, guarantees that the patient arm can follow arm brace 3 and swing when taking exercise.
Actuating mechanism 4 is including installing braced frame 41 on backrest plate 1, the sliding tray has been seted up to braced frame 41's left and right sides symmetry, be provided with carriage 42 through the sliding fit mode in the sliding tray, the sliding hole has been seted up at carriage 42's middle part, be provided with slide bar 43 in the sliding hole, the cover is equipped with reset spring 44 between slide bar 43 and the carriage 42, there is regulation pole 45 front end of slide bar 43 through hinged joint, the front end of adjusting pole 45 links to each other with slip spacing frame 332 through the sliding fit mode, swing branch chain 46 is installed to braced frame 41's rear end, swing branch chain 47 is installed to braced frame 41's rear end, the rear end of slide bar 43 supports and leans on swing branch chain 46, carriage 42's lateral wall is connected. The swing branch chain 46 can control the sliding rod 43 to perform fore-and-aft telescopic operation in operation, the sliding rod 43 and the adjusting rod 45 are matched with each other to control the arm support 3 to perform fore-and-aft swing, the swing branch chain 46 drives the sliding frame 42 to move in the sliding groove in action, and the sliding frame 42 drives the arm support 3 to perform left-and-right swing in motion.
The driving rack 464 is of an L-shaped structure, and an end surface of the driving rack 464 contacting the sliding rod 43 is of an inclined structure.
The swinging branched chain 46 comprises a swinging motor 461 mounted on the support frame 41 through a motor base, a swinging shaft 462 is mounted on an output shaft of the swinging motor 461, swinging frames 463 are symmetrically mounted at the left end and the right end of the swinging shaft 462, a driving frame 464 is slidably arranged in the swinging frames 463, the driving frame 464 is connected on the support frame 41 through a pin shaft, the inner wall of the driving frame 464 abuts against the sliding rod 43, and a spring is connected between the driving frame 464 and the support frame 41.
The swing motor 461 works to control the swing shaft 462 to adjust the angle, the swing shaft 462 cooperates with the spring in the rotation operation to control the two driving frames 464 to move in opposite directions, the driving frames 464 cooperate with the return spring 44 in the movement to drive the sliding rod 43 to extend and retract, the sliding rod 43 drives the adjusting rod 45 to synchronously operate in the movement, and the cooperation between the adjusting rod 45 and the sliding limiting frame 332 controls the arm brace 3 to swing back and forth along the ball hinge 31, so as to drive the arm of the patient to do exercise of swinging back and forth.
Swing branch 47 includes installs swing motor 471 on backrest plate 1 through the motor cabinet, install swing piece 472 on swing motor 471's the output shaft, swing piece 472 is located swing frame 473's inside, swing frame 473 sets up on support frame 41's inner wall through sliding fit, locating piece 474 is installed to support frame 41's left and right sides symmetry, the locating hole has been seted up on locating piece 474, be connected with swinging arms 475 through sliding fit in the locating hole, swinging arms 475's one end is connected on carriage 42 the other end and is connected on swing frame 473, the cover is equipped with the spring on swinging arms 475 that is located between swing frame 473 and locating piece 474. The swing block 472 has an elliptical structure.
The swing motor 471 operates to control the swing block 472 to rotate, the swing block 472 abuts against the inner wall of the swing frame 473 when rotating, the swing frame 473 is controlled to move left and right, the swing frame 473 drives the sliding frame 42 to synchronously operate through the swing rod 475 when swinging, and the sliding frame 42 controls the sliding rod 43 to synchronously move and the sliding rod 43 to control the arm brace 3 to horizontally swing through the adjusting rod 45 when moving.
When carrying out the rehabilitation exercise, the patient leans on back on backrest 1, the nursing staff help the patient put into the semicircle backplate 331 with the arm, then nursing staff control buckle plate 335 passes and has worn the slot, control the fastening hole according to the thickness of patient's arm and insert and detain 336 grafting with the fastening that corresponds, guarantee that patient's arm can follow arm brace 3 and swing when taking exercise, swing branch chain 46 can control slide bar 43 in the operation and carry out flexible operation around, mutually support between slide bar 43 and the regulation pole 45 and control arm brace 3 and carry out the whipping of front and back, swing branch chain 46 drives carriage 42 in the effect and removes in the sliding tray, carriage 42 drives arm brace 3 and carries out the whipping about in the motion.
The foregoing illustrates and describes the principles, general features, and advantages of the present invention. It will be understood by those skilled in the art that the present invention is not limited to the embodiments described above, which are given by way of illustration of the principles of the present invention, and that various changes and modifications may be made without departing from the spirit and scope of the invention as defined by the appended claims. The scope of the invention is defined by the appended claims and equivalents thereof.

Claims (6)

1.一种神经偏瘫康复日常锻炼辅助装置,包括背靠板(1),其特征在于:背靠板(1)的上端安装有固定支架(2),固定支架(2)的左右两侧的下端对称安装有手臂支具(3),背靠板(1)的后端安装有驱动机构(4);1. An auxiliary device for daily exercise of nerve hemiplegia rehabilitation, comprising a backrest board (1), characterized in that: the upper end of the backrest board (1) is provided with a fixing bracket (2), and the left and right sides of the fixing bracket (2) are provided with a fixed bracket (2). An arm support (3) is symmetrically installed at the lower end, and a drive mechanism (4) is installed at the rear end of the backrest plate (1); 所述手臂支具(3)包括安装在固定支架(2)下端的球铰链(31),球铰链(31)的下端安装有顶板(32),顶板(32)的下端安装有上层护具(33),上层护具(33)的下端安装有呈半圆结构的橡胶带(34),橡胶带(34)的下端连接有下层护具(35),上层护具(33)与下层护具(35)为相同结构;The arm support (3) comprises a ball hinge (31) mounted on the lower end of the fixed bracket (2), the lower end of the ball hinge (31) is mounted with a top plate (32), and the lower end of the top plate (32) is mounted with an upper protective device ( 33), the lower end of the upper protective device (33) is provided with a rubber belt (34) in a semicircular structure, the lower end of the rubber belt (34) is connected with a lower protective device (35), the upper protective device (33) and the lower protective device ( 35) is the same structure; 所述驱动机构(4)包括安装在背靠板(1)上的支撑框架(41),支撑框架(41)的左右两侧对称开设有滑动槽,滑动槽内通过滑动配合方式设置有滑动架(42),滑动架(42)的中部开设有滑动孔,滑动孔内设置有滑动杆(43),滑动杆(43)与滑动架(42)之间套设有复位弹簧(44),滑动杆(43)的前端通过铰链连接有调节杆(45),调节杆(45)的前端通过滑动配合方式与滑动限位架(332)相连,支撑框架(41)的后端安装有甩动支链(46),支撑框架(41)的后端安装有摆动支链(47),滑动杆(43)的后端抵靠在甩动支链(46)上,滑动架(42)的侧壁连接在摆动支链(47)上。The drive mechanism (4) includes a support frame (41) mounted on the backrest plate (1), the left and right sides of the support frame (41) are symmetrically provided with sliding grooves, and a sliding frame is provided in the sliding groove by means of sliding fit (42), a sliding hole is opened in the middle of the sliding frame (42), a sliding rod (43) is arranged in the sliding hole, and a return spring (44) is sleeved between the sliding rod (43) and the sliding frame (42), and the sliding The front end of the rod (43) is connected with an adjusting rod (45) through a hinge, the front end of the adjusting rod (45) is connected with the sliding limit frame (332) by means of sliding fit, and the rear end of the support frame (41) is provided with a swinging support Chain (46), the rear end of the support frame (41) is provided with a swing branch chain (47), the rear end of the sliding rod (43) abuts on the swing branch chain (46), the side wall of the sliding frame (42) Connected to the swing chain (47). 2.根据权利要求1所述的一种神经偏瘫康复日常锻炼辅助装置,其特征在于:所述上层护具(33)包括安装在顶板(32)下端的半圆护板(331),半圆护板(331)的外壁上安装有滑动限位架(332),半圆护板(331)的前端外壁上安装有穿插块(333),穿插块(333)上开设有穿插槽,穿插块(333)上均匀设置有紧固扣(336),半圆护板(331)的后端内壁上安装有绷紧带(334),绷紧带(334)的前端安装有扣紧板(335),扣紧板(335)上设置有配合紧固扣(336)使用的紧固孔。2. The auxiliary device for daily exercise of nerve hemiplegia rehabilitation according to claim 1, characterized in that: the upper protective device (33) comprises a semicircular shield (331) installed on the lower end of the top plate (32), and the semicircular shield (331). A sliding limit frame (332) is installed on the outer wall of the (331), an insertion block (333) is installed on the outer wall of the front end of the semicircular guard plate (331), and the insertion block (333) is provided with a penetration slot, and the insertion block (333) ) is evenly provided with fastening buckles (336), the inner wall of the rear end of the semicircular guard plate (331) is provided with a tightening belt (334), and the front end of the tightening belt (334) is installed with a tightening plate (335), the buckle The tightening plate (335) is provided with a tightening hole for use with the tightening buckle (336). 3.根据权利要求1所述的一种神经偏瘫康复日常锻炼辅助装置,其特征在于:所述甩动支链(46)包括通过电机座安装在支撑框架(41)上的甩动电机(461),甩动电机(461)的输出轴上安装有甩动轴(462),甩动轴(462)的左右两端对称安装有甩动架(463),甩动架(463)内滑动设置有驱动架(464),驱动架(464)通过销轴连接在支撑框架(41)上,驱动架(464)的内壁抵靠在滑动杆(43)上,驱动架(464)与支撑框架(41)之间连接有弹簧。3. A kind of auxiliary device for daily exercise of nerve hemiplegia rehabilitation according to claim 1, characterized in that: the swing branch chain (46) comprises a swing motor (461) installed on the support frame (41) through a motor seat ), a swing shaft (462) is installed on the output shaft of the swing motor (461), a swing frame (463) is symmetrically installed at the left and right ends of the swing shaft (462), and the swing frame (463) is slidably arranged There is a drive frame (464), the drive frame (464) is connected to the support frame (41) through a pin, the inner wall of the drive frame (464) abuts on the sliding rod (43), the drive frame (464) and the support frame ( 41) is connected with a spring. 4.根据权利要求1所述的一种神经偏瘫康复日常锻炼辅助装置,其特征在于:所述摆动支链(47)包括通过电机座安装在背靠板(1)上的摆动电机(471),摆动电机(471)的输出轴上安装有摆动块(472),摆动块(472)位于摆动框架(473)的内部,摆动框架(473)通过滑动配合方式设置在支撑框架(41)的内壁上,支撑框架(41)的左右两侧对称安装有定位块(474),定位块(474)上开设有定位孔,定位孔内通过滑动配合方式连接有摆动杆(475),摆动杆(475)的一端连接在滑动架(42)上另一端连接在摆动框架(473)上,位于摆动框架(473)与定位块(474)之间的摆动杆(475)上套设有弹簧。4. The auxiliary device for daily exercise of nerve hemiplegia rehabilitation according to claim 1, wherein the swing branch chain (47) comprises a swing motor (471) mounted on the backrest plate (1) through a motor seat , a swing block (472) is installed on the output shaft of the swing motor (471), the swing block (472) is located inside the swing frame (473), and the swing frame (473) is arranged on the inner wall of the support frame (41) by sliding fit On the left and right sides of the support frame (41), positioning blocks (474) are symmetrically installed, and positioning holes (474) are provided on the positioning blocks. One end of ) is connected to the sliding frame (42) and the other end is connected to the swing frame (473), and a spring is sleeved on the swing rod (475) between the swing frame (473) and the positioning block (474). 5.根据权利要求1所述的一种神经偏瘫康复日常锻炼辅助装置,其特征在于:所述的驱动架(464)为L型结构,且驱动架(464)与滑动杆(43)接触的端面为倾斜结构。5. A kind of auxiliary device for daily exercise of nerve hemiplegia rehabilitation according to claim 1, characterized in that: the drive frame (464) is an L-shaped structure, and the drive frame (464) is in contact with the sliding rod (43). The end face is inclined structure. 6.根据权利要求1所述的一种神经偏瘫康复日常锻炼辅助装置,其特征在于:所述摆动块(472)呈椭圆结构。6 . The auxiliary device for daily exercise of nerve hemiplegia rehabilitation according to claim 1 , wherein the swing block ( 472 ) has an elliptical structure. 7 .
CN201911280193.XA 2019-12-13 2019-12-13 A kind of auxiliary device for daily exercise in rehabilitation of nerve hemiplegia Expired - Fee Related CN110946739B (en)

Priority Applications (1)

Application Number Priority Date Filing Date Title
CN201911280193.XA CN110946739B (en) 2019-12-13 2019-12-13 A kind of auxiliary device for daily exercise in rehabilitation of nerve hemiplegia

Applications Claiming Priority (1)

Application Number Priority Date Filing Date Title
CN201911280193.XA CN110946739B (en) 2019-12-13 2019-12-13 A kind of auxiliary device for daily exercise in rehabilitation of nerve hemiplegia

Publications (2)

Publication Number Publication Date
CN110946739A true CN110946739A (en) 2020-04-03
CN110946739B CN110946739B (en) 2021-10-29

Family

ID=69981352

Family Applications (1)

Application Number Title Priority Date Filing Date
CN201911280193.XA Expired - Fee Related CN110946739B (en) 2019-12-13 2019-12-13 A kind of auxiliary device for daily exercise in rehabilitation of nerve hemiplegia

Country Status (1)

Country Link
CN (1) CN110946739B (en)

Cited By (2)

* Cited by examiner, † Cited by third party
Publication number Priority date Publication date Assignee Title
CN111513985A (en) * 2020-04-29 2020-08-11 中国人民解放军陆军军医大学第二附属医院 Limb placing and fixing device suitable for hemiplegic patients
CN111544254A (en) * 2020-04-20 2020-08-18 吉林大学 Flexibility to adjust the amount of activity for the upper limb health care device

Citations (20)

* Cited by examiner, † Cited by third party
Publication number Priority date Publication date Assignee Title
US20110251533A1 (en) * 2008-12-16 2011-10-13 Jungsoo Han Wearable robotic system for rehabilitation training of the upper limbs
CN204655458U (en) * 2015-02-10 2015-09-23 东北大学 A kind of scapulohumeral periarthritis medical auxiliary apparatus
US20160081871A1 (en) * 2011-01-18 2016-03-24 Levitate Technologies, Inc. Adaptive arm support systems and methods for use
CN106420260A (en) * 2016-10-10 2017-02-22 邹彤昕 A rehabilitation chair capable of all-round autonomous training of upper limb mobility
CN106901946A (en) * 2016-01-12 2017-06-30 周惠 Rehabilitation training of upper limbs machine
CN107157706A (en) * 2017-05-15 2017-09-15 巢湖学院 A kind of adjustable upper limb device for healing and training
CN107714398A (en) * 2017-11-24 2018-02-23 哈工大机器人(合肥)国际创新研究院 A kind of both arms rehabilitation training robot system
CN108553265A (en) * 2018-03-30 2018-09-21 东南大学 Both upper extremities device for healing and training
CN108744422A (en) * 2018-06-08 2018-11-06 重庆大学 A kind of wearable upper extremity exercise auxiliary device of four-degree-of-freedom of degree of freedom optimization
CN108743230A (en) * 2018-06-19 2018-11-06 武汉理工大学 It is a kind of to stretch the chair type robot assisted device restored for four limbs
US20190001174A1 (en) * 2014-06-04 2019-01-03 T-Rex Investment, Inc. Shoulder End Range of Motion Improving Device
CN109248043A (en) * 2018-08-31 2019-01-22 东莞海特帕沃液压科技有限公司 A kind of upper-limb recovery training device
CN109512637A (en) * 2018-11-12 2019-03-26 上海电机学院 A kind of hemiparalysis recovery training equipment
CN109602577A (en) * 2018-12-04 2019-04-12 雷静 One kind is bionical can the movable arm rehabilitation training device of multi-angle
CN110123582A (en) * 2019-05-31 2019-08-16 北京工业大学 A kind of robot for shoulder blade rehabilitation
CN110123588A (en) * 2019-06-25 2019-08-16 北京石油化工学院 Upper limb healing system
CN209301637U (en) * 2018-08-20 2019-08-27 中国科学院苏州生物医学工程技术研究所 Personalized upper limb rehabilitation training robot
CN209332629U (en) * 2018-03-29 2019-09-03 京东方科技集团股份有限公司 Exoskeleton rehabilitation power assisting device and exoskeleton rehabilitation force aid system
CN110314065A (en) * 2018-03-29 2019-10-11 京东方科技集团股份有限公司 Exoskeleton rehabilitation power assisting device
CN209695662U (en) * 2018-12-20 2019-11-29 李延辉 The multi-functional suitable limb position arranging apparatus of hemiplegic patient

Patent Citations (20)

* Cited by examiner, † Cited by third party
Publication number Priority date Publication date Assignee Title
US20110251533A1 (en) * 2008-12-16 2011-10-13 Jungsoo Han Wearable robotic system for rehabilitation training of the upper limbs
US20160081871A1 (en) * 2011-01-18 2016-03-24 Levitate Technologies, Inc. Adaptive arm support systems and methods for use
US20190001174A1 (en) * 2014-06-04 2019-01-03 T-Rex Investment, Inc. Shoulder End Range of Motion Improving Device
CN204655458U (en) * 2015-02-10 2015-09-23 东北大学 A kind of scapulohumeral periarthritis medical auxiliary apparatus
CN106901946A (en) * 2016-01-12 2017-06-30 周惠 Rehabilitation training of upper limbs machine
CN106420260A (en) * 2016-10-10 2017-02-22 邹彤昕 A rehabilitation chair capable of all-round autonomous training of upper limb mobility
CN107157706A (en) * 2017-05-15 2017-09-15 巢湖学院 A kind of adjustable upper limb device for healing and training
CN107714398A (en) * 2017-11-24 2018-02-23 哈工大机器人(合肥)国际创新研究院 A kind of both arms rehabilitation training robot system
CN110314065A (en) * 2018-03-29 2019-10-11 京东方科技集团股份有限公司 Exoskeleton rehabilitation power assisting device
CN209332629U (en) * 2018-03-29 2019-09-03 京东方科技集团股份有限公司 Exoskeleton rehabilitation power assisting device and exoskeleton rehabilitation force aid system
CN108553265A (en) * 2018-03-30 2018-09-21 东南大学 Both upper extremities device for healing and training
CN108744422A (en) * 2018-06-08 2018-11-06 重庆大学 A kind of wearable upper extremity exercise auxiliary device of four-degree-of-freedom of degree of freedom optimization
CN108743230A (en) * 2018-06-19 2018-11-06 武汉理工大学 It is a kind of to stretch the chair type robot assisted device restored for four limbs
CN209301637U (en) * 2018-08-20 2019-08-27 中国科学院苏州生物医学工程技术研究所 Personalized upper limb rehabilitation training robot
CN109248043A (en) * 2018-08-31 2019-01-22 东莞海特帕沃液压科技有限公司 A kind of upper-limb recovery training device
CN109512637A (en) * 2018-11-12 2019-03-26 上海电机学院 A kind of hemiparalysis recovery training equipment
CN109602577A (en) * 2018-12-04 2019-04-12 雷静 One kind is bionical can the movable arm rehabilitation training device of multi-angle
CN209695662U (en) * 2018-12-20 2019-11-29 李延辉 The multi-functional suitable limb position arranging apparatus of hemiplegic patient
CN110123582A (en) * 2019-05-31 2019-08-16 北京工业大学 A kind of robot for shoulder blade rehabilitation
CN110123588A (en) * 2019-06-25 2019-08-16 北京石油化工学院 Upper limb healing system

Cited By (3)

* Cited by examiner, † Cited by third party
Publication number Priority date Publication date Assignee Title
CN111544254A (en) * 2020-04-20 2020-08-18 吉林大学 Flexibility to adjust the amount of activity for the upper limb health care device
CN111544254B (en) * 2020-04-20 2021-07-02 吉林大学 Flexibility to adjust the amount of activity for the upper limb health care device
CN111513985A (en) * 2020-04-29 2020-08-11 中国人民解放军陆军军医大学第二附属医院 Limb placing and fixing device suitable for hemiplegic patients

Also Published As

Publication number Publication date
CN110946739B (en) 2021-10-29

Similar Documents

Publication Publication Date Title
CN110974611A (en) Rehabilitation equipment helpful for quick postoperative recovery of neurosurgery
CN107374880A (en) Patients with cerebral apoplexy convalescence training bed
CN108815793B (en) Department of neurology patient tempers recovered equipment
CN110946739B (en) A kind of auxiliary device for daily exercise in rehabilitation of nerve hemiplegia
CN108670724A (en) A kind of upper limb training rehabilitation bed
CN109045586A (en) A kind of leg postoperative rehabilitation medical instrument
CN114983763A (en) Training massage device for upper limb rehabilitation of stroke patient
CN111658430A (en) Cerebrovascular intervention treatment device
CN117618195A (en) A walking assistance robot with leg training function
CN114259380A (en) Spine traction stretching device
CN109107039A (en) A kind of EMG feedback and electro photoluminescence assist type recovery training appliance for recovery lower limbs
WO2011019148A2 (en) Handstand exercise machine
CN111166610A (en) Nerve hemiplegia nursing device
CN110037889B (en) Progressive finger intelligent rehabilitation instrument
CN220446457U (en) Power-assisted exoskeleton instrument
CN214808162U (en) Lower limb exercise device for nursing of rehabilitation department
CN214860966U (en) Lower limb exercising device for orthopedic nursing
CN113599176A (en) Knee joint active bending and stretching function exercise robot after artificial total knee joint replacement
CN216258933U (en) Equipment is tempered with waist and legs to recovered branch of academic or vocational study
CN117018550A (en) Sports knee joint rehabilitation training device
CN114948589A (en) Lower limb recovery exercise device for orthopedics clinic
CN211067763U (en) Special treatment chair for psychiatric department
CN114082144A (en) Wearable device for assisting training of Parkinson's disease patient
CN221332670U (en) Ankle joint rehabilitation training device
CN208989560U (en) A human upper limb rehabilitation platform

Legal Events

Date Code Title Description
PB01 Publication
PB01 Publication
SE01 Entry into force of request for substantive examination
SE01 Entry into force of request for substantive examination
GR01 Patent grant
GR01 Patent grant
CF01 Termination of patent right due to non-payment of annual fee

Granted publication date: 20211029

CF01 Termination of patent right due to non-payment of annual fee