CN110917031B - A traditional Chinese medicine decoction brewing device - Google Patents

A traditional Chinese medicine decoction brewing device Download PDF

Info

Publication number
CN110917031B
CN110917031B CN201911247558.9A CN201911247558A CN110917031B CN 110917031 B CN110917031 B CN 110917031B CN 201911247558 A CN201911247558 A CN 201911247558A CN 110917031 B CN110917031 B CN 110917031B
Authority
CN
China
Prior art keywords
box
stirring
traditional chinese
stirring shaft
chinese medicine
Prior art date
Legal status (The legal status is an assumption and is not a legal conclusion. Google has not performed a legal analysis and makes no representation as to the accuracy of the status listed.)
Active
Application number
CN201911247558.9A
Other languages
Chinese (zh)
Other versions
CN110917031A (en
Inventor
汪冶
郑钦方
Current Assignee (The listed assignees may be inaccurate. Google has not performed a legal analysis and makes no representation or warranty as to the accuracy of the list.)
Hunan University
Original Assignee
Huaihua Wulingsan Dong Pharmaceutical Technology Development Co ltd
Priority date (The priority date is an assumption and is not a legal conclusion. Google has not performed a legal analysis and makes no representation as to the accuracy of the date listed.)
Filing date
Publication date
Application filed by Huaihua Wulingsan Dong Pharmaceutical Technology Development Co ltd filed Critical Huaihua Wulingsan Dong Pharmaceutical Technology Development Co ltd
Priority to CN201911247558.9A priority Critical patent/CN110917031B/en
Publication of CN110917031A publication Critical patent/CN110917031A/en
Application granted granted Critical
Publication of CN110917031B publication Critical patent/CN110917031B/en
Active legal-status Critical Current
Anticipated expiration legal-status Critical

Links

Images

Classifications

    • AHUMAN NECESSITIES
    • A61MEDICAL OR VETERINARY SCIENCE; HYGIENE
    • A61JCONTAINERS SPECIALLY ADAPTED FOR MEDICAL OR PHARMACEUTICAL PURPOSES; DEVICES OR METHODS SPECIALLY ADAPTED FOR BRINGING PHARMACEUTICAL PRODUCTS INTO PARTICULAR PHYSICAL OR ADMINISTERING FORMS; DEVICES FOR ADMINISTERING FOOD OR MEDICINES ORALLY; BABY COMFORTERS; DEVICES FOR RECEIVING SPITTLE
    • A61J3/00Devices or methods specially adapted for bringing pharmaceutical products into particular physical or administering forms

Landscapes

  • Health & Medical Sciences (AREA)
  • Chemical & Material Sciences (AREA)
  • Medicinal Chemistry (AREA)
  • Pharmacology & Pharmacy (AREA)
  • Life Sciences & Earth Sciences (AREA)
  • Animal Behavior & Ethology (AREA)
  • General Health & Medical Sciences (AREA)
  • Public Health (AREA)
  • Veterinary Medicine (AREA)
  • Medical Preparation Storing Or Oral Administration Devices (AREA)
  • Accessories For Mixers (AREA)

Abstract

本发明公开了一种中药汤剂熬制装置,包括盒体,所述盒体顶部设置有盒盖,所述盒体内部设置有加温内胆,所述加温内胆内部设置有药材搅拌机构;所述药材搅拌机构包括过滤盒。本发明通过设置有药材搅拌机构,在熬制过程中,可以转动搅拌盘,从而带动搅拌轴转动,而搅拌轴转动,可以带动处于过滤盒内部的搅拌杆转动,通过搅拌杆可以对过滤盒内部的药材进行搅拌翻转,从而提高与加温内胆内部清水的混合效率,当汤剂熬制完成后,可以取出盒盖,过滤盒随之被取出,药渣也被过滤盒带出,便于清理,对比现有技术,既可以对药材进行收纳,又不会使之堆积在一起,影响到熬制汤剂的质量。

Figure 201911247558

The invention discloses a traditional Chinese medicine decoction brewing device, comprising a box body, a box cover is arranged on the top of the box body, a heating inner pot is arranged inside the box body, and a medicinal material stirring is arranged inside the heating inner pot mechanism; the medicinal material stirring mechanism includes a filter box. The present invention is provided with a medicinal material stirring mechanism. During the brewing process, the stirring plate can be rotated to drive the stirring shaft to rotate, and the stirring shaft can rotate to drive the stirring rod inside the filter box to rotate. The medicinal materials are stirred and turned over, so as to improve the mixing efficiency with the water inside the heated inner tank. When the decoction is finished, the lid can be removed, the filter box can be taken out, and the medicinal residues are also taken out by the filter box, which is easy to clean. Compared with the prior art, the medicinal materials can be stored without being piled together, which affects the quality of the boiled decoction.

Figure 201911247558

Description

A Chinese medicinal decoction decocting device
Technical Field
The embodiment of the invention relates to the technical field of traditional Chinese medicine decoction, in particular to a traditional Chinese medicine decoction decocting device.
Background
The traditional Chinese medicine decoction is a liquid preparation obtained by decocting decoction pieces or coarse granules of medicinal materials in water or soaking the decoction pieces or the coarse granules in boiling water and removing residues to obtain juice, is one of the oldest formulations of traditional Chinese medicines, and is also most widely applied in clinical application of traditional Chinese medicines. The decoction can fully meet the requirements of syndrome differentiation treatment of the traditional Chinese medicine and has the characteristics of quick curative effect, easy absorption, strong effect and the like. If the decoction is directly decocted in hot water, the components such as starch and protein on the surface layer of the traditional Chinese medicinal materials can be heated suddenly and gelatinized or solidified, thereby preventing the extraction of the starch and protein and the extraction of other effective components in the traditional Chinese medicinal materials. The right method is that the medicine is soaked in cold boiled water for a period of time (about 30 minutes) and then decocted, thus being beneficial to the infiltration, dissolution and leaching of the active ingredients contained in the traditional Chinese medicine, and the domestic water of the present urban residents is mostly tap water which is not natural water (rain, fog and snow water) or ground water (river, lake and river water) but water subjected to chemical treatment. In order to ensure the disinfection of water, a certain amount of residual chlorine must be left in tap water, and the residual chlorine content is higher in areas with poor water quality.
The prior art has the following defects: the traditional Chinese medicine decoction is generally decocted by placing a medicine pot on a gas stove and the like, and in the decocting process, medicinal materials in the medicine pot can be stacked together, medicinal components cannot be better fused with water, and when the medicine liquid is poured, the medicinal materials can flow out along with the medicine liquid, so that the traditional Chinese medicine decoction is used and is inconvenient.
Disclosure of Invention
Therefore, the embodiment of the invention provides a traditional Chinese medicine decoction decocting device, and the traditional Chinese medicine decoction decocting device is provided with a medicinal material stirring mechanism, wherein in the decocting process, a stirring disc can be rotated, so that a stirring shaft is driven to rotate, the stirring shaft rotates, a stirring rod in a filter box can be driven to rotate, and the medicinal material in the filter box can be stirred and overturned through the stirring rod, so that the mixing efficiency of clear water in a heating inner container is improved, after decoction is decocted, a box cover can be taken out, the filter box is taken out, medicine residues are also taken out by the filter box, the cleaning is convenient, compared with the prior art, the medicinal material can be stored, the medicinal material cannot be piled together, the quality of decoction is influenced, and the problem that the quality of the decoction is low due to the fact that the medicinal material in a medicine pot can be piled together in the prior art is solved.
In order to achieve the above object, the embodiments of the present invention provide the following technical solutions: a traditional Chinese medicine decoction boiling device comprises a box body, wherein a box cover is arranged at the top of the box body, a heating inner container is arranged inside the box body, and a medicinal material stirring mechanism is arranged inside the heating inner container;
the medicinal material stirring mechanism comprises a filtering box, wherein a plurality of filtering holes are uniformly formed in the surface of the filtering box in a penetrating manner, stirring holes are formed in the top of the filtering box in a penetrating manner, a fixing pipe is fixedly arranged in the stirring holes, a stirring shaft is arranged in the fixing pipe and movably connected with the fixing pipe through a bearing, the bottom of the stirring shaft extends into the filtering box, a plurality of stirring rods are uniformly arranged at the bottom of the stirring shaft, a through hole is formed in one side, facing the stirring shaft, of the box cover, the top end of the stirring shaft penetrates through the through hole and extends to the outer side of the box cover, a stirring disc is fixedly arranged at the top of the stirring shaft, an opening is formed in one side of the top of the filtering box, a cover plate is arranged at the top of the opening, one side of the cover plate is hinged with the filtering box, a buckle is arranged between the other side of the cover plate and the filtering box, and a positioning rod is arranged at the bottom of the filtering box, the locating lever and the filtration pore phase-match, locating lever bottom and the inner bag fixed connection that heats.
Furthermore, an anti-leakage plate is arranged on one side of the inner wall of the heating inner container, an extension tube is arranged at the top of the anti-leakage plate, and the extension tube is communicated with the anti-leakage plate.
Further, the cross-sectional shape of the leakage-proof plate is set to be arc-shaped.
Furthermore, an air outlet pipe is arranged on one side of the top of the box cover, the cross section of the air outlet pipe is L-shaped, and an air outlet hole is formed in one side, in contact with the air outlet pipe, of the box cover in a penetrating mode and communicated with the air outlet pipe.
Further, a handle is arranged on one side of the box body, a heat insulation sleeve is arranged on the handle, and the heat insulation sleeve is made of asbestos materials.
Further, a placing groove is formed in the bottom of the inner cavity of the box body, and a heater is arranged inside the placing groove.
Further, the box body bottom is provided with the retainer plate, the inner bag bottom of heating is provided with the fixed slot, retainer plate and fixed slot phase-match.
Furthermore, a limiting ring is arranged at the joint of the box cover and the stirring shaft, and the stirring shaft is movably connected with the limiting ring through a bearing.
The embodiment of the invention has the following advantages:
1. through being provided with medicinal material rabbling mechanism, in the system of stewing, can rotate the agitator disk, thereby drive the (mixing) shaft and rotate, and the (mixing) shaft rotates, can drive the puddler that is in the filter cartridge inside and rotate, can stir the upset through the puddler to the medicinal material in the filter cartridge, thereby improve and heat the mixing efficiency of the interior clear water of inner bag, when the decoction system is finished, can take out the lid, the filter cartridge is taken out thereupon, the dregs of a decoction also are taken out by the filter cartridge, it is convenient to clear up, compare prior art, both can accomodate the medicinal material, can not make it pile up together again, influence the quality of stewing the decoction;
2. through being provided with and preventing leaking board and flexible pipe, when the decoction was poured out to needs, take off the back with the lid, elongate flexible pipe, grasp the handle again, the slope box body, the liquid medicine can flow through flexible pipe, very big has made things convenient for the user to empty the liquid medicine.
Drawings
In order to more clearly illustrate the embodiments of the present invention or the technical solutions in the prior art, the drawings used in the description of the embodiments or the prior art will be briefly described below. It should be apparent that the drawings in the following description are merely exemplary, and that other embodiments can be derived from the drawings provided by those of ordinary skill in the art without inventive effort.
The structures, ratios, sizes, and the like shown in the present specification are only used for matching with the contents disclosed in the specification, so as to be understood and read by those skilled in the art, and are not used to limit the conditions that the present invention can be implemented, so that the present invention has no technical significance, and any structural modifications, changes in the ratio relationship, or adjustments of the sizes, without affecting the effects and the achievable by the present invention, should still fall within the range that the technical contents disclosed in the present invention can cover.
FIG. 1 is a cross-sectional view of the overall structure provided by the present invention;
FIG. 2 is a schematic view of a portion of the structure at A in FIG. 1 according to the present invention;
FIG. 3 is a cross-sectional view of a filter cassette configuration provided by the present invention;
FIG. 4 is a top view of the heating liner structure provided by the present invention;
FIG. 5 is a sectional view of the case of pouring out the liquid medicine;
FIG. 6 is a schematic view of a fixed tube structure provided by the present invention;
FIG. 7 is a schematic view of the overall structure of the apparatus according to the present invention;
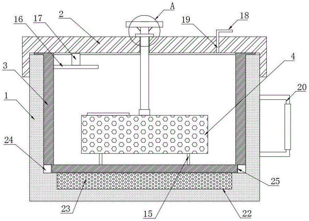
in the figure: the heating box comprises a box body 1, a box cover 2, a heating inner container 3, a filtering box 4, a filtering hole 5, a stirring hole 6, a fixing pipe 7, a stirring shaft 8, a stirring rod 9, a perforation 10, a stirring disc 11, an opening 12, a cover plate 13, a buckle 14, a positioning rod 15, a leakage-proof plate 16, a telescopic pipe 17, an air outlet pipe 18, an air outlet hole 19, a handle 20, a heat-insulating sleeve 21, a placing groove 22, a heater 23, a fixing ring 24, a fixing groove 25 and a limiting ring 26.
Detailed Description
The present invention is described in terms of particular embodiments, other advantages and features of the invention will become apparent to those skilled in the art from the following disclosure, and it is to be understood that the described embodiments are merely exemplary of the invention and that it is not intended to limit the invention to the particular embodiments disclosed. All other embodiments, which can be derived by a person skilled in the art from the embodiments given herein without making any creative effort, shall fall within the protection scope of the present invention.
Referring to the attached figures 1-7 of the specification, the traditional Chinese medicine decoction decocting device of the embodiment comprises a box body 1, wherein a box cover 2 is arranged at the top of the box body 1, a heating inner container 3 is arranged inside the box body 1, and a medicinal material stirring mechanism is arranged inside the heating inner container 3;
the medicinal material stirring mechanism comprises a filtering box 4, a plurality of filtering holes 5 are uniformly arranged on the surface of the filtering box 4 in a penetrating manner, stirring holes 6 are arranged on the top of the filtering box 4 in a penetrating manner, a fixed pipe 7 is fixedly arranged in the stirring holes 6, a stirring shaft 8 is arranged in the fixed pipe 7, the stirring shaft 8 is movably connected with the fixed pipe 7 through a bearing, the bottom of the stirring shaft 8 extends into the filtering box 4, a plurality of stirring rods 9 are uniformly arranged at the bottom of the stirring shaft 8, a through hole 10 is arranged at one side of the box cover 2 facing the stirring shaft 8, the top end of the stirring shaft 8 penetrates through the through hole 10 and extends to the outer side of the box cover 2, a stirring disc 11 is fixedly arranged at the top of the stirring shaft 8, an opening 12 is arranged at one side of the top of the filtering box 4, a cover plate 13 is arranged at the top of the opening 12, one side of the cover plate 13 is hinged with the filtering box 4, and a buckle 14 is arranged between the other side of the cover plate 13 and the filtering box 4, the bottom of the filter box 4 is provided with a positioning rod 15, the positioning rod 15 is matched with the filter hole 5, and the bottom of the positioning rod 15 is fixedly connected with the heating inner container 3.
The implementation scenario is specifically as follows: when the traditional Chinese medicine decoction pot is used, when traditional Chinese medicine decoction needs to be decocted, the cover plate 13 is opened, traditional Chinese medicine materials are poured into the filter box 4, the cover plate 13 is covered and fixed through the buckle 14, clear water is poured into the heating inner container 3, the box cover 2 is covered, the filter box 4 can stay in the heating inner container 3, the filter holes 5 in the filter box 4 can enable the clear water to be in contact with the traditional Chinese medicine materials, the positioning rods 15 in the heating inner container 3 can be inserted into the filter holes 5 in the filter box 4 to fix the filter box 4, the heating inner container 3 is heated through the heater 23, so that decoction is decocted, the stirring shaft 11 can be rotated in the decocting process, so that the stirring shaft 8 is driven to rotate, the reinforcing pipe 7 is arranged, the firmness between the stirring shaft 8 and the filter box 4 can be improved, the stirring shaft 8 rotates, the stirring shaft 9 in the filter box 4 can be driven to rotate, can stir the upset to the inside medicinal material of filter cartridge 4 through puddler 9 to improve and heat the mixing efficiency of the inside clear water of inner bag 3, when the decoction system accomplish the back, can take out lid 2, filter cartridge 4 is taken out thereupon, and the dregs of a decoction also is taken out by filter cartridge 4, the clearance of being convenient for, this embodiment has specifically solved exist among the prior art when system traditional chinese medicine decoction, and the medicinal material is piled up together, and neither convenient handling stews the not good problem of effect yet.
Referring to the attached drawings 4-7 of the specification, in the device for decocting the traditional Chinese medicine decoction according to the embodiment, a leakage-proof plate 16 is arranged on one side of the inner wall of the heating inner container 3, an extension tube 17 is arranged at the top of the leakage-proof plate 16, the extension tube 17 is communicated with the leakage-proof plate 16, and the leakage-proof plate 16 can prevent the liquid medicine from directly flowing out from the side edge of the heating inner container 3, so that a user can pour the liquid medicine conveniently.
Further, the cross-sectional shape of the leakage preventing plate 16 is set to be arc-shaped.
Furthermore, an air outlet pipe 18 is arranged on one side of the top of the box cover 2, the cross section of the air outlet pipe 18 is L-shaped, an air outlet hole 19 penetrates through one side of the box cover 2, which is in contact with the air outlet pipe 18, and the air outlet hole 19 is communicated with the air outlet pipe 18.
Further, a handle 20 is arranged on one side of the box body 1, a heat insulation sleeve 21 is arranged on the handle 20, the heat insulation sleeve 21 is made of asbestos materials, and the arrangement of the heat insulation sleeve 21 can prevent a user from touching the box body 1 and being scalded when the user pours the liquid medicine, so that the practicability of the device is effectively improved.
Further, a placing groove 22 is arranged at the bottom of the inner cavity of the box body 1, and a heater 23 is arranged inside the placing groove 22.
Further, 1 bottom of box body is provided with retainer plate 24, 3 bottoms of inner bag of heating are provided with fixed slot 25, retainer plate 24 and fixed slot 25 phase-match through the cooperation of retainer plate 24 with fixed slot 25, can improve the stability of inner bag 3 in 1 inside of box body of heating.
Furthermore, a limiting ring 26 is arranged at the joint of the box cover 2 and the stirring shaft 8, and the stirring shaft 8 is movably connected with the limiting ring 26 through a bearing.
The implementation scenario is specifically as follows: when the steam box is used, when liquid in the box body 1 is boiled, steam can be generated and flows out through the air outlet pipe 18, the section of the air outlet pipe 18 is L-shaped, the flowing track of the steam can be changed, the steam can be prevented from flowing out to scald a user, when decoction needs to be poured out, the box cover 2 is taken down, the telescopic pipe 17 is lengthened, the handle 20 is grasped, the box body 1 is inclined, the leakage-proof plate 16 can prevent the liquid medicine from flowing out from the side edge of the heating inner container 3 directly, the liquid medicine can flow out through the telescopic pipe 17, great convenience is brought to the user to pour the liquid medicine, the heat insulation sleeve 21 on the handle 20 can prevent the user from touching the box body 1 to be scalded when the liquid medicine is poured out, and the practicability of the steam box is effectively improved.
The working principle is as follows:
referring to the attached drawings 1-7 of the specification, when the traditional Chinese medicine decoction is required to be decocted, the cover plate 13 is opened, the traditional Chinese medicine materials are poured into the filter box 4, the cover plate 13 is covered and fixed through the buckle 14, clear water is poured into the heating inner container 3, the box cover 2 is covered, the filter box 4 can stay in the heating inner container 3, the positioning rod 15 in the heating inner container 3 can be inserted into the filter hole 5 in the filter box 4 to fix the filter box 4, the heating inner container 3 is heated through the heater 23, so that the decoction is decocted, in the decocting process, the stirring disc 11 can be rotated to drive the stirring shaft 8 to rotate, the stirring shaft 8 can rotate to drive the stirring rod 9 in the filter box 4 to rotate, the medicinal materials in the filter box 4 can be stirred and overturned through the stirring rod 9, so that the mixing efficiency of the clear water in the heating inner container 3 is improved, after decoction is finished, the box cover 2 can be taken out, the filter box 4 is taken out, and medicine dregs are also taken out by the filter box 4.
Referring to the attached drawings 4-7 in the specification, when the soup pouring box is used, when liquid in the box body 1 is boiled, steam can be generated and flows out through the air outlet pipe 18, the cross section of the air outlet pipe 18 is L-shaped, the flowing track of the steam can be changed, scalding of a user due to the flowing of the steam is prevented, when the soup needs to be poured out, the box cover 2 is taken down, the telescopic pipe 17 is lengthened, the handle 20 is grasped, the box body 1 is inclined, and the soup can flow out through the telescopic pipe 17.
Although the invention has been described in detail above with reference to a general description and specific examples, it will be apparent to one skilled in the art that modifications or improvements may be made thereto based on the invention. Accordingly, such modifications and improvements are intended to be within the scope of the invention as claimed.

Claims (7)

1.一种中药汤剂熬制装置,包括盒体(1),其特征在于:所述盒体(1)顶部设置有盒盖(2),所述盒体(1)内部设置有加温内胆(3),所述加温内胆(3)内部设置有药材搅拌机构;1. A traditional Chinese medicine decoction brewing device, comprising a box body (1), characterized in that: the top of the box body (1) is provided with a box cover (2), and the box body (1) is internally provided with a heating An inner container (3), wherein a medicinal material stirring mechanism is arranged inside the heating inner container (3); 所述药材搅拌机构包括过滤盒(4),所述过滤盒(4)表面均匀贯穿设置有多个过滤孔(5),所述过滤盒(4)顶部贯穿设置有搅拌孔(6),所述搅拌孔(6)内部固定设置有固定管(7),所述固定管(7)内部设置有搅拌轴(8),所述搅拌轴(8)通过轴承与固定管(7)活动连接,所述搅拌轴(8)底部延伸至过滤盒(4)内部,所述搅拌轴(8)底部均匀设置有多个搅拌杆(9),所述盒盖(2)面向搅拌轴(8)的一侧设置有穿孔(10),所述搅拌轴(8)顶端贯穿穿孔(10)并延伸至盒盖(2)外侧,所述搅拌轴(8)顶部固定设置有搅拌盘(11),所述过滤盒(4)顶部一侧开设有开口(12),所述开口(12)顶部设置有盖板(13),所述盖板(13)一侧与过滤盒(4)铰接,所述盖板(13)另一侧与过滤盒(4)之间设置有卡扣(14),所述过滤盒(4)底部设置有定位杆(15),所述定位杆(15)与过滤孔(5)相匹配,所述定位杆(15)底部与加温内胆(3)固定连接;所述加温内胆(3)内壁一侧设置有防泄板(16),所述防泄板(16)顶部设置有伸缩管(17),所述伸缩管(17)与防泄板(16)相通。The medicinal material stirring mechanism comprises a filter box (4), a plurality of filter holes (5) are evenly arranged on the surface of the filter box (4), and stirring holes (6) are arranged through the top of the filter box (4), so the A fixing tube (7) is fixedly arranged inside the stirring hole (6), a stirring shaft (8) is arranged inside the fixing tube (7), and the stirring shaft (8) is movably connected with the fixing tube (7) through a bearing, The bottom of the stirring shaft (8) extends to the inside of the filter box (4), a plurality of stirring rods (9) are evenly arranged at the bottom of the stirring shaft (8), and the box cover (2) faces the side of the stirring shaft (8). A perforation (10) is provided on one side, the top of the stirring shaft (8) penetrates the perforation (10) and extends to the outside of the box cover (2), and a stirring plate (11) is fixed on the top of the stirring shaft (8). One side of the top of the filter box (4) is provided with an opening (12), the top of the opening (12) is provided with a cover plate (13), and one side of the cover plate (13) is hinged to the filter box (4), the A buckle (14) is arranged between the other side of the cover plate (13) and the filter box (4), a positioning rod (15) is arranged at the bottom of the filter box (4), and the positioning rod (15) is connected to the filter hole (5) Matching, the bottom of the positioning rod (15) is fixedly connected with the heating inner pot (3); an anti-leakage plate (16) is provided on one side of the inner wall of the heating inner pot (3). A telescopic tube (17) is arranged on the top of the plate (16), and the telescopic tube (17) communicates with the anti-leakage plate (16). 2.根据权利要求1所述的一种中药汤剂熬制装置,其特征在于:所述防泄板(16)截面形状设置为弧形。2 . The device for brewing traditional Chinese medicine decoction according to claim 1 , wherein the cross-sectional shape of the anti-leakage plate ( 16 ) is set as an arc. 3 . 3.根据权利要求1所述的一种中药汤剂熬制装置,其特征在于:所述盒盖(2)顶部一侧设置有出气管(18),所述出气管(18)截面形状设置为L形,所述盒盖(2)与出气管(18)相接触的一侧贯穿设置有出气孔(19),所述出气孔(19)与出气管(18)相通。3. A device for brewing traditional Chinese medicine decoction according to claim 1, characterized in that: an air outlet pipe (18) is provided on one side of the top of the box cover (2), and the cross-sectional shape of the air outlet pipe (18) is set It is L-shaped, and the side of the box cover (2) in contact with the air outlet pipe (18) is provided with an air outlet hole (19), and the air outlet hole (19) communicates with the air outlet pipe (18). 4.根据权利要求1所述的一种中药汤剂熬制装置,其特征在于:所述盒体(1)一侧设置有把手(20),所述把手(20)上设置有隔热套(21),所述隔热套(21)由石棉材料制成。4. A traditional Chinese medicine decoction brewing device according to claim 1, characterized in that: a handle (20) is provided on one side of the box body (1), and a heat insulating cover is provided on the handle (20). (21), the heat insulating cover (21) is made of asbestos material. 5.根据权利要求1所述的一种中药汤剂熬制装置,其特征在于:所述盒体(1)内腔底部设置有放置槽(22),所述放置槽(22)内部设置有加热器(23)。5. A traditional Chinese medicine decoction brewing device according to claim 1, characterized in that: a placement groove (22) is provided at the bottom of the inner cavity of the box body (1), and a placement groove (22) is provided inside the placement groove (22). heater (23). 6.根据权利要求1所述的一种中药汤剂熬制装置,其特征在于:所述盒体(1)底部设置有固定圈(24),所述加温内胆(3)底部设置有固定槽(25),所述固定圈(24)与固定槽(25)相匹配。6. A traditional Chinese medicine decoction brewing device according to claim 1, characterized in that: the bottom of the box body (1) is provided with a fixing ring (24), and the bottom of the heating inner pot (3) is provided with a A fixing groove (25), the fixing ring (24) is matched with the fixing groove (25). 7.根据权利要求1所述的一种中药汤剂熬制装置,其特征在于:所述盒盖(2)与搅拌轴(8)的连接处设置有限位圈(26),所述搅拌轴(8)通过轴承与限位圈(26)活动连接。7. A traditional Chinese medicine decoction brewing device according to claim 1, characterized in that: a limit ring (26) is provided at the connection of the box cover (2) and the stirring shaft (8), and the stirring shaft (8) It is movably connected with the limit ring (26) through the bearing.
CN201911247558.9A 2019-12-09 2019-12-09 A traditional Chinese medicine decoction brewing device Active CN110917031B (en)

Priority Applications (1)

Application Number Priority Date Filing Date Title
CN201911247558.9A CN110917031B (en) 2019-12-09 2019-12-09 A traditional Chinese medicine decoction brewing device

Applications Claiming Priority (1)

Application Number Priority Date Filing Date Title
CN201911247558.9A CN110917031B (en) 2019-12-09 2019-12-09 A traditional Chinese medicine decoction brewing device

Publications (2)

Publication Number Publication Date
CN110917031A CN110917031A (en) 2020-03-27
CN110917031B true CN110917031B (en) 2022-02-11

Family

ID=69857444

Family Applications (1)

Application Number Title Priority Date Filing Date
CN201911247558.9A Active CN110917031B (en) 2019-12-09 2019-12-09 A traditional Chinese medicine decoction brewing device

Country Status (1)

Country Link
CN (1) CN110917031B (en)

Families Citing this family (1)

* Cited by examiner, † Cited by third party
Publication number Priority date Publication date Assignee Title
CN112293780A (en) * 2020-10-30 2021-02-02 湖南知味大师食品有限公司 Bittern stewing device for sauced meat

Citations (7)

* Cited by examiner, † Cited by third party
Publication number Priority date Publication date Assignee Title
US4583681A (en) * 1984-09-10 1986-04-22 Purex Corporation Extensible handle carton with leakage preventing flap structure
CN103271825A (en) * 2013-06-04 2013-09-04 韩德祯 Medicinal herb decoction pot
CN106359688A (en) * 2016-11-14 2017-02-01 湖南胡家园茶业有限公司 Energy saving and environmentally friendly tea processing machine
CN206572007U (en) * 2017-03-08 2017-10-20 浙江兴伟阀门制造有限公司 Integral type Leakproof spherical valve
CN206700407U (en) * 2016-12-06 2017-12-05 费兴梅 A kind of new medicine decocting tank for being easy to decoction and the dregs of a decoction to separate
CN208448148U (en) * 2017-12-23 2019-02-01 天津市爱优医科技有限公司 A kind of Chinese medicinal herb decocting device
CN110420121A (en) * 2019-08-11 2019-11-08 厦门医学院 A kind of decocting device based on Chinese materia medica preparation processing

Patent Citations (7)

* Cited by examiner, † Cited by third party
Publication number Priority date Publication date Assignee Title
US4583681A (en) * 1984-09-10 1986-04-22 Purex Corporation Extensible handle carton with leakage preventing flap structure
CN103271825A (en) * 2013-06-04 2013-09-04 韩德祯 Medicinal herb decoction pot
CN106359688A (en) * 2016-11-14 2017-02-01 湖南胡家园茶业有限公司 Energy saving and environmentally friendly tea processing machine
CN206700407U (en) * 2016-12-06 2017-12-05 费兴梅 A kind of new medicine decocting tank for being easy to decoction and the dregs of a decoction to separate
CN206572007U (en) * 2017-03-08 2017-10-20 浙江兴伟阀门制造有限公司 Integral type Leakproof spherical valve
CN208448148U (en) * 2017-12-23 2019-02-01 天津市爱优医科技有限公司 A kind of Chinese medicinal herb decocting device
CN110420121A (en) * 2019-08-11 2019-11-08 厦门医学院 A kind of decocting device based on Chinese materia medica preparation processing

Also Published As

Publication number Publication date
CN110917031A (en) 2020-03-27

Similar Documents

Publication Publication Date Title
JP2000024088A (en) Chinese medicine decoction machine
CN110917031B (en) A traditional Chinese medicine decoction brewing device
CN101836818B (en) Heating container
CN107260544A (en) Energy automatic turning falls the full-automatic traditional Chinese medicine boiling machine of medicine
JPH11299862A (en) Chinese medicine decoction pot
CN206777534U (en) A kind of traditional Chinese herbal decoction boils equipment
CN107898315B (en) A traditional Chinese medicine conditioning medicinal tea brewing device and method
CN111728869A (en) Tilting-type chinese-medicinal material boiling pan
CN209611759U (en) A new type of high-efficiency separation and boiling pot for traditional Chinese medicine dregs
CN204411295U (en) A kind of Domestic Chinese medicine automatic boiling device
CN204233446U (en) Portable medication reagent agitating heater
CN201353101Y (en) tea brewing machine
CN209286185U (en) A kind of traditional Chinese medicine extracting machine
CN208785301U (en) It is medical without fiery decoction vessel in one kind
CN109223557A (en) A kind of multi-function vessel for decoction of traditional Chinese medicine
CN205569810U (en) High -efficiency traditional chinese medicine extraction device
CN211675403U (en) Decocting device for Chinese herbal pieces
CN214594016U (en) Stock emulsifying and boiling device
CN204635817U (en) A kind of multifunctional sphere teapot
CN216536147U (en) Chinese herbal medicine decocting device
CN215022420U (en) Traditional chinese medicine decocte device for hospital
CN215424151U (en) Portable health preserving traditional chinese medicine tea drink preparation equipment
CN216318894U (en) Traditional Chinese medicine decocting device with filtering function
CN221904827U (en) Chinese herbal medicine decocting equipment
CN103705381B (en) Multipurpose traditional Chinese medicine decocting kettle

Legal Events

Date Code Title Description
PB01 Publication
PB01 Publication
SE01 Entry into force of request for substantive examination
SE01 Entry into force of request for substantive examination
GR01 Patent grant
GR01 Patent grant
TR01 Transfer of patent right

Effective date of registration: 20220830

Address after: 418099 no.492, Jinxi South Road, Huaihua City, Hunan Province

Patentee after: HUNAN University OF MEDICINE

Address before: 418000 19th floor, entrepreneurship and innovation building, high tech Zone, Huaihua City, Hunan Province

Patentee before: HUAIHUA WULINGSAN DONG PHARMACEUTICAL TECHNOLOGY DEVELOPMENT Co.,Ltd.

TR01 Transfer of patent right