CN110898732A - Dedicated high-efficient mixing arrangement of vegetable oil - Google Patents

Dedicated high-efficient mixing arrangement of vegetable oil Download PDF

Info

Publication number
CN110898732A
CN110898732A CN201911258556.XA CN201911258556A CN110898732A CN 110898732 A CN110898732 A CN 110898732A CN 201911258556 A CN201911258556 A CN 201911258556A CN 110898732 A CN110898732 A CN 110898732A
Authority
CN
China
Prior art keywords
fixedly connected
working
vegetable oil
gear
stirring
Prior art date
Legal status (The legal status is an assumption and is not a legal conclusion. Google has not performed a legal analysis and makes no representation as to the accuracy of the status listed.)
Pending
Application number
CN201911258556.XA
Other languages
Chinese (zh)
Inventor
马宁
Current Assignee (The listed assignees may be inaccurate. Google has not performed a legal analysis and makes no representation or warranty as to the accuracy of the list.)
Anqing Hengyu Oil And Fat Co Ltd
Original Assignee
Anqing Hengyu Oil And Fat Co Ltd
Priority date (The priority date is an assumption and is not a legal conclusion. Google has not performed a legal analysis and makes no representation as to the accuracy of the date listed.)
Filing date
Publication date
Application filed by Anqing Hengyu Oil And Fat Co Ltd filed Critical Anqing Hengyu Oil And Fat Co Ltd
Priority to CN201911258556.XA priority Critical patent/CN110898732A/en
Publication of CN110898732A publication Critical patent/CN110898732A/en
Pending legal-status Critical Current

Links

Images

Classifications

    • BPERFORMING OPERATIONS; TRANSPORTING
    • B01PHYSICAL OR CHEMICAL PROCESSES OR APPARATUS IN GENERAL
    • B01FMIXING, e.g. DISSOLVING, EMULSIFYING OR DISPERSING
    • B01F31/00Mixers with shaking, oscillating, or vibrating mechanisms
    • BPERFORMING OPERATIONS; TRANSPORTING
    • B01PHYSICAL OR CHEMICAL PROCESSES OR APPARATUS IN GENERAL
    • B01FMIXING, e.g. DISSOLVING, EMULSIFYING OR DISPERSING
    • B01F2101/00Mixing characterised by the nature of the mixed materials or by the application field
    • B01F2101/40Mixing of ingredients for oils, fats or waxes

Landscapes

  • Chemical & Material Sciences (AREA)
  • Chemical Kinetics & Catalysis (AREA)
  • Mixers Of The Rotary Stirring Type (AREA)

Abstract

本发明公开了一种植物油专用的高效混合装置,包括搅拌设备和螺旋杆,所述搅拌设备上端固定连接有密封板,且密封板上端与动力箱固定连接,同时动力箱内部固定安装有工作盘,并且工作盘外侧固定连接有安装轴承,安装轴承外侧与固定板固定连接,工作盘上端固定连接有轴杆,且轴杆上端通过轴承与动力箱内壁固定连接,同时轴杆上固定安装有从动齿轮,搅拌电机通过机座固定安装在动力箱内部;搅拌设备的两侧均安装有进料口。该植物油专用的高效混合装置,具有工作盘通过其内部的内齿条和扇形齿轮,带动螺旋杆进行循环的往复转动,保证搅拌叶片对搅拌设备内部的植物油进行充分搅拌混合工作的特点。

Figure 201911258556

The invention discloses a special high-efficiency mixing device for vegetable oil, comprising a stirring device and a screw rod. A sealing plate is fixedly connected to the upper end of the stirring device, and the upper end of the sealing plate is fixedly connected to a power box, and a working plate is fixedly installed inside the power box. , and the outer side of the working plate is fixedly connected with a mounting bearing, the outer side of the mounting bearing is fixedly connected with the fixing plate, the upper end of the working plate is fixedly connected with a shaft, and the upper end of the shaft is fixedly connected with the inner wall of the power box through the bearing, and the shaft is fixedly installed. The stirring motor is fixedly installed inside the power box through the base; the two sides of the stirring equipment are equipped with feeding ports. The special high-efficiency mixing device for vegetable oil has the characteristics that the working plate drives the screw rod to reciprocate cyclically through its internal rack and sector gear, so as to ensure that the mixing blade can fully stir and mix the vegetable oil inside the mixing equipment.

Figure 201911258556

Description

Dedicated high-efficient mixing arrangement of vegetable oil
Technical Field
The invention relates to the field of fine chemical production, in particular to a special efficient mixing device for vegetable oil.
Background
In the vegetable oil industry, unrefined vegetable oil and fat obtained by squeezing and leaching is called vegetable crude oil (crude oil) which comprises soybean oil, sunflower seed oil, palm oil and coconut oil and is used for further processing and refining; the components of different batches of vegetable crude oil have slight differences, and the crude oil is layered due to long-time standing in the process of storage or transportation, so that the fine processing at the later stage is not facilitated; therefore, crude oil needs to be mixed and homogenized before entering a processing stage, the existing mixing and homogenizing method is to pour multiple tanks of crude oil of different batches into a large container, a stirrer and a heater are arranged in the container, and the mixture is slowly stirred and mixed, because the oil quantity is large (one barrel of crude oil is 30 tons, and multiple barrels are mixed, generally more than 200 tons), about 4 hours are needed to complete the mixing for ensuring the uniform stirring, and in order to prevent the grease from being cooled and solidified, heating is also needed in the stirring process, the energy consumption is large, the volume of the mixing equipment is large, the cleaning and maintenance are difficult, and the real-time production operation is difficult to ensure; in order to solve the above problems, the prior art discloses (application number: CN201721741903.0) a plunger type plant oil mixing and homogenizing device, wherein "the stirring device 2 stirs and mixes the oil in the oil storage tank 1, wherein the screw rod 22 drives the upper and lower oil layers to mix, the stirring blade 23 drives the surrounding oil layers to mix," the stirring device 2 only mixes a plurality of oils through the stirring blade 23 inside, the mixing effect is not good, the mixing time is longer, the load of the stirring motor 21 is increased, and the mixing efficiency is low.
In order to solve the disadvantages existing in the current market, the technology of improving the vegetable oil mixing device is urgently needed.
Disclosure of Invention
The invention solves the technical problem of overcoming the defects in the background art and provides a special efficient mixing device for vegetable oil. The working disc, the inner rack and the fan-shaped gear are characterized in that the working disc drives the screw rod to rotate in a reciprocating mode through the inner rack and the fan-shaped gear inside the working disc, and the stirring blades are guaranteed to fully stir and mix vegetable oil inside the stirring equipment.
In order to achieve the purpose, the invention provides the following technical scheme: a special efficient mixing device for vegetable oil comprises stirring equipment and a spiral rod, wherein a sealing plate is fixedly connected to the upper end of the stirring equipment, the upper end of the sealing plate is fixedly connected with a power box, a working disc is fixedly mounted inside the power box, a mounting bearing is fixedly connected to the outer side of the working disc, the outer side of the mounting bearing is fixedly connected with a fixing plate, a shaft lever is fixedly connected to the upper end of the working disc, the upper end of the shaft lever is fixedly connected with the inner wall of the power box through a bearing, a driven gear is fixedly mounted on the shaft lever, and a stirring motor is fixedly mounted inside the power box through; the two sides of the stirring device are both provided with feed inlets;
fixed mounting has stirring vane on the hob, and stirring vane's upper end passes closing plate and work gear fixed connection through the bearing, and the agitated vessel outside has been seted up and has been pressed from both sides the cover, and agitated vessel bottom fixed mounting has the base.
Preferably, the power box is internally and fixedly provided with a fixed plate, and the fixed plate, the internal rack and the working disc are of concentric circle structures.
Preferably, the outer side of the working disc is fixedly connected with the fixing plate through a mounting bearing, and the working disc, the driven gear and the sector gear are of concentric circle structures.
Preferably, the inner rack is fixedly installed inside the working disk, and the inner rack is distributed on the upper half part of the inner side of the working disk.
Preferably, the inner rack on the working disk is matched with the working gear in size, and the inner rack is meshed with the working gear.
Preferably, the installation body of rod is put fixed mounting in the inside central point of working disc, and fixed mounting has sector gear on the installation body of rod, sector gear and working gear's size looks adaptation, and sector gear meshes with working gear mutually simultaneously.
Preferably, the rotor of the stirring motor is fixedly connected with the worm through a coupler, the worm is matched with the driven gear in size, and the worm is meshed with the driven gear.
Preferably, the hob and the working gear are coaxially arranged, the hob is fixedly connected with the stirring equipment through two groups of limiting plates, and the stirring blades are uniformly arranged into four groups along the circumferential position of the hob.
Compared with the prior art, the invention has the beneficial effects that:
1. the working disc drives the screw rod to circularly rotate back and forth through the inner rack and the sector gear in the working disc, so that the stirring blades can fully stir and mix the vegetable oil in the stirring equipment; the working time of the stirring motor is reduced;
2. the hob passes through limiting plate fixed mounting inside agitated vessel, guarantees the hob stability at the during operation time, and the operation of discharging is carried out to the outlet pipe of the vegetable oil accessible agitated vessel bottom that mixes.
Drawings
FIG. 1 is a schematic front view of the structure of the present invention;
FIG. 2 is a schematic view of the internal structure of the working plate according to the present invention;
FIG. 3 is a side view of a structural workdisk of the present invention;
FIG. 4 is a top view of the structural power box of the present invention;
FIG. 5 is a schematic cross-sectional view of the structure A-A of the present invention.
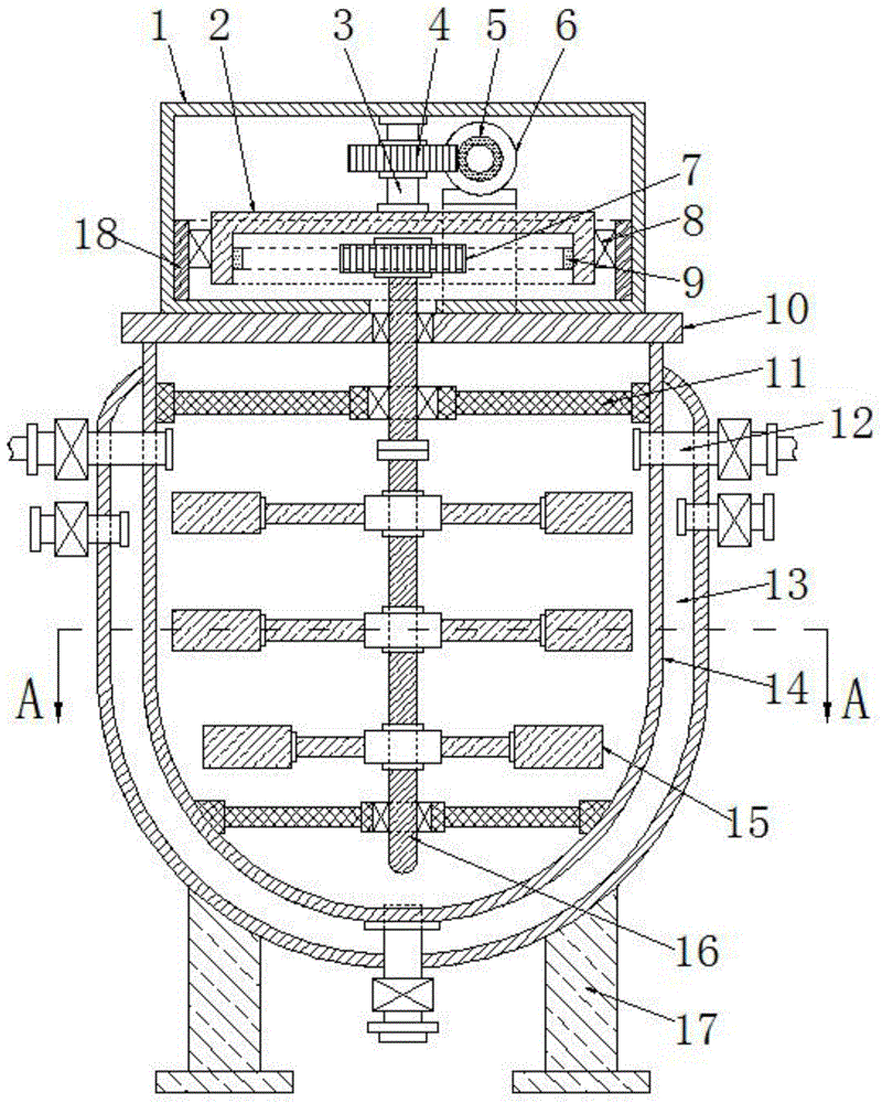
Reference numbers in the figures: 1. a power box; 2. a working plate; 3. a shaft lever; 4. a driven gear; 5. a worm; 6. a stirring motor; 7. a working gear; 8. mounting a bearing; 9. an inner rack; 10. a sealing plate; 11. a limiting plate; 12. a feed inlet; 13. a jacket; 14. a stirring device; 15. a stirring blade; 16. a screw rod; 17. a base; 18. a fixing plate; 19. a sector gear; 20. and (5) installing the rod body.
Detailed Description
The technical solutions in the embodiments of the present invention will be clearly and completely described below with reference to the drawings in the embodiments of the present invention, and it is obvious that the described embodiments are only a part of the embodiments of the present invention, and not all of the embodiments. All other embodiments, which can be derived by a person skilled in the art from the embodiments given herein without making any creative effort, shall fall within the protection scope of the present invention.
Referring to fig. 1-5, the present invention provides a technical solution: a special efficient mixing device for vegetable oil comprises a stirring device 14 and a spiral rod 16, wherein the upper end of the stirring device 14 is fixedly connected with a sealing plate 10, the upper end of the sealing plate 10 is fixedly connected with a power box 1, a working disc 2 is fixedly arranged in the power box 1, a mounting bearing 8 is fixedly connected to the outer side of the working disc 2, a fixing plate 18 is fixedly arranged in the power box 1, and the fixing plate 18, an inner rack 9 and the working disc 2 are of concentric circle structures; the outer side of the mounting bearing 8 is fixedly connected with a fixing plate 18, the upper end of the working disk 2 is fixedly connected with a shaft lever 3, the upper end of the shaft lever 3 is fixedly connected with the inner wall of the power box 1 through a bearing, a driven gear 4 is fixedly mounted on the shaft lever 3, the outer side of the working disk 2 is fixedly connected with the fixing plate 18 through the mounting bearing 8, and the working disk 2, the driven gear 4 and the sector gear 19 are of concentric circle structures; an inner rack 9 is fixedly arranged in the working disk 2, and the inner rack 9 is distributed on the upper half part of the inner side of the working disk 2; the inner rack 9 on the working disk 2 is matched with the working gear 7 in size, and meanwhile, the inner rack 9 is meshed with the working gear 7; the stirring motor 6 is fixedly arranged in the power box 1 through the base; a mounting rod body 20 is fixedly mounted at the central position inside the working disc 2, a sector gear 19 is fixedly mounted on the mounting rod body 20, the sector gear 19 is matched with the working gear 7 in size, and meanwhile, the sector gear 19 is meshed with the working gear 7; the two sides of the stirring device 14 are provided with feed inlets 12; a rotor of the stirring motor 6 is fixedly connected with the worm 5 through a coupler, the worm 5 is matched with the driven gear 4 in size, and meanwhile, the worm 5 is meshed with the driven gear 4; a stirring blade 15 is fixedly arranged on the screw rod 16, the upper end of the stirring blade 15 penetrates through the sealing plate 10 through a bearing to be fixedly connected with the working gear 7, a jacket 13 is arranged on the outer side of the stirring device 14, and a base 17 is fixedly arranged at the bottom of the stirring device 14; the screw rods 16 and the working gear 7 are coaxially arranged, the screw rods 16 are fixedly connected in the stirring equipment 14 through two groups of limiting plates 11, and the stirring blades 15 are uniformly arranged into four groups along the circumferential position of the screw rods 16;
as shown in fig. 1-3: the working disc 2 drives the screw rod 16 to circularly rotate back and forth through the internal rack 9 and the sector gear 19 in the working disc, the screw rod 16 rotates clockwise and also rotates anticlockwise, the stirring blades 15 are ensured to fully stir and mix the vegetable oil in the stirring equipment 14, the mixing effect of the stirring equipment 14 is ensured, and the working time of the stirring motor 6 is reduced;
the hob 16 passes through limiting plate 11 fixed mounting inside agitated vessel 14, guarantees hob 16 stability at the during operation time, and the operation of discharging is carried out to the outlet pipe of the good vegetable oil accessible agitated vessel 14 bottom of mixing.
When using this dedicated high-efficient mixing arrangement of vegetable oil, add agitated vessel 14 insidely through feed inlet 12 with the vegetable oil of multiple difference, open agitator motor 6's switch, agitator motor 6's rotor passes through worm 5 and drives driven gear 4 and rotate, driven gear 4 drives working disc 2 and rotates, when 2 inside internal tooth strips 9 of working disc and working gear 7 engaged with, working gear 7 drives 16 anticlockwise rotations of hob, carry out stirring to the vegetable oil of agitated vessel 14 insidely, when sector gear 19 and working gear 7 engaged with, working gear 7 drives 16 clockwise rotations of hob, carry out stirring to the vegetable oil of agitated vessel 14 insidely, this is exactly the whole process of this dedicated high-efficient mixing arrangement work of vegetable oil.
Although embodiments of the present invention have been shown and described, it will be appreciated by those skilled in the art that changes, modifications, substitutions and alterations can be made in these embodiments without departing from the principles and spirit of the invention, the scope of which is defined in the appended claims and their equivalents.

Claims (8)

1.一种植物油专用的高效混合装置,包括搅拌设备(14)和螺旋杆(16),其特征在于:所述搅拌设备(14)上端固定连接有密封板(10),且密封板(10)上端与动力箱(1)固定连接,同时动力箱(1)内部固定安装有工作盘(2),并且工作盘(2)外侧固定连接有安装轴承(8),安装轴承(8)外侧与固定板(18)固定连接,工作盘(2)上端固定连接有轴杆(3),且轴杆(3)上端通过轴承与动力箱(1)内壁固定连接,同时轴杆(3)上固定安装有从动齿轮(4),搅拌电机(6)通过机座固定安装在动力箱(1)内部;搅拌设备(14)的两侧均安装有进料口(12);1. a special high-efficiency mixing device for vegetable oil, comprising a stirring device (14) and a screw rod (16), it is characterized in that: the upper end of the stirring device (14) is fixedly connected with a sealing plate (10), and the sealing plate (10) ) The upper end is fixedly connected with the power box (1), at the same time, a working plate (2) is fixedly installed inside the power box (1), and a mounting bearing (8) is fixedly connected to the outside of the working plate (2), and the outside of the mounting bearing (8) is connected to the The fixing plate (18) is fixedly connected, the upper end of the working plate (2) is fixedly connected with a shaft rod (3), and the upper end of the shaft rod (3) is fixedly connected with the inner wall of the power box (1) through a bearing, and at the same time the shaft rod (3) is fixed on the A driven gear (4) is installed, and the stirring motor (6) is fixedly installed inside the power box (1) through the machine base; both sides of the stirring device (14) are provided with feeding ports (12); 所述螺旋杆(16)上固定安装有搅拌叶片(15),且搅拌叶片(15)的上端通过轴承穿过密封板(10)与工作齿轮(7)固定连接,搅拌设备(14)外侧开设有夹套(13),且搅拌设备(14)底部固定安装有底座(17)。A stirring blade (15) is fixedly installed on the screw rod (16), and the upper end of the stirring blade (15) is fixedly connected with the working gear (7) through the sealing plate (10) through a bearing, and the stirring device (14) is provided with an outer side. There is a jacket (13), and a base (17) is fixedly installed at the bottom of the stirring device (14). 2.根据权利要求1所述的一种植物油专用的高效混合装置,其特征在于:所述动力箱(1)内部固定安装有固定板(18),且固定板(18)、内齿条(9)和工作盘(2)为同心圆结构。2 . The high-efficiency mixing device for vegetable oil according to claim 1 , wherein a fixing plate ( 18 ) is fixedly installed inside the power box ( 1 ), and the fixing plate ( 18 ), the inner rack ( 9) and the work plate (2) are concentric structures. 3.根据权利要求1所述的一种植物油专用的高效混合装置,其特征在于:所述工作盘(2)外侧通过安装轴承(8)与固定板(18)固定连接,且工作盘(2)、从动齿轮(4)和扇形齿轮(19)为同心圆结构。3. A special high-efficiency mixing device for vegetable oil according to claim 1, characterized in that: the outer side of the working plate (2) is fixedly connected to the fixing plate (18) through the mounting bearing (8), and the working plate (2) is fixedly connected to the fixing plate (18). ), the driven gear (4) and the sector gear (19) are concentric structures. 4.根据权利要求1所述的一种植物油专用的高效混合装置,其特征在于:所述工作盘(2)内部固定安装有内齿条(9),且内齿条(9)分布在工作盘(2)内侧上半部。4. The high-efficiency mixing device specially used for vegetable oil according to claim 1, characterized in that: an inner rack (9) is fixedly installed inside the working plate (2), and the inner rack (9) is distributed in the working plate (2). The upper half of the inner side of the disc (2). 5.根据权利要求1所述的一种植物油专用的高效混合装置,其特征在于:所述工作盘(2)上的内齿条(9)与工作齿轮(7)的尺寸相适配,同时内齿条(9)与工作齿轮(7)相啮合。5. The high-efficiency mixing device for vegetable oil according to claim 1, characterized in that: the internal rack (9) on the working disk (2) is adapted to the size of the working gear (7), and at the same time The internal rack (9) meshes with the working gear (7). 6.根据权利要求1所述的一种植物油专用的高效混合装置,其特征在于:所述工作盘(2)内部中心位置固定安装有安装杆体(20),且安装杆体(20)上固定安装有扇形齿轮(19),扇形齿轮(19)与工作齿轮(7)的尺寸相适配,同时扇形齿轮(19)与工作齿轮(7)相啮合。6. The high-efficiency mixing device specially used for vegetable oil according to claim 1, characterized in that: a mounting rod body (20) is fixedly installed at the inner center position of the working plate (2), and a mounting rod body (20) is fixedly mounted on the mounting rod body (20). There is a sector gear (19), the sector gear (19) is matched with the size of the working gear (7), and the sector gear (19) is meshed with the working gear (7). 7.根据权利要求1所述的一种植物油专用的高效混合装置,其特征在于:所述搅拌电机(6)的转子通过联轴器与蜗杆(5)固定连接,且蜗杆(5)与从动齿轮(4)的尺寸相适配,同时蜗杆(5)与从动齿轮(4)相啮合。7. The high-efficiency mixing device specially used for vegetable oil according to claim 1, characterized in that: the rotor of the stirring motor (6) is fixedly connected with the worm (5) through a coupling, and the worm (5) is connected with the worm (5). The size of the driven gear (4) is adapted, and the worm (5) is meshed with the driven gear (4). 8.根据权利要求1所述的一种植物油专用的高效混合装置,其特征在于:所述螺旋杆(16)与工作齿轮(7)同轴设置,且螺旋杆(16)在搅拌设备(14)内部通过两组限位板(11)固定连接,搅拌叶片(15)沿着螺旋杆(16)的周向位置均匀设置为四组。8. The high-efficiency mixing device for vegetable oil according to claim 1, characterized in that: the screw rod (16) and the working gear (7) are coaxially arranged, and the screw rod (16) is in the mixing device (14). ) is fixedly connected by two sets of limit plates (11) inside, and the stirring blades (15) are evenly arranged in four groups along the circumferential position of the screw rod (16).
CN201911258556.XA 2019-12-10 2019-12-10 Dedicated high-efficient mixing arrangement of vegetable oil Pending CN110898732A (en)

Priority Applications (1)

Application Number Priority Date Filing Date Title
CN201911258556.XA CN110898732A (en) 2019-12-10 2019-12-10 Dedicated high-efficient mixing arrangement of vegetable oil

Applications Claiming Priority (1)

Application Number Priority Date Filing Date Title
CN201911258556.XA CN110898732A (en) 2019-12-10 2019-12-10 Dedicated high-efficient mixing arrangement of vegetable oil

Publications (1)

Publication Number Publication Date
CN110898732A true CN110898732A (en) 2020-03-24

Family

ID=69823986

Family Applications (1)

Application Number Title Priority Date Filing Date
CN201911258556.XA Pending CN110898732A (en) 2019-12-10 2019-12-10 Dedicated high-efficient mixing arrangement of vegetable oil

Country Status (1)

Country Link
CN (1) CN110898732A (en)

Cited By (1)

* Cited by examiner, † Cited by third party
Publication number Priority date Publication date Assignee Title
CN115226465A (en) * 2022-08-06 2022-10-25 江苏中潜灌排有限公司 A sprinkler irrigation machine that facilitates adequate mixing of water and fertilizer

Citations (4)

* Cited by examiner, † Cited by third party
Publication number Priority date Publication date Assignee Title
US5781811A (en) * 1996-04-09 1998-07-14 Asahi Kogaku Kogyo Kabushiki Kaisha Shock absorber of mirror in single lens reflex camera
CN206762718U (en) * 2017-03-25 2017-12-19 广东鲜活果汁生物科技有限公司 A kind of efficient heat transfer mixes agitator tank
CN108188499A (en) * 2018-01-23 2018-06-22 王建立 A kind of tapping machine for automatically adjusting rotating
CN209423980U (en) * 2018-12-08 2019-09-24 泰兴市佰银服饰有限公司 A kind of spinning sizing agent plater

Patent Citations (4)

* Cited by examiner, † Cited by third party
Publication number Priority date Publication date Assignee Title
US5781811A (en) * 1996-04-09 1998-07-14 Asahi Kogaku Kogyo Kabushiki Kaisha Shock absorber of mirror in single lens reflex camera
CN206762718U (en) * 2017-03-25 2017-12-19 广东鲜活果汁生物科技有限公司 A kind of efficient heat transfer mixes agitator tank
CN108188499A (en) * 2018-01-23 2018-06-22 王建立 A kind of tapping machine for automatically adjusting rotating
CN209423980U (en) * 2018-12-08 2019-09-24 泰兴市佰银服饰有限公司 A kind of spinning sizing agent plater

Non-Patent Citations (1)

* Cited by examiner, † Cited by third party
Title
杨顺根等: "《橡胶工业手册 第9分册 下 橡胶机械》", 31 August 1994, 化学工业出版社 *

Cited By (1)

* Cited by examiner, † Cited by third party
Publication number Priority date Publication date Assignee Title
CN115226465A (en) * 2022-08-06 2022-10-25 江苏中潜灌排有限公司 A sprinkler irrigation machine that facilitates adequate mixing of water and fertilizer

Similar Documents

Publication Publication Date Title
CN204746141U (en) Special mixer of fertilizer formula
CN103783330A (en) Stirring interlayer pan
CN109499434A (en) Convenient for the efficient hair washing alloy melt stirring device of cleaning
CN221085501U (en) Single-layer stirring tank with good stirring and mixing effects
CN110898732A (en) Dedicated high-efficient mixing arrangement of vegetable oil
CN204841539U (en) Two oar stirred tanks of gas recirculation
CN210229677U (en) A batching agitating unit for in quartzite panel production
CN218962405U (en) Coating mixing tank
CN205199340U (en) Stirrer
CN210171332U (en) X-shaped high-viscosity fluid stirrer
CN204841686U (en) Mixed reation kettle of two oars
CN210410385U (en) A high-efficiency batching tank for preparing graphite
CN108673736A (en) Planetary rotation formula cement mortar mixer
CN222738970U (en) Stable durable efficient stirrer structure
CN222492037U (en) Automatic stirring mixing arrangement of accurate molding sand
CN203108474U (en) Multifunctional food stirrer
CN111617659A (en) A continuous powder-liquid mixer
CN221619200U (en) Asphalt mixture proportioning equipment
CN222384638U (en) A mixing kettle with auxiliary stirring device
CN221815821U (en) Novel sludge stirring mechanism
CN113426352A (en) Automotive interior waste material is raw materials stirring mixing arrangement for remolding
CN219518510U (en) Heating type lubricating oil stirring tank
CN221156441U (en) Anti-adhesion scraping mechanism for stirring powder food raw materials
CN222021977U (en) Uniform mixing device for polyester raw material processing
CN220573431U (en) A kind of reaction kettle stirring device

Legal Events

Date Code Title Description
PB01 Publication
PB01 Publication
SE01 Entry into force of request for substantive examination
SE01 Entry into force of request for substantive examination
RJ01 Rejection of invention patent application after publication

Application publication date: 20200324

RJ01 Rejection of invention patent application after publication