CN110862025B - A lifting device for lifting a transport vehicle - Google Patents
A lifting device for lifting a transport vehicle Download PDFInfo
- Publication number
- CN110862025B CN110862025B CN201911228201.6A CN201911228201A CN110862025B CN 110862025 B CN110862025 B CN 110862025B CN 201911228201 A CN201911228201 A CN 201911228201A CN 110862025 B CN110862025 B CN 110862025B
- Authority
- CN
- China
- Prior art keywords
- fixed
- box
- cylindrical disk
- lifting device
- rope
- Prior art date
- Legal status (The legal status is an assumption and is not a legal conclusion. Google has not performed a legal analysis and makes no representation as to the accuracy of the status listed.)
- Active
Links
- 230000001681 protective effect Effects 0.000 claims abstract description 22
- 229910052751 metal Inorganic materials 0.000 claims abstract description 16
- 239000002184 metal Substances 0.000 claims abstract description 16
- 230000005540 biological transmission Effects 0.000 claims abstract description 15
- 238000004804 winding Methods 0.000 claims abstract description 8
- 230000007246 mechanism Effects 0.000 claims abstract description 7
- 238000005192 partition Methods 0.000 claims description 7
- 239000000463 material Substances 0.000 claims description 4
- 229910052782 aluminium Inorganic materials 0.000 claims description 3
- XAGFODPZIPBFFR-UHFFFAOYSA-N aluminium Chemical compound [Al] XAGFODPZIPBFFR-UHFFFAOYSA-N 0.000 claims description 3
- 230000003014 reinforcing effect Effects 0.000 claims description 3
- 229910001220 stainless steel Inorganic materials 0.000 claims description 3
- 239000010935 stainless steel Substances 0.000 claims description 3
- 238000009434 installation Methods 0.000 claims 1
- 238000004519 manufacturing process Methods 0.000 abstract description 4
- 238000010586 diagram Methods 0.000 description 4
- 229910000831 Steel Inorganic materials 0.000 description 3
- 239000010959 steel Substances 0.000 description 3
- 230000000694 effects Effects 0.000 description 2
- 230000005484 gravity Effects 0.000 description 2
- 238000000034 method Methods 0.000 description 2
- 239000002253 acid Substances 0.000 description 1
- 230000009471 action Effects 0.000 description 1
- 230000009286 beneficial effect Effects 0.000 description 1
- 238000010276 construction Methods 0.000 description 1
- 238000005516 engineering process Methods 0.000 description 1
- 230000006872 improvement Effects 0.000 description 1
- 238000012986 modification Methods 0.000 description 1
- 230000004048 modification Effects 0.000 description 1
- 238000005554 pickling Methods 0.000 description 1
- 230000008569 process Effects 0.000 description 1
- 238000005096 rolling process Methods 0.000 description 1
Images
Classifications
-
- B—PERFORMING OPERATIONS; TRANSPORTING
- B66—HOISTING; LIFTING; HAULING
- B66C—CRANES; LOAD-ENGAGING ELEMENTS OR DEVICES FOR CRANES, CAPSTANS, WINCHES, OR TACKLES
- B66C23/00—Cranes comprising essentially a beam, boom, or triangular structure acting as a cantilever and mounted for translatory of swinging movements in vertical or horizontal planes or a combination of such movements, e.g. jib-cranes, derricks, tower cranes
- B66C23/62—Constructional features or details
-
- B—PERFORMING OPERATIONS; TRANSPORTING
- B66—HOISTING; LIFTING; HAULING
- B66C—CRANES; LOAD-ENGAGING ELEMENTS OR DEVICES FOR CRANES, CAPSTANS, WINCHES, OR TACKLES
- B66C23/00—Cranes comprising essentially a beam, boom, or triangular structure acting as a cantilever and mounted for translatory of swinging movements in vertical or horizontal planes or a combination of such movements, e.g. jib-cranes, derricks, tower cranes
- B66C23/62—Constructional features or details
- B66C23/64—Jibs
Landscapes
- Engineering & Computer Science (AREA)
- Mechanical Engineering (AREA)
- Load-Engaging Elements For Cranes (AREA)
Abstract
本发明公开了一种用于起重运输车的升降装置,包括吊臂,吊臂的外端转动连接有支撑座,支撑座的上端固定有传动箱,传动箱的上部设有传动机构,吊绳的下端共同固连有便于安装吊具的安装座,吊绳的两侧对称固定有刚性导向柱,刚性导向柱之间通过支撑梁板固定有防护盒;防护盒包括盒体,盒体内腔分为四个工作腔,每个工作腔固定有第一柱形盘和第二柱形盘,柱形盘各自转动支撑有转杆,转杆位于盘体外的杆体开设有绕绳槽,位于盘体内的杆体固定有螺旋金属带。本发明利用刚性导向柱作为基体支撑有防护盒,当吊绳在卷绕处断裂时会快速下坠,转杆的转速大于螺旋金属带自身的调节速度,导致螺旋金属带变形,使得吊绳被卡死固定,保障安全生产。
The invention discloses a lifting device for hoisting and transporting vehicles, which comprises a boom, the outer end of the boom is rotatably connected with a support seat, the upper end of the support seat is fixed with a transmission box, the upper part of the transmission box is provided with a transmission mechanism, The lower end of the rope is jointly fixed with a mounting seat which is convenient for installing the sling, the two sides of the suspending rope are symmetrically fixed with rigid guide columns, and a protective box is fixed between the rigid guide columns through the support beam plate; the protective box includes a box body, and the box body cavity It is divided into four working chambers, and each working chamber is fixed with a first cylindrical disk and a second cylindrical disk. The rod body in the body is fixed with a spiral metal belt. The present invention uses rigid guide columns as the base to support the protective box, and when the sling is broken at the winding place, it will fall rapidly, and the rotational speed of the rotating rod is greater than the adjustment speed of the spiral metal belt itself, which causes the spiral metal belt to deform, so that the sling is stuck. Dead fixed to ensure safe production.
Description
技术领域technical field
本发明涉及起重运输车技术领域,尤其涉及一种用于起重运输车的升降装置。The present invention relates to the technical field of hoisting vehicles, in particular to a lifting device used for hoisting vehicles.
背景技术Background technique
随车起重运输车又可以称为自装卸车等。集吊装和运输于一体,多用于车站、仓库、码头、工地、野外救援等场所。可配备不同长度的货厢和不同吨位的吊机。The truck-mounted lifting truck can also be called a self-loading and unloading truck. It integrates hoisting and transportation, and is mostly used in stations, warehouses, docks, construction sites, field rescue and other places. Can be equipped with different lengths of cargo boxes and cranes of different tonnages.
传统钢管酸洗机组的钢管运输一般是采用人工驾驶的普通双小车起重机来进行的,由于这种人工驾驶的普通双小车起重机的提升钢丝绳为柔性材料,钢管在运输过程中,晃动非常大,很容易撞坏酸槽或其它生产设备,事故发生率高。The steel pipe transportation of the traditional steel pipe pickling unit is generally carried out by a manually driven ordinary double trolley crane. Since the hoisting wire rope of this manually driven ordinary double trolley crane is a flexible material, the steel pipe shakes very much during the transportation process. It is easy to damage the acid tank or other production equipment, and the accident rate is high.
为此,公开号为CN103350953B的专利说明书中公开了一种用于起重运输车的升降装置,起重运输车包括大车和两根轨道,大车的两端设置于两根轨道上,大车能够在两根轨道上移动,升降装置包括至少两套升降设备,至少两套升降设备排成一行等间隔设置于所述大车中,每套升降设备均包括传动机构、两根刚性导向柱、钢丝绳和升降机构。但是这种用于起重运输车的升降装置存在不足之处,其吊绳在卷绕时经常发生刚性磨擦,容易造成吊绳断裂,进而使得吊挂物坠落,不仅易损坏吊挂物,而且存在较大的安全隐患。To this end, the patent specification with publication number CN103350953B discloses a lifting device for a hoisting and transporting vehicle. The lifting and transporting vehicle includes a cart and two rails. Both ends of the cart are arranged on the two rails. The cart can move on two tracks, and the lifting device includes at least two sets of lifting equipment, and at least two sets of lifting equipment are arranged in the cart at equal intervals in a row. Each set of lifting equipment includes a transmission mechanism and two rigid guide columns. , wire rope and lifting mechanism. However, this kind of lifting device used for hoisting and transporting vehicles has shortcomings. The hanging rope often suffers rigid friction during winding, which is easy to cause the hanging rope to break, thereby causing the hanging object to fall, which is not only easy to damage the hanging object, but also There is a big security risk.
发明内容SUMMARY OF THE INVENTION
本发明的目的在于克服传统技术中存在的上述问题,提供一种用于起重运输车的升降装置。The purpose of the present invention is to overcome the above-mentioned problems existing in the conventional technology, and to provide a lifting device for a hoisting and transport vehicle.
为实现上述技术目的,达到上述技术效果,本发明是通过以下技术方案实现:In order to realize the above-mentioned technical purpose and achieve the above-mentioned technical effect, the present invention is realized through the following technical solutions:
一种用于起重运输车的升降装置,包括吊臂,所述吊臂的外端转动连接有支撑座,所述支撑座的上端固定有传动箱,所述传动箱的上部设有能够卷绕两根吊绳的传动机构,两根所述吊绳的下端共同固连有便于安装吊具的安装座,所述支撑座的下端位于吊绳的两侧对称固定有刚性导向柱,相对的两根所述刚性导向柱之间通过支撑梁板固定有用于在吊绳卷绕处断裂后将吊绳夹持的防护盒,所述防护盒包括长方体状的盒体,所述盒体内腔被十字形隔板分为四个工作腔,每个工作腔的前后壁分别固定有第一柱形盘和第二柱形盘,所述第一柱形盘、第二柱形盘各自内腔的前后壁通过支撑块转动支撑有转杆,两根所述转杆位于盘体外的杆体中部开设有位置对应的绕绳槽,位于盘体两支撑块之间的杆体外侧固定有螺旋金属带,所述盒体的上下侧板以及十字形隔板的横板部开设有便于吊绳穿过的穿孔。A lifting device for hoisting and transporting vehicles, comprising a boom, the outer end of the boom is rotatably connected with a support seat, the upper end of the support seat is fixed with a transmission box, and the upper part of the transmission box is provided with a roller capable of rolling A transmission mechanism that winds two suspending ropes, the lower ends of the two suspending ropes are jointly fixed with a mounting seat that is convenient for installing the sling, and the lower ends of the supporting seat are located on both sides of the suspending rope and are symmetrically fixed with rigid guide columns. A protective box for clamping the suspending rope after the suspending rope is broken is fixed between the two rigid guiding columns through the supporting beam plate. The cross-shaped partition is divided into four working chambers, and the front and rear walls of each working chamber are respectively fixed with a first cylindrical disk and a second cylindrical disk. The front and rear walls are rotatably supported by the supporting blocks, and the two said rotating rods are located in the middle of the rod body outside the disk body with a rope winding groove corresponding to the position. The upper and lower side plates of the box body and the transverse plate portion of the cross-shaped partition plate are provided with perforations that are convenient for the hanging rope to pass through.
进一步地,上述用于起重运输车的升降装置中,所述防护盒由不锈钢材料支撑,盒体壁厚为1-2cm。Further, in the above-mentioned lifting device for hoisting and transporting vehicles, the protective box is supported by a stainless steel material, and the wall thickness of the box body is 1-2 cm.
进一步地,上述用于起重运输车的升降装置中,所述支撑梁板位于与刚性导向柱、防护盒连接处焊接有加强筋。Further, in the above-mentioned lifting device for a hoisting and transporting vehicle, the support beam plate is welded with a reinforcing rib at the connection with the rigid guide column and the protective box.
进一步地,上述用于起重运输车的升降装置中,所述第一柱形盘和第二柱形盘的轴线相互错开。Further, in the above-mentioned lifting device for a lift truck, the axes of the first cylindrical disk and the second cylindrical disk are offset from each other.
进一步地,上述用于起重运输车的升降装置中,所述螺旋金属带的带体内端与转杆卡接固定,带体外径等于所在第一柱形盘或第二柱形盘的内腔直径。Further, in the above-mentioned lifting device for hoisting and transporting vehicles, the inner end of the belt of the spiral metal belt is clamped and fixed with the rotating rod, and the outer diameter of the belt is equal to the inner cavity of the first cylindrical disk or the second cylindrical disk. diameter.
进一步地,上述用于起重运输车的升降装置中,所述螺旋金属带为螺旋状的铝带。Further, in the above-mentioned lifting device for hoisting and transporting vehicles, the spiral metal strip is a spiral aluminum strip.
本发明的有益效果是:The beneficial effects of the present invention are:
本发明结构设计合理,利用刚性导向柱作为基体支撑有防护盒,吊绳从防护盒中穿过,当吊绳正常缓慢升降时,转杆带动其上的螺旋金属带随之缓慢旋转;当吊绳在卷绕处断裂时,吊绳由于重力作用会快速下坠,转杆的转速大于螺旋金属带自身的调节速度,导致螺旋金属带变形,进而将转杆卡死,最终使得吊绳被卡死固定,防止吊挂物进一步下坠,保障安全生产。The structure of the invention is reasonable in design. The rigid guide column is used as the base to support the protective box, and the suspending rope passes through the protective box. When the suspending rope rises and falls normally and slowly, the rotating rod drives the spiral metal belt on it to rotate slowly along with it; When the rope breaks at the winding place, the sling will quickly fall due to the action of gravity, and the rotation speed of the rotating rod is greater than the adjustment speed of the spiral metal belt itself, which will cause the spiral metal belt to deform, and then the rotating rod will be stuck, and finally the sling will be stuck. Fixed to prevent the hanging objects from falling further and ensure safe production.
当然,实施本发明的任一产品并不一定需要同时达到以上的所有优点。Of course, it is not necessary for any product implementing the present invention to achieve all of the above advantages simultaneously.
附图说明Description of drawings
为了更清楚地说明本发明实施例的技术方案,下面将对实施例描述所需要使用的附图作简单地介绍,显而易见地,下面描述中的附图仅仅是本发明的一些实施例,对于本领域普通技术人员来讲,在不付出创造性劳动的前提下,还可以根据这些附图获得其他的附图。In order to illustrate the technical solutions of the embodiments of the present invention more clearly, the following briefly introduces the accompanying drawings used in the description of the embodiments. Obviously, the drawings in the following description are only some embodiments of the present invention. For those of ordinary skill in the art, other drawings can also be obtained from these drawings without any creative effort.
图1为本发明的使用状态示意图;Fig. 1 is the schematic diagram of the use state of the present invention;
图2为本发明中防护盒的俯视结构示意图;Fig. 2 is the top view structure schematic diagram of the protective box in the present invention;
图3为本发明中防护盒的主视结构示意图;Fig. 3 is the front view structure schematic diagram of the protective box in the present invention;
图4为本发明中吊绳于防护盒中的穿线示意图;Fig. 4 is the threading schematic diagram of the hanging rope in the protective box in the present invention;
附图中,各部件的标号如下:In the accompanying drawings, the reference numbers of each component are as follows:
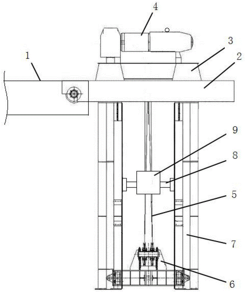
1-吊臂,2-支撑座,3-传动箱,4-传动机构,5-吊绳,6-安装座, 7-刚性导向柱,8-支撑梁板,9-防护盒,901-盒体,901-盒体,902-十字形隔板,903-工作腔,904-第一柱形盘,905-第二柱形盘,906-支撑块,907-转杆,908-绕绳槽,909-螺旋金属带。1- boom, 2- support base, 3- transmission box, 4- transmission mechanism, 5- hanging rope, 6- mounting base, 7- rigid guide column, 8- supporting beam plate, 9- protective box, 901- box Body, 901-box body, 902-cross-shaped partition, 903-working cavity, 904-first cylindrical disk, 905-second cylindrical disk, 906-support block, 907-rotating rod, 908-rope groove , 909 - Spiral Metal Strip.
具体实施方式Detailed ways
下面将结合本发明实施例中的附图,对本发明实施例中的技术方案进行清楚、完整地描述,显然,所描述的实施例仅仅是本发明一部分实施例,而不是全部的实施例。基于本发明中的实施例,本领域普通技术人员在没有作出创造性劳动前提下所获得的所有其它实施例,都属于本发明保护的范围。The technical solutions in the embodiments of the present invention will be clearly and completely described below with reference to the accompanying drawings in the embodiments of the present invention. Obviously, the described embodiments are only a part of the embodiments of the present invention, rather than all the embodiments. Based on the embodiments of the present invention, all other embodiments obtained by those of ordinary skill in the art without creative efforts shall fall within the protection scope of the present invention.
请参阅图1-4所示,本实施例为一种用于起重运输车的升降装置,包括吊臂1,吊臂1的外端转动连接有支撑座2,支撑座2的上端固定有传动箱3,传动箱3的上部设有能够卷绕两根吊绳5的传动机构4,两根吊绳5的下端共同固连有便于安装吊具的安装座6,支撑座2的下端位于吊绳5的两侧对称固定有刚性导向柱7。本实施例的主要改进点为:相对的两根刚性导向柱7之间通过支撑梁板8固定有用于在吊绳5 卷绕处断裂后将吊绳5夹持的防护盒9。Please refer to FIGS. 1-4. This embodiment is a lifting device for a hoisting and transporting vehicle, including a
本实施例中,防护盒9包括长方体状的盒体901,盒体901内腔被十字形隔板902分为四个工作腔903。每个工作腔903的前后壁分别固定有第一柱形盘904和第二柱形盘905,第一柱形盘904、第二柱形盘 905各自内腔的前后壁通过支撑块906转动支撑有转杆907,两根转杆 907位于盘体外的杆体中部开设有位置对应的绕绳槽908,位于盘体两支撑块906之间的杆体外侧固定有螺旋金属带909,盒体901的上下侧板以及十字形隔板902的横板部开设有便于吊绳5穿过的穿孔910。In this embodiment, the
本实施例中,防护盒9由不锈钢材料支撑,盒体901壁厚为1-2cm,支撑梁板8位于与刚性导向柱7、防护盒9连接处焊接有加强筋。连接处强度较高,满足后续对吊绳5及吊挂物的支撑需求。。In this embodiment, the
本实施例中,第一柱形盘904和第二柱形盘905的轴线相互错开。In this embodiment, the axes of the first
本实施例中,螺旋金属带909的带体内端与转杆907卡接固定,带体外径等于所在第一柱形盘904或第二柱形盘905的内腔直径。螺旋金属带909为螺旋状的铝带。In this embodiment, the inner end of the
本实施例的一个具体应用为:本实施例结构设计合理,利用刚性导向柱7作为基体支撑有防护盒9,吊绳5从防护盒9中穿过,当吊绳 5正常缓慢升降时,转杆907带动其上的螺旋金属带909随之缓慢旋转;当吊绳5在卷绕处断裂时,吊绳5由于重力作用会快速下坠,转杆907 的转速大于螺旋金属带909自身的调节速度,导致螺旋金属带909变形,进而将转杆907卡死,最终使得吊绳5被两根固定的转杆907卡死固定,防止吊挂物进一步下坠,保障安全生产。A specific application of this embodiment is: the structural design of this embodiment is reasonable, the
以上公开的本发明优选实施例只是用于帮助阐述本发明。优选实施例并没有详尽叙述所有的细节,也不限制该发明仅为具体实施方式。显然,根据本说明书的内容,可作很多的修改和变化。本说明书选取并具体描述这些实施例,是为了更好地解释本发明的原理和实际应用,从而使所属技术领域技术人员能很好地理解和利用本发明。本发明仅受权利要求书及其全部范围和等效物的限制。The above-disclosed preferred embodiments of the present invention are provided only to help illustrate the present invention. The preferred embodiments do not exhaust all the details, nor do they limit the invention to specific embodiments only. Obviously, many modifications and variations are possible in light of the contents of this specification. These embodiments are selected and described in this specification in order to better explain the principles and practical applications of the present invention, so that those skilled in the art can well understand and utilize the present invention. The present invention is to be limited only by the claims and their full scope and equivalents.
Claims (5)
Priority Applications (1)
| Application Number | Priority Date | Filing Date | Title |
|---|---|---|---|
| CN201911228201.6A CN110862025B (en) | 2019-12-04 | 2019-12-04 | A lifting device for lifting a transport vehicle |
Applications Claiming Priority (1)
| Application Number | Priority Date | Filing Date | Title |
|---|---|---|---|
| CN201911228201.6A CN110862025B (en) | 2019-12-04 | 2019-12-04 | A lifting device for lifting a transport vehicle |
Publications (2)
| Publication Number | Publication Date |
|---|---|
| CN110862025A CN110862025A (en) | 2020-03-06 |
| CN110862025B true CN110862025B (en) | 2020-12-01 |
Family
ID=69658259
Family Applications (1)
| Application Number | Title | Priority Date | Filing Date |
|---|---|---|---|
| CN201911228201.6A Active CN110862025B (en) | 2019-12-04 | 2019-12-04 | A lifting device for lifting a transport vehicle |
Country Status (1)
| Country | Link |
|---|---|
| CN (1) | CN110862025B (en) |
Citations (7)
| Publication number | Priority date | Publication date | Assignee | Title |
|---|---|---|---|---|
| CH494704A (en) * | 1969-08-14 | 1970-08-15 | Giezendanner Paul | Cable |
| GB2206373A (en) * | 1987-06-30 | 1989-01-05 | Alphin Rescue Equipment Limite | Rope descent regulator |
| CN103350953A (en) * | 2013-07-18 | 2013-10-16 | 上海宝锋工程技术有限公司 | Lifting device for hoisting transporter |
| CN203998468U (en) * | 2014-08-25 | 2014-12-10 | 宁波肯德姆工贸有限公司 | Be convenient to change the winder of self-locking mechanism |
| CN206355468U (en) * | 2017-01-05 | 2017-07-28 | 国网冀北电力有限公司唐山供电公司 | A kind of anti-fall rope Locking device structure of the upper and lower tower of transmission line of electricity |
| CN109110659A (en) * | 2018-09-07 | 2019-01-01 | 江麓机电集团有限公司 | A kind of tower crane climbing personnel's anti-dropping safety device |
| CN209662484U (en) * | 2019-01-09 | 2019-11-22 | 贵州电网有限责任公司 | Two protect rope expansion bend |
-
2019
- 2019-12-04 CN CN201911228201.6A patent/CN110862025B/en active Active
Patent Citations (7)
| Publication number | Priority date | Publication date | Assignee | Title |
|---|---|---|---|---|
| CH494704A (en) * | 1969-08-14 | 1970-08-15 | Giezendanner Paul | Cable |
| GB2206373A (en) * | 1987-06-30 | 1989-01-05 | Alphin Rescue Equipment Limite | Rope descent regulator |
| CN103350953A (en) * | 2013-07-18 | 2013-10-16 | 上海宝锋工程技术有限公司 | Lifting device for hoisting transporter |
| CN203998468U (en) * | 2014-08-25 | 2014-12-10 | 宁波肯德姆工贸有限公司 | Be convenient to change the winder of self-locking mechanism |
| CN206355468U (en) * | 2017-01-05 | 2017-07-28 | 国网冀北电力有限公司唐山供电公司 | A kind of anti-fall rope Locking device structure of the upper and lower tower of transmission line of electricity |
| CN109110659A (en) * | 2018-09-07 | 2019-01-01 | 江麓机电集团有限公司 | A kind of tower crane climbing personnel's anti-dropping safety device |
| CN209662484U (en) * | 2019-01-09 | 2019-11-22 | 贵州电网有限责任公司 | Two protect rope expansion bend |
Also Published As
| Publication number | Publication date |
|---|---|
| CN110862025A (en) | 2020-03-06 |
Similar Documents
| Publication | Publication Date | Title |
|---|---|---|
| CN112078990A (en) | Efficient mobile unit for tank cleaning or corrosion protection | |
| CN110862025B (en) | A lifting device for lifting a transport vehicle | |
| CN110697617A (en) | A bucket type hoisting and feeding device | |
| CN108275582B (en) | Movable device based on material transportation and hoisting and operation method thereof | |
| CN117302006B (en) | A mine car unloading auxiliary machine | |
| CN217025105U (en) | Automatic logistics carrying equipment for boxes | |
| CN216038211U (en) | Anti-swing grab trolley | |
| CN209904612U (en) | Large-scale lifting material carrier capable of mechanically loading and safely positioning goods | |
| CN114988295A (en) | Portal container crane for port | |
| CN206108777U (en) | Simply promote handling device | |
| CN207645635U (en) | A kind of multi-functional chemical engineering equipment hoisting frame | |
| CN217175822U (en) | Cantilever unloading platform | |
| CN114715767A (en) | Steel coil bracket lifting appliance capable of selecting lifting layer number | |
| CN220564119U (en) | A hook retracting device and a truck-mounted crane | |
| CN214692969U (en) | Safe high-efficient rotatable gallows that is used for steel sheet to lift by crane | |
| CN112061804A (en) | Movable loading and unloading elevator | |
| CN220766268U (en) | A hanging device | |
| CN214935298U (en) | Energy-concerving and environment-protective type is hanger for construction | |
| CN211143912U (en) | Vertical lifting parking equipment | |
| CN223779083U (en) | A building material hoisting bucket | |
| CN205132949U (en) | A remove hopper for gantry crane | |
| CN221739696U (en) | Gantry lifting bracket | |
| CN222181592U (en) | A gantry crane lifting device | |
| CN104555750A (en) | Transportation hoisting mechanical device | |
| CN219217354U (en) | A new type of material lifting device for building construction |
Legal Events
| Date | Code | Title | Description |
|---|---|---|---|
| PB01 | Publication | ||
| PB01 | Publication | ||
| SE01 | Entry into force of request for substantive examination | ||
| SE01 | Entry into force of request for substantive examination | ||
| GR01 | Patent grant | ||
| GR01 | Patent grant | ||
| PE01 | Entry into force of the registration of the contract for pledge of patent right | ||
| PE01 | Entry into force of the registration of the contract for pledge of patent right |
Denomination of invention: A lifting device for a transport vehicle Effective date of registration: 20211221 Granted publication date: 20201201 Pledgee: Huishang Bank Co.,Ltd. Hanshan sub branch Pledgor: ANHUI HUAHONG MACHINERY EQUIPMENT Co.,Ltd. Registration number: Y2021980015725 |
|
| PC01 | Cancellation of the registration of the contract for pledge of patent right | ||
| PC01 | Cancellation of the registration of the contract for pledge of patent right |
Granted publication date: 20201201 Pledgee: Huishang Bank Co.,Ltd. Hanshan sub branch Pledgor: ANHUI HUAHONG MACHINERY EQUIPMENT Co.,Ltd. Registration number: Y2021980015725 |
