CN110820720A - A kind of construction structure and method for blocking drainage and anti-floating - Google Patents
A kind of construction structure and method for blocking drainage and anti-floating Download PDFInfo
- Publication number
- CN110820720A CN110820720A CN201911133620.1A CN201911133620A CN110820720A CN 110820720 A CN110820720 A CN 110820720A CN 201911133620 A CN201911133620 A CN 201911133620A CN 110820720 A CN110820720 A CN 110820720A
- Authority
- CN
- China
- Prior art keywords
- layer
- water
- floating
- filter pipe
- graded gravel
- Prior art date
- Legal status (The legal status is an assumption and is not a legal conclusion. Google has not performed a legal analysis and makes no representation as to the accuracy of the status listed.)
- Pending
Links
Images
Classifications
-
- E—FIXED CONSTRUCTIONS
- E02—HYDRAULIC ENGINEERING; FOUNDATIONS; SOIL SHIFTING
- E02D—FOUNDATIONS; EXCAVATIONS; EMBANKMENTS; UNDERGROUND OR UNDERWATER STRUCTURES
- E02D3/00—Improving or preserving soil or rock, e.g. preserving permafrost soil
- E02D3/02—Improving by compacting
- E02D3/10—Improving by compacting by watering, draining, de-aerating or blasting, e.g. by installing sand or wick drains
-
- E—FIXED CONSTRUCTIONS
- E02—HYDRAULIC ENGINEERING; FOUNDATIONS; SOIL SHIFTING
- E02D—FOUNDATIONS; EXCAVATIONS; EMBANKMENTS; UNDERGROUND OR UNDERWATER STRUCTURES
- E02D31/00—Protective arrangements for foundations or foundation structures; Ground foundation measures for protecting the soil or the subsoil water, e.g. preventing or counteracting oil pollution
- E02D31/10—Protective arrangements for foundations or foundation structures; Ground foundation measures for protecting the soil or the subsoil water, e.g. preventing or counteracting oil pollution against soil pressure or hydraulic pressure
- E02D31/12—Protective arrangements for foundations or foundation structures; Ground foundation measures for protecting the soil or the subsoil water, e.g. preventing or counteracting oil pollution against soil pressure or hydraulic pressure against upward hydraulic pressure
Landscapes
- Engineering & Computer Science (AREA)
- Life Sciences & Earth Sciences (AREA)
- Structural Engineering (AREA)
- Paleontology (AREA)
- General Life Sciences & Earth Sciences (AREA)
- Mining & Mineral Resources (AREA)
- Civil Engineering (AREA)
- General Engineering & Computer Science (AREA)
- Environmental & Geological Engineering (AREA)
- Hydrology & Water Resources (AREA)
- Agronomy & Crop Science (AREA)
- Soil Sciences (AREA)
- Underground Structures, Protecting, Testing And Restoring Foundations (AREA)
Abstract
本发明涉及建筑工程技术领域,具体涉及一种阻排水抗浮施工结构;所采用的技术方案是:一种阻排水抗浮施工结构,包括素混凝土层,所述素混凝土层铺设于肥槽槽底;所述素混凝土层上依次铺设有保护层、级配碎石层、流态固化土层;所述级配碎石层内埋设有滤水管,所述滤水管设有若干进水孔,所述滤水管用于将肥槽内的水引出肥槽。本发明能够切断地表上渗水和地下水的联系,以防止地下水水压增大。同时,在保护层和流态固化层之间铺设级配碎石层,并在级配碎石层中埋设滤水管,以将地表下渗和上涌的地下水过滤后排出,从而将建筑的地下基础浮力释放,大大的减小建筑地下基础的浮力,起到抗浮减压的作用。具有施工成本低、工期短的特点。
The invention relates to the technical field of construction engineering, in particular to a construction structure for water resistance and anti-floating; the adopted technical scheme is: a construction structure for water resistance and anti-floating, comprising a plain concrete layer, and the plain concrete layer is laid on a fertilizer trough A protective layer, a graded gravel layer, and a fluidized solidified soil layer are laid on the plain concrete layer in sequence; a water filter pipe is embedded in the graded gravel layer, and the water filter pipe is provided with a number of water inlet holes. The water filter pipe is used to lead the water in the fertilizer tank out of the fertilizer tank. The invention can cut off the connection between the seepage water on the surface and the groundwater, so as to prevent the water pressure of the groundwater from increasing. At the same time, a graded gravel layer is laid between the protective layer and the fluidized solidified layer, and a water filter pipe is buried in the graded gravel layer to filter the groundwater infiltrating and upwelling from the surface, so as to drain the underground water of the building. The buoyancy of the foundation is released, which greatly reduces the buoyancy of the underground foundation of the building and plays the role of anti-floating and decompression. It has the characteristics of low construction cost and short construction period.
Description
技术领域technical field
本发明涉及建筑工程技术领域,具体涉及一种阻排水抗浮施工结构及方法。The invention relates to the technical field of construction engineering, in particular to a construction structure and method for resisting drainage and floating.
背景技术Background technique
建筑工程项目回填土施工对于地基的施工质量有着重要的影响。据相关研究表明,房屋建筑工程项目施工中由于回填土施工质量缺陷所导致的地面塌陷约占地面塌陷的90%。建筑工程回填土施工中普遍存在回填土质量管控不严的情况,导致回填土施工后土层中的含水率、干密度等不符合规范,填压后极易形成橡皮土。此外,项目回填土施工作业中由于缺少配套夯填方式或大量狭窄区域无法采用有效设备夯填,施工时习惯一次性松填后再进行表面整平夯实,致使工程回填土施工作业完成后回填土并未达到相关设计要求,为后续的整改带了极大的困难,以上问题没有较好的方法解决,往往消耗大量的人工夯实和较长的技术间歇时间。The backfill construction of construction projects has an important impact on the construction quality of the foundation. According to relevant researches, the ground subsidence caused by the construction quality defect of backfill in the construction of housing construction projects accounts for about 90% of the ground subsidence. In the backfill construction of construction projects, the quality control of the backfill is generally not strict, resulting in that the moisture content and dry density of the soil layer after the backfill construction does not meet the specifications, and it is easy to form rubber soil after filling. In addition, due to the lack of supporting ramming methods or the inability to use effective equipment for ramming and filling in a large number of narrow areas during the backfill construction of the project, it is customary to loosely fill once and then perform surface leveling and compaction during construction. It did not meet the relevant design requirements, which brought great difficulties to the follow-up rectification. There is no better way to solve the above problems, and it often consumes a lot of manual compaction and a long technical interval.
另外,部分工程由于地下水丰富,往往因浮力过大造成对结构质量和安全的隐患。针对上述问题,大量采用的施工方式是抗浮锚杆施工,要求抗浮锚杆锚固于坚硬岩体中,不适用于软岩与土体,破坏往往是锚固岩体的破坏;由于局部锚杆较密,锚杆施工不方便;地下室底板梁板配筋较大。因此抗浮锚杆施工工序复杂,施工成本投入高以及施工工期长等缺点,在工期相对紧张的施工项目中,其施工工艺达不到预期效果。In addition, due to the abundance of groundwater, some projects often pose hidden dangers to structural quality and safety due to excessive buoyancy. In view of the above problems, the construction method that is widely used is anti-floating anchor construction, which requires anti-floating anchors to be anchored in hard rock mass, not suitable for soft rock and soil, and the damage is often the damage of anchored rock mass; It is relatively dense, and the construction of anchor rods is inconvenient; Therefore, the construction process of the anti-floating anchor rod is complicated, the construction cost is high, and the construction period is long.
发明内容SUMMARY OF THE INVENTION
针对上述现有建筑工程项目回填施工工序复杂、投入高、工程期长、建筑所受地下水浮力大的技术问题,本发明提供了一种阻排水抗浮施工结构及施工方法,可降低地下室抗水板抗渗抗浮压力,具有施工简单、施工周期短、造价低、抗浮压力小、工程结构安全系数高的特点。Aiming at the above-mentioned technical problems of complex backfilling construction procedures, high investment, long construction period, and large groundwater buoyancy for buildings in existing construction projects, the present invention provides a construction structure and construction method for resisting drainage and anti-floating, which can reduce the water resistance of basements. The anti-seepage and anti-floating pressure of the slab has the characteristics of simple construction, short construction period, low cost, low anti-floating pressure and high safety factor of the engineering structure.
本发明通过下述技术方案实现:The present invention is achieved through the following technical solutions:
一种阻排水抗浮施工结构,包括素混凝土层,所述素混凝土层铺设于肥槽槽底;所述素混凝土层上依次铺设有保护层、级配碎石层、流态固化土层;所述级配碎石层内埋设有滤水管,所述滤水管设有若干进水孔,所述滤水管用于将肥槽内的水引出肥槽。A water-blocking and anti-floating construction structure, comprising a plain concrete layer, which is laid on the bottom of a fertilizer trough; a protective layer, a graded gravel layer, and a fluidized solidified soil layer are sequentially laid on the plain concrete layer; A water filter pipe is embedded in the graded crushed stone layer, the water filter pipe is provided with a plurality of water inlet holes, and the water filter pipe is used to lead the water in the fertilizer tank out of the fertilizer tank.
本发明通过素混凝土层、保护层、流态固化土层,切断地表上渗水和地下水的联系,以防止地下水水压增大。同时,在保护层和流态固化层之间铺设级配碎石层,并在级配碎石层中埋设滤水管,以将地表下渗和上涌的地下水过滤后排出,从而将建筑的地下基础浮力释放,大大的减小建筑地下基础的浮力,起到抗浮减压的作用。The invention cuts off the connection between the seepage water on the surface and the groundwater through the plain concrete layer, the protective layer and the fluidized solidified soil layer, so as to prevent the water pressure of the groundwater from increasing. At the same time, a graded gravel layer is laid between the protective layer and the fluidized solidified layer, and a water filter pipe is buried in the graded gravel layer to filter the groundwater infiltrated and upwelling from the surface, so as to drain the underground water of the building. The buoyancy of the foundation is released, which greatly reduces the buoyancy of the underground foundation of the building and plays the role of anti-floating and decompression.
作为级配碎石层的具体实施方式,所述级配碎石层包括第一级配碎石层、第二级配碎石层,所述滤水管位于第一级配碎石层、第二级配碎石层之间。一方面便于滤水管的埋设施工,另一方面能够确保滤水管的上下两侧均具有足够的级配碎石,以将渗入结构中的水的杂质滤除。As a specific embodiment of the graded gravel layer, the graded gravel layer includes a first graded gravel layer and a second graded gravel layer, and the water filter pipe is located in the first graded gravel layer and the second graded gravel layer. Graded gravel between layers. On the one hand, it is convenient for the burying of the water filter pipe, and on the other hand, it can ensure that the upper and lower sides of the water filter pipe have enough graded gravel to filter out the impurities in the water infiltrated into the structure.
作为保护层的具体实施方式,所述保护层包括混凝土层,所述混凝土层上铺设有防水层。As a specific embodiment of the protective layer, the protective layer includes a concrete layer on which a waterproof layer is laid.
进一步的,所述级配碎石层与流态固化土层之间铺设有土工布层,以防止地下水上涌至流态固化土层和防止流态固化土进入级配碎石层内。Further, a geotextile layer is laid between the graded gravel layer and the fluidized solidified soil layer to prevent groundwater from rising up to the fluidized solidified soil layer and to prevent the fluidized solidified soil from entering the graded gravel layer.
作为滤水管的具体实施方式,所述滤水管开孔率大于16%,确保滤水管具有足够结构强度和过水能力。As a specific embodiment of the water filter pipe, the opening rate of the water filter pipe is greater than 16%, which ensures that the water filter pipe has sufficient structural strength and water passing capacity.
进一步的,所述肥槽的基础外墙侧壁设有防水层,以防止肥槽内的水从基础外墙渗入入建筑地下基础内。Further, the side wall of the foundation outer wall of the fertilizer tank is provided with a waterproof layer to prevent the water in the fertilizer tank from infiltrating into the underground foundation of the building from the foundation outer wall.
优选的,所述肥槽的边坡侧壁设有防水层,以防止建筑地下基础周边的水进入肥槽内。Preferably, the side slope of the fertilizer trough is provided with a waterproof layer to prevent the water around the underground foundation of the building from entering the fertilizer trough.
本发明还提供了一种阻排水抗浮施工方法,用于筑设上述的阻排水抗浮施工结构,包括以下步骤:The present invention also provides a construction method for water resistance and anti-floating, which is used to build the above-mentioned construction structure for water resistance and floating, including the following steps:
在肥槽的底部和两侧布设防水层,并在肥槽施工区域的底部浇筑素混凝土;Lay waterproof layers at the bottom and both sides of the fertilizer trough, and pour plain concrete at the bottom of the fertilizer trough construction area;
在素混凝土上依次铺设混凝土、防水层以筑设保护层;Lay concrete and waterproof layer in sequence on plain concrete to build protective layer;
在保护层上铺设级配碎石层,并在级配碎石层铺设滤水管,使滤水管出水端伸出肥槽基础外墙外;Lay a graded gravel layer on the protective layer, and lay a water filter pipe on the graded gravel layer, so that the outlet end of the water filter pipe extends out of the outer wall of the fertilizer tank foundation;
在级配碎石层上铺设土工布层后铺设流态固化土。After laying a geotextile layer on the graded gravel layer, laying fluidized solidified soil.
本发明与现有技术相比,具有如下的优点和有益效果:Compared with the prior art, the present invention has the following advantages and beneficial effects:
1、本发明从肥槽槽底依次铺设、素混凝土层、保护层、级配碎石层、流态固化土层;级配碎石层内埋设有具有若干进水孔的滤水管,所述滤水管设有若干进水孔。通过素混凝土层、保护层、流态固化土层,切断地表上渗水和地下水的联系,以防止地下水水压增大。同时,在保护层和流态固化层之间铺设级配碎石层,并在级配碎石层中埋设滤水管,以将地表下渗和上涌的地下水过滤后排出,从而将建筑的地下基础浮力释放,大大的减小建筑地下基础的浮力,起到抗浮减压的作用。1. The present invention lays sequentially from the bottom of the fertilizer trough, plain concrete layer, protective layer, graded gravel layer, and fluidized solidified soil layer; The water filter pipe is provided with several water inlet holes. Through the plain concrete layer, the protective layer, and the fluidized solidified soil layer, the connection between the seepage water on the surface and the groundwater is cut off to prevent the increase of the groundwater pressure. At the same time, a graded gravel layer is laid between the protective layer and the fluidized solidified layer, and a water filter pipe is buried in the graded gravel layer to filter the groundwater infiltrated and upwelling from the surface, so as to drain the underground water of the building. The buoyancy of the foundation is released, which greatly reduces the buoyancy of the underground foundation of the building and plays the role of anti-floating and decompression.
2、采用流态固化土回填肥槽,流态固化土能够快速固化,且流态固化土凝结硬化后,体积具有相对稳定、干缩小、水稳定性好等特点,避免了回填土下陷、含水率不足。压实不到位等弊端。因此本发明还提高了工作效率,降低了施工成本,缩短了施工工期。同时,流态固化土能够将狭窄空间和异形结构空间的所有空隙填实,在施工中无需采用大型夯实和碾压设备,有效减少施工过程中对防水层的破坏。2. Using fluidized solidified soil to backfill the fertilizer tank, the fluidized solidified soil can be quickly solidified, and after the fluidized solidified soil is solidified and hardened, the volume has the characteristics of relatively stable, dry shrinkage, and good water stability, avoiding the backfill soil subsidence and water content. Insufficient rate. Inadequate compaction and other disadvantages. Therefore, the present invention also improves the work efficiency, reduces the construction cost, and shortens the construction period. At the same time, the fluidized solidified soil can fill all the voids in the narrow space and the special-shaped structure space, without the need for large-scale compaction and rolling equipment during the construction, which effectively reduces the damage to the waterproof layer during the construction process.
附图说明Description of drawings
此处所说明的附图用来提供对本发明实施例的进一步理解,构成本申请的一部分,并不构成对本发明实施例的限定。在附图中:The accompanying drawings described herein are used to provide further understanding of the embodiments of the present invention, and constitute a part of the present application, and do not constitute limitations to the embodiments of the present invention. In the attached image:
图1为本发明的结构示意图。FIG. 1 is a schematic structural diagram of the present invention.
附图中各零部件名称:The names of the parts in the attached drawings:
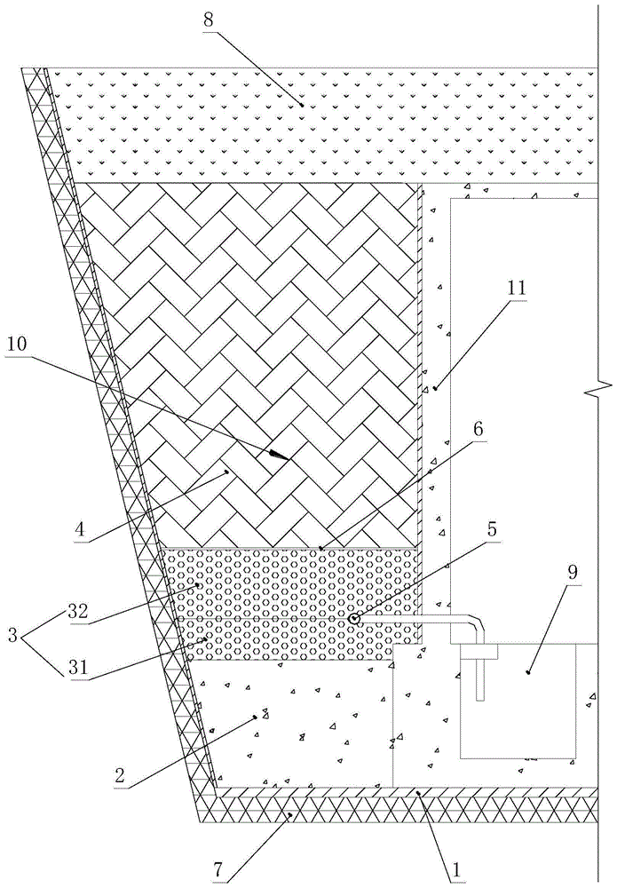
1-素混凝土层,10-肥槽,11-基础外墙,2-保护层,3-级配碎石层,31-第一级配碎石层,32-第二级配碎石层,4-流态固化土层,5-滤水管,6-土工布层,8-地坪,9-永久性集水坑。1- Plain concrete layer, 10- Fertilizer trough, 11- Foundation exterior wall, 2- Protection layer, 3- Gradation gravel layer, 31- First grade gravel layer, 32- Second grade gravel layer, 4- fluid solidified soil layer, 5- water filter pipe, 6- geotextile layer, 8- floor, 9- permanent sump.
具体实施方式Detailed ways
为使本发明的目的、技术方案和优点更加清楚明白,下面结合实施例和附图,对本发明作进一步的详细说明,本发明的示意性实施方式及其说明仅用于解释本发明,并不作为对本发明的限定。In order to make the purpose, technical solutions and advantages of the present invention clearer, the present invention will be further described in detail below with reference to the embodiments and the accompanying drawings. as a limitation of the present invention.
实施例Example
一种阻排水抗浮施工结构,包括素混凝土层1,所述素混凝土层1铺设于肥槽10槽底。所述素混凝土层1上依次铺设有保护层2、级配碎石层3、流态固化土层4,可知的是,在流态固化土层4上方还铺设有地坪8。所述级配碎石层3内埋设有滤水管5,所述滤水管5设有若干进水孔,所述滤水管5用于将肥槽10内的水引出肥槽10。A water-blocking and anti-floating construction structure includes a
本发明通过素混凝土层1、保护层2、流态固化土层4,切断地表上渗水和地下水的联系,以防止地下水水压增大。同时,在保护层2和流态固化层4之间铺设级配碎石层3,并在级配碎石层3中埋设滤水管5,以将地表下渗和上涌的地下水过滤后通过滤水管5排出至建筑地下基础内(通常为地下室),从而将建筑地下基础浮力释放,大大的减小建筑地下基础的浮力,起到抗浮减压的作用。The invention cuts off the connection between the seepage water on the surface and the groundwater through the
而传统采用的抗浮锚杆,部不仅-对地质条件要求高,施工复杂;同时并未从根本上解决地下水的浮力问题,仅是将建筑地下基础通过抗浮锚杆固定,抗浮锚杆始终承受着较大的压力,若地下水浮力进一步的增大,则存在无法锚固的风险;并且锚杆一直受拉,存在拉应力破坏的风险。The traditional anti-floating anchor rods not only have high requirements on geological conditions and complicated construction, but also do not fundamentally solve the problem of groundwater buoyancy, but only fix the underground foundation of the building through anti-floating anchor rods. It is always under high pressure. If the groundwater buoyancy is further increased, there is a risk that the anchorage cannot be anchored; and the anchor rod is always under tension, and there is a risk of tensile stress damage.
需要说明的是,流态固化土作为一种新型回填材料。其工作性能相对于传统回填土较好,强度方面,可以根据实际需要在0.5MPa-10MPa之间调整,以满足地基回填、基坑回填以及肥槽回填强度。固化土强度增长相对较快,浇筑完成12~24小时即可上人进行下一步施工,大大节省施工工期。拌合固化土时还可以根据土质和设计要求加入外加剂(主要成分为氧化钙、活性氧化铝、氧化硅),控制其强度增长速度,通过调整配合比改变其强度和流动性。流态固化土凝结硬化后,其体积具有相对稳定、干缩小、水稳定性好等特点,相对于天然回填土壤,其凝结硬化后还具有抗渗性能。It should be noted that fluidized solidified soil is a new type of backfill material. Its working performance is better than that of traditional backfill soil. In terms of strength, it can be adjusted between 0.5MPa and 10MPa according to actual needs to meet the strength of foundation backfill, foundation pit backfill and fertilizer tank backfill. The strength of the solidified soil increases relatively quickly, and the next construction can be carried out within 12 to 24 hours after the pouring is completed, which greatly saves the construction period. When mixing solidified soil, admixtures (main components are calcium oxide, activated alumina, silica) can also be added according to soil quality and design requirements to control the growth rate of its strength, and to change its strength and fluidity by adjusting the mixing ratio. After the solidification and hardening of fluidized soil, its volume is relatively stable, dry shrinkage, and water stability is good. Compared with natural backfill soil, it also has impermeability after solidification and hardening.
因此采用流态固化土回填肥槽10,流态固化土能够快速固化,且流态固化土凝结硬化后,体积具有相对稳定、干缩小、水稳定性好等特点,避免了回填土下陷、含水率不足、压实不到位等弊端。提高了工作效率,降低了施工成本,缩短了施工工期。同时,流态固化土能够将狭窄空间和异形结构空间的所有空隙填实,在施工中无需采用大型夯实和碾压设备,有效减少施工过程中对防水层的破坏。Therefore, using the fluidized solidified soil to backfill the
作为级配碎石层3的具体实施方式,所述级配碎石层3包括第一级配碎石层31、第二级配碎石层32,所述滤水管5位于第一级配碎石层31、第二级配碎石层32之间。一方面便于滤水管5的埋设施工,另一方面能够确保滤水管5的上下两侧均具有足够的级配碎石,以将渗入结构中的水的杂质滤除。As a specific embodiment of the graded
其中,第一级配碎石层31、第二级配碎石层32均采用20~30mm的级配碎石铺设而成,第二级配碎石层32位于第一级配碎石层31上方,且第二级配碎石层32厚度大于80cm,第一级配碎石层31厚度大于30cm。Among them, the first graded
作为保护层2的具体实施方式,所述保护层2包括混凝土层,所述混凝土层上铺设有防水层。可以理解的是,混凝土层铺设于素混凝土层1上方,以防止素混凝土层1被压裂,而防水层,可以防止地表上的水渗入地下水中。As a specific embodiment of the
进一步的,所述级配碎石层3与流态固化土层4之间铺设有土工布层6。本实施例中,土工布层6采用400g/㎡无纺土工布铺设两层,以防止地下水上涌至流态固化土层4。同时也能防止流态固化土层4在施工时,流态固化土进入级配碎石层3内,而降低级配碎石层3的滤水能力。Further, a
作为滤水管5的具体实施方式,所述滤水管5开孔率大于16%,确保滤水管具有足够结构强度和过水能力。在本实施例中,采用DN150PVC作为滤水干管,且进水孔的孔径大于10mm而小于20cm,以确保级配碎石层3内的水能够自流进滤水管5。As a specific embodiment of the
所述进水孔均布在滤水管5的侧壁,滤水管5的一端封闭,以防止碎石进入滤水管5内,滤水管5的另一端则延伸至建筑地下基础内,为便于收集滤水管5排出的水,在建筑地下基础内设置永久性的集水坑9(集水坑9与建筑地下基础一体筑设而成)进行收集,便于集中处理。The water inlet holes are evenly distributed on the side wall of the
进一步的,所述肥槽10的基础外墙11侧壁设有防水层,以防止肥槽10内的水从基础外墙渗入入建筑地下基础内。优选采用自粘性的防水卷材铺设,以便于防水层的铺设和在施工中掉落,影响正常施工。Further, the side wall of the foundation
优选的,所述肥槽10的边坡侧壁设有防水层,以防止建筑地下基础周边的水进入肥槽10内。Preferably, the side walls of the side slope of the
本实施例所述的阻排水抗浮施工结构施工方法,包括以下步骤:The construction method of the water-blocking and anti-floating construction structure described in this embodiment includes the following steps:
S1、在建筑地下基础地基的表面铺设不透水层,也就是在边坡表面和地基表面铺设不透水层,待建筑地下基础筑设完成形成肥槽后,在肥槽的两侧壁均布设防水层。S1. Lay an impermeable layer on the surface of the underground foundation foundation of the building, that is, lay an impermeable layer on the surface of the slope and the foundation surface. After the construction of the underground foundation of the building is completed to form a fertilizer trough, waterproofing is arranged on both side walls of the fertilizer trough. Floor.
S2、确定肥槽回填施工区域,在施工区域的底部浇筑素混凝土层。S2. Determine the backfill construction area of the fertilizer trough, and pour a plain concrete layer at the bottom of the construction area.
S3、待素混凝土层凝固后,在其上浇筑混凝土层;待混凝土凝固后铺设防水层,以形成保护层。S3. After the plain concrete layer is solidified, a concrete layer is poured thereon; after the concrete is solidified, a waterproof layer is laid to form a protective layer.
S4、在保护层上方铺设厚度大于30cm的20~30mm级配碎石,平整后布设滤水管。S4. Lay 20-30mm graded gravel with a thickness of more than 30cm above the protective layer, and lay out a water filter pipe after leveling.
S5、继续铺设20~30mm级配碎石,待碎石完全将滤水管覆盖后再继续铺设,直到级配碎石的厚度大于110cm。S5. Continue to lay 20-30mm graded gravel until the gravel completely covers the water filter pipe before continuing to lay until the thickness of the graded gravel is greater than 110cm.
S6、在级配碎石层的上方铺设两层土工布。S6. Lay two layers of geotextile above the graded gravel layer.
S7、根据肥槽回填深度,分层回填浇筑流态固化土。S7. According to the backfill depth of the fertilizer tank, backfill the fluidized solidified soil in layers.
S8、待流态固化土凝固后,铺设地坪。S8. After the fluidized solidified soil is solidified, the floor is laid.
以上所述的具体实施方式,对本发明的目的、技术方案和有益效果进行了进一步详细说明,所应理解的是,以上所述仅为本发明的具体实施方式而已,并不用于限定本发明的保护范围,凡在本发明的精神和原则之内,所做的任何修改、等同替换、改进等,均应包含在本发明的保护范围之内。The specific embodiments described above further describe the objectives, technical solutions and beneficial effects of the present invention in detail. It should be understood that the above descriptions are only specific embodiments of the present invention, and are not intended to limit the scope of the present invention. Any modification, equivalent replacement, improvement, etc. made within the spirit and principle of the present invention shall be included within the protection scope of the present invention.
Claims (10)
Priority Applications (1)
| Application Number | Priority Date | Filing Date | Title |
|---|---|---|---|
| CN201911133620.1A CN110820720A (en) | 2019-11-19 | 2019-11-19 | A kind of construction structure and method for blocking drainage and anti-floating |
Applications Claiming Priority (1)
| Application Number | Priority Date | Filing Date | Title |
|---|---|---|---|
| CN201911133620.1A CN110820720A (en) | 2019-11-19 | 2019-11-19 | A kind of construction structure and method for blocking drainage and anti-floating |
Publications (1)
| Publication Number | Publication Date |
|---|---|
| CN110820720A true CN110820720A (en) | 2020-02-21 |
Family
ID=69556658
Family Applications (1)
| Application Number | Title | Priority Date | Filing Date |
|---|---|---|---|
| CN201911133620.1A Pending CN110820720A (en) | 2019-11-19 | 2019-11-19 | A kind of construction structure and method for blocking drainage and anti-floating |
Country Status (1)
| Country | Link |
|---|---|
| CN (1) | CN110820720A (en) |
Cited By (5)
| Publication number | Priority date | Publication date | Assignee | Title |
|---|---|---|---|---|
| CN112962681A (en) * | 2021-02-09 | 2021-06-15 | 青岛腾远设计事务所有限公司 | Construction method and construction structure for safe use of old basement |
| CN113175005A (en) * | 2021-04-29 | 2021-07-27 | 山东金城建设有限公司 | Anti-floating design and construction method for waterproof bottom plate of underground garage in rainstorm period |
| CN114294473A (en) * | 2022-01-27 | 2022-04-08 | 上海隧道工程有限公司 | Anti-floating construction method for pipe burying of fluid soil trench |
| CN114960693A (en) * | 2022-06-15 | 2022-08-30 | 北控水务(中国)投资有限公司 | Installation method of underground structure and fertilizer tank structure |
| CN115595989A (en) * | 2022-10-08 | 2023-01-13 | 中建三局集团有限公司(Cn) | A construction method of a sandwich fertilizer tank backfill system |
Citations (4)
| Publication number | Priority date | Publication date | Assignee | Title |
|---|---|---|---|---|
| DE102004020530A1 (en) * | 2004-04-27 | 2005-11-24 | Roland Wolf | Building component e.g. for sealing of basement against water, has concrete base plate and one of these has supported wall finished unit with lower edge of unit, has relief structure and anti relief structure which is of finished unit |
| CN105544622A (en) * | 2015-06-05 | 2016-05-04 | 龚展宇 | Floating resisting device, and seepage insulation device and drainage path checking device thereof for underground building |
| CN205348235U (en) * | 2016-02-02 | 2016-06-29 | 杭州博牛建筑设计咨询有限公司 | Novel anti system of floating of basement drainage |
| CN211143046U (en) * | 2019-11-19 | 2020-07-31 | 四川省建筑机械化工程有限公司 | Water-blocking and draining anti-floating construction structure |
-
2019
- 2019-11-19 CN CN201911133620.1A patent/CN110820720A/en active Pending
Patent Citations (4)
| Publication number | Priority date | Publication date | Assignee | Title |
|---|---|---|---|---|
| DE102004020530A1 (en) * | 2004-04-27 | 2005-11-24 | Roland Wolf | Building component e.g. for sealing of basement against water, has concrete base plate and one of these has supported wall finished unit with lower edge of unit, has relief structure and anti relief structure which is of finished unit |
| CN105544622A (en) * | 2015-06-05 | 2016-05-04 | 龚展宇 | Floating resisting device, and seepage insulation device and drainage path checking device thereof for underground building |
| CN205348235U (en) * | 2016-02-02 | 2016-06-29 | 杭州博牛建筑设计咨询有限公司 | Novel anti system of floating of basement drainage |
| CN211143046U (en) * | 2019-11-19 | 2020-07-31 | 四川省建筑机械化工程有限公司 | Water-blocking and draining anti-floating construction structure |
Non-Patent Citations (2)
| Title |
|---|
| 杜旭: "基底减压释放水浮力在某工程中的应用", 《施工技术》, no. 4, 31 December 2018 (2018-12-31), pages 81 - 85 * |
| 黄明利: "明挖法地下装配式结构接缝防水技术探讨", 《中国工程科学》, vol. 19, no. 6, 31 December 2017 (2017-12-31), pages 131 - 139 * |
Cited By (7)
| Publication number | Priority date | Publication date | Assignee | Title |
|---|---|---|---|---|
| CN112962681A (en) * | 2021-02-09 | 2021-06-15 | 青岛腾远设计事务所有限公司 | Construction method and construction structure for safe use of old basement |
| CN113175005A (en) * | 2021-04-29 | 2021-07-27 | 山东金城建设有限公司 | Anti-floating design and construction method for waterproof bottom plate of underground garage in rainstorm period |
| CN113175005B (en) * | 2021-04-29 | 2022-05-20 | 山东金城建设有限公司 | Anti-floating design and construction method of waterproof floor of underground garage during heavy rain |
| CN114294473A (en) * | 2022-01-27 | 2022-04-08 | 上海隧道工程有限公司 | Anti-floating construction method for pipe burying of fluid soil trench |
| CN114294473B (en) * | 2022-01-27 | 2024-05-10 | 上海隧道工程有限公司 | Anti-floating construction method for buried pipe of fluid soil ditch |
| CN114960693A (en) * | 2022-06-15 | 2022-08-30 | 北控水务(中国)投资有限公司 | Installation method of underground structure and fertilizer tank structure |
| CN115595989A (en) * | 2022-10-08 | 2023-01-13 | 中建三局集团有限公司(Cn) | A construction method of a sandwich fertilizer tank backfill system |
Similar Documents
| Publication | Publication Date | Title |
|---|---|---|
| CN110820720A (en) | A kind of construction structure and method for blocking drainage and anti-floating | |
| CN101298777B (en) | Method and device for preventing land slide of swelled ground | |
| CN110016922A (en) | A new type of integral drainage anti-sliding pile structure and its construction method | |
| CN103046565B (en) | Draining method for ultra-deep batholith deep foundation pit | |
| CN106759126B (en) | Construction method of side slope support drainage channel | |
| CN208136927U (en) | A kind of soil cutting side slope supporting construction | |
| CN101487254A (en) | Construction method of vibrating immersed tube gravel slip-casting pile | |
| CN102926398A (en) | Construction method of inclined column type corrosion resistant foundation for power line in salt lake area | |
| CN109706952A (en) | Large-scale well-sinking construction method | |
| CN113818402A (en) | Reinforcement and reinforcement structure of clay core rockfill dam and its construction method | |
| CN110344394A (en) | A kind of surrounding deep foundation pit shallow embedding structure base ruggedized construction and construction method | |
| CN201567582U (en) | A water-saving device for foundation pit dewatering | |
| CN110093971B (en) | Combined water pump house of underground tunnel and construction method thereof | |
| CN211143046U (en) | Water-blocking and draining anti-floating construction structure | |
| CN107059523A (en) | A kind of construction method that road is built on reclaimed ground and the subgrade strengthening structure of construction method formation | |
| CN103643686A (en) | Retaining structure of water-saturated landslide with gradual slope ratio and construction method | |
| CN103938609B (en) | A kind of rubble/sand loaded filter-porous concrete pile composite foundation and processing method | |
| CN202899153U (en) | Oblique column type anti-corrosion foundation device for power transmission line of salt-lake region | |
| CN110439014A (en) | A kind of underground stratiform discharge structure and its construction method | |
| CN108316237B (en) | Revetment retaining wall | |
| CN114934518B (en) | A deep foundation pit reinforcement method combining backfilling, decompression and grouting | |
| CN207331699U (en) | Pit-in-pit reinforced concrete retaining wall composite supporting structure | |
| CN113186951B (en) | A kind of ecological reinforcement method of loose coarse-grained mixed soil slope | |
| CN211498940U (en) | Hydraulic engineering retaining wall drainage structures | |
| CN211773946U (en) | Basement structure decompression anti system of floating based on slope area |
Legal Events
| Date | Code | Title | Description |
|---|---|---|---|
| PB01 | Publication | ||
| PB01 | Publication | ||
| SE01 | Entry into force of request for substantive examination | ||
| SE01 | Entry into force of request for substantive examination | ||
| RJ01 | Rejection of invention patent application after publication | ||
| RJ01 | Rejection of invention patent application after publication |
Application publication date: 20200221 |
