CN110809362A - High-heat-dissipation printed circuit board and manufacturing method thereof - Google Patents
High-heat-dissipation printed circuit board and manufacturing method thereof Download PDFInfo
- Publication number
- CN110809362A CN110809362A CN201911254495.XA CN201911254495A CN110809362A CN 110809362 A CN110809362 A CN 110809362A CN 201911254495 A CN201911254495 A CN 201911254495A CN 110809362 A CN110809362 A CN 110809362A
- Authority
- CN
- China
- Prior art keywords
- heat dissipation
- box
- mounting
- circuit board
- circuit substrate
- Prior art date
- Legal status (The legal status is an assumption and is not a legal conclusion. Google has not performed a legal analysis and makes no representation as to the accuracy of the status listed.)
- Pending
Links
Images
Classifications
-
- H—ELECTRICITY
- H05—ELECTRIC TECHNIQUES NOT OTHERWISE PROVIDED FOR
- H05K—PRINTED CIRCUITS; CASINGS OR CONSTRUCTIONAL DETAILS OF ELECTRIC APPARATUS; MANUFACTURE OF ASSEMBLAGES OF ELECTRICAL COMPONENTS
- H05K1/00—Printed circuits
- H05K1/02—Details
- H05K1/0201—Thermal arrangements, e.g. for cooling, heating or preventing overheating
- H05K1/0203—Cooling of mounted components
- H05K1/0204—Cooling of mounted components using means for thermal conduction connection in the thickness direction of the substrate
-
- H—ELECTRICITY
- H05—ELECTRIC TECHNIQUES NOT OTHERWISE PROVIDED FOR
- H05K—PRINTED CIRCUITS; CASINGS OR CONSTRUCTIONAL DETAILS OF ELECTRIC APPARATUS; MANUFACTURE OF ASSEMBLAGES OF ELECTRICAL COMPONENTS
- H05K7/00—Constructional details common to different types of electric apparatus
- H05K7/20—Modifications to facilitate cooling, ventilating, or heating
- H05K7/20009—Modifications to facilitate cooling, ventilating, or heating using a gaseous coolant in electronic enclosures
- H05K7/20136—Forced ventilation, e.g. by fans
-
- H—ELECTRICITY
- H05—ELECTRIC TECHNIQUES NOT OTHERWISE PROVIDED FOR
- H05K—PRINTED CIRCUITS; CASINGS OR CONSTRUCTIONAL DETAILS OF ELECTRIC APPARATUS; MANUFACTURE OF ASSEMBLAGES OF ELECTRICAL COMPONENTS
- H05K7/00—Constructional details common to different types of electric apparatus
- H05K7/20—Modifications to facilitate cooling, ventilating, or heating
- H05K7/2039—Modifications to facilitate cooling, ventilating, or heating characterised by the heat transfer by conduction from the heat generating element to a dissipating body
- H05K7/20409—Outer radiating structures on heat dissipating housings, e.g. fins integrated with the housing
Landscapes
- Engineering & Computer Science (AREA)
- Microelectronics & Electronic Packaging (AREA)
- Physics & Mathematics (AREA)
- Thermal Sciences (AREA)
- Cooling Or The Like Of Electrical Apparatus (AREA)
Abstract
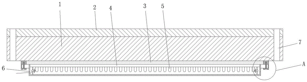
本发明公开了一种高散热印制线路板,包括线路基板,线路基板顶部设置有导电层,线路基板底部设置有导热垫,导热垫底部设置有散热板,散热板底部设置有多个散热块,且散热板和散热块均设置在散热箱内,散热箱的两侧壁上均设置有多个第一散热通孔,散热箱的两端外侧均连接有水平设置的连接柱,线路基板底部两端均设置有安装块,且安装块上设置有与连接柱一端配合的安装槽,散热箱内对称设置有散热风机,散热风机设置在支撑架上,支撑架的底端连接在散热箱的底板上,通过在线路基板底部设置的导热垫、散热板和散热块,对线路板上电子元件产生的热量及时传导至散热箱内,通过散热通孔散出,减少线路板上的热量。
The invention discloses a high heat dissipation printed circuit board, which comprises a circuit substrate, a conductive layer is arranged on the top of the circuit substrate, a heat conduction pad is arranged at the bottom of the circuit substrate, a heat dissipation plate is arranged at the bottom of the heat conduction pad, and a plurality of heat dissipation blocks are arranged at the bottom of the heat dissipation plate , and both the heat dissipation plate and the heat dissipation block are arranged in the heat dissipation box, the two side walls of the heat dissipation box are provided with a plurality of first heat dissipation through holes, the outer sides of both ends of the heat dissipation box are connected with horizontally arranged connecting posts, and the bottom of the circuit substrate is Both ends are provided with mounting blocks, and the mounting blocks are provided with a mounting groove that matches one end of the connecting column. A cooling fan is symmetrically arranged in the cooling box, and the cooling fan is arranged on the support frame, and the bottom end of the support frame is connected to the cooling box. On the bottom plate, the heat generated by the electronic components on the circuit board is conducted to the heat dissipation box in time through the thermal pad, heat dissipation plate and heat dissipation block arranged at the bottom of the circuit substrate, and dissipated through the heat dissipation through holes to reduce the heat on the circuit board.
Description
技术领域technical field
本发明涉及线路板技术领域,具体为一种高散热印制线路板及其制作方法。The invention relates to the technical field of circuit boards, in particular to a high heat dissipation printed circuit board and a manufacturing method thereof.
背景技术Background technique
印制线路板,是电子元器件电气连接的提供者。它的发展已有100多年的历史了;它的设计主要是版图设计;采用线路板的主要优点是大大减少布线和装配的差错,提高了自动化水平和生产劳动率。线路板在使用时,表面会添加许多电子元件,电子元件工作时产生的热量,热量过高时,线路板的散热速度太慢,会影响电子元件的使用。Printed circuit boards are the provider of electrical connections for electronic components. Its development has a history of more than 100 years; its design is mainly layout design; the main advantage of using circuit boards is to greatly reduce wiring and assembly errors, and improve the automation level and production labor rate. When the circuit board is in use, many electronic components will be added to the surface. When the heat generated by the electronic components is too high, the heat dissipation speed of the circuit board will be too slow, which will affect the use of electronic components.
发明内容SUMMARY OF THE INVENTION
本发明的目的在于提供一种高散热印制线路板及其制作方法,以解决上述背景技术中提出的问题。The purpose of the present invention is to provide a high heat dissipation printed circuit board and a manufacturing method thereof, so as to solve the problems raised in the above-mentioned background art.
为实现上述目的,本发明提供如下技术方案:一种高散热印制线路板,包括线路基板,线路基板顶部设置有导电层,线路基板底部设置有导热垫,导热垫底部设置有散热板,散热板底部设置有多个散热块,且散热板和散热块均设置在散热箱内,散热箱的两侧壁上均设置有多个第一散热通孔,散热箱的两端外侧均连接有水平设置的连接柱,线路基板底部两端均设置有安装块,且安装块上设置有与连接柱一端配合的安装槽,散热箱内对称设置有散热风机,散热风机设置在支撑架上,支撑架的底端连接在散热箱的底板上,散热风机通过连接线连接外接电源。In order to achieve the above purpose, the present invention provides the following technical solutions: a high heat dissipation printed circuit board, comprising a circuit substrate, a conductive layer is arranged on the top of the circuit substrate, a thermal pad is arranged at the bottom of the circuit substrate, and a heat dissipation plate is arranged at the bottom of the thermal pad to dissipate heat. A plurality of heat dissipation blocks are arranged at the bottom of the plate, and the heat dissipation plate and the heat dissipation block are both arranged in the heat dissipation box, the two side walls of the heat dissipation box are provided with a plurality of first heat dissipation through holes, and the outer sides of both ends of the heat dissipation box are connected with horizontal The connecting column is provided with mounting blocks at both ends of the bottom of the circuit substrate, and the mounting block is provided with a mounting slot matched with one end of the connecting column, the cooling fan is symmetrically arranged in the cooling box, the cooling fan is arranged on the support frame, and the support frame The bottom end of the cooling box is connected to the bottom plate of the cooling box, and the cooling fan is connected to the external power supply through the connecting wire.
优选的,导电层包括导热层、粘接层和铜箔层,且导热层、粘接层和铜箔层由下至上依次叠加设置,导热层为陶瓷导热胶结构制成。Preferably, the conductive layer includes a heat-conducting layer, an adhesive layer and a copper foil layer, and the heat-conducting layer, the adhesive layer and the copper foil layer are stacked in sequence from bottom to top, and the heat-conducting layer is made of a ceramic heat-conducting adhesive structure.
优选的,安装块和连接柱上均设置有与连接螺栓螺纹连接的螺孔,且安装块上的安装槽深度小于安装块的厚度。Preferably, both the mounting block and the connecting column are provided with screw holes for threaded connection with the connecting bolts, and the depth of the mounting groove on the mounting block is smaller than the thickness of the mounting block.
优选的,支撑架上设置有安装通孔,散热风机安装在安装通孔内,且安装通孔的上下内壁上设置有多根弹性柱,且弹性柱为橡胶材料结构。Preferably, the support frame is provided with an installation through hole, the cooling fan is installed in the installation through hole, and the upper and lower inner walls of the installation through hole are provided with a plurality of elastic columns, and the elastic columns are of rubber material structure.
优选的,散热箱的前后两侧壁上均匀分布有多个第二散热通孔,且连接柱设置在散热箱两端的第一散热通孔的顶部。Preferably, a plurality of second heat dissipation through holes are evenly distributed on the front and rear side walls of the heat dissipation box, and the connecting posts are arranged on tops of the first heat dissipation through holes at both ends of the heat dissipation box.
优选的,线路基板的四角均设置有安装孔。Preferably, four corners of the circuit substrate are provided with mounting holes.
一种高散热印制线路板的制作方法,包括以下步骤:A manufacturing method of a high heat dissipation printed circuit board, comprising the following steps:
S1、首先在线路基板上将由导热层、粘接层和铜箔层依次叠加组成的导电层铺设在线路基板的顶部,再使用钻孔设备加工出安装孔,再线路基板的底部铺设导热垫;S1. First, on the circuit substrate, lay a conductive layer consisting of a thermal conductive layer, an adhesive layer and a copper foil layer on top of the circuit substrate, then use drilling equipment to process mounting holes, and then lay a thermal pad on the bottom of the circuit substrate;
S2、将散热风机安装至支撑架的安装通孔内,散热风机挤压弹性柱,弹性柱的弹性将散热风机进行夹紧,再将安装有散热风机的支撑架对称设置在散热箱内,将散热板和散热块设置在散热箱的顶部开口内;S2. Install the cooling fan into the installation through hole of the support frame, the cooling fan squeezes the elastic column, and the elasticity of the elastic column clamps the cooling fan, and then symmetrically arranges the support frame with the cooling fan installed in the cooling box. The heat dissipation plate and the heat dissipation block are arranged in the top opening of the heat dissipation box;
S3、将组装好的散热箱通过两端的连接柱插入安装块的安装槽内,再使用连接螺栓和螺孔的配合进行锁紧,将散热箱安装在导热垫的底部;S3. Insert the assembled heat sink into the installation slot of the installation block through the connecting posts at both ends, and then use the combination of the connecting bolts and the screw holes to lock the heat sink, and install the heat sink on the bottom of the thermal pad;
S4、在散热箱的左右和前后分别设置第一散热通孔和第二散热通孔。S4 , respectively setting a first heat dissipation through hole and a second heat dissipation through hole on the left and right and the front and the rear of the heat dissipation box.
与现有技术相比,本发明的有益效果是:通过在线路基板底部设置的导热垫、散热板和散热块,对线路板上电子元件产生的热量及时传导至散热箱内,通过散热通孔散出,减少线路板上的热量,保护线路板上的元件不受损坏,延长线路板的使用寿命,散热箱内设置的散热风机加快对散热箱内的热量进行散失,提高对线路板的散热效果。Compared with the prior art, the beneficial effect of the present invention is that the heat generated by the electronic components on the circuit board can be conducted to the heat dissipation box in time through the heat conduction pad, the heat dissipation plate and the heat dissipation block arranged at the bottom of the circuit substrate, and the heat generated by the electronic components on the circuit board can be transferred to the heat dissipation box through the heat dissipation through holes. Dissipate, reduce the heat on the circuit board, protect the components on the circuit board from damage, and prolong the service life of the circuit board. Effect.
附图说明Description of drawings
图1为本发明的整体结构示意图;Fig. 1 is the overall structure schematic diagram of the present invention;
图2为图1中A的放大示意图;Fig. 2 is the enlarged schematic diagram of A in Fig. 1;
图3为本发明的导电层剖视图;3 is a cross-sectional view of a conductive layer of the present invention;
图4为本发明的主视图;Fig. 4 is the front view of the present invention;
图5为本发明的线路基板和导电层结构示意图;5 is a schematic diagram of the structure of the circuit substrate and the conductive layer of the present invention;
图6为本发明的安装块结构示意图;6 is a schematic structural diagram of a mounting block of the present invention;
图7为本发明的支撑架结构示意图。FIG. 7 is a schematic diagram of the structure of the support frame of the present invention.
图中:1、线路基板;2、导电层;21、导热层;22、粘接层;23、铜箔层;3、导热垫;4、散热板;5、散热块;6、散热箱;61、第二散热通孔;7、安装孔;8、第一散热通孔;9、安装块;91、安装槽;92、螺孔;10、连接柱;11、连接螺栓;12、散热风机;13、支撑架;131、安装通孔;132、弹性柱。In the figure: 1. Circuit substrate; 2. Conductive layer; 21. Thermal conductive layer; 22. Adhesive layer; 23. Copper foil layer; 3. Thermal conductive pad; 4. Heat dissipation plate; 61. Second heat dissipation through hole; 7. Mounting hole; 8. First heat dissipation through hole; 9. Mounting block; 91. Mounting slot; 92. Screw hole; 10. Connecting post; 11. Connecting bolt; ; 13, the support frame; 131, the installation through holes; 132, the elastic column.
具体实施方式Detailed ways
下面将结合本发明实施例中的附图,对本发明实施例中的技术方案进行清楚、完整地描述,显然,所描述的实施例仅仅是本发明一部分实施例,而不是全部的实施例。基于本发明中的实施例,本领域普通技术人员在没有做出创造性劳动前提下所获得的所有其他实施例,都属于本发明保护的范围。The technical solutions in the embodiments of the present invention will be clearly and completely described below with reference to the accompanying drawings in the embodiments of the present invention. Obviously, the described embodiments are only a part of the embodiments of the present invention, but not all of the embodiments. Based on the embodiments of the present invention, all other embodiments obtained by those of ordinary skill in the art without creative efforts shall fall within the protection scope of the present invention.
在本发明的描述中,需要说明的是,术语“竖直”、“上”、“下”、“水平”等指示的方位或位置关系为基于附图所示的方位或位置关系,仅是为了便于描述本发明和简化描述,而不是指示或暗示所指的装置或元件必须具有特定的方位、以特定的方位构造和操作,因此不能理解为对本发明的限制。In the description of the present invention, it should be noted that the orientations or positional relationships indicated by the terms "vertical", "upper", "lower", "horizontal", etc. are based on the orientations or positional relationships shown in the drawings, only In order to facilitate the description of the present invention and simplify the description, it is not indicated or implied that the indicated device or element must have a particular orientation, be constructed and operated in a particular orientation, and therefore should not be construed as limiting the present invention.
在本发明的描述中,还需要说明的是,除非另有明确的规定和限定,术语“设置”、“安装”、“相连”、“连接”应做广义理解,例如,可以是固定连接,也可以是可拆卸连接,或一体地连接;可以是机械连接,也可以是电连接;可以是直接相连,也可以通过中间媒介间接相连,可以是两个元件内部的连通。对于本领域的普通技术人员而言,可以根据具体情况理解上述术语在本发明中的具体含义。In the description of the present invention, it should also be noted that, unless otherwise expressly specified and limited, the terms "arranged", "installed", "connected" and "connected" should be understood in a broad sense, for example, it may be a fixed connection, It can also be a detachable connection or an integral connection; it can be a mechanical connection or an electrical connection; it can be a direct connection or an indirect connection through an intermediate medium, or the internal communication between the two components. For those of ordinary skill in the art, the specific meanings of the above terms in the present invention can be understood according to specific situations.
请参阅图1-7,本发明提供一种技术方案:一种高散热印制线路板,包括线路基板1,线路基板1顶部设置有导电层2,线路基板1底部设置有导热垫3,导热垫3底部设置有散热板4,散热板4底部设置有多个散热块5,且散热板4和散热块5均设置在散热箱6内,散热箱6的两侧壁上均设置有多个第一散热通孔8,散热箱6的两端外侧均连接有水平设置的连接柱10,线路基板1底部两端均设置有安装块9,且安装块9上设置有与连接柱10一端配合的安装槽91,散热箱6内对称设置有散热风机12,散热风机12设置在支撑架13上,支撑架13的底端连接在散热箱6的底板上,散热风机12通过连接线连接外接电源。1-7, the present invention provides a technical solution: a high heat dissipation printed circuit board, comprising a circuit substrate 1, a
导电层2包括导热层21、粘接层22和铜箔层23,且导热层21、粘接层22和铜箔层23由下至上依次叠加设置,导热层21为陶瓷导热胶结构制成。The
安装块9和连接柱10上均设置有与连接螺栓11螺纹连接的螺孔92,且安装块9上的安装槽91深度小于安装块9的厚度,连接柱10插入安装槽91内。The
支撑架13上设置有安装通孔131,散热风机12安装在安装通孔131内,且安装通孔131的上下内壁上设置有多根弹性柱132,且弹性柱132为橡胶材料结构,散热风机12卡进安装通孔131内,通过弹性柱132的弹力,对其进行夹紧。The
散热箱6的前后两侧壁上均匀分布有多个第二散热通孔61,且连接柱10设置在散热箱6两端的第一散热通孔8的顶部,通过第一散热通孔8和第二散热通孔61,方便散热箱6内的热量流失。A plurality of second heat dissipation through
线路基板1的四角均设置有安装孔7,方便通过安装孔7安装该印制线路板。Four corners of the circuit substrate 1 are provided with mounting
一种高散热印制线路板的制作方法,包括以下步骤:A manufacturing method of a high heat dissipation printed circuit board, comprising the following steps:
S1、首先在线路基板1上将由导热层21、粘接层22和铜箔层23依次叠加组成的导电层2铺设在线路基板1的顶部,再使用钻孔设备加工出安装孔7,再线路基板1的底部铺设导热垫3;S1. First, on the circuit substrate 1, lay the
S2、将散热风机12安装至支撑架13的安装通孔131内,散热风机12挤压弹性柱132,弹性柱132的弹性将散热风机12进行夹紧,再将安装有散热风机12的支撑架13对称设置在散热箱6内,将散热板4和散热块5设置在散热箱6的顶部开口内;S2. Install the cooling
S3、将组装好的散热箱6通过两端的连接柱10插入安装块9的安装槽91内,再使用连接螺栓11和螺孔92的配合进行锁紧,将散热箱6安装在导热垫3的底部;S3. Insert the assembled
S4、在散热箱6的左右和前后分别设置第一散热通孔8和第二散热通孔61。S4. The first heat dissipation through
工作原理:使用时,印制线路板产生的热量经过导热垫3传递至散热板4处,散热块5进行散热,通过散热箱6上的第一散热通孔8和第二散热通孔61进行散出热量,通过连接线给散热风机12通电,散热风机12开始工作,对散热箱6内热量进行吹散,打开快速散热的效果。Working principle: When in use, the heat generated by the printed circuit board is transferred to the
通过在线路基板底部设置的导热垫、散热板和散热块,对线路板上电子元件产生的热量及时传导至散热箱内,通过散热通孔散出,减少线路板上的热量,保护线路板上的元件不受损坏,延长线路板的使用寿命,散热箱内设置的散热风机加快对散热箱内的热量进行散失,提高对线路板的散热效果。The heat generated by the electronic components on the circuit board is conducted to the heat dissipation box in time through the thermal pads, heat dissipation plates and heat dissipation blocks arranged at the bottom of the circuit substrate, and dissipated through the heat dissipation through holes to reduce the heat on the circuit board and protect the circuit board. The components are not damaged, the service life of the circuit board is prolonged, and the heat dissipation fan set in the heat dissipation box accelerates the dissipation of the heat in the heat dissipation box, and improves the heat dissipation effect of the circuit board.
尽管已经示出和描述了本发明的实施例,对于本领域的普通技术人员而言,可以理解在不脱离本发明的原理和精神的情况下可以对这些实施例进行多种变化、修改、替换和变型,本发明的范围由所附权利要求及其等同物限定。Although embodiments of the present invention have been shown and described, it will be understood by those skilled in the art that various changes, modifications, and substitutions can be made in these embodiments without departing from the principle and spirit of the invention and modifications, the scope of the present invention is defined by the appended claims and their equivalents.
Claims (7)
Priority Applications (1)
| Application Number | Priority Date | Filing Date | Title |
|---|---|---|---|
| CN201911254495.XA CN110809362A (en) | 2019-12-10 | 2019-12-10 | High-heat-dissipation printed circuit board and manufacturing method thereof |
Applications Claiming Priority (1)
| Application Number | Priority Date | Filing Date | Title |
|---|---|---|---|
| CN201911254495.XA CN110809362A (en) | 2019-12-10 | 2019-12-10 | High-heat-dissipation printed circuit board and manufacturing method thereof |
Publications (1)
| Publication Number | Publication Date |
|---|---|
| CN110809362A true CN110809362A (en) | 2020-02-18 |
Family
ID=69492840
Family Applications (1)
| Application Number | Title | Priority Date | Filing Date |
|---|---|---|---|
| CN201911254495.XA Pending CN110809362A (en) | 2019-12-10 | 2019-12-10 | High-heat-dissipation printed circuit board and manufacturing method thereof |
Country Status (1)
| Country | Link |
|---|---|
| CN (1) | CN110809362A (en) |
Cited By (1)
| Publication number | Priority date | Publication date | Assignee | Title |
|---|---|---|---|---|
| CN114040562A (en) * | 2021-10-09 | 2022-02-11 | 江西技研新阳电子有限公司 | Composite printed circuit board capable of being externally provided with heat conducting mechanism |
Citations (5)
| Publication number | Priority date | Publication date | Assignee | Title |
|---|---|---|---|---|
| US20040066623A1 (en) * | 2002-10-07 | 2004-04-08 | Cheng-Kuo Lu | Structure of a heat dissipation device for computers |
| WO2017113800A1 (en) * | 2015-12-29 | 2017-07-06 | 广东欧珀移动通信有限公司 | Flexible circuit board and mobile terminal |
| CN108770310A (en) * | 2018-06-28 | 2018-11-06 | 安徽捷泰智能科技有限公司 | A kind of heat radiating type driving floor combination mechanism |
| CN209627800U (en) * | 2018-11-09 | 2019-11-12 | 江苏贺鸿电子有限公司 | A kind of high thermal conductivity aluminum matrix wiring board convenient for heat dissipation |
| CN210986573U (en) * | 2019-12-10 | 2020-07-10 | 苏州市惠利华电子有限公司 | High heat dissipation printed wiring board |
-
2019
- 2019-12-10 CN CN201911254495.XA patent/CN110809362A/en active Pending
Patent Citations (5)
| Publication number | Priority date | Publication date | Assignee | Title |
|---|---|---|---|---|
| US20040066623A1 (en) * | 2002-10-07 | 2004-04-08 | Cheng-Kuo Lu | Structure of a heat dissipation device for computers |
| WO2017113800A1 (en) * | 2015-12-29 | 2017-07-06 | 广东欧珀移动通信有限公司 | Flexible circuit board and mobile terminal |
| CN108770310A (en) * | 2018-06-28 | 2018-11-06 | 安徽捷泰智能科技有限公司 | A kind of heat radiating type driving floor combination mechanism |
| CN209627800U (en) * | 2018-11-09 | 2019-11-12 | 江苏贺鸿电子有限公司 | A kind of high thermal conductivity aluminum matrix wiring board convenient for heat dissipation |
| CN210986573U (en) * | 2019-12-10 | 2020-07-10 | 苏州市惠利华电子有限公司 | High heat dissipation printed wiring board |
Cited By (2)
| Publication number | Priority date | Publication date | Assignee | Title |
|---|---|---|---|---|
| CN114040562A (en) * | 2021-10-09 | 2022-02-11 | 江西技研新阳电子有限公司 | Composite printed circuit board capable of being externally provided with heat conducting mechanism |
| CN114040562B (en) * | 2021-10-09 | 2024-03-08 | 江西技研新阳电子有限公司 | Composite printed circuit board with externally-added heat conducting mechanism |
Similar Documents
| Publication | Publication Date | Title |
|---|---|---|
| CN101600325B (en) | Combination heat sink of closed shell electronic equipment | |
| CN210986573U (en) | High heat dissipation printed wiring board | |
| CN110809362A (en) | High-heat-dissipation printed circuit board and manufacturing method thereof | |
| CN102163910B (en) | Power module and electronic apparatus using power module | |
| CN210042381U (en) | PCB circuit board of high-efficient heat dissipation multilayer | |
| CN215872361U (en) | A new type of PCB multilayer circuit board | |
| CN211580285U (en) | Heat radiator for integrated circuit board | |
| CN212484242U (en) | Server case and server | |
| CN209562912U (en) | A kind of printed wiring board of good heat dissipation effect | |
| CN211600071U (en) | Rack is fixed to switch | |
| CN2736843Y (en) | Industrial computer host casing | |
| CN104039112A (en) | Cooling module | |
| CN111315108B (en) | Circuit board and electrical equipment | |
| CN217283532U (en) | Multilayer printed circuit board capable of quickly radiating heat | |
| CN221884248U (en) | Radiating assembly, radiating device and server | |
| CN214205956U (en) | A kind of anti-oxidation high-frequency double-sided circuit board | |
| CN210840505U (en) | Auxiliary heat dissipation device for electronic equipment | |
| CN203983721U (en) | Radiator | |
| CN211378376U (en) | Novel printed circuit board | |
| CN216491219U (en) | A high-efficiency heat dissipation HDI circuit board | |
| CN216673393U (en) | Multilayer PCB circuit board with heat radiation structure | |
| CN221240636U (en) | High-speed laser marking two-dimensional code control board card | |
| WO2020103156A1 (en) | Circuit board and computing device | |
| CN216357821U (en) | Circuit board with waterproof heat dissipation function | |
| CN215647537U (en) | Temperature change resistant anti-cracking ceramic substrate |
Legal Events
| Date | Code | Title | Description |
|---|---|---|---|
| PB01 | Publication | ||
| PB01 | Publication | ||
| SE01 | Entry into force of request for substantive examination |
