CN110804950A - Safe and energy-saving beam transportation method for bridge construction - Google Patents
Safe and energy-saving beam transportation method for bridge construction Download PDFInfo
- Publication number
- CN110804950A CN110804950A CN201911074117.3A CN201911074117A CN110804950A CN 110804950 A CN110804950 A CN 110804950A CN 201911074117 A CN201911074117 A CN 201911074117A CN 110804950 A CN110804950 A CN 110804950A
- Authority
- CN
- China
- Prior art keywords
- bridge
- supporting
- trolley
- box girder
- transporting
- Prior art date
- Legal status (The legal status is an assumption and is not a legal conclusion. Google has not performed a legal analysis and makes no representation as to the accuracy of the status listed.)
- Granted
Links
- 238000010276 construction Methods 0.000 title claims abstract description 41
- 238000000034 method Methods 0.000 title claims abstract description 22
- 230000007246 mechanism Effects 0.000 claims description 154
- 238000004891 communication Methods 0.000 claims description 29
- 238000012546 transfer Methods 0.000 claims description 24
- 238000002955 isolation Methods 0.000 claims description 13
- 230000005540 biological transmission Effects 0.000 claims description 10
- 230000007704 transition Effects 0.000 claims description 5
- 230000008569 process Effects 0.000 claims description 3
- 230000005484 gravity Effects 0.000 claims description 2
- 230000009467 reduction Effects 0.000 claims 2
- 230000009471 action Effects 0.000 claims 1
- 230000008602 contraction Effects 0.000 claims 1
- 230000000694 effects Effects 0.000 abstract description 3
- 239000000463 material Substances 0.000 abstract description 3
- 230000007613 environmental effect Effects 0.000 abstract description 2
- 238000003912 environmental pollution Methods 0.000 abstract description 2
- 239000002699 waste material Substances 0.000 abstract description 2
- 230000032258 transport Effects 0.000 description 86
- 238000006243 chemical reaction Methods 0.000 description 23
- 206010033307 Overweight Diseases 0.000 description 14
- 235000020825 overweight Nutrition 0.000 description 14
- 238000010586 diagram Methods 0.000 description 8
- 230000008901 benefit Effects 0.000 description 2
- 230000008859 change Effects 0.000 description 2
- 238000005516 engineering process Methods 0.000 description 2
- 239000010410 layer Substances 0.000 description 2
- 230000001360 synchronised effect Effects 0.000 description 2
- 230000003044 adaptive effect Effects 0.000 description 1
- 238000011161 development Methods 0.000 description 1
- 230000002349 favourable effect Effects 0.000 description 1
- 230000006872 improvement Effects 0.000 description 1
- 230000002452 interceptive effect Effects 0.000 description 1
- 230000004048 modification Effects 0.000 description 1
- 238000012986 modification Methods 0.000 description 1
- 239000002356 single layer Substances 0.000 description 1
- 239000003643 water by type Substances 0.000 description 1
Images
Classifications
-
- E—FIXED CONSTRUCTIONS
- E01—CONSTRUCTION OF ROADS, RAILWAYS, OR BRIDGES
- E01D—CONSTRUCTION OF BRIDGES, ELEVATED ROADWAYS OR VIADUCTS; ASSEMBLY OF BRIDGES
- E01D21/00—Methods or apparatus specially adapted for erecting or assembling bridges
-
- B—PERFORMING OPERATIONS; TRANSPORTING
- B61—RAILWAYS
- B61D—BODY DETAILS OR KINDS OF RAILWAY VEHICLES
- B61D3/00—Wagons or vans
- B61D3/16—Wagons or vans adapted for carrying special loads
-
- E—FIXED CONSTRUCTIONS
- E01—CONSTRUCTION OF ROADS, RAILWAYS, OR BRIDGES
- E01D—CONSTRUCTION OF BRIDGES, ELEVATED ROADWAYS OR VIADUCTS; ASSEMBLY OF BRIDGES
- E01D2/00—Bridges characterised by the cross-section of their bearing spanning structure
- E01D2/04—Bridges characterised by the cross-section of their bearing spanning structure of the box-girder type
-
- E—FIXED CONSTRUCTIONS
- E01—CONSTRUCTION OF ROADS, RAILWAYS, OR BRIDGES
- E01D—CONSTRUCTION OF BRIDGES, ELEVATED ROADWAYS OR VIADUCTS; ASSEMBLY OF BRIDGES
- E01D21/00—Methods or apparatus specially adapted for erecting or assembling bridges
- E01D21/06—Methods or apparatus specially adapted for erecting or assembling bridges by translational movement of the bridge or bridge sections
-
- E—FIXED CONSTRUCTIONS
- E01—CONSTRUCTION OF ROADS, RAILWAYS, OR BRIDGES
- E01D—CONSTRUCTION OF BRIDGES, ELEVATED ROADWAYS OR VIADUCTS; ASSEMBLY OF BRIDGES
- E01D21/00—Methods or apparatus specially adapted for erecting or assembling bridges
- E01D21/08—Methods or apparatus specially adapted for erecting or assembling bridges by rotational movement of the bridge or bridge sections
Landscapes
- Engineering & Computer Science (AREA)
- Architecture (AREA)
- Civil Engineering (AREA)
- Structural Engineering (AREA)
- Transportation (AREA)
- Mechanical Engineering (AREA)
- Bridges Or Land Bridges (AREA)
Abstract
本发明公开了一种桥上建桥安全节能运梁方法,按以下步骤进行:第一步骤是吊运步骤;第二步骤是上桥步骤;第三步骤是临时支撑步骤;第四步骤是运梁小车换轨步骤;第五步骤是解除临时支撑步骤;第六步骤是运梁步骤;第七步骤是运梁小车返回步骤;重复进行第一至第七步骤,不断将箱梁节段运送至施工位置。能够利用现有桥梁即下层桥梁将箱梁节段从梁场运输至桥上建桥的施工处,解决转轨运输箱梁节段的难题和轴载超重的难题,从而利用现有桥梁运送超重的箱梁节段。本发明不但能够提高施工效率,还具有显著的节能环保的作用,避免使用建设运梁通道带来的材料浪费和环境污染。
The invention discloses a method for safe and energy-saving beam transportation on a bridge, which is carried out according to the following steps: the first step is a lifting and transportation step; the second step is a bridge-on-bridge step; the third step is a temporary support step; and the fourth step is a transportation step. The fifth step is the step of releasing the temporary support; the sixth step is the step of transporting the beam; the seventh step is the step of returning the beam transporting trolley; construction location. The existing bridge, that is, the lower bridge, can be used to transport the box girder section from the beam yard to the bridge construction site on the bridge, so as to solve the problem of transferring the box girder section and the problem of overweight axle load, so as to use the existing bridge to transport the overweight. Box girder segment. The present invention can not only improve the construction efficiency, but also has the obvious effect of energy saving and environmental protection, and avoids the material waste and environmental pollution caused by the construction of the beam transport channel.
Description
技术领域technical field
本发明涉及桥梁施工技术领域。The invention relates to the technical field of bridge construction.
背景技术Background technique
现代社会中,桥梁扮演着越来越重要的角色,不仅传统中跨越水域(河流等)、沟渠等场合需要架桥通行,在城市中也扮演着立体交通的重要角色。In modern society, bridges play an increasingly important role, not only in traditional situations such as crossing waters (rivers, etc.), ditches and other occasions that require bridges to pass, but also play an important role in three-dimensional transportation in cities.
随着城市的发展和人民生活水平的提高,我国的机动车保有量逐年迅速递增,这给交通带来了越来越大的压力,在某些交通流量大的场合,现有的单层桥梁的通行能力不能满足人们的通行需要。为了保证顺畅通行,需要在现有桥梁的上方架设新的桥梁,以便增大通行能力。桥上建桥具有新桥不额外占用地面空间的优点,无须进行拆迁,既增大通行能力,又不需要承担高昂的拆迁成本,因而具有广泛的推广应用前景。With the development of cities and the improvement of people's living standards, the number of motor vehicles in our country is increasing rapidly year by year, which brings more and more pressure to traffic. In some occasions with large traffic flow, the existing single-layer bridges The traffic capacity cannot meet people's traffic needs. To ensure smooth traffic, new bridges need to be erected on top of existing bridges in order to increase the traffic capacity. The construction of the bridge on the bridge has the advantage that the new bridge does not occupy additional ground space, does not need to be demolished, increases the traffic capacity, and does not need to bear the high cost of demolition, so it has a wide range of promotion and application prospects.
在现有桥梁上方建设新的桥梁是一个新的课题,建设时需要将上层新桥的箱梁节段运送至修建处。桥梁承重的通行标准是轴载不能超过50吨,而大型桥梁的箱梁节段往往是超长超重的,如果在现有的下层桥梁上使用运载车运输上层箱梁节段,只能运送小型箱梁节段,对于单个箱梁节段大于100吨的箱梁节段,难以保证轴载不超过100吨。当箱梁节段大于200吨时,无法保证轴载不超过100吨。The construction of new bridges over existing bridges is a new topic, and the box girder sections of the new bridges on the upper floors need to be transported to the construction site during construction. The general standard for bridge load-bearing is that the axle load cannot exceed 50 tons, and the box girder sections of large bridges are often overly long and overweight. For box girder segments, for a single box girder segment greater than 100 tons, it is difficult to ensure that the axle load does not exceed 100 tons. When the box girder segment is larger than 200 tons, there is no guarantee that the axle load does not exceed 100 tons.
桥梁通常具有双向对开车道,桥梁设有两幅,即左幅桥梁和右幅桥梁,一个方向的车道在同一幅桥梁上。现有的运载车只能在同一幅桥梁上行驶。The bridge usually has two-way opposite lanes, and the bridge has two bridges, that is, the left bridge and the right bridge, and the lanes in one direction are on the same bridge. Existing trucks can only travel on the same bridge.
对于较大的箱梁节段(在需要建设双层或多层桥梁的场合,通常都是大型桥梁,箱梁节段较长较重),现有技术中无法使用运载车在下层现有桥梁上运输,只能使用搭设支架的方法来运送箱梁节段,需要在现有桥梁的下方和上方均搭设好支架才行,否则现有桥梁会被压塌,这样就大大降低了运梁效率,并提升了施工成本。For larger box girder segments (usually large bridges where double-layer or multi-layer bridges need to be constructed, the box girder segments are longer and heavier), it is impossible to use trucks in the existing technology to transport existing bridges on the lower level. For upper transportation, only the method of erecting brackets can be used to transport the box girder segments. It is necessary to erect brackets below and above the existing bridge, otherwise the existing bridge will be crushed, which will greatly reduce the efficiency of beam transportation. , and increased construction costs.
在设计在现有桥梁上运输上层桥梁的箱梁的技术方案时,除了要克服轴载超重等难题,还要克服如何将上层桥梁的箱梁运送到现有桥梁上去的难题。When designing the technical scheme for transporting the box girder of the upper bridge on the existing bridge, in addition to overcoming the problem of overweight axle load, it is also necessary to overcome the problem of how to transport the box girder of the upper bridge to the existing bridge.
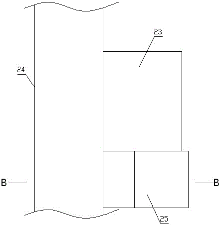
如图1和图2所示,出于施工便利,梁场23最有利的建设位置是邻近现有桥梁,由于新建桥梁位于现有桥梁的上方,因此本发明中称现有桥梁为下层桥梁,与下层桥梁24相平行。在梁场23与下层桥梁24之间需要建设连通梁场23与下层桥梁24的辅道25。在将上层桥梁的箱梁由梁场23运往下层桥梁24上去时,需要经辅道25将箱梁运至下层桥梁24上去。As shown in Figures 1 and 2, for the convenience of construction, the most favorable construction position of the
为克服轴载超重的问题,本发明设计了全新的双幅桥加轨道的运梁方式,即在下层桥梁24的双幅桥面上同时设置轨道机构。同样,在辅道25上也需要设置与下层桥梁24上的轨道机构相对应的辅轨机构。In order to overcome the problem of overweight axle load, the present invention designs a brand-new double-width bridge plus track beam transport mode, that is, a track mechanism is simultaneously set on the double-width bridge deck of the
在设计的新的方案时也遇到了技术困难。参见图1和图2,辅道25与下层桥梁24呈垂直相连的结构,箱梁在经辅道25进入下层桥梁24后,按现有的运梁思路,就会遇到如何使运梁小车和箱梁实现90度转弯的技术难题。Technical difficulties were also encountered when designing new solutions. 1 and 2, the
箱梁节段超重超长,进行90度转弯,一方面需要的空间巨大,需要足够箱梁节段旋转;另一方面箱梁节段非常重,在不使用龙门吊(下层桥梁24上难以架设龙门吊)的情况下难以实现箱梁的90度旋转,并且旋转箱梁节段需要耗费大量的能量。The box girder section is overweight and long, and a 90-degree turn is required. On the one hand, the space required is huge, and enough box girder sections need to be rotated; ), it is difficult to realize the 90-degree rotation of the box girder, and it takes a lot of energy to rotate the box girder segments.
辅轨机构势必与下层桥梁24上的轨道机构90度相交,使沿轨道行驶的各运梁小车在不借助吊具的条件下实现90度转轨在现有技术中也非常困难。The auxiliary rail mechanism is bound to intersect with the rail mechanism on the
发明内容SUMMARY OF THE INVENTION
本发明的目的在于提供一种桥上建桥安全节能运梁方法,能够利用现有桥梁即下层桥梁将箱梁节段从梁场运输至桥上建桥的施工处,解决转轨运输箱梁节段的难题和轴载超重的难题,从而利用现有桥梁运送超重的箱梁节段。The object of the present invention is to provide a method for safe and energy-saving beam transportation for bridge construction, which can utilize the existing bridge, that is, the lower bridge, to transport the box girder section from the girder yard to the construction site of the bridge construction on the bridge, so as to solve the problem of transporting the box girder section by rail transfer. segment and overweight axle loads, thereby utilizing existing bridges to transport overweight box girder segments.
为实现上述目的,本发明的桥上建桥安全节能运梁方法,通过桥上建桥运梁系统进行,现有桥梁为下层桥梁,新建桥梁为上层桥梁,桥上建桥运梁系统包括用于将箱梁节段从梁场运送到下层桥梁上的转轨运梁结构,以及用于将箱梁节段沿下层桥梁运送至施工位置的沿桥运送结构;In order to achieve the above-mentioned purpose, the method for building a bridge on a bridge for safe and energy-saving beam transportation of the present invention is carried out through a bridge building and transporting beam system on the bridge, the existing bridge is a lower-level bridge, the new bridge is an upper-level bridge, and the bridge-building and transporting beam system includes using The rail-conveying beam structure for transporting the box girder segments from the beam yard to the lower-level bridge, and the along-bridge transport structure for transporting the box-girder segment along the lower-level bridge to the construction site;
下层桥梁包括用于车辆对向行驶的左幅桥面和右幅桥面,左幅桥面和右幅桥面之间具有隔离带;The lower bridge includes left and right bridge decks for vehicles traveling in opposite directions, and there is an isolation belt between the left and right bridge decks;
转轨运梁结构包括所述下层桥梁,下层桥梁上沿下层桥梁长度方向设有轨道机构;下层桥梁一侧设有梁场,梁场的出梁端设有辅道,辅道连接梁场与下层桥梁;The rail-transfer beam structure includes the lower-level bridge, and the lower-level bridge is provided with a rail mechanism along the length of the lower-level bridge; one side of the lower-level bridge is provided with a beam yard, and the beam exit end of the beam yard is provided with an auxiliary road, which connects the beam yard and the lower level. bridge;
辅道上设有辅轨机构,辅轨机构与轨道机构相交叉;下层桥梁的轨道机构包括平行并排设置的第一至第四轨道机构,An auxiliary rail mechanism is arranged on the auxiliary road, and the auxiliary rail mechanism intersects with the rail mechanism; the rail mechanism of the lower bridge includes the first to fourth rail mechanisms arranged in parallel and side by side,
辅道上的辅轨机构包括平行并排设置的第五和第六轨道机构;第五和第六轨道机构分别与第一至第四轨道机构相交叉并形成8处交叉处;The auxiliary rail mechanism on the auxiliary road includes the fifth and sixth rail mechanisms arranged in parallel; the fifth and sixth rail mechanisms respectively intersect with the first to fourth rail mechanisms and form 8 intersections;
第一至第六轨道机构均用于运梁小车行驶;The first to sixth track mechanisms are all used for beam-carrying trolleys;
在下层桥梁上以下层桥梁的长度方向为前后方向,以运梁方向为前向;在辅道上以辅道的长度方向为前后方向,以运梁方向为前向;On the lower bridge, the length direction of the lower bridge is the front and rear direction, and the beam transport direction is the forward direction; on the auxiliary road, the length direction of the auxiliary road is the front and rear direction, and the beam transport direction is the forward direction;
各轨道机构的结构均相同,均包括左轨机构和右轨机构;左轨机构和右轨机构的结构相同,均包括沿前后方向铺设的混凝土基础,混凝土基础顶部于左右方向的中部向上固定连接有支撑轨道;支撑轨道用于支撑运梁小车;The structure of each rail mechanism is the same, including the left rail mechanism and the right rail mechanism; the structure of the left rail mechanism and the right rail mechanism are the same, and both include a concrete foundation laid along the front and rear directions, and the top of the concrete foundation is fixed upward in the middle of the left and right directions. There is a support track; the support track is used to support the beam transport trolley;
在各轨道机构的相交叉处,相交的两条轨道机构的混凝土基础水平相接,支撑轨道相交叉处于交叉点位置的混凝土基础上设有正方形的支撑块,支撑块的边长与相交叉的两条支撑轨道的顶部同宽;相交叉的两条支撑轨道在交叉处设有断口,支撑块的四条边分别正对断口一侧的支撑轨道,支撑块的四条边与其正对的支撑轨道之间分别具有间隙且间隙相同,该间隙小于等于运梁小车的行走轮的直径的四分之一;At the intersection of each track mechanism, the concrete foundations of the two intersecting track mechanisms are horizontally connected, and a square support block is provided on the concrete foundation at the intersection of the support rails. The tops of the two supporting rails are the same width; the two intersecting supporting rails are provided with a fracture at the intersection, the four sides of the supporting block are respectively facing the supporting rail on the side of the fracture, and the four sides of the supporting block and the supporting rail opposite There are gaps between them and the gaps are the same, and the gap is less than or equal to a quarter of the diameter of the walking wheel of the beam transport trolley;
运梁小车上分别设有用于支撑被运输的箱梁节段的顶推装置,顶推装置的顶部高于隔离带;顶推装置具有能够上下伸缩的顶推杆,顶推杆的顶部铰接有用于支撑被运输的箱梁节段的支撑板;The beam transport trolley is respectively provided with a jacking device for supporting the transported box girder segment, and the top of the jacking device is higher than the isolation belt; Support plates for supporting the box girder segments being transported;
沿桥运送结构包括所述第一至第四轨道机构和所述运梁小车;The conveying structure along the bridge includes the first to fourth track mechanisms and the beam conveying trolley;
第一轨道机构和第二轨道机构设置在左幅桥面上并组成左幅桥面轨道机构,第三轨道机构和第四轨道机构设置在右幅桥面上并组成右幅桥面轨道机构;左幅桥面轨道机构和右幅桥面轨道机构关于隔离带对称设置;The first track mechanism and the second track mechanism are arranged on the left deck and form the left deck track mechanism, and the third track mechanism and the fourth track mechanism are arranged on the right deck and constitute the right deck track mechanism; The left deck track mechanism and the right deck track mechanism are symmetrically arranged with respect to the isolation belt;
运梁小车包括水平设置的车架,车架四角处分别通过轮轴安装有所述行走轮,车架上设有电动机,电动机通过传动机构与各行走轮的轮轴传动连接;车架上设有设有所述顶推装置顶推装置的顶部高于隔离带;The beam transporting trolley includes a horizontally arranged frame, the four corners of the frame are respectively equipped with the walking wheels through the axles, the frame is provided with a motor, and the motor is connected with the axles of each walking wheel through a transmission mechanism; The top of the pushing device with the pushing device is higher than the isolation belt;
各轨道相交叉处的下层桥面上设有旋转支撑机构;A rotating support mechanism is provided on the lower deck where the tracks intersect;
旋转支撑机构包括底板,底板上设有支架,支架一侧的底板上设有正反转变频电机,支架另一侧的底板上铰接有旋转支撑装置,旋转支撑装置为液压缸或电动推杆或气缸;旋转支撑装置的伸出杆铰接有用于临时支撑的承重板;The rotating support mechanism includes a bottom plate, a bracket is arranged on the bottom plate, a forward and reverse frequency conversion motor is arranged on the bottom plate on one side of the bracket, and a rotating support device is hinged on the bottom plate on the other side of the bracket, and the rotating support device is a hydraulic cylinder or an electric push rod or Cylinder; the extension rod of the rotary support device is hinged with a bearing plate for temporary support;
正反转变频电机的输出轴连接有牵引绳,支架顶部设有定滑轮,牵引绳绕过定滑轮并与旋转支撑装置的上部一侧相连接,旋转支撑装置的上部另一侧连接有复位弹簧,复位弹簧与底板相连接;The output shaft of the forward and reverse frequency conversion motor is connected with a traction rope, and the top of the bracket is provided with a fixed pulley. , the return spring is connected with the bottom plate;
支架与旋转支撑装置相邻的一侧设有第一行程开关,底板上设有与旋转支撑装置相对应的第二行程开关;A first travel switch is provided on the side adjacent to the support and the rotary support device, and a second travel switch corresponding to the rotary support device is provided on the bottom plate;
旋转支撑装置具有卧倒位置和竖直位置;旋转支撑装置处于卧倒位置时按压所述第二行程开关,此时复位弹簧处于舒张状态或被压缩的状态;旋转支撑装置处于卧倒位置时低于运梁小车所运送的箱梁节段;The rotary support device has a lying down position and a vertical position; when the rotary support device is in the lying down position, the second travel switch is pressed, and the return spring is in a relaxed or compressed state at this time; when the rotary support device is in the lying down position, the low Box girder segments transported by beam transport trolleys;
旋转支撑装置处于竖直位置时按压第一行程开关,此时复位弹簧处于拉伸状态,且承重板正对上方;旋转支撑装置处于竖直位置且其伸出杆处于收缩状态时,承重板低于运梁小车所运送的箱梁节段;When the rotary support device is in a vertical position, press the first travel switch, the return spring is in a stretched state, and the bearing plate is facing upward; when the rotary support device is in a vertical position and its extension rod is in a retracted state, the bearing plate is low Box girder segments transported by beam transport trolleys;
运梁小车的车架中部向下连接有底部开口的支撑槽,支撑槽的槽壁通过轴承转动连接有转动盘,转动盘与支撑槽的下侧壁滑动配合;转动盘的中部向下连接有转轨支撑装置,转轨支撑装置为液压缸或电动推杆或气缸;转轨支撑装置具有伸出杆,转轨支撑装置的伸出杆向下伸出并连接有支撑盘,运梁小车的重心位于转轨支撑装置的正上方;The middle part of the frame of the beam transport trolley is downwardly connected with a support groove with an opening at the bottom, the groove wall of the support groove is connected with a rotating plate through the bearing rotation, and the rotating plate is slidingly matched with the lower side wall of the support groove; the middle part of the rotating plate is connected downward with a rotating plate The rail support device is a hydraulic cylinder or an electric push rod or an air cylinder; the rail support device has an extension rod, and the extension rod of the rail support device extends downward and is connected with a support plate, and the center of gravity of the beam transport trolley is located at the rail support directly above the device;
各运梁小车上的电动机采用变频减速电机;各运梁小车上均设有第一无线通讯模块;在运梁小车外设有可移动的电控装置,电控装置连接有蓄电池和第二无线通讯模块;转轨支撑装置、旋转支撑装置、正反转变频电机、第一行程开关和第二行程开关均与第三无线通讯模块相连接;The motor on each beam transport trolley adopts frequency conversion deceleration motor; each beam transport trolley is provided with a first wireless communication module; a movable electronic control device is arranged outside the beam transport trolley, and the electronic control device is connected with a battery and a second wireless communication module. a communication module; the rail shifting support device, the rotating support device, the forward and reverse frequency conversion motor, the first travel switch and the second travel switch are all connected with the third wireless communication module;
各运梁小车上的电动机和顶推装置均与第一无线通讯模块相连接,第三无线通讯模块和各运梁小车上的第一无线通讯模块分别通过第二无线通讯模块与电控装置相连接;The motor and the pushing device on each beam transporting trolley are connected with the first wireless communication module, and the third wireless communication module and the first wireless communication module on each beam transporting trolley are respectively connected with the electronic control device through the second wireless communication module. connect;
桥上建桥安全节能运梁方法按以下步骤进行:The safe and energy-saving beam transportation method on the bridge is carried out according to the following steps:
梁场设置有龙门吊;初始状态下旋转支撑装置处于卧倒位置;The beam yard is equipped with a gantry crane; in the initial state, the rotating support device is in the lying down position;
第一步骤是吊运步骤;The first step is the lifting step;
使8台运梁小车行驶至与梁场对应的辅轨机构上与梁场相对应的位置,8台运梁小车相互之间的相对位置与轨道机构的8处交叉处相互之间的相对位置相同;
使用梁场的龙门吊将用于建设上层桥梁的箱梁节段吊运至8台运梁小车上,箱梁节段的长度方向与下层桥梁的运梁方向相垂直;Use the gantry crane in the beam yard to hoist the box girder sections used for the construction of the upper bridge to 8 beam transport trolleys, and the length direction of the box girder section is perpendicular to the beam transport direction of the lower bridge;
第二步骤是上桥步骤;通过电控装置启动各运梁小车上的变频减速电机,驱动承载箱梁节段的各运梁小车同步启动并使各运梁小车运行至轨道机构的8处交叉处,此时各运梁小车的行走轮分别支撑于相应的交叉点位置的支撑块上;The second step is the step of going up the bridge; the variable frequency deceleration motor on each beam transporting trolley is started by the electronic control device, and each beam transporting trolley carrying the box girder segment is driven to start synchronously and make each beam transporting trolley run to the 8 intersections of the track mechanism. At this time, the traveling wheels of each beam transport trolley are respectively supported on the support blocks at the corresponding intersection positions;
第三步骤是临时支撑步骤;The third step is the temporary support step;
同步启动各旋转支撑机构的正反转变频电机,使正反转变频电机通过牵引绳拉动旋转支撑装置旋转升至竖直位置,此时各旋转支撑装置按压第一行程开关,同时各旋转支撑机构的复位弹簧均处于拉伸状态;旋转支撑装置按压第一行程开关后,电控装置控制相应的正反转变频电机停止,并控制相应的旋转支撑装置的伸出杆向上伸出,使承重板向上顶压并承托箱梁节段;Synchronously start the forward and reverse frequency conversion motors of each rotating support mechanism, so that the forward and reverse frequency conversion motors pull the rotating support device through the traction rope to rotate to the vertical position. At this time, each rotating support device presses the first travel switch, and each rotating support mechanism The return springs are all in a stretched state; after the rotary support device presses the first travel switch, the electronic control device controls the corresponding forward and reverse frequency conversion motors to stop, and controls the extension rod of the corresponding rotary support device to extend upward, so that the bearing plate Press up and support the box girder segment;
第四步骤是运梁小车换轨步骤;The fourth step is the rail-changing step of the beam-carrying trolley;
电控装置控制运梁小车的顶推装置的顶推杆向下收回,此时箱梁节段由各旋转支撑机构支撑,运梁小车处于自由状态;操作人员转动各运梁小车,使各运梁小车的行走轮与下层桥梁上的相应支撑轨道相对应;The electric control device controls the jacking rod of the beam transporting trolley to retract downward. At this time, the box girder sections are supported by each rotating support mechanism, and the beam transporting trolley is in a free state; the operator turns each beam transporting trolley to make each transporting trolley move. The walking wheels of the beam trolley correspond to the corresponding support rails on the lower bridge;
第五步骤是解除临时支撑步骤;The fifth step is to release the temporary support step;
电控装置控制运梁小车的顶推装置的顶推杆向上伸出,使支撑板向上顶压并承托箱梁节段;The electric control device controls the jacking rod of the jacking device of the beam transport trolley to extend upward, so that the support plate is pressed upward and supports the box girder segment;
然后电控装置控制各旋转支撑机构的正反转变频电机反转,在各复位弹簧的拉力作用下,各旋转支撑装置旋转至卧倒位置,在此过程中通过控制正反转变频电机的转速控制旋转支撑装置旋转卧倒的速度;Then, the electronic control device controls the forward and reverse frequency conversion motors of each rotating support mechanism to reverse, and under the pulling force of each return spring, each rotating support device rotates to the lying down position. During this process, by controlling the speed of the forward and reverse frequency conversion motors Control the speed at which the rotating support device rotates to lie down;
旋转支撑装置按压第二行程开关后,电控装置控制相应的正反转变频电机停止,完成解除临时支撑步骤;After the rotary support device presses the second travel switch, the electric control device controls the corresponding forward and reverse frequency conversion motors to stop, completing the step of releasing the temporary support;
第六步骤是运梁步骤;工作人员通过电控装置控制各运梁小车同步运行,将箱梁节段沿下层桥面输送至施工位置;The sixth step is the step of transporting beams; the staff controls the synchronous operation of each beam transporting trolley through the electronic control device, and transports the box girder segments along the lower deck to the construction position;
第七步骤是运梁小车返回步骤;The seventh step is the return step of the beam transport trolley;
箱梁节段在施工位置被施工机械吊起后,工作人员通过电控装置控制各运梁小车返回轨道机构的8处交叉处;After the box girder section is lifted by the construction machinery at the construction position, the staff controls the beam transport trolleys to return to the 8 intersections of the track mechanism through the electronic control device;
然后操作人员转动各运梁小车,使各运梁小车的行走轮与辅道上的相应支撑轨道相对应;Then the operator turns each beam transporting trolley to make the walking wheels of each beam transporting trolley correspond to the corresponding support rails on the auxiliary road;
电控装置控制各运梁小车上的变频减速电机,驱动各运梁小车同步运行至辅轨机构上与梁场相对应的位置;The electronic control device controls the frequency conversion deceleration motor on each beam transporting trolley, and drives each beam transporting trolley to run synchronously to the position corresponding to the beam field on the auxiliary rail mechanism;
重复进行第一至第七步骤,不断将箱梁节段运送至施工位置。Repeat the first to seventh steps to continuously transport the box girder segments to the construction site.
在第一步骤中,将箱梁节段吊装至各运梁小车上前,工作人员通过电控装置控制各运梁小车上的顶推装置,调节各顶推装置的顶推杆的上下伸缩位置,使各运梁小车的顶推装置的支撑板处于同一水平位置;In the first step, before hoisting the box girder segments to each beam transporting trolley, the staff controls the jacking device on each beam transporting trolley through the electronic control device, and adjusts the up and down telescopic position of the jacking rod of each jacking device , so that the support plates of the jacking devices of each beam transporting trolley are in the same horizontal position;
在待运输的箱梁节段吊装至各运梁小车上后,工作人员通过电控装置控制顶推装置,调节各顶推装置的顶推杆的上下伸缩位置,使各运梁小车的顶推装置的支撑板均与箱梁节段相顶压;After the box girder sections to be transported are hoisted to each beam transport trolley, the staff controls the jacking device through the electronic control device, and adjusts the up and down telescopic position of the jacking rod of each jacking device, so that the jacking of each beam transport trolley can be adjusted. The support plates of the device are pressed against the box girder segments;
在第二步骤、第六步骤和第七步骤中,工作人员通过电控装置同步控制各运梁小车的变频减速电机的工作频率,从而将各运梁小车的运行速度同步调节至预定速度,使各运梁小车以相同的速度运行。In the second, sixth and seventh steps, the staff synchronously controls the working frequency of the variable frequency deceleration motor of each beam transporting trolley through the electronic control device, so as to synchronously adjust the running speed of each beam transporting trolley to the predetermined speed, so that the Each beam transport trolley runs at the same speed.
在第四步骤即运梁小车换轨步骤中,在操作人员转动各运梁小车之前,通过电控装置控制各运梁小车的转轨支撑装置,使转轨支撑装置的伸出杆向下伸出,使支撑盘支撑于下层桥面上;继续使转轨支撑装置的伸出杆向下伸出,从而使转轨支撑装置向上顶压运梁小车的车架,直到运梁小车的各行走轮向上离开支撑块;In the fourth step, that is, the rail-changing step of the beam-carrying trolley, before the operator rotates each beam-carrying trolley, the electronic control device controls the rail-transporting support device of each beam-transporting trolley, so that the extension rod of the rail-transporting support device extends downwards. Make the support plate support on the lower bridge deck; continue to extend the extension rod of the swivel support device downward, so that the swivel support device pushes the frame of the beam transporting trolley upwards until the traveling wheels of the beam transporting trolley leave the support upwards. piece;
然后操作人员手动转动各运梁小车,使各运梁小车的车架及支撑槽绕转动盘旋转,直到各运梁小车的行走轮与第一至第四轨道机构的上的相应支撑轨道相对应。Then the operator manually rotates each beam transporting trolley, so that the frame and support groove of each beam transporting trolley rotate around the rotating disc, until the traveling wheels of each beam transporting trolley correspond to the corresponding supporting rails on the first to fourth track mechanisms .
在第七步骤即运梁小车返回步骤中,在操作人员转动各运梁小车之前,通过电控装置控制各运梁小车的转轨支撑装置,使转轨支撑装置的伸出杆向下伸出,使支撑盘支撑于下层桥面上;继续使转轨支撑装置的伸出杆向下伸出,从而使转轨支撑装置向上顶压运梁小车的车架,直到运梁小车的各行走轮向上离开支撑块;In the seventh step, that is, the return step of the beam transporting trolley, before the operator rotates each beam transporting trolley, the electronic control device controls the rail shifting support device of each beam transporting trolley, so that the extension rod of the shifting rail supporting device extends downward, so that the The support plate is supported on the lower bridge deck; continue to extend the extension rod of the rail transfer support device downward, so that the rail transfer support device pushes the frame of the beam transport trolley upwards until the traveling wheels of the beam transport trolley leave the support block upward. ;
然后操作人员手动转动各运梁小车,使各运梁小车的车架及支撑槽绕转动盘旋转,直到各运梁小车的行走轮与第五和第六轨道机构的相应支撑轨道相对应。Then the operator manually rotates each beam transporting trolley to make the frame and support groove of each beam transporting trolley rotate around the rotating disk until the traveling wheels of each beam transporting trolley correspond to the corresponding supporting rails of the fifth and sixth track mechanisms.
本发明具有如下的优点:The present invention has the following advantages:
本发明中,相交叉的两条支撑轨道在交叉处设有断口,断口以及其内支撑块等结构的设置,如支撑块的四条边与其正对的支撑轨道之间分别具有间隙且间隙相同,该间隙小于等于运梁小车的行走轮的直径的四分之一,既便于运梁小车沿原所在轨道无障碍前进或后退,又便于运梁小车在支撑轨道的交叉处进行(90度)转轨。In the present invention, two intersecting support rails are provided with fractures at the intersection, and the fractures and the arrangement of structures such as inner support blocks, for example, there are gaps between the four sides of the support block and the supporting rails facing each other, and the gaps are the same, The gap is less than or equal to a quarter of the diameter of the traveling wheel of the beam transport trolley, which is not only convenient for the beam transport trolley to move forward or backward along the original track without obstacles, but also facilitates the beam transport trolley to perform (90 degree) rail transfer at the intersection of the support rails. .
本发明通过轨道机构将超长超重箱梁节段的重量沿下层桥梁和辅道的长度方向分布在下层桥梁上或辅道上,极大减小了轴载。本发明通过左幅桥面和右幅桥面同时承重,进一步成倍提高了现有下层桥梁运送箱梁节段的能力。本发明通过双幅桥承重和轨道分散轴载,保证了现有桥梁能够运送超长超重的箱梁节段,防止出现轴载过大、下层桥梁或辅道被压塌的现象,在保证运送安全的前提下实现了利用现有桥梁运送上层待建桥梁的箱梁节段。The invention distributes the weight of the super-long and super-heavy box girder segments on the lower-level bridge or the auxiliary road along the length direction of the lower-level bridge and the auxiliary road through the track mechanism, which greatly reduces the axle load. The present invention further doubles the capacity of the existing lower-level bridge to transport the box girder segments through the simultaneous load-bearing of the left bridge deck and the right bridge deck. The invention ensures that the existing bridge can transport the super-long and over-weight box girder segments through the double-width bridge bearing and the track dispersing the axle load, preventing the phenomenon that the axle load is too large, the lower bridge or the auxiliary road is crushed, and ensuring the safety of transportation. Under the premise of using the existing bridge to transport the box girder segment of the upper-level bridge to be built.
具体地,本发明通过第一至第四轨道机构,将以往轮子与桥面点接触的重量传递方式变更为轨道(具体是混凝土基础)与桥面线接触的重量传递方式。桥梁轴载指的是在橫桥向上一幅桥的横断面上桥梁的承重,本发明通过轨道承重的方式,在运送同样重量的箱梁节段时,将箱梁节段的重量通过各轨道机构分散到纵桥向(桥梁长度方向)的桥梁各处,极大减小了桥梁轴载(桥梁横断面上承受的重量),与左幅桥面和右幅桥面同时承重的特点一起,使得现有桥梁由以往不能运送超重箱梁节段变为能够运送超重箱梁节段,保证现有桥梁不被压坏、压塌。Specifically, the present invention uses the first to fourth rail mechanisms to change the conventional weight transmission method in which the wheel and the bridge deck are in point contact with the weight transmission method in which the rail (specifically, the concrete foundation) is in line contact with the bridge deck. The axle load of the bridge refers to the load-bearing of the bridge on the cross-section of a bridge on the upper side of the transverse bridge. The present invention adopts the method of rail load-bearing. When transporting box girder sections of the same weight, the weight of the box girder section is passed through each track. The mechanism is dispersed throughout the bridge in the longitudinal direction (the direction of the length of the bridge), which greatly reduces the axle load of the bridge (the weight on the cross section of the bridge). The existing bridges can be transported from overweight box girder sections to being able to transport overweight box girder sections, so as to ensure that the existing bridges are not crushed and collapsed.
左幅桥面轨道机构和右幅桥面轨道机构关于隔离带对称设置,可以使运输的箱梁节段的重量更均匀地分布于左幅桥面和右幅桥面上。The left bridge deck track mechanism and the right bridge deck track mechanism are symmetrically arranged with respect to the isolation belt, so that the weight of the transported box girder segments can be more evenly distributed on the left bridge deck and the right bridge deck.
顶推杆的设置,能够灵活调整各运梁小车的顶推装置的总高度,一方面能够调节被输送的箱梁节段与地面的高度、保证输送中的箱梁节段避开桥面设施,另一方面能够保证各运梁小车的顶推装置均与箱梁节段接触良好,使每一个运梁小车的顶推装置均起到良好的支撑作用。由于箱梁节段的底面可能并不绝对水平,因此将箱梁节段吊装至各运梁小车上后,各支撑板会根据其所接触的箱梁节段的底面的情况进行适应性旋转,保证支撑板与箱梁节段接触良好,避免支撑板与箱梁节段底面存在夹角而损坏支撑板或箱梁节段底面。The setting of the jacking rod can flexibly adjust the total height of the jacking device of each beam transport trolley. On the one hand, it can adjust the height of the conveyed box girder section and the ground, and ensure that the conveying box girder section avoids the bridge deck facilities. On the other hand, it can ensure that the jacking devices of each beam transporting trolley are in good contact with the box girder segments, so that the jacking devices of each beam transporting trolley can play a good supporting role. Since the bottom surface of the box girder segment may not be absolutely horizontal, after the box girder segment is hoisted to each beam transport trolley, each support plate will be adapted to rotate according to the bottom surface of the box girder segment it contacts, Ensure that the support plate is in good contact with the box girder segment, and avoid damage to the support plate or the bottom surface of the box girder segment due to the included angle between the support plate and the bottom surface of the box girder segment.
相比轨道直接铺设于桥面,混凝土基础的设置能够进一步减小桥面受到的压强。电动机通过传动机构与各行走轮传动连接,各行走轮均为主动轮,使运梁小车具有更好的运输能力。电控装置以无线通讯的方式控制各运梁小车的状态,既避免有线连接带来的绳缆繁杂的弊端,又能够控制所有的运梁小车协同运行。Compared with the track directly laid on the bridge deck, the setting of the concrete foundation can further reduce the pressure on the bridge deck. The motor is connected with each traveling wheel through a transmission mechanism, and each traveling wheel is a driving wheel, so that the beam transport trolley has better transportation capacity. The electronic control device controls the state of each beam transporting trolley by means of wireless communication, which not only avoids the disadvantages of complicated cables caused by wired connection, but also can control the coordinated operation of all beam transporting trolleys.
采用本发明的运梁方法,在建设好各轨道机构后,即可通过控制各运梁小车往返运行,方便地实现在现有桥梁上运送超长超重的箱梁节段,保证对于现有桥梁来说,运送过程中不会出现轴载突破50吨(即桥梁横桥向上的断面承重不超过50吨)的现象,突破现有技术中现有桥梁无法运送超长超重的箱梁节段的局限(否则轴载超出50吨后现有桥梁会被损坏甚至坍塌),极大提高运梁效率,保障桥上建桥工程的高效进行。By adopting the beam transporting method of the present invention, after each track mechanism is constructed, each beam transporting trolley can be controlled to run back and forth, so that the ultra-long and overweight box girder segments can be transported on the existing bridge conveniently, and the existing bridge can be ensured For example, during the transportation process, there will not be a phenomenon that the axle load exceeds 50 tons (that is, the load-bearing capacity of the upward cross-section of the bridge does not exceed 50 tons), which breaks through the existing bridges in the existing technology that cannot transport ultra-long and overweight box girder segments. (Otherwise, the existing bridge will be damaged or even collapsed when the axle load exceeds 50 tons), which greatly improves the efficiency of beam transport and ensures the efficient construction of the bridge on the bridge.
本发明通过双幅桥承重、利用轨道机构将箱梁节段的重量沿纵桥向分布等技术手段,大大提高了现有桥梁的承载能力,为运送超长超重的箱梁节段提供充足的运送空间和承载能力,保证轴载不超限,在确保安全的前提下大大提高了运梁效率。The present invention greatly improves the bearing capacity of the existing bridge through technical means such as double-width bridge load-bearing, utilizing the track mechanism to distribute the weight of the box girder segments along the longitudinal bridge direction, and provides sufficient transportation for the transport of super-long and over-weight box girder segments. Space and bearing capacity, ensure that the axle load does not exceed the limit, and greatly improve the efficiency of beam transport under the premise of ensuring safety.
通过旋转支撑机构,本发明能够方便地在支撑轨道的交叉处临时支撑被运输的箱梁节段,从而在运梁小车转轨时使运梁小车不承重,既方便转轨,又实现了转轨时箱梁节段不转动的技术效果,方便了箱梁节段的运输,降低了转轨所需要的能量。Through the rotating support mechanism, the present invention can conveniently temporarily support the transported box girder segments at the intersection of the supporting rails, so that the beam transporting trolley does not bear weight when the beam transporting trolley transfers the rails, which is convenient for the rail transfer and realizes the box girder during rail transfer. The technical effect of the non-rotating beam segment facilitates the transportation of the box girder segment and reduces the energy required for rail transition.
旋转支撑机构在需要时可以竖起来支撑箱梁节段,在不进行转轨作业时可以使旋转支撑装置,从而降低高度,大幅降低旋转支撑装置钩挂异物、干扰运梁小车或箱梁节段运行的概率。在进行转轨作业时,又可以方便地竖起旋转支撑装置,对箱梁节段进行临时支撑。The swivel support mechanism can stand up to support the box girder segment when needed, and can make the swivel support device when the rail transfer operation is not performed, thereby reducing the height and greatly reducing the swivel support device hooking foreign objects, interfering with the operation of the beam transport trolley or the box girder segment. The probability. During the rail transfer operation, the rotating support device can be erected conveniently to temporarily support the box girder segments.
转轨支撑装置等相关结构的设置,在将运梁小车向上顶离支撑轨道后,操作人员可以轻松地转动运梁小车,无须手动抬动运梁小车或者挪动运梁小车即可使运梁小车的行走轮与下层桥梁上的相应支撑轨道相对应,更为轻松快捷地完成转轨作业。The setting of the relevant structures such as the rail support device, after the beam transport trolley is pushed up and away from the support track, the operator can easily turn the beam transport trolley without manually lifting the beam transport trolley or moving the beam transport trolley to make the beam transport trolley move. The walking wheels correspond to the corresponding support rails on the lower bridge, which makes it easier and faster to complete the rail transition.
第一行程开关和第二行程开关使得电控装置能够精确控制正反转变频电机的启停,从而精确控制旋转支撑装置的旋转位置。The first limit switch and the second limit switch enable the electronic control device to precisely control the start and stop of the forward and reverse frequency conversion motors, so as to precisely control the rotation position of the rotary support device.
电控装置通过第二无线通讯模块与各被控装置相连接,便于操作人员携带电控装置跟随运梁小车进行移动,在移动中进行控制。The electronic control device is connected with each controlled device through the second wireless communication module, which is convenient for the operator to carry the electronic control device to follow the beam transport trolley to move, and to control during the movement.
采用本发明的桥上建桥安全节能运梁方法,运梁上桥的过程中无须转动被运送的箱梁节段即可实现运梁小车的转轨作业,十分方便快捷,节省了转动超重的箱梁节段所需要的能量,节省了专门建设运梁通道等所需要的材料和成本,不必为转动超长的箱梁节段而专门规划作业空间,不但能够提高施工效率,还具有显著的节能环保的作用,避免使用建设运梁通道带来的材料浪费和环境污染。By adopting the safe and energy-saving beam transporting method for bridge construction on the bridge of the present invention, the beam transporting trolley can realize the rail shifting operation without rotating the transported box girder segment during the transporting the beam onto the bridge, which is very convenient and quick, and saves the rotating overweight box The energy required by the beam section saves the materials and costs required for the special construction of beam transport channels, etc., and there is no need to specially plan the working space for the rotation of the ultra-long box girder section, which can not only improve the construction efficiency, but also have significant energy saving The effect of environmental protection is to avoid the waste of materials and environmental pollution caused by the construction of beam transport channels.
附图说明Description of drawings
图1是桥上建桥的梁场与现有桥梁的平面布置图(俯视方向);Figure 1 is the floor plan of the girder yard for bridge construction and the existing bridge (viewing direction);
图2是图1的B-B截面示意图;Fig. 2 is the B-B sectional schematic diagram of Fig. 1;
图3是运梁上桥转轨结构的结构示意图,即辅道与下层桥梁交汇处的结构示意图;Fig. 3 is the structural schematic diagram of the bridge transfer structure on the transport beam, that is, the structural schematic diagram of the intersection of the auxiliary road and the lower bridge;
图4是图3中A处的放大示意图,即轨道机构交叉处的放大示意图;Fig. 4 is the enlarged schematic diagram of the place A in Fig. 3, namely the enlarged schematic diagram of the intersection of the rail mechanism;
图5是旋转支撑装置处于卧倒位置时旋转支撑机构的结构示意图;Fig. 5 is the structural representation of the rotating support mechanism when the rotating support device is in the lying down position;
图6是旋转支撑装置处于竖直位置时旋转支撑机构的结构示意图;6 is a schematic structural diagram of the rotary support mechanism when the rotary support device is in a vertical position;
图7是运梁小车在轨道机构上的结构示意图;Fig. 7 is the structural representation of the beam transport trolley on the track mechanism;
图8是本发明的电控原理图;Fig. 8 is the electric control principle diagram of the present invention;
图9是第一至第四轨道机构在下层桥梁上的平面布置图;FIG. 9 is a plan layout view of the first to fourth track mechanisms on the lower bridge;
图10是第一至第六轨道机构的俯视结构示意图;10 is a schematic top view of the first to sixth track mechanisms;
图11是图10的A-A剖视图。FIG. 11 is a cross-sectional view taken along line AA of FIG. 10 .
具体实施方式Detailed ways
如图1至图11所示,本发明提供了一种桥上建桥安全节能运梁方法,通过桥上建桥运梁系统来进行。As shown in FIG. 1 to FIG. 11 , the present invention provides a method for safe and energy-saving beam transportation on a bridge, which is carried out through a bridge building and transportation system on the bridge.
现有桥梁为下层桥梁,新建桥梁为上层桥梁,桥上建桥运梁系统包括用于将箱梁节段9从梁场23运送到下层桥梁24上的转轨运梁结构,以及用于将箱梁节段9沿下层桥梁24运送至施工位置的沿桥运送结构;The existing bridge is the lower-level bridge, and the new bridge is the upper-level bridge. The bridge-building and transporting beam system on the bridge includes a rail-conveying beam structure for transporting the box girder segment 9 from the
下层桥梁24包括用于车辆对向行驶的左幅桥面3(即左幅桥的桥面)和右幅桥面4(即右幅桥的桥面),左幅桥面3和右幅桥面4之间具有隔离带2;The
转轨运梁结构包括所述下层桥梁24,下层桥梁24上沿下层桥梁24长度方向设有轨道机构;下层桥梁24一侧设有梁场23,梁场23的出梁端设有辅道25,辅道25连接梁场23与下层桥梁24;辅道25建设于下层桥梁24的较低位置处,优选建设于下层桥梁24与水平路面相接之处,此时辅道25中将不存在图2中所示的倾斜段。The rail transfer beam structure includes the
辅道25上设有辅轨机构,辅轨机构与轨道机构相交叉;下层桥梁24的轨道机构包括沿下层桥梁24的长度方向平行并排设置的第一至第四轨道机构5、6、7、8;An auxiliary rail mechanism is provided on the
辅道25上的辅轨机构包括平行并排设置的第五和第六轨道机构26、27;第五和第六轨道机构26、27分别与第一至第四轨道机构5、6、7、8相交叉并形成8处交叉处;The auxiliary rail mechanism on the
第一至第六轨道机构5、6、7、8、26、27均用于运梁小车1行驶;The first to
在下层桥梁24上以下层桥梁24的长度方向为前后方向,以运梁方向为前向;在辅道25上以辅道25的长度方向为前后方向,以运梁方向为前向;On the
各轨道机构(即第一至第六轨道机构)的结构均相同,均包括左轨机构和右轨机构;左轨机构和右轨机构的结构相同,均包括沿前后方向铺设的混凝土基础12,混凝土基础12顶部于左右方向的中部向上固定连接有支撑轨道13;支撑轨道13用于支撑运梁小车1;The structures of each track mechanism (ie, the first to sixth track mechanisms) are the same, including a left-rail mechanism and a right-rail mechanism; the left-rail mechanism and the right-rail mechanism have the same structure, including a
在各轨道机构的相交叉处,相交的两条轨道机构的混凝土基础12水平相接,支撑轨道13相交叉处于交叉点位置的混凝土基础12上设有正方形的支撑块28,支撑块28的边长与相交叉的两条支撑轨道13的顶部同宽;相交叉的两条支撑轨道13在交叉处设有断口29,支撑块28的四条边分别正对断口29一侧的支撑轨道13,支撑块28的四条边与其正对的支撑轨道13之间分别具有间隙且间隙相同,该间隙小于等于运梁小车1的行走轮16的直径的四分之一;At the intersection of each track mechanism, the
运梁小车1上分别设有用于支撑被运输的箱梁节段9的顶推装置21,顶推装置21的顶部高于隔离带2;顶推装置21具有能够上下伸缩的顶推杆10,顶推杆10的顶部铰接有用于支撑被运输的箱梁节段9的支撑板11;The beam transport trolley 1 is respectively provided with a pushing
沿桥运送结构包括所述第一至第四轨道机构5、6、7、8和所述运梁小车1;The transport structure along the bridge includes the first to
第一轨道机构5和第二轨道机构6设置在左幅桥面3上并组成左幅桥面3轨道机构,第三轨道机构7和第四轨道机构8设置在右幅桥面4上并组成右幅桥面4轨道机构;左幅桥面3轨道机构和右幅桥面4轨道机构关于隔离带2对称设置。The
运梁小车1包括水平设置的车架14,车架14四角处分别通过轮轴15安装有所述行走轮16,车架14上设有电动机17,电动机17通过传动机构与各行走轮16的轮轴15传动连接;车架14上设有设有所述顶推装置21顶推装置21的顶部高于隔离带2。The beam transporting trolley 1 includes a horizontally arranged
电动机17通过传动机构驱动行走轮16为常规结构,传动机构的具体结构不再详述。The motor 17 drives the traveling
各轨道相交叉处的下层桥面上设有旋转支撑机构30;A
旋转支撑机构30包括底板31,底板31上设有支架32,支架32一侧的底板31上设有正反转变频电机33,支架32另一侧的底板31上铰接有旋转支撑装置34,旋转支撑装置34为液压缸或电动推杆或气缸;旋转支撑装置34的伸出杆铰接有用于临时支撑的承重板35;The
正反转变频电机33的输出轴连接有牵引绳36,支架32顶部设有定滑轮37,牵引绳36绕过定滑轮37并与旋转支撑装置34的上部一侧相连接,旋转支撑装置34的上部另一侧连接有复位弹簧38,复位弹簧38与底板31相连接。The output shaft of the forward and reverse
支架32与旋转支撑装置34相邻的一侧设有第一行程开关39,底板31上设有与旋转支撑装置34相对应的第二行程开关40;A
旋转支撑装置34具有卧倒位置和竖直位置;旋转支撑装置34处于卧倒位置时按压所述第二行程开关40,此时复位弹簧38处于舒张状态或被压缩的状态;旋转支撑装置34处于卧倒位置时低于运梁小车1所运送的箱梁节段9;The
旋转支撑装置34处于竖直位置时按压第一行程开关39,此时复位弹簧38处于拉伸状态,且承重板35正对上方;旋转支撑装置34处于竖直位置且其伸出杆处于收缩状态时,承重板35低于运梁小车1所运送的箱梁节段9。When the
第一行程开关39和第二行程开关40均优选采用按压式行程开关,也可以采用带按钮杆的行程开关,均为现有技术,具体结构不再赘述。Both the
运梁小车1的车架14中部向下连接有底部开口的支撑槽41,支撑槽41的内侧槽壁通过轴承42转动连接有转动盘43,转动盘43与支撑槽41的下侧壁滑动配合,因而支撑槽41的下侧壁能够向上支撑转动盘43;转动盘43的中部向下连接有转轨支撑装置44,转轨支撑装置44为液压缸或电动推杆或气缸;转轨支撑装置44具有伸出杆,转轨支撑装置44的伸出杆向下伸出并连接有支撑于轨道机构的交叉处的下层桥面上的支撑盘45,运梁小车1的重心位于转轨支撑装置44的正上方。The middle of the
转轨支撑装置44等相关结构的设置,在将运梁小车1向上顶离支撑轨道13后,操作人员可以轻松地转动运梁小车1,无须手动抬动运梁小车1或者挪动运梁小车1即可使运梁小车1的行走轮16与下层桥梁24上的相应支撑轨道13相对应,更为轻松快捷地完成转轨作业。With the arrangement of the related structures such as the rail shifting
各运梁小车1上的电动机17采用变频减速电机;各运梁小车1上均设有第一无线通讯模块18;在运梁小车1外设有可移动的电控装置19,电控装置19连接有蓄电池22和第二无线通讯模块20;转轨支撑装置44、旋转支撑装置34、正反转变频电机33、第一行程开关39和第二行程开关40均与第三无线通讯模块46相连接;所述电控装置19优选采用PLC,也可以采用集成电路、笔记本式计算机等形式。第一无线通讯模块18、第二无线通讯模块20和第三无线通讯模块46可以采用wifi模块、蓝牙模块和zigbee模块等等,优选采用zigbee模块。The motor 17 on each beam transporting trolley 1 adopts a variable frequency deceleration motor; each beam transporting trolley 1 is provided with a first wireless communication module 18; The battery 22 and the second wireless communication module 20 are connected; the rail shifting
各运梁小车1上的电动机17和顶推装置21均与第一无线通讯模块18相连接,第三无线通讯模块46和各运梁小车1上的第一无线通讯模块18分别通过第二无线通讯模块20与电控装置19相连接。The motor 17 and the pushing
所述顶推装置21、转轨支撑装置44和旋转支撑装置34均为电动推杆或液压缸或气缸。采用液压缸时,相应的液压机构包括液压泵站和液压缸,液压缸通过管路与液压泵站中的控制阀组(电磁阀组)相连接,电控装置19通过第二无线通讯装置与液压泵站中的液压泵和控制阀组相连接。The pushing
本发明的桥上建桥安全节能运梁方法按以下步骤进行:The safety and energy-saving beam transportation method for bridge construction on the bridge of the present invention is carried out according to the following steps:
梁场23设置有龙门吊;初始状态下旋转支撑装置34处于卧倒位置;The
第一步骤是吊运步骤;The first step is the lifting step;
使8台运梁小车1行驶至与梁场23对应的辅轨机构上与梁场23相对应的位置,8台运梁小车1相互之间的相对位置与轨道机构的8处交叉处相互之间的相对位置相同;Make the eight beam transporting trolleys 1 drive to the position corresponding to the
使用梁场23的龙门吊将用于建设上层桥梁的箱梁节段9吊运至8台运梁小车1上,箱梁节段9的长度方向(箱梁节段9的长度方向为上层桥梁的宽度方向)与下层桥梁24的运梁方向相垂直;Use the gantry crane of the
第二步骤是上桥步骤;通过电控装置19启动各运梁小车1上的变频减速电机,驱动承载箱梁节段9的各运梁小车1同步启动并使各运梁小车1运行至轨道机构的8处交叉处,此时各运梁小车1的行走轮16分别支撑于相应的交叉点位置的支撑块28上;The second step is the step of going to the bridge; the frequency conversion deceleration motor on each beam transporting trolley 1 is activated by the electronic control device 19, and each beam transporting trolley 1 carrying the box girder segment 9 is driven to start synchronously and make each beam transporting trolley 1 run to the track. At the 8 intersections of the mechanism, the traveling
第三步骤是临时支撑步骤;The third step is the temporary support step;
同步启动各旋转支撑机构30的正反转变频电机33,使正反转变频电机33通过牵引绳36拉动旋转支撑装置34旋转升至竖直位置,此时各旋转支撑装置34按压第一行程开关39,同时各旋转支撑机构30的复位弹簧38均处于拉伸状态;旋转支撑装置34按压第一行程开关39后,电控装置19控制相应的正反转变频电机33停止,并控制相应的旋转支撑装置34的伸出杆向上伸出,使承重板35向上顶压并承托箱梁节段9;The forward and reverse
第四步骤是运梁小车1换轨步骤;The fourth step is the rail change step of the beam transport trolley 1;
电控装置19控制运梁小车1的顶推装置21的顶推杆10向下收回,此时箱梁节段9由各旋转支撑机构30支撑,运梁小车1处于自由状态;操作人员转动各运梁小车1,使各运梁小车1的行走轮16与下层桥梁24上的相应支撑轨道13相对应;The electric control device 19 controls the
第五步骤是解除临时支撑步骤;The fifth step is to release the temporary support step;
电控装置19控制运梁小车1的顶推装置21的顶推杆10向上伸出,使支撑板11向上顶压并承托箱梁节段9;The electric control device 19 controls the
然后电控装置19控制各旋转支撑机构30的正反转变频电机33反转,在各复位弹簧38的拉力作用下,各旋转支撑装置34旋转至卧倒位置,在此过程中通过控制正反转变频电机33的转速控制旋转支撑装置34旋转卧倒的速度;Then, the electric control device 19 controls the forward and reverse
旋转支撑装置34按压第二行程开关40后,电控装置19控制相应的正反转变频电机33停止,完成解除临时支撑步骤;After the
第六步骤是运梁步骤;工作人员通过电控装置19控制各运梁小车1同步运行,将箱梁节段9沿下层桥面输送至施工位置;The sixth step is the beam transporting step; the staff controls the synchronous operation of each beam transporting trolley 1 through the electronic control device 19, and transports the box girder segment 9 along the lower deck to the construction position;
第七步骤是运梁小车1返回步骤;The seventh step is the return step of the beam transport trolley 1;
箱梁节段9在施工位置被施工机械吊起后,工作人员通过电控装置19控制各运梁小车1返回轨道机构的8处交叉处;After the box girder segment 9 is lifted by the construction machine at the construction position, the staff controls each beam transport trolley 1 to return to the 8 intersections of the track mechanism through the electronic control device 19;
然后操作人员转动各运梁小车1,使各运梁小车1的行走轮16与辅道25上的相应支撑轨道13相对应;Then the operator rotates each beam transporting trolley 1, so that the traveling
电控装置19控制各运梁小车1上的变频减速电机,驱动各运梁小车1同步运行至辅轨机构上与梁场23相对应的位置;The electronic control device 19 controls the frequency conversion deceleration motor on each beam transporting trolley 1, and drives each beam transporting trolley 1 to run synchronously to the position corresponding to the
重复进行第一至第七步骤,不断将箱梁节段9运送至施工位置。The first to seventh steps are repeated, and the box girder segment 9 is continuously transported to the construction site.
箱梁节段9的长度方向与下层桥梁24的运梁方向相垂直,箱梁节段9的长度方向就是上层桥梁的宽度方向,便于箱梁节段9同时跨在对向行驶的双幅桥面上进行运送,从而便于超重的箱梁节段9的重量由对向行驶的双幅桥面共同承担,使下层桥梁24的运载承重能力得以翻倍。The length direction of the box girder section 9 is perpendicular to the beam transport direction of the
工作人员通过电控装置19同步控制各运梁小车1的变频减速电机的工作频率,从而将各运梁小车1的运行速度同步调节至预定速度,使各运梁小车1以相同的速度运行。The staff synchronously controls the working frequency of the variable frequency deceleration motor of each beam transporting trolley 1 through the electronic control device 19, so as to synchronously adjust the running speed of each beam transporting trolley 1 to a predetermined speed, so that each beam transporting trolley 1 runs at the same speed.
在第一步骤中,将箱梁节段9吊装至各运梁小车1上前,工作人员通过电控装置19控制各运梁小车1上的顶推装置21,调节各顶推装置21的顶推杆10的上下伸缩位置,使各运梁小车1的顶推装置21的支撑板11处于同一水平位置;In the first step, the box girder segment 9 is hoisted before each beam transporting trolley 1, and the staff controls the jacking
在待运输的箱梁节段9吊装至各运梁小车1上后,工作人员通过电控装置19控制顶推装置21,调节各顶推装置21的顶推杆10的上下伸缩位置,使各运梁小车1的顶推装置21的支撑板11均与箱梁节段9相顶压;After the box girder segments 9 to be transported are hoisted onto the beam transport trolleys 1, the staff controls the jacking
在第二步骤、第六步骤和第七步骤中,工作人员通过电控装置19同步控制各运梁小车1的变频减速电机的工作频率,从而将各运梁小车1的运行速度同步调节至预定速度,使各运梁小车1以相同的速度运行。In the second, sixth and seventh steps, the staff synchronously controls the working frequency of the variable frequency deceleration motor of each beam transporting trolley 1 through the electronic control device 19, so as to synchronously adjust the running speed of each beam transporting trolley 1 to a predetermined level speed, so that each beam transport trolley 1 runs at the same speed.
在第四步骤即运梁小车1换轨步骤中,在操作人员转动各运梁小车1之前,通过电控装置19控制各运梁小车1的转轨支撑装置44,使转轨支撑装置44的伸出杆向下伸出,使支撑盘45支撑于下层桥面上;继续使转轨支撑装置44的伸出杆向下伸出,从而使转轨支撑装置44向上顶压运梁小车1的车架14,直到运梁小车1的各行走轮16向上离开支撑块28;In the fourth step, that is, the rail changing step of the beam transporting trolley 1, before the operator rotates each beam transporting trolley 1, the electronic control device 19 controls the rail shifting supporting
然后操作人员手动转动各运梁小车1,使各运梁小车1的车架14及支撑槽41绕转动盘43旋转,直到各运梁小车1的行走轮16与第一至第四轨道机构5、6、7、8的上的相应支撑轨道13相对应。Then the operator manually rotates each beam transporting trolley 1, so that the
在第七步骤即运梁小车1返回步骤中,在操作人员转动各运梁小车1之前,通过电控装置19控制各运梁小车1的转轨支撑装置44,使转轨支撑装置44的伸出杆向下伸出,使支撑盘45支撑于下层桥面上;继续使转轨支撑装置44的伸出杆向下伸出,从而使转轨支撑装置44向上顶压运梁小车1的车架14,直到运梁小车1的各行走轮16向上离开支撑块28;In the seventh step, that is, the step of returning the beam transporting trolley 1, before the operator rotates each beam transporting trolley 1, the electronic control device 19 controls the rail shifting
然后操作人员手动转动各运梁小车1,使各运梁小车1的车架14及支撑槽41绕转动盘43旋转,直到各运梁小车1的行走轮16与第五和第六轨道机构26、27的相应支撑轨道13相对应。Then the operator manually rotates each beam transporting trolley 1, so that the
由于箱梁节段9的底面可能并不绝对水平,因此将箱梁节段9吊装至各运梁小车1上后,各支撑板11会根据其所接触的箱梁节段9的底面的情况进行适应性旋转,保证支撑板11与箱梁节段9接触良好,避免支撑板11与箱梁节段9底面存在夹角而损坏支撑板11或箱梁节段9底面。此时,有些支撑板11与箱梁节段9之间可能接触不够紧密,此时调节各顶推装置21的顶推杆10的上下伸缩位置,使各运梁小车1的顶推装置21的支撑板11均与箱梁节段9相顶压,能够保证各运梁小车1的顶推装置21均起到良好的支撑作用。Since the bottom surface of the box girder segment 9 may not be absolutely horizontal, after the box girder segment 9 is hoisted to each beam transport trolley 1, each support plate 11 will be in contact with the bottom surface of the box girder segment 9 according to the condition of the Adaptive rotation is performed to ensure good contact between the support plate 11 and the box girder segment 9 to avoid damage to the support plate 11 or the bottom surface of the box girder segment 9 due to the included angle between the support plate 11 and the bottom surface of the box girder segment 9 . At this time, the contact between some support plates 11 and the box girder segment 9 may not be close enough. At this time, adjust the up and down telescopic positions of the
以上实施例仅用以说明而非限制本发明的技术方案,尽管参照上述实施例对本发明进行了详细说明,本领域的普通技术人员应当理解:依然可以对本发明进行修改或者等同替换,而不脱离本发明的精神和范围的任何修改或局部替换,其均应涵盖在本发明的权利要求范围当中。The above embodiments are only used to illustrate rather than limit the technical solutions of the present invention. Although the present invention has been described in detail with reference to the above embodiments, those of ordinary skill in the art should understand that the present invention can still be modified or equivalently replaced without departing from the Any modification or partial replacement of the spirit and scope of the present invention should be included in the scope of the claims of the present invention.
Claims (4)
Priority Applications (1)
| Application Number | Priority Date | Filing Date | Title |
|---|---|---|---|
| CN201911074117.3A CN110804950B (en) | 2019-11-06 | 2019-11-06 | Safe and energy-saving beam transporting method for building bridge on bridge |
Applications Claiming Priority (1)
| Application Number | Priority Date | Filing Date | Title |
|---|---|---|---|
| CN201911074117.3A CN110804950B (en) | 2019-11-06 | 2019-11-06 | Safe and energy-saving beam transporting method for building bridge on bridge |
Publications (2)
| Publication Number | Publication Date |
|---|---|
| CN110804950A true CN110804950A (en) | 2020-02-18 |
| CN110804950B CN110804950B (en) | 2022-01-25 |
Family
ID=69501351
Family Applications (1)
| Application Number | Title | Priority Date | Filing Date |
|---|---|---|---|
| CN201911074117.3A Active CN110804950B (en) | 2019-11-06 | 2019-11-06 | Safe and energy-saving beam transporting method for building bridge on bridge |
Country Status (1)
| Country | Link |
|---|---|
| CN (1) | CN110804950B (en) |
Citations (12)
| Publication number | Priority date | Publication date | Assignee | Title |
|---|---|---|---|---|
| JPH05137213A (en) * | 1991-10-23 | 1993-06-01 | Shinko Electric Co Ltd | Magnetic levitation conveyor |
| CN1799983A (en) * | 2005-09-29 | 2006-07-12 | 上海市第二市政工程有限公司 | Method for kingsize gate-type crane translational transfer and its rotary device |
| CN201144394Y (en) * | 2007-12-27 | 2008-11-05 | 中铁四局集团有限公司 | Large-scale girder steel shifting device |
| CN101348210A (en) * | 2008-07-15 | 2009-01-21 | 三一集团有限公司 | Track transition device, track transition connection device, transition system and method |
| US20110006026A1 (en) * | 2009-07-13 | 2011-01-13 | Samsung Electronics Co., Ltd. | Intersection navigation system |
| CN102041780A (en) * | 2010-12-31 | 2011-05-04 | 中铁港航工程局有限公司 | Moving beam trolley and method for horizontally and vertically moving beams using same |
| CN201825652U (en) * | 2010-10-22 | 2011-05-11 | 湖南中铁五新重工有限公司 | Cart running and steering mechanism of beam hoisting machine |
| CN102561217A (en) * | 2011-12-19 | 2012-07-11 | 郑州新大方重工科技有限公司 | Old bridge transformation construction control method based on modular hydraulic lifting power flat car |
| FR2971836A1 (en) * | 2011-02-18 | 2012-08-24 | Tenesol | Structure for assembling photovoltaic panel on roof frame of building, has lateral pair of fixation walls carried by base of rail at distance, along transversal direction, from maintenance part for fixing crosspiece with rail |
| CN102677633A (en) * | 2012-05-15 | 2012-09-19 | 中国葛洲坝集团股份有限公司 | Hanging and steering device and method for prefabricated straining beam of U-shaped aqueduct |
| CN107284331A (en) * | 2017-07-12 | 2017-10-24 | 中铁二局集团有限公司 | The beam car of two-way fortune beam on a kind of asymmetric whole opening box girder beam of achievable large-tonnage |
| CN206680871U (en) * | 2017-03-03 | 2017-11-28 | 中交一公局第一工程有限公司 | Boom device is transported on a kind of four rail beams |
-
2019
- 2019-11-06 CN CN201911074117.3A patent/CN110804950B/en active Active
Patent Citations (12)
| Publication number | Priority date | Publication date | Assignee | Title |
|---|---|---|---|---|
| JPH05137213A (en) * | 1991-10-23 | 1993-06-01 | Shinko Electric Co Ltd | Magnetic levitation conveyor |
| CN1799983A (en) * | 2005-09-29 | 2006-07-12 | 上海市第二市政工程有限公司 | Method for kingsize gate-type crane translational transfer and its rotary device |
| CN201144394Y (en) * | 2007-12-27 | 2008-11-05 | 中铁四局集团有限公司 | Large-scale girder steel shifting device |
| CN101348210A (en) * | 2008-07-15 | 2009-01-21 | 三一集团有限公司 | Track transition device, track transition connection device, transition system and method |
| US20110006026A1 (en) * | 2009-07-13 | 2011-01-13 | Samsung Electronics Co., Ltd. | Intersection navigation system |
| CN201825652U (en) * | 2010-10-22 | 2011-05-11 | 湖南中铁五新重工有限公司 | Cart running and steering mechanism of beam hoisting machine |
| CN102041780A (en) * | 2010-12-31 | 2011-05-04 | 中铁港航工程局有限公司 | Moving beam trolley and method for horizontally and vertically moving beams using same |
| FR2971836A1 (en) * | 2011-02-18 | 2012-08-24 | Tenesol | Structure for assembling photovoltaic panel on roof frame of building, has lateral pair of fixation walls carried by base of rail at distance, along transversal direction, from maintenance part for fixing crosspiece with rail |
| CN102561217A (en) * | 2011-12-19 | 2012-07-11 | 郑州新大方重工科技有限公司 | Old bridge transformation construction control method based on modular hydraulic lifting power flat car |
| CN102677633A (en) * | 2012-05-15 | 2012-09-19 | 中国葛洲坝集团股份有限公司 | Hanging and steering device and method for prefabricated straining beam of U-shaped aqueduct |
| CN206680871U (en) * | 2017-03-03 | 2017-11-28 | 中交一公局第一工程有限公司 | Boom device is transported on a kind of four rail beams |
| CN107284331A (en) * | 2017-07-12 | 2017-10-24 | 中铁二局集团有限公司 | The beam car of two-way fortune beam on a kind of asymmetric whole opening box girder beam of achievable large-tonnage |
Also Published As
| Publication number | Publication date |
|---|---|
| CN110804950B (en) | 2022-01-25 |
Similar Documents
| Publication | Publication Date | Title |
|---|---|---|
| CN107640706B (en) | Hoisting equipment and construction method thereof | |
| CN106638185B (en) | A kind of traveling process becomes automatically across track-laying machine and application method | |
| CN207657817U (en) | rail retractable train | |
| CN201190254Y (en) | Double variable span multipurpose track laying machine and | |
| CN212388270U (en) | Dual-purpose track laying machine for highway and railway of urban rail transit engineering | |
| CN106968179B (en) | A kind of constructing device that Cast-in-situ Beam is carried out using self-propelled entirety falsework method | |
| CN103726421B (en) | Height and span adjustable track paver for metro construction | |
| WO2018076836A1 (en) | Aerial railway-based multimodal transport interconnecting system | |
| CN1311134C (en) | Down beam type bridge-erecting machine and bridge erecting method thereof | |
| CN110655015A (en) | Trackless self-propelled platform car for subway tunnel maintenance | |
| CN104343263A (en) | Rotary lifting type three-dimensional garage | |
| CN102633194A (en) | Railway crane for high-speed railway rescue and construction | |
| CN114715797A (en) | A track plate replacement device and system | |
| CN211256692U (en) | Transport beam structure of newly-built upper bridge on current bridge | |
| CN211256693U (en) | Transit structure of the bridge on the transport beam | |
| CN111719358A (en) | A dual-purpose track laying machine for urban rail transit engineering and its use method | |
| CN108004930A (en) | The construction method of vertical shift bowstring arch bridge | |
| CN203977424U (en) | The multidirectional moving cloth machine of a kind of slope climbing type | |
| CN104370217B (en) | Portal crane for paving bridge decks | |
| CN101104499B (en) | Tyre gantry crane | |
| CN202657865U (en) | Railway crane used for high speed railway and track traffic overline work | |
| CN100395411C (en) | Walking box girder bridge erecting machine | |
| CN114808567A (en) | Railway line component replacement gantry crane device and operation method thereof | |
| CN110804950B (en) | Safe and energy-saving beam transporting method for building bridge on bridge | |
| CN205418901U (en) | Prefab conveyer |
Legal Events
| Date | Code | Title | Description |
|---|---|---|---|
| PB01 | Publication | ||
| PB01 | Publication | ||
| SE01 | Entry into force of request for substantive examination | ||
| SE01 | Entry into force of request for substantive examination | ||
| GR01 | Patent grant | ||
| GR01 | Patent grant | ||
| TR01 | Transfer of patent right | ||
| TR01 | Transfer of patent right |
Effective date of registration: 20241225 Address after: 450000 No.1 Youai Road, Zhongyuan District, Zhengzhou City, Henan Province Patentee after: Zhengzhou Municipal Group Co.,Ltd. Country or region after: China Address before: 450000 No.1 Youai Road, Zhongyuan District, Zhengzhou City, Henan Province Patentee before: ZHENGZHOU CITY MUNICIPAL ENGINEERING Corp. Country or region before: China |
