CN110788676A - Woodworking drill processing equipment - Google Patents
Woodworking drill processing equipment Download PDFInfo
- Publication number
- CN110788676A CN110788676A CN201911208494.1A CN201911208494A CN110788676A CN 110788676 A CN110788676 A CN 110788676A CN 201911208494 A CN201911208494 A CN 201911208494A CN 110788676 A CN110788676 A CN 110788676A
- Authority
- CN
- China
- Prior art keywords
- woodworking
- clamping device
- woodworking drill
- feeding
- longitudinal
- Prior art date
- Legal status (The legal status is an assumption and is not a legal conclusion. Google has not performed a legal analysis and makes no representation as to the accuracy of the status listed.)
- Pending
Links
Images
Classifications
-
- B—PERFORMING OPERATIONS; TRANSPORTING
- B24—GRINDING; POLISHING
- B24B—MACHINES, DEVICES, OR PROCESSES FOR GRINDING OR POLISHING; DRESSING OR CONDITIONING OF ABRADING SURFACES; FEEDING OF GRINDING, POLISHING, OR LAPPING AGENTS
- B24B3/00—Sharpening cutting edges, e.g. of tools; Accessories therefor, e.g. for holding the tools
- B24B3/24—Sharpening cutting edges, e.g. of tools; Accessories therefor, e.g. for holding the tools of drills
-
- B—PERFORMING OPERATIONS; TRANSPORTING
- B24—GRINDING; POLISHING
- B24B—MACHINES, DEVICES, OR PROCESSES FOR GRINDING OR POLISHING; DRESSING OR CONDITIONING OF ABRADING SURFACES; FEEDING OF GRINDING, POLISHING, OR LAPPING AGENTS
- B24B27/00—Other grinding machines or devices
- B24B27/0076—Other grinding machines or devices grinding machines comprising two or more grinding tools
-
- B—PERFORMING OPERATIONS; TRANSPORTING
- B24—GRINDING; POLISHING
- B24B—MACHINES, DEVICES, OR PROCESSES FOR GRINDING OR POLISHING; DRESSING OR CONDITIONING OF ABRADING SURFACES; FEEDING OF GRINDING, POLISHING, OR LAPPING AGENTS
- B24B41/00—Component parts such as frames, beds, carriages, headstocks
- B24B41/005—Feeding or manipulating devices specially adapted to grinding machines
-
- B—PERFORMING OPERATIONS; TRANSPORTING
- B24—GRINDING; POLISHING
- B24B—MACHINES, DEVICES, OR PROCESSES FOR GRINDING OR POLISHING; DRESSING OR CONDITIONING OF ABRADING SURFACES; FEEDING OF GRINDING, POLISHING, OR LAPPING AGENTS
- B24B41/00—Component parts such as frames, beds, carriages, headstocks
- B24B41/06—Work supports, e.g. adjustable steadies
-
- B—PERFORMING OPERATIONS; TRANSPORTING
- B24—GRINDING; POLISHING
- B24B—MACHINES, DEVICES, OR PROCESSES FOR GRINDING OR POLISHING; DRESSING OR CONDITIONING OF ABRADING SURFACES; FEEDING OF GRINDING, POLISHING, OR LAPPING AGENTS
- B24B53/00—Devices or means for dressing or conditioning abrasive surfaces
- B24B53/06—Devices or means for dressing or conditioning abrasive surfaces of profiled abrasive wheels
-
- B—PERFORMING OPERATIONS; TRANSPORTING
- B24—GRINDING; POLISHING
- B24B—MACHINES, DEVICES, OR PROCESSES FOR GRINDING OR POLISHING; DRESSING OR CONDITIONING OF ABRADING SURFACES; FEEDING OF GRINDING, POLISHING, OR LAPPING AGENTS
- B24B9/00—Machines or devices designed for grinding edges or bevels on work or for removing burrs; Accessories therefor
- B24B9/02—Machines or devices designed for grinding edges or bevels on work or for removing burrs; Accessories therefor characterised by a special design with respect to properties of materials specific to articles to be ground
- B24B9/04—Machines or devices designed for grinding edges or bevels on work or for removing burrs; Accessories therefor characterised by a special design with respect to properties of materials specific to articles to be ground of metal, e.g. skate blades
Landscapes
- Engineering & Computer Science (AREA)
- Mechanical Engineering (AREA)
- Finish Polishing, Edge Sharpening, And Grinding By Specific Grinding Devices (AREA)
Abstract
本申请公开了一种木工钻加工设备,其包括:机身;设置于机身的工作台;安装于工作台的进料装置;面向进料装置的夹料装置;磨料装置;以及设置于机身的控制系统;其中,木工钻通过进料装置输送至夹料装置,并由夹料装置夹持靠近磨料装置磨料。本发明利用夹料装置夹持木工钻进行砂轮修整,减少人工操作,提高效率;同时设备自动控制,加工精度高,提高木工钻合格率。
The application discloses a woodworking drill processing equipment, which includes: a body; a workbench arranged on the body; a feeding device installed on the workbench; a clamping device facing the feeding device; an abrasive device; The control system of the body; wherein, the woodworking drill is conveyed to the clamping device through the feeding device, and the clamping device clamps the abrasive close to the abrasive device. The invention uses the material clamping device to clamp the woodworking drill for grinding wheel dressing, reduces manual operation and improves efficiency; meanwhile, the equipment is automatically controlled, the processing precision is high, and the qualified rate of the woodworking drill is improved.
Description
技术领域technical field
本申请属于木工钻的生产加工修整领域,具体地说,涉及一种木工钻加工设备。The present application belongs to the field of production, processing and dressing of woodworking drills, and in particular, relates to a woodworking drill processing equipment.
背景技术Background technique
木工钻一般都为铸件,要加工成成品需要完成一道工序将铸件两边刃口的毛边去除磨削到要求的尺寸。这道工序需要人工在普通机床或砂轮机上完成,大批量生产时用普通机床或砂轮机加工的方式已赶不上生产进度,加工的质量参差不齐,而且耗费大量的人工成本,加工中更是存在工人的人身安全问题。Woodworking drills are generally castings. To be processed into finished products, a process needs to be completed to remove the burrs on both sides of the casting and grind them to the required size. This process needs to be done manually on ordinary machine tools or grinders. In mass production, ordinary machine tools or grinders can no longer keep up with the production schedule. The quality of processing is uneven, and it consumes a lot of labor costs, especially in processing. Worker safety issues.
发明内容SUMMARY OF THE INVENTION
有鉴于此,本申请所要解决的技术问题是提供了一种木工钻加工设备,通过设置夹料装置夹持木工钻进行砂轮修整,避免人工操作的麻烦。In view of this, the technical problem to be solved by the present application is to provide a woodworking drill processing equipment, which can clamp the woodworking drill to perform grinding wheel dressing by setting a clamping device, so as to avoid the trouble of manual operation.
为了解决上述技术问题,本申请公开了一种木工钻加工设备,其包括:机身;设置于机身的工作台;安装于工作台的进料装置;面向进料装置的夹料装置;磨料装置;以及设置于机身的控制系统;其中,木工钻通过进料装置输送至夹料装置,并由夹料装置夹持靠近磨料装置磨料。In order to solve the above-mentioned technical problems, the present application discloses a woodworking drill processing equipment, which comprises: a body; a workbench arranged on the body; a feeding device installed on the workbench; a clamping device facing the feeding device; and a control system arranged on the fuselage; wherein, the woodworking drill is conveyed to the clamping device through the feeding device, and the clamping device clamps the abrasive close to the abrasive device.
根据本发明的一实施方式,其中上述进料装置包括安放木工钻的料架;承载料架的导向台,导向台具有对应木工钻的滑槽;设置于料架一侧的进料顶杆,进料顶杆通过进料气缸驱动推抵木工钻靠近夹料装置;以及设置于料架另一侧的滚轮导向装置,滚轮导向装置的滚轮位于滑槽上方。According to an embodiment of the present invention, the above-mentioned feeding device includes a material rack on which the woodworking drill is placed; a guide table for carrying the material rack, and the guide table has a chute corresponding to the woodworking drill; a feeding ejector rod disposed on one side of the material rack, The feeding ejector rod is driven by the feeding cylinder to push the woodworking drill close to the clamping device; and the roller guide device is arranged on the other side of the material rack, and the roller of the roller guide device is located above the chute.
根据本发明的一实施方式,还包括安装于导向台且对应滑槽的导向板,导向板由进料顶杆穿射。According to an embodiment of the present invention, it further includes a guide plate installed on the guide table and corresponding to the chute, and the guide plate is penetrated by the feeding ejector rod.
根据本发明的一实施方式,其中上述夹料装置包括调节主轴;安装于调节主轴端部的夹头;穿射于调节主轴的出料顶杆,驱动出料顶杆的出料气缸,以及啮合调节主轴的蜗轮传动机构,蜗轮传动机构驱动调节主轴旋转。According to an embodiment of the present invention, the above-mentioned material clamping device comprises an adjustment spindle; a chuck installed on the end of the adjustment spindle; The worm gear transmission mechanism of the main shaft is adjusted, and the worm gear transmission mechanism drives the adjustment main shaft to rotate.
根据本发明的一实施方式,其中上述蜗轮传动机构包括套设于调节主轴的蜗轮;啮合蜗轮的蜗杆及驱动蜗杆转动的蜗轮传动电机,其中蜗轮传动电机驱动蜗杆,转动蜗轮,使得调节主轴跟着转动。According to an embodiment of the present invention, the above-mentioned worm gear transmission mechanism comprises a worm gear sleeved on the adjustment main shaft; a worm gear meshing with the worm gear and a worm gear transmission motor for driving the worm to rotate, wherein the worm gear transmission motor drives the worm screw and rotates the worm gear, so that the adjustment main shaft rotates accordingly .
根据本发明的一实施方式,还包括承载夹料装置的丝杆传动装置,丝杆传动装置包括安装于工作台的纵向传动装置与位于纵向传动装置上方的横向传动装置,其中纵向传动装置驱动横向传动装置纵向移动,横向传动装置驱动夹料装置横向移动。According to an embodiment of the present invention, it further includes a screw drive device carrying the clamping device, the screw drive device includes a longitudinal drive device mounted on the worktable and a transverse drive device located above the longitudinal drive device, wherein the longitudinal drive device drives the transverse drive The transmission device moves longitudinally, and the transverse transmission device drives the clamping device to move laterally.
根据本发明的一实施方式,其中上述纵向传动装置包括纵向伺服电机,位于纵向伺服电机两侧的纵向导轨,以及通过纵向伺服电机驱动的丝杆;横向传动装置安装于丝杆且承接纵向导轨,包括横向伺服电机及承载夹料装置的横向平台,横向伺服电机驱动横向平台横向移动。According to an embodiment of the present invention, the longitudinal transmission device includes a longitudinal servo motor, longitudinal guide rails located on both sides of the longitudinal servo motor, and a lead screw driven by the longitudinal servo motor; the lateral transmission device is mounted on the lead screw and receives the longitudinal guide rail, It includes a lateral servo motor and a lateral platform carrying a clamping device, and the lateral servo motor drives the lateral platform to move laterally.
根据本发明的一实施方式,还包括设置于夹头周围的定位机构,定位机构包括安装于横向平台的支架;设置于支架的上下驱动气缸;连接上下驱动气缸的定位板;以及设置于定位板的定位杆,其中当上下驱动气缸驱动定位板向上移动时,定位杆靠近并抵靠木工钻。According to an embodiment of the present invention, it also includes a positioning mechanism arranged around the chuck, the positioning mechanism includes a bracket installed on the lateral platform; an upper and lower driving cylinder arranged on the bracket; a positioning plate connected to the upper and lower driving cylinders; and a positioning plate arranged on the positioning plate The positioning rod, wherein when the up and down driving cylinder drives the positioning plate to move upward, the positioning rod is close to and abuts against the woodworking drill.
根据本发明的一实施方式,其中上述磨料装置为设置于进料装置两侧且靠近夹料装置的两个砂轮机,且两个砂轮机相互垂直。According to an embodiment of the present invention, the above-mentioned abrasive devices are two grinders disposed on both sides of the feeding device and close to the clamping device, and the two grinders are perpendicular to each other.
根据本发明的一实施方式,还包括设置于夹料装置一侧的砂轮修整装置,砂轮修整装置包括砂轮修整刀及驱动砂轮修整刀移动的砂轮修整气缸。According to an embodiment of the present invention, it further includes a grinding wheel dressing device disposed on one side of the material clamping device, and the grinding wheel dressing device includes a grinding wheel dressing knife and a grinding wheel dressing cylinder for driving the grinding wheel dressing knife to move.
与现有技术相比,本申请可以获得包括以下技术效果:Compared with the prior art, the present application can obtain the following technical effects:
1)利用夹料装置夹持木工钻进行砂轮修整,减少人工操作,提高效率。1) Use the clamping device to clamp the woodworking drill for grinding wheel dressing, reduce manual operation and improve efficiency.
2)设备自动控制,加工精度高,提高木工钻合格率。2) The equipment is automatically controlled, with high processing precision, which improves the qualified rate of woodworking drills.
当然,实施本申请的任一产品必不一定需要同时达到以上所述的所有技术效果。Of course, any product implementing the present application does not necessarily need to achieve all of the above-mentioned technical effects at the same time.
附图说明Description of drawings
此处所说明的附图用来提供对本申请的进一步理解,构成本申请的一部分,本申请的示意性实施例及其说明用于解释本申请,并不构成对本申请的不当限定。在附图中:The drawings described herein are used to provide further understanding of the present application and constitute a part of the present application. The schematic embodiments and descriptions of the present application are used to explain the present application and do not constitute an improper limitation of the present application. In the attached image:
图1是本发明一实施方式的木工钻的示意图;1 is a schematic diagram of a woodworking drill according to an embodiment of the present invention;
图2是本发明一实施方式的木工钻加工设备立体图;2 is a perspective view of a woodworking drill processing equipment according to an embodiment of the present invention;
图3是图2的区域A的示意图;Fig. 3 is the schematic diagram of area A of Fig. 2;
图4是本发明一实施方式的进料装置爆炸图;4 is an exploded view of a feeding device according to an embodiment of the present invention;
图5是本发明一实施方式的夹料装置爆炸图;FIG. 5 is an exploded view of a clamping device according to an embodiment of the present invention;
图6是本发明一实施方式的丝杆传动装置示意图;6 is a schematic diagram of a screw drive device according to an embodiment of the present invention;
图7是定位机构及砂轮修整装置安装示意图。Figure 7 is a schematic diagram of the installation of the positioning mechanism and the grinding wheel dressing device.
附图标记reference number
木工钻1,机身10,工作台20,进料装置30,料架31,导向台32,滑槽33,进料顶杆34,进料气缸35,滚轮导向装置36,滚轮37,导向板38,夹料装置40,调节主轴41,夹头42,出料顶杆43,出料气缸44,蜗轮传动机构45,磨料装置50,砂轮51,砂轮52,控制系统60,定位机构70,支架71,上下驱动气缸72,定位板73,定位杆74,丝杆传动装置80,纵向传动装置81,纵向伺服电机82,纵向导轨83,丝杆84,横向传动装置85,横向伺服电机86,横向平台87,砂轮修整装置90,砂轮修整刀91,砂轮修整气缸92,传送台100,蜗轮450,蜗杆451,蜗轮传动电机452,区域A,定位孔R,待加工面b,待加工面c。Woodworking drill 1,
具体实施方式Detailed ways
以下将配合附图及实施例来详细说明本申请的实施方式,藉此对本申请如何应用技术手段来解决技术问题并达成技术功效的实现过程能充分理解并据以实施。The embodiments of the present application will be described in detail below with reference to the accompanying drawings and examples, so as to fully understand and implement the implementation process of how to apply technical means to solve technical problems and achieve technical effects in the present application.
请首先参考图1,图1是本发明一实施方式的木工钻1的示意图。如图所示,木工钻1由铸造成型,其刃口多布有毛刺,后续需要人工在普通机床或砂轮机上修整待加工面b和待加工面c,操作麻烦,误差较大,效率也极其低下。因此需要一种自动化高效精准的设备解决这一麻烦。Please refer to FIG. 1 first, which is a schematic diagram of a woodworking drill 1 according to an embodiment of the present invention. As shown in the figure, the woodworking drill 1 is formed by casting, and its cutting edge is mostly covered with burrs. Afterwards, it is necessary to manually trim the to-be-machined surface b and the to-be-machined surface c on an ordinary machine tool or a grinder. The operation is troublesome, the error is large, and the efficiency is also extremely high. low. Therefore, an automated, efficient and accurate equipment is needed to solve this trouble.
请一并参考图2与图3,图2是本发明一实施方式的木工钻加工设备立体图;图3是图2的区域A的示意图。如图所示,一种木工钻加工设备包括:机身10;设置于机身10的工作台20;安装于工作台20的进料装置30;面向进料装置30的夹料装置40;磨料装置50;以及设置于机身10的控制系统60;其中,木工钻1通过进料装置30输送至夹料装置40,并由夹料装置40夹持靠近磨料装置50磨料。在本发明一实施方式中,控制系统60采用数控编程,操纵夹料装置40夹持木工钻1靠近磨料装置50进行磨削修整,去除毛刺。自动化进行,减轻工人劳动强度,提高效率,且精度较高,误差较小。Please refer to FIG. 2 and FIG. 3 together. FIG. 2 is a perspective view of a woodworking drill processing equipment according to an embodiment of the present invention; FIG. 3 is a schematic diagram of area A of FIG. 2 . As shown in the figure, a woodworking drill processing equipment includes: a
接下来,请参考图4,图4是本发明一实施方式的进料装置30爆炸图。如图所示,进料装置30包括安放木工钻1的料架31;承载料架31的导向台32,导向台32具有对应木工钻1的滑槽33;设置于料架31一侧的进料顶杆34,进料顶杆34通过进料气缸35驱动推抵木工钻1靠近夹料装置40;以及设置于料架31另一侧的滚轮导向装置36,滚轮导向装置36的滚轮37位于滑槽33上方。在本发明一实施方式中,料架31用来安放待加工的木工钻1,木工钻1受重力影响落至滑槽33,此时,进料气缸35驱动进料顶杆34推动滑槽33上的木工钻1,而滚轮37配合滑槽33能很好的导向木工钻1的前进,防止偏移。需要注意的是,进料顶杆34一部分位于滑槽33,另一部分抵靠木工钻1,防止推动到其他木工钻1,结构简单,操作方便。Next, please refer to FIG. 4 , which is an exploded view of the
值得一提的是,本发明还包括安装于导向台32且对应滑槽33的导向板38,导向板38由进料顶杆34穿射。由此一来,进料顶杆34便能完全对准滑槽33,防止偏移,推动木工钻1,实现进料,以便配合后期夹料加工。It is worth mentioning that the present invention also includes a guide plate 38 installed on the guide table 32 and corresponding to the chute 33 , and the guide plate 38 is penetrated by the feeding ejector rod 34 . As a result, the feeding ejector rod 34 can be completely aligned with the chute 33 to prevent deviation, push the woodworking drill 1, and realize feeding, so as to cooperate with the later clamping processing.
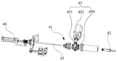
请参考图5,图5是本发明一实施方式的夹料装置40爆炸图。如图所示,夹料装置40包括调节主轴41;安装于调节主轴41端部的夹头42;穿射于调节主轴41的出料顶杆43,驱动出料顶杆43的出料气缸44,以及啮合调节主轴41的蜗轮传动机构45,蜗轮传动机构45驱动调节主轴41旋转。在本发明一实施方式中,控制系统60控制夹头42夹持由进料装置30输送过来的木工钻1,能避免人工操作且为后期磨料提供加工基础。而蜗轮传动机构45能够驱动调节主轴41旋转,是以在加工木工钻1相对两侧面(待加工面b两面与待加工面c两面)时,当加工完一面,能够翻转木工钻1,旋转180度,随即加工另一面,方便操作,节省时间,不用多安装一个磨料装置50,减小成本。Please refer to FIG. 5 , which is an exploded view of a
出料顶杆43能够将加工好的木工钻1顶出到传送台100,滑落至安放成品处,实现收集整理。The discharging
另外,蜗轮传动机构45包括套设于调节主轴41的蜗轮46;啮合蜗轮46的蜗杆47及驱动蜗杆47转动的蜗轮传动电机48,其中蜗轮传动电机48驱动蜗杆47,转动蜗轮46,使得调节主轴41跟着转动。在本发明这一实施方式中,蜗轮46蜗杆47相互配合,单级速比大,噪音低,振动小,而且蜗杆47与调节主轴41垂直布置,互不相交,一定程度上减小了安装面积,节省空间。In addition, the worm
接下来,请参考图6,图6是本发明一实施方式的丝杆传动装置80示意图。如图所示,本发明还包括承载夹料装置40的丝杆传动装置80,丝杆传动装置80包括安装于工作台20的纵向传动装置81与位于纵向传动装置81上方的横向传动装置85,其中纵向传动装置81驱动横向传动装置85纵向移动,横向传动装置85驱动夹料装置40横向移动。丝杠传动装置80承载夹料装置40,实现其横纵向移动,方便木工钻1的磨料工作,结构简单,操作方便,实用性强。Next, please refer to FIG. 6 , which is a schematic diagram of a
更详细而言,纵向传动装置81包括纵向伺服电机82,位于纵向伺服电机82两侧的纵向导轨83,以及通过纵向伺服电机82驱动的丝杆84;横向传动装置85安装于丝杆84且承接纵向导轨83,包括横向伺服电机86及承载夹料装置40的横向平台87,横向伺服电机86驱动横向平台87横向移动。结构简单,控制方便。In more detail, the
接下来,请参考图7,图7是定位机构70及砂轮修整装置90安装示意图。如图所示,本发明在一实施方式中还包括设置于夹头42周围的定位机构70,定位机构70包括安装于横向平台87的支架71;设置于支架71的上下驱动气缸72;连接上下驱动气缸72的定位板73;以及设置于定位板73的定位杆74,其中当上下驱动气缸72驱动定位板73向上移动时,定位杆74靠近并抵靠木工钻1。在本发明一实施方式中,木工钻1经进料顶杆34推向夹头42时,夹头42会稍稍夹紧,此时,上下驱动气缸72便会驱动定位杆74上升,对准木工钻1的定位孔R,如果木工钻1产生偏移,即刃口不处于水平方向时,定位杆74便会纠正,抵靠定位孔R,使木工钻1保持水平,方便后期磨料加工,去除刃口毛刺。Next, please refer to FIG. 7 , which is a schematic diagram of the installation of the positioning mechanism 70 and the grinding
值得一提的是,本发明所提供的磨料装置50如图3所示,为设置于进料装置30两侧且靠近夹料装置40的两个砂轮机,且两个砂轮机相互垂直,即砂轮51与砂轮52。It is worth mentioning that, as shown in FIG. 3 , the
本发明工作流程:安置于料架31内的木工钻1下落至滑槽33上,由进料顶杆34作用,推动至夹料装置40,夹头42夹持并固定木工钻1。接下来,丝杆传动装置80活动,移动木工钻1至砂轮51,磨削待加工面b其中一面,完成后蜗轮传动机构45驱动调节主轴41旋转180度,磨削待加工面b另一面;之后丝杆传动装置80将木工钻1移动至砂轮52,同理磨削待加工面c完成磨料。最后移动至传送台100,夹头42松开,出料顶杆43顶出木工钻1,由传送台100输送,统一收集整理。The working process of the present invention: the woodworking drill 1 placed in the material rack 31 falls onto the chute 33, and is pushed to the
此外,请参考图7,本发明还可包括设置于夹料装置40一侧的砂轮修整装置90,砂轮修整装置90包括砂轮修整刀91及驱动砂轮修整刀91移动的砂轮修整气缸92。当砂轮51、砂轮52长时间使用产生磨损,刃口不锋利时,便可使用砂轮修整刀91对其进行修整,维护方便,减少人工成本,提高效率。In addition, please refer to FIG. 7 , the present invention may further include a grinding
上述说明示出并描述了本申请的若干优选实施例,但如前所述,应当理解本申请并非局限于本文所披露的形式,不应看作是对其他实施例的排除,而可用于各种其他组合、修改和环境,并能够在本文所述申请构想范围内,通过上述教导或相关领域的技术或知识进行改动。而本领域人员所进行的改动和变化不脱离本申请的精神和范围,则都应在本申请所附权利要求的保护范围内。The above description shows and describes several preferred embodiments of the present application, but as mentioned above, it should be understood that the present application is not limited to the form disclosed herein, and should not be regarded as excluding other embodiments, but can be used in various various other combinations, modifications and environments, and can be modified within the scope of the concept of the application described herein, using the above teachings or skill or knowledge in the relevant field. However, modifications and changes made by those skilled in the art do not depart from the spirit and scope of the present application, and should all fall within the protection scope of the appended claims of the present application.
Claims (10)
Priority Applications (1)
| Application Number | Priority Date | Filing Date | Title |
|---|---|---|---|
| CN201911208494.1A CN110788676A (en) | 2019-11-30 | 2019-11-30 | Woodworking drill processing equipment |
Applications Claiming Priority (1)
| Application Number | Priority Date | Filing Date | Title |
|---|---|---|---|
| CN201911208494.1A CN110788676A (en) | 2019-11-30 | 2019-11-30 | Woodworking drill processing equipment |
Publications (1)
| Publication Number | Publication Date |
|---|---|
| CN110788676A true CN110788676A (en) | 2020-02-14 |
Family
ID=69447078
Family Applications (1)
| Application Number | Title | Priority Date | Filing Date |
|---|---|---|---|
| CN201911208494.1A Pending CN110788676A (en) | 2019-11-30 | 2019-11-30 | Woodworking drill processing equipment |
Country Status (1)
| Country | Link |
|---|---|
| CN (1) | CN110788676A (en) |
Cited By (1)
| Publication number | Priority date | Publication date | Assignee | Title |
|---|---|---|---|---|
| CN111318926A (en) * | 2020-04-01 | 2020-06-23 | 东莞市睿华智能科技有限公司 | A kind of turning tool grinding wheel dressing equipment |
Citations (12)
| Publication number | Priority date | Publication date | Assignee | Title |
|---|---|---|---|---|
| US4084353A (en) * | 1976-05-06 | 1978-04-18 | Houdaille Industries, Inc. | Spade drill sharpening fixture |
| JPH04304957A (en) * | 1991-03-29 | 1992-10-28 | Kanefusa Kk | How to form the tip of a boring drill for woodworking |
| CN101108465A (en) * | 2007-07-05 | 2008-01-23 | 王四放 | Numerical control three-tip carpenter's drill tapping machine |
| JP2008161991A (en) * | 2006-12-28 | 2008-07-17 | Chogoro Kamata | Drill cutting edge grinder |
| CN202129707U (en) * | 2011-05-20 | 2012-02-01 | 汕头市鼎钻精密机械科技有限公司 | Automation molding device for precise cutting tool |
| CN102896561A (en) * | 2012-10-10 | 2013-01-30 | 台州赛诺克机械科技有限公司 | Fully automatic numerical control drill cutter grinding machine |
| CN103331488A (en) * | 2013-06-04 | 2013-10-02 | 项大清 | Diamond tool bit bottom surface grinding device |
| CN103567821A (en) * | 2013-11-05 | 2014-02-12 | 明珠科技有限公司 | Full-automatic drill grinder |
| CN105415106A (en) * | 2015-12-08 | 2016-03-23 | 浙江大学 | Automatic multi-cutting-edge grinding clamp for woodworking flat drill |
| CN105500126A (en) * | 2015-12-08 | 2016-04-20 | 浙江大学 | Automatic continuous grinding device for multiple cutting edges of wood flat bit |
| CN110153810A (en) * | 2018-01-26 | 2019-08-23 | 德州学院 | A woodworking engraving machine tool processing equipment |
| CN211361625U (en) * | 2019-11-30 | 2020-08-28 | 陈琪 | Woodworking drill processing equipment |
-
2019
- 2019-11-30 CN CN201911208494.1A patent/CN110788676A/en active Pending
Patent Citations (12)
| Publication number | Priority date | Publication date | Assignee | Title |
|---|---|---|---|---|
| US4084353A (en) * | 1976-05-06 | 1978-04-18 | Houdaille Industries, Inc. | Spade drill sharpening fixture |
| JPH04304957A (en) * | 1991-03-29 | 1992-10-28 | Kanefusa Kk | How to form the tip of a boring drill for woodworking |
| JP2008161991A (en) * | 2006-12-28 | 2008-07-17 | Chogoro Kamata | Drill cutting edge grinder |
| CN101108465A (en) * | 2007-07-05 | 2008-01-23 | 王四放 | Numerical control three-tip carpenter's drill tapping machine |
| CN202129707U (en) * | 2011-05-20 | 2012-02-01 | 汕头市鼎钻精密机械科技有限公司 | Automation molding device for precise cutting tool |
| CN102896561A (en) * | 2012-10-10 | 2013-01-30 | 台州赛诺克机械科技有限公司 | Fully automatic numerical control drill cutter grinding machine |
| CN103331488A (en) * | 2013-06-04 | 2013-10-02 | 项大清 | Diamond tool bit bottom surface grinding device |
| CN103567821A (en) * | 2013-11-05 | 2014-02-12 | 明珠科技有限公司 | Full-automatic drill grinder |
| CN105415106A (en) * | 2015-12-08 | 2016-03-23 | 浙江大学 | Automatic multi-cutting-edge grinding clamp for woodworking flat drill |
| CN105500126A (en) * | 2015-12-08 | 2016-04-20 | 浙江大学 | Automatic continuous grinding device for multiple cutting edges of wood flat bit |
| CN110153810A (en) * | 2018-01-26 | 2019-08-23 | 德州学院 | A woodworking engraving machine tool processing equipment |
| CN211361625U (en) * | 2019-11-30 | 2020-08-28 | 陈琪 | Woodworking drill processing equipment |
Cited By (2)
| Publication number | Priority date | Publication date | Assignee | Title |
|---|---|---|---|---|
| CN111318926A (en) * | 2020-04-01 | 2020-06-23 | 东莞市睿华智能科技有限公司 | A kind of turning tool grinding wheel dressing equipment |
| CN111318926B (en) * | 2020-04-01 | 2024-11-05 | 东莞市睿华智能科技有限公司 | A turning tool grinding wheel dressing device |
Similar Documents
| Publication | Publication Date | Title |
|---|---|---|
| CN103381569A (en) | Numerically-controlled full-automatic retainer window grinding machine | |
| CN103753361B (en) | A kind of double-ended grinding machine | |
| CN204673400U (en) | Abnormity material hypotenuse or periphery machining tool | |
| CN202114552U (en) | Diameter refining mill | |
| CN108340243B (en) | Full-automatic numerical control compound internal surface grinding machine | |
| CN211361625U (en) | Woodworking drill processing equipment | |
| CN206953309U (en) | A kind of sapphire ingot cutting device | |
| CN109746690B (en) | Automatic window frame production line | |
| CN110788676A (en) | Woodworking drill processing equipment | |
| CN212095576U (en) | Automatic grinding equipment for single crystal cutter | |
| CN110961926A (en) | Flange processing equipment | |
| CN108857653B (en) | High-end-face machining precision compound grinding machine and workpiece conveying device thereof | |
| CN103722473A (en) | Numerical control full-automatic polishing and grinding machine | |
| CN108406453B (en) | Numerical control knife sharpener | |
| CN110936245A (en) | A disc brake pad inner and outer arc edge chamfering grinder | |
| CN208019921U (en) | A precision chamfering machine for inner holes | |
| CN211661670U (en) | Grinding wheel replacing and feeding device of tool grinding machine | |
| CN204818290U (en) | V2500 engine locking plate numerical control equipment of polishing | |
| CN217530378U (en) | Device for quickly removing product material handle | |
| CN206998546U (en) | A kind of infrared profiling arc stone machining equipment | |
| CN112936030B (en) | Linear profiling grinder | |
| CN206936970U (en) | Tricorn bit sharpening machine | |
| CN210967972U (en) | Safe deposit box welding seam mills machine | |
| CN210757018U (en) | Environment-friendly grinding machine for machining | |
| CN109605142B (en) | A fish tail machine |
Legal Events
| Date | Code | Title | Description |
|---|---|---|---|
| PB01 | Publication | ||
| PB01 | Publication | ||
| SE01 | Entry into force of request for substantive examination | ||
| SE01 | Entry into force of request for substantive examination | ||
| RJ01 | Rejection of invention patent application after publication |
Application publication date: 20200214 |
|
| RJ01 | Rejection of invention patent application after publication |
