CN110774529A - A two-color disposable molding device for motor anti-vibration rotor - Google Patents
A two-color disposable molding device for motor anti-vibration rotor Download PDFInfo
- Publication number
- CN110774529A CN110774529A CN201911245943.XA CN201911245943A CN110774529A CN 110774529 A CN110774529 A CN 110774529A CN 201911245943 A CN201911245943 A CN 201911245943A CN 110774529 A CN110774529 A CN 110774529A
- Authority
- CN
- China
- Prior art keywords
- plate
- rod
- molding device
- push plate
- push
- Prior art date
- Legal status (The legal status is an assumption and is not a legal conclusion. Google has not performed a legal analysis and makes no representation as to the accuracy of the status listed.)
- Pending
Links
- 238000000465 moulding Methods 0.000 title claims abstract description 25
- 229920001875 Ebonite Polymers 0.000 claims abstract description 12
- 239000004593 Epoxy Substances 0.000 claims description 15
- 239000003292 glue Substances 0.000 claims description 12
- 238000002347 injection Methods 0.000 claims description 8
- 239000007924 injection Substances 0.000 claims description 8
- 239000002184 metal Substances 0.000 description 4
- 239000004033 plastic Substances 0.000 description 4
- 239000000463 material Substances 0.000 description 3
- 239000000243 solution Substances 0.000 description 3
- 238000012986 modification Methods 0.000 description 2
- 230000004048 modification Effects 0.000 description 2
- 238000010137 moulding (plastic) Methods 0.000 description 2
- 230000009286 beneficial effect Effects 0.000 description 1
- 238000005516 engineering process Methods 0.000 description 1
- 238000000034 method Methods 0.000 description 1
- 238000006467 substitution reaction Methods 0.000 description 1
Images
Classifications
-
- B—PERFORMING OPERATIONS; TRANSPORTING
- B29—WORKING OF PLASTICS; WORKING OF SUBSTANCES IN A PLASTIC STATE IN GENERAL
- B29C—SHAPING OR JOINING OF PLASTICS; SHAPING OF MATERIAL IN A PLASTIC STATE, NOT OTHERWISE PROVIDED FOR; AFTER-TREATMENT OF THE SHAPED PRODUCTS, e.g. REPAIRING
- B29C45/00—Injection moulding, i.e. forcing the required volume of moulding material through a nozzle into a closed mould; Apparatus therefor
- B29C45/16—Making multilayered or multicoloured articles
- B29C45/1615—The materials being injected at different moulding stations
-
- B—PERFORMING OPERATIONS; TRANSPORTING
- B29—WORKING OF PLASTICS; WORKING OF SUBSTANCES IN A PLASTIC STATE IN GENERAL
- B29C—SHAPING OR JOINING OF PLASTICS; SHAPING OF MATERIAL IN A PLASTIC STATE, NOT OTHERWISE PROVIDED FOR; AFTER-TREATMENT OF THE SHAPED PRODUCTS, e.g. REPAIRING
- B29C45/00—Injection moulding, i.e. forcing the required volume of moulding material through a nozzle into a closed mould; Apparatus therefor
- B29C45/14—Injection moulding, i.e. forcing the required volume of moulding material through a nozzle into a closed mould; Apparatus therefor incorporating preformed parts or layers, e.g. injection moulding around inserts or for coating articles
-
- B—PERFORMING OPERATIONS; TRANSPORTING
- B29—WORKING OF PLASTICS; WORKING OF SUBSTANCES IN A PLASTIC STATE IN GENERAL
- B29C—SHAPING OR JOINING OF PLASTICS; SHAPING OF MATERIAL IN A PLASTIC STATE, NOT OTHERWISE PROVIDED FOR; AFTER-TREATMENT OF THE SHAPED PRODUCTS, e.g. REPAIRING
- B29C45/00—Injection moulding, i.e. forcing the required volume of moulding material through a nozzle into a closed mould; Apparatus therefor
- B29C45/16—Making multilayered or multicoloured articles
- B29C45/1671—Making multilayered or multicoloured articles with an insert
-
- B—PERFORMING OPERATIONS; TRANSPORTING
- B29—WORKING OF PLASTICS; WORKING OF SUBSTANCES IN A PLASTIC STATE IN GENERAL
- B29C—SHAPING OR JOINING OF PLASTICS; SHAPING OF MATERIAL IN A PLASTIC STATE, NOT OTHERWISE PROVIDED FOR; AFTER-TREATMENT OF THE SHAPED PRODUCTS, e.g. REPAIRING
- B29C45/00—Injection moulding, i.e. forcing the required volume of moulding material through a nozzle into a closed mould; Apparatus therefor
- B29C45/16—Making multilayered or multicoloured articles
- B29C45/1676—Making multilayered or multicoloured articles using a soft material and a rigid material, e.g. making articles with a sealing part
-
- B—PERFORMING OPERATIONS; TRANSPORTING
- B29—WORKING OF PLASTICS; WORKING OF SUBSTANCES IN A PLASTIC STATE IN GENERAL
- B29C—SHAPING OR JOINING OF PLASTICS; SHAPING OF MATERIAL IN A PLASTIC STATE, NOT OTHERWISE PROVIDED FOR; AFTER-TREATMENT OF THE SHAPED PRODUCTS, e.g. REPAIRING
- B29C45/00—Injection moulding, i.e. forcing the required volume of moulding material through a nozzle into a closed mould; Apparatus therefor
- B29C45/17—Component parts, details or accessories; Auxiliary operations
- B29C45/26—Moulds
- B29C45/33—Moulds having transversely, e.g. radially, movable mould parts
- B29C45/332—Mountings or guides therefor; Drives therefor
Landscapes
- Engineering & Computer Science (AREA)
- Manufacturing & Machinery (AREA)
- Mechanical Engineering (AREA)
- Injection Moulding Of Plastics Or The Like (AREA)
Abstract
本发明公开了一种电机防震转子双色一次性成型装置,包括面板,所述面板上端表面安装有环氧板,所述面板底端安装有流道板,所述流道板底端设置有A板,所述A板正下方设置有承板,所述承板上端中间位置设置有推板,所述推板包括第一推板与第二推板,所述承板的内部靠近右端位置内置有杠杆,所述承板的上端表面安装有B板,贯穿所述B板内部右端位置平行设置有A杆与B杆,所述B板上端开设有下模型腔,所述A板底端开设有上模型腔。该成型装置主要通过A杆与B杆受力推动第一推板与第二推板完成软硬胶成型型芯滑动结构,该刚性定位可以最大程度接受硬胶注塑压力,提高硬胶产品质量,减小产品收缩。
The invention discloses a two-color disposable molding device for an anti-vibration rotor of a motor. A support plate is arranged directly below the A plate, and a push plate is arranged in the middle of the upper end of the support plate. The push plate includes a first push plate and a second push plate, and the interior of the support plate is built in near the right end. There is a lever, a B plate is installed on the upper end surface of the support plate, a rod A and a B rod are arranged in parallel through the inner right end of the B plate, the upper end of the B plate is provided with a lower mold cavity, and the bottom end of the A plate is provided with a lower mold cavity. There is an upper model cavity. The molding device mainly pushes the first push plate and the second push plate through the force of the A rod and the B rod to complete the sliding structure of the soft and hard rubber forming core. Reduce product shrinkage.
Description
技术领域technical field
本发明涉及成型装置领域,具体为一种电机防震转子双色一次性成型装置。The invention relates to the field of molding devices, in particular to a two-color disposable molding device for an anti-vibration rotor of a motor.
背景技术Background technique
作为成型出具有管部以及凸缘部的金属管的成型装置,彼此成对的上型及下型,向保持于上型与下型之间且被加热的金属管材料内供给气体的气体供给部,通过使上述上型及下型合拢,形成成型出管部的第一型腔部(主型腔)以及与第二型腔部连通且成型出凸缘部的第2型腔部(副型腔),在该成型装置中,使模具闭模的同时向金属管材料内供给气体而使该金属管材料膨胀,由此,能够同时成型上述管部和上述凸缘部;As a forming apparatus for forming a metal pipe having a pipe portion and a flange portion, the upper and lower molds are paired with each other, and a gas supply for supplying gas to the heated metal pipe material held between the upper and lower molds The first cavity part (main cavity) that forms the tube part and the second cavity part (auxiliary cavity) that communicate with the second cavity part and form the flange part are formed by closing the upper mold and the lower mold. Cavity), in this molding device, while the mold is closed, gas is supplied into the metal pipe material to expand the metal pipe material, whereby the pipe portion and the flange portion can be simultaneously molded;
市场上的成型装置不能够接受硬胶注塑压力,硬胶产品质量差,产品收缩现象比较严重的问题,为此,我们提出一种电机防震转子双色一次性成型装置。The molding devices on the market cannot accept the injection pressure of hard rubber, the quality of hard rubber products is poor, and the phenomenon of product shrinkage is relatively serious. For this reason, we propose a two-color disposable molding device for motor shockproof rotor.
发明内容SUMMARY OF THE INVENTION
本发明的目的在于提供一种电机防震转子双色一次性成型装置,以解决上述背景技术中提出的市场上的成型装置不能够接受硬胶注塑压力,硬胶产品质量差,产品收缩现象比较严重的问题。The purpose of the present invention is to provide a two-color one-time molding device for motor anti-vibration rotor, in order to solve the problem that the molding device on the market proposed in the above background technology cannot accept the injection pressure of hard rubber, the quality of hard rubber products is poor, and the phenomenon of product shrinkage is relatively serious. question.
为实现上述目的,本发明提供如下技术方案:一种电机防震转子双色一次性成型装置,包括面板,所述面板上端表面安装有环氧板,所述面板底端安装有流道板,所述流道板底端设置有A板,所述A板正下方设置有承板,所述承板上端中间位置设置有推板,所述推板包括第一推板与第二推板,所述承板的内部靠近右端位置内置有杠杆,所述承板的上端表面安装有B板,贯穿所述B板内部右端位置平行设置有A杆与B杆,所述B板上端开设有下模型腔,所述A板底端开设有上模型腔,所述下模型腔与上模型腔内部中间位置设置有成型型芯,所述下模型腔左侧设置有硬胶制品,所述下模型腔右侧设置有转子。In order to achieve the above purpose, the present invention provides the following technical solutions: a two-color disposable molding device for an anti-vibration rotor of a motor, comprising a panel, an epoxy plate is installed on the upper surface of the panel, and a flow channel plate is installed at the bottom end of the panel, and the A plate is arranged at the bottom end of the flow channel plate, a bearing plate is arranged directly below the A plate, and a push plate is arranged in the middle position of the upper end of the bearing plate, and the push plate includes a first push plate and a second push plate. A lever is built in the interior of the support plate near the right end, a B plate is installed on the upper end surface of the support plate, A rod and B rod are arranged in parallel through the inner right end of the B plate, and a lower mold cavity is opened at the upper end of the B plate , the bottom end of the A-plate is provided with an upper mold cavity, a forming core is provided in the middle of the lower mold cavity and the upper mold cavity, a hard rubber product is provided on the left side of the lower mold cavity, and a right side of the lower mold cavity is provided. A rotor is provided on the side.
优选的,所述A杆与B杆分别与杠杆上端两侧相接触,所述杠杆中间位置活动轴,杠杆绕活动轴在承板内转动。Preferably, the A rod and the B rod are respectively in contact with both sides of the upper end of the lever, the lever is in the middle position of the movable shaft, and the lever rotates in the bearing plate around the movable shaft.
优选的,贯穿所述面板与环氧板内部设置有固定螺栓,所述环氧板通过固定螺栓安装在面板上端表面。Preferably, fixing bolts are arranged through the interior of the panel and the epoxy board, and the epoxy board is mounted on the upper end surface of the panel through the fixing bolts.
优选的,所述B板内部靠近右端位置分别设置有与A杆及B杆相配合的活动槽一与活动槽二。Preferably, a movable groove 1 and a movable groove 2 are respectively provided in the interior of the B plate near the right end, which are matched with the A rod and the B rod.
优选的,所述推板底端中间位置贯穿设置有推动杆。Preferably, a push rod is provided through the middle position of the bottom end of the push plate.
优选的,贯穿所述面板与环氧板内部中间位置开设有注胶口。Preferably, a glue injection port is provided through the middle of the panel and the epoxy board.
与现有技术相比,本发明的有益效果是:该成型装置中通过模具上模合入下模,B杆受力将第一推板与第二推板顶到B板底部,A杆在A板做避空位,下模的第一工位注入硬胶制备硬胶制品,模具上模与下模分开,接着通过模具上模合入下模,由A杆受力将第一推板与第二推板复位,B杆在A板做避空,模具下模第二工位注入软胶,模具上模与下模分开,下模第三工位取出成品后放入产品所需要的嵌入件,本模具主要通过A杆与B杆受力推动第一推板与第二推板完成软硬胶成型型芯滑动结构,该刚性定位可以最大程度接受硬胶注塑压力,提高硬胶产品质量,减小产品收缩。Compared with the prior art, the beneficial effects of the present invention are: in the molding device, the upper mold is combined into the lower mold, the B rod is forced to push the first push plate and the second push plate to the bottom of the B plate, and the A rod is at the bottom of the B plate. The A plate is used as a space-avoiding position, and the first station of the lower mold is injected with hard glue to prepare a hard glue product. The upper mold of the mold is separated from the lower mold, and then the upper mold of the mold is combined into the lower mold, and the first push plate is forced by the A rod. The second push plate is reset, the B rod is used to avoid the air on the A plate, the soft glue is injected into the second station of the lower mold, the upper mold of the mold is separated from the lower mold, and the third station of the lower mold takes out the finished product and puts it into the embedding required for the product This mold mainly pushes the first push plate and the second push plate through the force of the A rod and the B rod to complete the sliding structure of the soft and hard rubber forming core. The rigid positioning can accept the injection pressure of the hard rubber to the greatest extent and improve the quality of the hard rubber , to reduce product shrinkage.
附图说明Description of drawings
图1为本发明正面结构示意图。FIG. 1 is a schematic view of the front structure of the present invention.
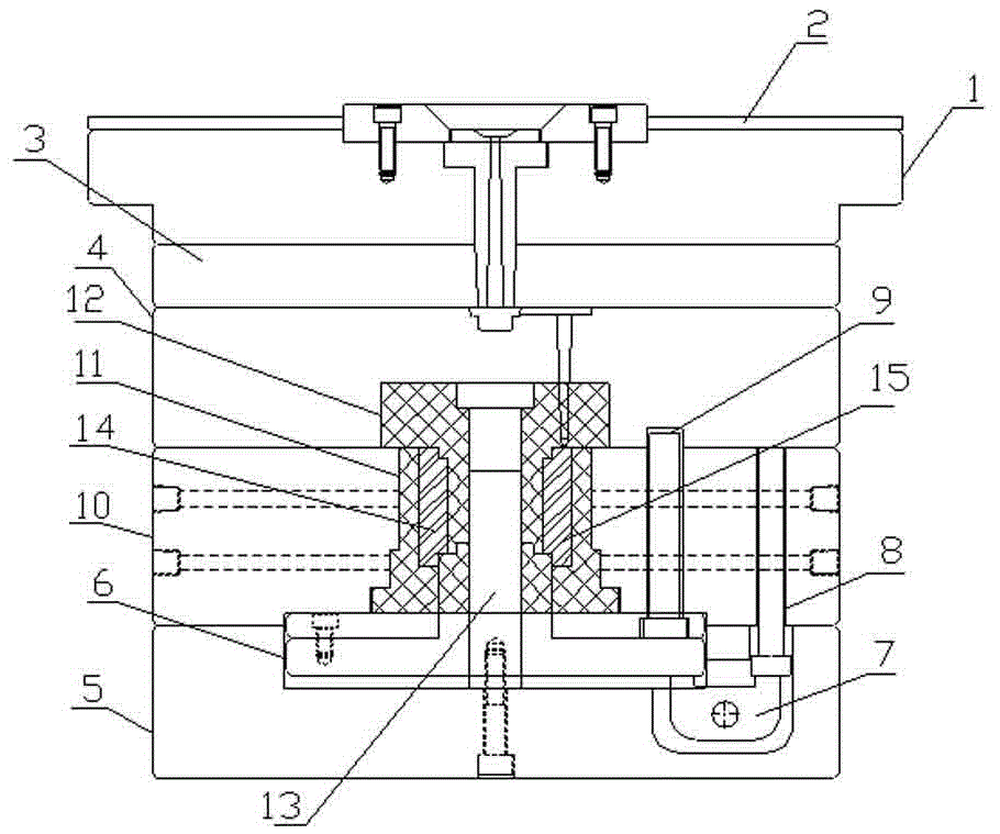
图中:1、面板;2、环氧板;3、流道板;4、A板;5、承板;6、推板;7、杠杆;8、B杆;9、A杆;10、B板;11、下模型腔;12、上模型腔;13、成型型芯;14、硬胶制品;15、转子。In the picture: 1. Panel; 2. Epoxy plate; 3. Flow channel plate; 4. Plate A; 5. Support plate; 6. Push plate; 7. Lever; 8. Rod B; 9. Rod A; 10. B plate; 11, lower mold cavity; 12, upper mold cavity; 13, forming core; 14, hard rubber product; 15, rotor.
具体实施方式Detailed ways
下面将结合本发明实施例中的附图,对本发明实施例中的技术方案进行清楚、完整地描述,显然,所描述的实施例仅仅是本发明一部分实施例,而不是全部的实施例。基于本发明中的实施例,本领域普通技术人员在没有做出创造性劳动前提下所获得的所有其他实施例,都属于本发明保护的范围。The technical solutions in the embodiments of the present invention will be clearly and completely described below with reference to the accompanying drawings in the embodiments of the present invention. Obviously, the described embodiments are only a part of the embodiments of the present invention, but not all of the embodiments. Based on the embodiments of the present invention, all other embodiments obtained by those of ordinary skill in the art without creative efforts shall fall within the protection scope of the present invention.
请参阅图1,本发明提供一种技术方案:一种电机防震转子双色一次性成型装置,包括面板1、环氧板2、流道板3、A板4、承板5、推板6、杠杆7、B杆8、A杆9、B板10、下模型腔11、上模型腔12、成型型芯13、硬胶制品14、转子15,所述面板1上端表面安装有环氧板2,所述面板1底端安装有流道板3,所述流道板3底端设置有A板4,所述A板4正下方设置有承板5,所述承板5上端中间位置设置有推板6,所述推板6包括第一推板与第二推板,所述承板5的内部靠近右端位置内置有杠杆7,所述承板5的上端表面安装有B板10,贯穿所述B板10内部右端位置平行设置有A杆9与B杆8,所述B板10上端开设有下模型腔11,所述A板4底端开设有上模型腔12,所述下模型腔11与上模型腔12内部中间位置设置有成型型芯13,所述下模型腔11左侧设置有硬胶制品14,所述下模型腔11右侧设置有转子15,所述A杆9与B杆8分别与杠杆7上端两侧相接触,所述杠杆7中间位置活动轴,杠杆7绕活动轴在承板5内转动,贯穿所述面板1与环氧板2内部设置有固定螺栓,所述环氧板2通过固定螺栓安装在面板1上端表面,,所述B板10内部靠近右端位置分别设置有与A杆9及B杆8相配合的活动槽一与活动槽二,所述推板6底端中间位置贯穿设置有推动杆,贯穿所述面板1与环氧板2内部中间位置开设有注胶口,该成型装置中通过模具上模合入下模,B杆8受力将第一推板与第二推板顶到B板10底部,A杆9在A板4做避空位,下模的第一工位注入硬胶制备硬胶制品14,模具上模与下模分开,接着通过模具上模合入下模,由A杆9受力将第一推板与第二推板复位,B杆8在A板4做避空,模具下模第二工位注入软胶,模具上模与下模分开,下模第三工位取出成品后放入产品所需要的嵌入件,本模具主要通过A杆9与B杆8受力推动第一推板与第二推板完成软硬胶成型型芯13滑动结构,该刚性定位可以最大程度接受硬胶注塑压力,提高硬胶产品质量,减小产品收缩。Please refer to FIG. 1 , the present invention provides a technical solution: a two-color one-time molding device for an anti-vibration rotor of a motor, comprising a face plate 1, an epoxy plate 2, a
工作原理:对于这类的成型装置,通过模具上模合入下模,B杆8受力将第一推板与第二推板顶到B板10底部,A杆9在A板4做避空位,下模的第一工位注入硬胶至左侧下模型腔11且在成型型芯13作用下制备硬胶制品14,模具上模与下模分开,接着通过模具上模合入下模,由A杆9受力将第一推板与第二推板复位,B杆8在A板4做避空,模具下模第二工位注入软胶至右侧下模型腔11,且在成型型芯13作用下制备软胶制品,模具上模与下模分开,下模第三工位取出成品后放入产品所需要的嵌入件,本模具主要通过A杆9与B杆8受力推动第一推板与第二推板完成软硬胶成型型芯13滑动结构,该刚性定位可以最大程度接受硬胶注塑压力,提高硬胶产品质量,减小产品收缩。Working principle: For this type of molding device, the upper mold of the mold is combined into the lower mold, the
尽管已经示出和描述了本发明的实施例,对于本领域的普通技术人员而言,可以理解在不脱离本发明的原理和精神的情况下可以对这些实施例进行多种变化、修改、替换和变型,本发明的范围由所附权利要求及其等同物限定。Although embodiments of the present invention have been shown and described, it will be understood by those skilled in the art that various changes, modifications, and substitutions can be made in these embodiments without departing from the principle and spirit of the invention and modifications, the scope of the invention is defined by the appended claims and their equivalents.
Claims (6)
Priority Applications (1)
| Application Number | Priority Date | Filing Date | Title |
|---|---|---|---|
| CN201911245943.XA CN110774529A (en) | 2019-12-07 | 2019-12-07 | A two-color disposable molding device for motor anti-vibration rotor |
Applications Claiming Priority (1)
| Application Number | Priority Date | Filing Date | Title |
|---|---|---|---|
| CN201911245943.XA CN110774529A (en) | 2019-12-07 | 2019-12-07 | A two-color disposable molding device for motor anti-vibration rotor |
Publications (1)
| Publication Number | Publication Date |
|---|---|
| CN110774529A true CN110774529A (en) | 2020-02-11 |
Family
ID=69394847
Family Applications (1)
| Application Number | Title | Priority Date | Filing Date |
|---|---|---|---|
| CN201911245943.XA Pending CN110774529A (en) | 2019-12-07 | 2019-12-07 | A two-color disposable molding device for motor anti-vibration rotor |
Country Status (1)
| Country | Link |
|---|---|
| CN (1) | CN110774529A (en) |
Citations (4)
| Publication number | Priority date | Publication date | Assignee | Title |
|---|---|---|---|---|
| CN203357801U (en) * | 2013-06-13 | 2013-12-25 | 昆山裕全模具工业有限公司 | Hollow fork mould |
| CN104626470A (en) * | 2015-02-11 | 2015-05-20 | 宁波双林模具有限公司 | Two-color mold with inner rotating core |
| CN205588574U (en) * | 2016-01-29 | 2016-09-21 | 上海戈冉泊精模科技有限公司 | Injection mold of two - color plastic goods of equal difference of front and back mould |
| CN211307176U (en) * | 2019-12-07 | 2020-08-21 | 张家港市卓普精密模具有限公司 | Double-color one-time forming device for motor shockproof rotor |
-
2019
- 2019-12-07 CN CN201911245943.XA patent/CN110774529A/en active Pending
Patent Citations (4)
| Publication number | Priority date | Publication date | Assignee | Title |
|---|---|---|---|---|
| CN203357801U (en) * | 2013-06-13 | 2013-12-25 | 昆山裕全模具工业有限公司 | Hollow fork mould |
| CN104626470A (en) * | 2015-02-11 | 2015-05-20 | 宁波双林模具有限公司 | Two-color mold with inner rotating core |
| CN205588574U (en) * | 2016-01-29 | 2016-09-21 | 上海戈冉泊精模科技有限公司 | Injection mold of two - color plastic goods of equal difference of front and back mould |
| CN211307176U (en) * | 2019-12-07 | 2020-08-21 | 张家港市卓普精密模具有限公司 | Double-color one-time forming device for motor shockproof rotor |
Similar Documents
| Publication | Publication Date | Title |
|---|---|---|
| CN104129039A (en) | External gas assisted injection mould | |
| CN102019672A (en) | Exhaust device of injection mold | |
| CN115195048B (en) | Injection mold with ejection device | |
| CN201863355U (en) | A Rotary Laminated Injection Mold | |
| CN110774529A (en) | A two-color disposable molding device for motor anti-vibration rotor | |
| CN112026117A (en) | Injection mold and shell manufacturing method | |
| CN211307176U (en) | Double-color one-time forming device for motor shockproof rotor | |
| CN108772999B (en) | A casting mold that is easy to disassemble | |
| CN207359545U (en) | Belt injection mold | |
| CN209289694U (en) | A kind of special-shaped thin wall product mold being convenient in demoulding | |
| CN211467375U (en) | A fast cooling injection mold | |
| CN108145906A (en) | One kind is used for the molding seesaw mechanism of-two color of sealing of the same colour | |
| CN205915595U (en) | Sweeping blade forming mold | |
| CN218803592U (en) | Injection mould | |
| CN219445933U (en) | Mould for producing air bags | |
| CN205522559U (en) | Split type mould of technology is pressed to vacuum bag | |
| CN205343539U (en) | Silica gel seals straight tube forming die | |
| CN105538631A (en) | Shoe sole mold with conformal cooling duct and manufacturing method thereof | |
| CN223354843U (en) | A motor housing sealing ring forming die | |
| CN106003554B (en) | Sweeping blade forming mold | |
| CN109366950A (en) | A kind of blister mould for refrigerator freezer box | |
| CN216465872U (en) | A injection molding machine tool for electronic components | |
| CN209999643U (en) | Injection mold for automobile mudguard | |
| CN213830175U (en) | Material ejection device of injection mold | |
| CN210501191U (en) | A mold for vacuuming and pouring liquid glue to produce shoe soles |
Legal Events
| Date | Code | Title | Description |
|---|---|---|---|
| PB01 | Publication | ||
| PB01 | Publication | ||
| SE01 | Entry into force of request for substantive examination | ||
| SE01 | Entry into force of request for substantive examination | ||
| WD01 | Invention patent application deemed withdrawn after publication |
Application publication date: 20200211 |
|
| WD01 | Invention patent application deemed withdrawn after publication |
