CN110745946A - Diversity treatment system for excrement and urine and ecological treatment system - Google Patents
Diversity treatment system for excrement and urine and ecological treatment system Download PDFInfo
- Publication number
- CN110745946A CN110745946A CN201911178660.8A CN201911178660A CN110745946A CN 110745946 A CN110745946 A CN 110745946A CN 201911178660 A CN201911178660 A CN 201911178660A CN 110745946 A CN110745946 A CN 110745946A
- Authority
- CN
- China
- Prior art keywords
- urine
- treatment system
- excrement
- storage tank
- feces
- Prior art date
- Legal status (The legal status is an assumption and is not a legal conclusion. Google has not performed a legal analysis and makes no representation as to the accuracy of the status listed.)
- Pending
Links
Images
Classifications
-
- C—CHEMISTRY; METALLURGY
- C02—TREATMENT OF WATER, WASTE WATER, SEWAGE, OR SLUDGE
- C02F—TREATMENT OF WATER, WASTE WATER, SEWAGE, OR SLUDGE
- C02F3/00—Biological treatment of water, waste water, or sewage
- C02F3/28—Anaerobic digestion processes
- C02F3/286—Anaerobic digestion processes including two or more steps
-
- C—CHEMISTRY; METALLURGY
- C02—TREATMENT OF WATER, WASTE WATER, SEWAGE, OR SLUDGE
- C02F—TREATMENT OF WATER, WASTE WATER, SEWAGE, OR SLUDGE
- C02F3/00—Biological treatment of water, waste water, or sewage
- C02F3/28—Anaerobic digestion processes
- C02F3/2866—Particular arrangements for anaerobic reactors
-
- C—CHEMISTRY; METALLURGY
- C02—TREATMENT OF WATER, WASTE WATER, SEWAGE, OR SLUDGE
- C02F—TREATMENT OF WATER, WASTE WATER, SEWAGE, OR SLUDGE
- C02F3/00—Biological treatment of water, waste water, or sewage
- C02F3/32—Biological treatment of water, waste water, or sewage characterised by the animals or plants used, e.g. algae
-
- C—CHEMISTRY; METALLURGY
- C02—TREATMENT OF WATER, WASTE WATER, SEWAGE, OR SLUDGE
- C02F—TREATMENT OF WATER, WASTE WATER, SEWAGE, OR SLUDGE
- C02F7/00—Aeration of stretches of water
-
- C—CHEMISTRY; METALLURGY
- C02—TREATMENT OF WATER, WASTE WATER, SEWAGE, OR SLUDGE
- C02F—TREATMENT OF WATER, WASTE WATER, SEWAGE, OR SLUDGE
- C02F2103/00—Nature of the water, waste water, sewage or sludge to be treated
- C02F2103/005—Black water originating from toilets
-
- C—CHEMISTRY; METALLURGY
- C02—TREATMENT OF WATER, WASTE WATER, SEWAGE, OR SLUDGE
- C02F—TREATMENT OF WATER, WASTE WATER, SEWAGE, OR SLUDGE
- C02F2301/00—General aspects of water treatment
- C02F2301/08—Multistage treatments, e.g. repetition of the same process step under different conditions
-
- Y—GENERAL TAGGING OF NEW TECHNOLOGICAL DEVELOPMENTS; GENERAL TAGGING OF CROSS-SECTIONAL TECHNOLOGIES SPANNING OVER SEVERAL SECTIONS OF THE IPC; TECHNICAL SUBJECTS COVERED BY FORMER USPC CROSS-REFERENCE ART COLLECTIONS [XRACs] AND DIGESTS
- Y02—TECHNOLOGIES OR APPLICATIONS FOR MITIGATION OR ADAPTATION AGAINST CLIMATE CHANGE
- Y02W—CLIMATE CHANGE MITIGATION TECHNOLOGIES RELATED TO WASTEWATER TREATMENT OR WASTE MANAGEMENT
- Y02W10/00—Technologies for wastewater treatment
- Y02W10/10—Biological treatment of water, waste water, or sewage
Landscapes
- Life Sciences & Earth Sciences (AREA)
- Microbiology (AREA)
- Engineering & Computer Science (AREA)
- Hydrology & Water Resources (AREA)
- Environmental & Geological Engineering (AREA)
- Water Supply & Treatment (AREA)
- Chemical & Material Sciences (AREA)
- Organic Chemistry (AREA)
- Biodiversity & Conservation Biology (AREA)
- Biotechnology (AREA)
- Botany (AREA)
- Treatment Of Sludge (AREA)
Abstract
本发明提供了一种粪尿分集式处理系统及生态处理系统,涉及粪便处理技术领域。该粪尿分集式处理系统包括粪尿分离器、粪便处理系统以及尿液处理系统,通过粪尿分离器将粪便和尿液从源头分别收集和贮存,贮存的粪便通过粪便处理系统中的厌氧池和曝气沉淀池进行处理,贮存的尿液可通过尿液处理系统进行处理;该粪尿分集式处理系统不仅能够充分利用尿液,而且能将粪便通过厌氧发酵、曝气沉淀制得有机肥,实现了粪便和尿液的有效利用,同时,该粪尿分集式处理系统可节约大量水资源,尤其适用于部分干旱缺水地区或者排污净化设施不完善的地区。本发明还提供了一种生态处理系统,包括上述粪尿分集式处理系统。
The invention provides an excrement and urine diversity treatment system and an ecological treatment system, and relates to the technical field of excrement treatment. The feces and urine diversification treatment system includes a feces and urine separator, a feces treatment system and a urine treatment system. The feces and urine are respectively collected and stored from the source through the feces and urine separator, and the stored feces pass through the anaerobic system in the feces treatment system. The stored urine can be processed by the urine treatment system; the feces and urine diversity treatment system can not only make full use of the urine, but also can make the feces through anaerobic fermentation and aeration sedimentation. The organic fertilizer realizes the effective utilization of excrement and urine. At the same time, the excrement and urine diversification treatment system can save a lot of water resources, and is especially suitable for some arid and water-deficient areas or areas with imperfect sewage purification facilities. The present invention also provides an ecological treatment system, including the above-mentioned excrement and urine diversity treatment system.
Description
技术领域technical field
本发明涉及粪便处理技术领域,尤其是涉及一种粪尿分集式处理系统及生态处理系统。The invention relates to the technical field of feces treatment, in particular to a feces and urine diversity treatment system and an ecological treatment system.
背景技术Background technique
据统计,每人每年的粪排泄量约为25-50L,其中含有氮0.55kg左右、钾0.37kg左右、磷0.18kg左右,纤维素等大分子物质含量高,作物不能直接利用;而每人每年的尿排泄量约为400-500L,其中含氮4kg左右、磷0.4kg左右、钾0.9kg左右,且尿液易于被植物吸收,且尿液量远大于粪便量。According to statistics, the annual excretion of feces per person is about 25-50L, which contains about 0.55kg of nitrogen, about 0.37kg of potassium, about 0.18kg of phosphorus, and high content of macromolecular substances such as cellulose, which cannot be directly used by crops; The annual urinary excretion is about 400-500L, including about 4kg of nitrogen, about 0.4kg of phosphorus, and about 0.9kg of potassium, and urine is easily absorbed by plants, and the amount of urine is much larger than that of feces.
根据现有的粪和尿的处理方式,一般分为旱厕和水厕。众所周知,旱厕内粪和尿是贮藏在一起的,由于尿液中的氨与粪便中硫化氢等会混合发酵产生的恶臭气体,使得旱厕内外弥漫着刺激性气味,这会招来蚊蝇和滋生蛆虫,卫生条件较差,故旱厕日渐被取代。水厕,又称为冲水式厕所,即用水冲粪和尿一起排放,相比旱厕,水厕更为卫生。但粪、尿和水混合排放,这就使得需要处理的粪污量大量增加,即便送入污水处理厂进行处理,其处理成本惊人,同时还浪费了大量的水资源。尤其是对于部分干旱缺水地区或者排污净化设施不完善的地区,采用水冲粪、尿变得更不实用。故如何根据粪和尿的特性,将其有效利用,成为亟待解决的问题。According to the existing treatment methods of feces and urine, it is generally divided into dry toilets and water toilets. As we all know, the feces and urine in the dry toilet are stored together. Because the ammonia in the urine and the hydrogen sulfide in the feces will be mixed and fermented, the malodorous gas produced by the fermentation will make the dry toilet filled with irritating odors, which will attract mosquitoes and flies. Maggots breed and the sanitary conditions are poor, so dry toilets are increasingly being replaced. Water closets, also known as flush toilets, are flushed with water and discharged together with urine. Compared with dry toilets, water closets are more hygienic. However, the mixed discharge of manure, urine and water increases the amount of manure that needs to be treated. Even if it is sent to a sewage treatment plant for treatment, the treatment cost is staggering and a lot of water resources are wasted. Especially in some arid and water-deficient areas or areas with imperfect sewage purification facilities, it becomes even more impractical to use water to flush feces and urine. Therefore, how to effectively utilize feces and urine according to their characteristics has become an urgent problem to be solved.
有鉴于此,特提出本发明以解决上述技术问题中的至少一个。In view of this, the present invention is proposed to solve at least one of the above technical problems.
发明内容SUMMARY OF THE INVENTION
本发明的第一目的在于提供一种粪尿分集式处理系统,其可实现粪和尿的有效利用,同时还能节省大量水资源。The first object of the present invention is to provide a feces and urine diversity treatment system, which can realize the effective utilization of feces and urine, and can save a lot of water resources at the same time.
本发明的第二目的在于提供一种生态处理系统,包括上述粪尿分集式处理系统。The second object of the present invention is to provide an ecological treatment system, including the above-mentioned excrement and urine diversity treatment system.
为了实现上述目的,本发明的技术方案如下:In order to achieve the above object, technical scheme of the present invention is as follows:
本发明提供了一种粪尿分集式处理系统,包括粪尿分离器、粪便处理系统以及尿液处理系统;The invention provides a feces and urine diversity treatment system, comprising a feces and urine separator, a feces treatment system and a urine treatment system;
所述粪尿分离器包括尿液贮槽和粪便贮槽,所述尿液贮槽与所述尿液处理系统连接,所述粪便贮槽与所述粪便处理系统连接;The excrement separator includes a urine storage tank and a stool storage tank, the urine storage tank is connected with the urine treatment system, and the stool storage tank is connected with the stool treatment system;
所述尿液处理系统包括生态储液池,所述尿液贮槽与所述生态储液池连接;The urine treatment system includes an ecological liquid storage tank, and the urine storage tank is connected with the ecological liquid storage tank;
所述粪便处理系统包括厌氧池和曝气沉淀池,所述粪便贮槽与所述厌氧池连接,所述厌氧池与所述曝气沉淀池连接,所述曝气沉淀池与所述生态储液池连接。The excrement treatment system includes an anaerobic tank and an aeration sedimentation tank, the excrement storage tank is connected with the anaerobic tank, the anaerobic tank is connected with the aeration sedimentation tank, and the aeration sedimentation tank is connected with the aeration sedimentation tank. The ecological reservoir connection described above.
进一步的,在本发明上述技术方案的基础上,所述厌氧池包括一级腐化室、二级腐化室和三级处理室,所述一级腐化室、二级腐化室和三级处理室依次连通。Further, on the basis of the above technical solutions of the present invention, the anaerobic pond includes a first-level corrosion chamber, a second-level corrosion chamber and a third-level treatment chamber, and the first-level corrosion chamber, the second-level corrosion chamber and the third-level treatment chamber. Connect sequentially.
进一步的,在本发明上述技术方案的基础上,所述粪便贮槽与所述厌氧池的一级腐化室连接,所述厌氧池的三级处理室与所述曝气沉淀池连接。Further, on the basis of the above technical solutions of the present invention, the manure storage tank is connected to the primary corrosion chamber of the anaerobic tank, and the tertiary treatment chamber of the anaerobic tank is connected to the aeration sedimentation tank.
进一步的,在本发明上述技术方案的基础上,所述曝气沉淀池与曝气装置连接。Further, on the basis of the above technical solutions of the present invention, the aeration sedimentation tank is connected to an aeration device.
进一步的,在本发明上述技术方案的基础上,所述曝气装置包括曝气风机和曝气器,所述曝气风机位于所述曝气沉淀池的外部,所述曝气器位于所述曝气沉淀池的内部,所述曝气风机和所述曝气器连接。Further, on the basis of the above technical solutions of the present invention, the aeration device includes an aeration fan and an aerator, the aeration fan is located outside the aeration sedimentation tank, and the aerator is located in the Inside the aeration sedimentation tank, the aeration fan is connected to the aerator.
进一步的,在本发明上述技术方案的基础上,所述尿液贮槽和生态储液池之间设置有排液管道和回液管道,所述尿液贮槽分别通过排液管道和回液管道与所述生态储液池连通。Further, on the basis of the above technical solutions of the present invention, a drainage pipeline and a liquid return pipeline are arranged between the urine storage tank and the ecological liquid storage tank, and the urine storage tank passes through the drainage pipeline and the liquid return pipeline respectively. communicated with the ecological reservoir.
进一步的,在本发明上述技术方案的基础上,所述生态储液池上开设排液口,所述排液口与湿地净化池连通。Further, on the basis of the above technical solutions of the present invention, a liquid discharge port is provided on the ecological liquid storage tank, and the liquid discharge port is communicated with the wetland purification tank.
进一步的,在本发明上述技术方案的基础上,所述生态储液池上开设补水进口。Further, on the basis of the above technical solutions of the present invention, a water replenishing inlet is provided on the ecological liquid storage tank.
进一步的,在本发明上述技术方案的基础上,所述粪便贮槽上设置便器盖。Further, on the basis of the above technical solutions of the present invention, a toilet cover is provided on the excrement storage tank.
本发明还提供了一种生态处理系统,包括上述粪尿分集式处理系统。The present invention also provides an ecological treatment system, including the above-mentioned excrement and urine diversity treatment system.
与现有技术相比,本发明提供的粪尿分集式处理系统和生态处理系统具有以下技术效果:Compared with the prior art, the excrement and urine diversity treatment system and the ecological treatment system provided by the present invention have the following technical effects:
(1)本发明提供了一种粪尿分集式处理系统,包括粪尿分离器、粪便处理系统以及尿液处理系统,其中,粪尿分离器包括尿液贮槽和粪便贮槽,尿液贮槽与尿液处理系统连接,粪便贮槽与粪便处理系统连接;尿液处理系统包括生态储液池,尿液贮槽与生态储液池连接;粪便处理系统包括厌氧池和曝气沉淀池,粪便贮槽与厌氧池连接,厌氧池与曝气沉淀池连接,曝气沉淀池与生态储液池连接。(1) The present invention provides a feces and urine diversity treatment system, including a feces and urine separator, a feces treatment system and a urine treatment system, wherein the feces and urine separator includes a urine storage tank and a feces storage tank, and the urine storage tank The tank is connected with the urine treatment system, and the excrement storage tank is connected with the excrement treatment system; the urine treatment system includes an ecological liquid storage tank, and the urine storage tank is connected with the ecological liquid storage tank; the excrement treatment system includes an anaerobic tank and an aeration sedimentation tank , the manure storage tank is connected with the anaerobic tank, the anaerobic tank is connected with the aeration sedimentation tank, and the aeration sedimentation tank is connected with the ecological liquid storage tank.
该粪尿分集式处理系统通过粪尿分离器将粪便和尿液从源头分别收集和贮存,贮存的粪便通过粪便处理系统中的厌氧池和曝气沉淀池进行处理,贮存的尿液可通过尿液处理系统进行处理;该粪尿分集式处理系统不仅能够充分利用尿液,而且能将粪便通过厌氧发酵、曝气沉淀制得有机肥,实现了粪便和尿液的有效利用,同时,该粪尿分集式处理系统可减少尿液中的氨与粪便中硫化氢等混合发酵产生的恶臭气体,减少了蚊蝇和生蛆带来的视觉污染,预防传染病的发生;同时,该粪尿分集式处理系统可节约大量水资源,尤其适用于部分干旱缺水地区或者排污净化设施不完善的地区,防止粪、尿和水排放带来的生态污染,保护生态环境。The excrement and urine diversification treatment system collects and stores excrement and urine from the source respectively through the excrement and urine separator. The stored excrement is processed through the anaerobic tank and aeration sedimentation tank in the excrement treatment system. Urine treatment system for treatment; the excrement and urine diversity treatment system can not only make full use of urine, but also make organic fertilizer by anaerobic fermentation and aeration precipitation, realizing the effective utilization of excrement and urine, and at the same time, The manure and urine diversity treatment system can reduce the malodorous gas produced by the mixed fermentation of ammonia in urine and hydrogen sulfide in manure, reduce visual pollution caused by mosquitoes, flies and maggots, and prevent the occurrence of infectious diseases; The urine diversity treatment system can save a lot of water resources, especially suitable for some arid and water-deficient areas or areas with imperfect sewage purification facilities, preventing ecological pollution caused by feces, urine and water discharge, and protecting the ecological environment.
该粪尿分集式处理系统为实现粪便和尿液无害化、减量化以及资源化处理提供科学合理的解决方案。The excrement and urine diversification treatment system provides a scientific and reasonable solution for the harmless, reduction and resource treatment of excrement and urine.
(2)本发明提供了一种生态处理系统,包括上述粪尿分集式处理系统。鉴于上述粪尿分集式处理系统所具有的优势,使得该生态处理系统也具有同样的优势。(2) The present invention provides an ecological treatment system, including the above-mentioned excrement and urine diversity treatment system. In view of the advantages of the excrement and urine diversity treatment system, the ecological treatment system also has the same advantages.
附图说明Description of drawings
为了更清楚地说明本发明具体实施方式或现有技术中的技术方案,下面将对具体实施方式或现有技术描述中所需要使用的附图作简单地介绍,显而易见地,下面描述中的附图是本发明的一些实施方式,对于本领域普通技术人员来讲,在不付出创造性劳动的前提下,还可以根据这些附图获得其他的附图。In order to illustrate the specific embodiments of the present invention or the technical solutions in the prior art more clearly, the following briefly introduces the accompanying drawings that need to be used in the description of the specific embodiments or the prior art. Obviously, the accompanying drawings in the following description The drawings are some embodiments of the present invention. For those of ordinary skill in the art, other drawings can also be obtained based on these drawings without creative efforts.
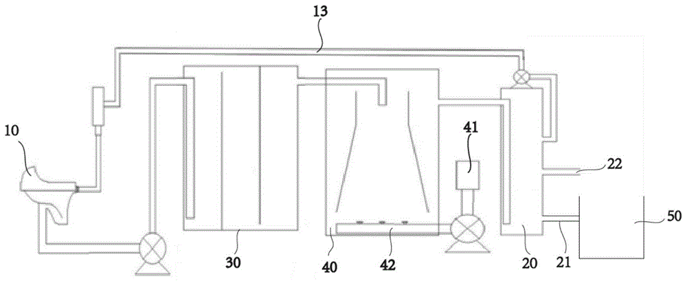
图1为本发明提供的一种实施方式下的粪尿分集式处理系统的结构简图;1 is a schematic structural diagram of a fecal and urine diversity treatment system under an embodiment provided by the present invention;
图2为本发明提供的一种实施方式下的粪尿分离器的结构简图;FIG. 2 is a schematic structural diagram of a manure and urine separator under an embodiment provided by the present invention;
图3为本发明提供的一种实施方式下的厌氧池的结构简图;3 is a schematic structural diagram of an anaerobic tank under an embodiment provided by the present invention;
图4为本发明提供的一种实施方式下的湿地系统的结构示意图。FIG. 4 is a schematic structural diagram of a wetland system according to an embodiment provided by the present invention.
图标:10-粪尿分离器;11-尿液贮槽;12-粪便贮槽;13-排液管道;20-生态储液池;21-排液口;22-补水进口;30-厌氧池;31-一级腐化室;32-二级腐化室;33-三级处理室;40-曝气沉淀池;41-曝气风机;42-曝气器;50-湿地净化池;51-湿地系统;52-第一材料层;53-第二材料层;54-第三材料层;55-第四材料层;56-植物。Icon: 10-fecal and urine separator; 11-urine storage tank; 12-fecal storage tank; 13-drainage pipeline; 20-ecological storage tank; 21-drainage outlet; 22-water supply inlet; 30-anaerobic pond; 31-first-level corrosion room; 32-second-level corrosion room; 33-third-level treatment room; 40-aeration sedimentation tank; 41-aeration fan; 42-aerator; 50-wetland purification tank; 51- Wetland system; 52 - first material layer; 53 - second material layer; 54 - third material layer; 55 - fourth material layer; 56 - plant.
具体实施方式Detailed ways
下面将结合实施例对本发明的技术方案进行清楚、完整地描述,显然,所描述的实施例是本发明一部分实施例,而不是全部的实施例。基于本发明中的实施例,本领域普通技术人员在没有做出创造性劳动前提下所获得的所有其他实施例,都属于本发明保护的范围。The technical solutions of the present invention will be clearly and completely described below with reference to the embodiments. Obviously, the described embodiments are part of the embodiments of the present invention, but not all of the embodiments. Based on the embodiments of the present invention, all other embodiments obtained by those of ordinary skill in the art without creative efforts shall fall within the protection scope of the present invention.
在本发明的描述中,需要说明的是,除非另有明确的规定和限定,术语“连通”、“相连”、“连接”应做广义理解,例如,可以是固定连接,也可以是可拆卸连接,或一体地连接;可以是机械连接,也可以是电连接;可以是直接相连,也可以通过中间媒介间接相连,可以是两个元件内部的连通。对于本领域的普通技术人员而言,可以具体情况理解上述术语在本发明中的具体含义。另外,术语“第一”、“第二”、“第三”、“第四”仅用于描述目的,而不能理解为指示或暗示相对重要性。对于本领域的普通技术人员而言,可以具体情况理解上述术语在本发明中的具体含义。In the description of the present invention, it should be noted that, unless otherwise expressly specified and limited, the terms "connected", "connected" and "connected" should be understood in a broad sense, for example, it may be a fixed connection or a detachable connection Connection, or integral connection; can be mechanical connection, can also be electrical connection; can be directly connected, can also be indirectly connected through an intermediate medium, can be internal communication between two elements. For those of ordinary skill in the art, the specific meanings of the above terms in the present invention can be understood in specific situations. Additionally, the terms "first," "second," "third," and "fourth" are used for descriptive purposes only and should not be construed to indicate or imply relative importance. For those of ordinary skill in the art, the specific meanings of the above terms in the present invention can be understood in specific situations.
实施例一Example 1
根据本发明的第一个方面,本实施例提供了一种粪尿分集式处理系统,具体如图1、图2、图3和图4所示。该粪尿分集式处理系统包括粪尿分离器10、粪便处理系统以及尿液处理系统;According to the first aspect of the present invention, this embodiment provides a waste and urine diversity treatment system, as shown in FIG. 1 , FIG. 2 , FIG. 3 and FIG. 4 . The feces and urine diversity treatment system includes a feces and
粪尿分离器10包括尿液贮槽11和粪便贮槽12,尿液贮槽11与尿液处理系统连接,粪便贮槽12与粪便处理系统连接;The feces and
尿液处理系统包括生态储液池20,尿液贮槽11与生态储液池20连接;The urine treatment system includes an ecological
粪便处理系统包括厌氧池30和曝气沉淀池40,粪便贮槽12与厌氧池30连接,厌氧池30与曝气沉淀池40连接,曝气沉淀池40与生态储液池20连接。The excrement treatment system includes an
具体的,粪尿分离器10主要用于将粪(粪便)与尿(尿液)分离的装置,其包括尿液贮槽11和粪便贮槽12。对于粪尿分离器10的具体结构不作限定,例如,在粪尿分离器10内分别设置排粪孔和排尿孔,粪便可通过排粪孔进入到粪便贮槽12,尿液可通过排尿孔进入到尿液贮槽11。Specifically, the feces and
由于尿液中含有大量的氮、磷和钾等元素,且其易于被植物吸收,为了实现尿液的再利用,故将尿液贮槽11与生态储液池20进行连接。生态储液池20主要是用于对尿液进行物理过滤、生物净化处理,从而实现对尿液的生态处理,有利于后续的利用。Since urine contains a large amount of elements such as nitrogen, phosphorus and potassium, which are easily absorbed by plants, in order to realize the reuse of urine, the
由于绝大多数肠道病毒、肠道致病菌、肠道寄生虫以及虫卵等是与粪便一起从肠道排出体外的,故为了抑制上述肠道寄生虫、病菌的存活,降低其可能引发的传染,需要对粪便进行再处理。故将粪便贮槽12与粪便处理系统相连。Since the vast majority of enteroviruses, enteropathogens, enteroparasites, and eggs are excreted from the intestines together with feces, in order to inhibit the survival of the above-mentioned enteroparasites and bacteria, reduce the risk of causing infection requires reprocessing of the feces. Therefore, the
粪便处理系统包括厌氧池30和曝气沉淀池40。粪便贮槽12与厌氧池30连接。厌氧池30主要是用于将粪便进行沉淀腐化,厌氧发酵,经过厌氧池30的处理后,粪便中的病菌和寄生虫卵基本被杀灭。经过厌氧池30处理后,粪便多沉积于厌氧池30的底部,而厌氧池的中间部会有部分偏黑色液体(粪液)。将粪液转入到曝气沉淀池40中进行初步沉淀、曝气,其目的是主要是用于分解粪液中的有机物,进一步降低粪液中的BOD和COD。The manure treatment system includes an
经过曝气沉淀池40处理后的液体,可转入生态储液池20,利用生态储液池20对从曝气沉淀池40中转移过来的液体与尿液一起进行生态处理。The liquid treated by the
本发明提供的粪尿分集式处理系统,包括粪尿分离器10、粪便处理系统以及尿液处理系统,通过粪尿分离器10将粪便和尿液从源头分别收集和贮存,贮存的粪便通过粪便处理系统中的厌氧池30和曝气沉淀池40进行处理,贮存的尿液可通过尿液处理系统进行处理;该粪尿分集式处理系统不仅能够充分利用尿液,而且能将粪便通过厌氧发酵、曝气沉淀制得有机肥,实现了粪便和尿液的有效利用,同时,该粪尿分集式处理系统可减少尿液中的氨与粪便中硫化氢等混合发酵产生的恶臭气体,减少了蚊蝇和生蛆带来的视觉污染,预防传染病的发生;另外,该粪尿分集式处理系统可节约大量水资源,尤其适用于部分干旱缺水地区或者排污净化设施不完善的地区,防止粪、尿和水排放带来的生态污染,保护生态环境。The feces and urine diversification treatment system provided by the present invention includes a feces and
作为本发明的一种可选实施方式,厌氧池30包括一级腐化室31、二级腐化室32和三级处理室33,一级腐化室31、二级腐化室32和三级处理室33依次连通。As an optional embodiment of the present invention, the
一级腐化室31主要是用于接纳新鲜粪便,厌氧发酵分解分层(上层粪皮中间粪液和底层粪渣,阻留沉淀寄生虫卵),在采用一级腐化室31进行处理时需密封严密,粪便在一级腐化室31内相对静止或流动缓慢,以保证适当长的水力停留时间。The first-
一级腐化室31中除上层粪皮、底层粪渣外的粪液或粪浆流入到二级腐化室32中,二级腐化室32主要用于继续处理粪液或粪浆,以阻留沉淀寄生虫卵。二级腐化室32中的粪液继续进行深度厌氧发酵,游离氨浓度上升,杀菌杀卵。需要说明的是,在将一级腐化室31中的粪液或粪浆转入至二级腐化室32过程中,需防止一级腐化室31粪块、粪皮或粪渣流入二级腐化室32内。The fecal liquid or slurry except the upper layer of fecal skin and the bottom layer of fecal residue in the
三级处理室33主要是用于储存作用,从二级腐化室32流入三级处理室33的粪液一般已经腐熟,其中的病菌和虫卵已基本杀灭和除去,可作施肥之用。或者,三级处理室33中的粪液可转入下一处理系统-曝气沉淀池40,以进行进一步处理。The
通过厌氧池30中的一级腐化室31、二级腐化室32和三级处理室33的处理,使得粪便中的病菌和寄生虫卵基本被杀灭,从而有利于粪便的后续利用。可将粪便中的粪块、粪皮或粪渣转化为有机肥,或者将粪便中的粪液或粪浆作为液体肥料,将粪便中的养分返回给农作物和土壤,增强土壤肥力,改善土壤的持水能力,减少了农作物对化肥的依赖,达到了有机肥肥效的最大化,提高各种养分的利用率。Through the treatment of the
作为本发明的一种可选实施方式,厌氧池30的三级处理室33与曝气沉淀池40连接,曝气沉淀池40与生态储液池20连接。As an optional embodiment of the present invention, the
厌氧池30的三级处理室33内的粪液可以转入至曝气沉淀池40内进行曝气沉淀处理,经过曝气沉淀池40处理后的液体可以转入生态储液池20进行生态处理。The manure liquid in the
为本发明的一种可选实施方式,曝气沉淀池40与曝气装置连接。曝气装置主要是用于向曝气沉淀池40中提供气体,对进入曝气沉淀池40内的粪液进行曝气沉淀。As an optional embodiment of the present invention, the
对于曝气装置的具体结构不作特殊限定。作为本发明的一种可选实施方式,曝气装置包括曝气风机41和曝气器42,曝气风机41位于曝气沉淀池40的外部,曝气器42位于曝气沉淀池40的内部,曝气风机41和曝气器42通过管道连接。The specific structure of the aeration device is not particularly limited. As an optional embodiment of the present invention, the aeration device includes an
曝气风机41可以将外部的空气压缩并通过管道送入位于曝气沉淀池40底部的曝气器42,而空气通过曝气器42逸出从而实现曝气沉淀池40的曝气沉淀。The
作为本发明的一种可选实施方式,尿液贮槽11和生态储液池20之间设置有排液管道13和回液管道(在图中未示出),尿液贮槽11分别通过排液管道13和回液管道与生态储液池20连通。As an optional embodiment of the present invention, a
尿液贮槽11中的尿液可通过排液管道13进入到生态储液池20中,经过生态储液池20生态处理后尿液可转化为较为洁净的处理液,并通过回液管道回流至尿液贮槽11从而实现对尿液贮槽11的冲洗。也就是,排液管道13和回液管道构成了一个循环回路,使得尿液转化为处理液从而实现了尿液的二次利用,同时也节约了大量的水资源,尤其适用于干旱少水地区使用。The urine in the
作为本发明的一种可选实施方式,生态储液池20上开设排液口21,排液口21通过管道与湿地净化池50连通。As an optional embodiment of the present invention, the ecological
作为本发明的一种可选实施方式,湿地净化池50与湿地系统51连接。As an optional embodiment of the present invention, the
湿地净化池50主要是为湿地系统51提供液体肥料。尿液以及曝气沉淀池40上层液体经过生态储液池20处理后,可直接进入到湿地净化池50,利用植物-土壤的吸收、分解、渗滤作用去除COD、总氮、总磷等污染物,使尿液进一步得到净化,经湿地净化池50处理后的尿液可直接进入到湿地系统51内作为植物56的液态肥料,从而实现生态储液池20中液体的有效利用。The
作为本发明的一种可选实施方式,湿地系统51包括材料层以及种植于材料层上的植物56。As an optional embodiment of the present invention, the
材料层由上至下依次包括第一材料层52、第二材料层53、第三材料层54和第四材料层55。其中,第一材料层52主要由直径为30-50mm的卵石构成,第二材料层53主要由直径为10-30mm的碎石构成,第二材料层53主要由粗砂构成,第四材料层55主要由细沙或煤炭渣构成。The material layers sequentially include a
通过第一材料层52、第二材料层53、第三材料层54和第四材料层55材料的限定,使得进入到湿地系统51中的水分或液体肥料不易流失,满足湿地上的植物56生长所需。Through the material limitation of the
种植于材料层上的植物56的具体种类不作限定,例如可为菖蒲和/或美人蕉。The specific type of
作为本发明的一种可选实施方式,生态储液池20上开设补水进口22。外接的二次清洁用水也可通过补水进口22进入到生态储液池20内,以满足尿液贮槽11或湿地净化池50对于水量的需求。As an optional embodiment of the present invention, a
作为本发明的一种可选实施方式,粪便贮槽12上设置便器盖。便器盖的设置可将尿液贮槽11和粪便贮槽12与外界隔离开来,防止臭气的外泄以及粪便的视觉污染。As an optional embodiment of the present invention, a toilet cover is provided on the
为了验证该粪尿分集式处理系统的效果,特在贵州省剑河县光条村进行试验。In order to verify the effect of the excrement and urine diversity treatment system, the experiment was carried out in Guangtiao Village, Jianhe County, Guizhou Province.
对贵州省剑河县光条村中的20户人家的老旧厕所进行改造,均改造为本发明提供的粪尿分集式处理系统。改造后,用户给出一致好评。The old toilets of 20 households in Guangtiao Village, Jianhe County, Guizhou Province were reconstructed, and all of them were transformed into the excrement and urine diversity treatment system provided by the present invention. After the renovation, users gave unanimous praise.
该粪尿分集式处理系统适应各种铺设要求,尤其适用农村复杂多变的情况。安装可根据现场实际情况,采用地埋处理,基本不占用地表面积,大幅度减少农村用地面积,缓解当前用地紧张的矛盾。同时,该粪尿分集式处理系统有较强的耐冲击负荷能力,处理效率高,对环境无任何伤害。The manure and urine diversity treatment system is suitable for various laying requirements, especially for the complex and changeable situation in rural areas. The installation can be buried in the ground according to the actual situation of the site, which basically does not occupy the land surface area, greatly reduces the area of rural land, and alleviates the current contradiction of land shortage. At the same time, the excrement and urine diversity treatment system has strong impact load resistance, high treatment efficiency, and no harm to the environment.
由于每个家庭人口数各不相同,每天的粪污排放量也不一样,如果采用同等处理量的污水处理设备势必会造成资源浪费或处理不达标,而粪尿分集式处理系统可以依据家庭人口数的不同确定大小,方便灵活。Since the population of each family is different, the amount of manure discharged every day is also different. If the sewage treatment equipment with the same treatment capacity is used, it will inevitably lead to waste of resources or substandard treatment. The different numbers determine the size, which is convenient and flexible.
粪尿分集式处理系统厕所干净卫生,没有任何臭味及蚊蝇,尿液能够实现完全循环利用,不仅节省大量水资源,而且能有效地防止因污水排放或渗入地下水源地而引起的当地水污染,对环境没有任何副作用。The toilet of the manure and urine diversification treatment system is clean and hygienic, without any odor and mosquitoes, and the urine can be completely recycled, which not only saves a lot of water resources, but also effectively prevents the local water caused by sewage discharge or infiltration into the groundwater source. Pollution, without any side effects on the environment.
实施例二Embodiment 2
本发明实施例二还提供了一种生态处理系统,本实施例是在实施例一基础上的改进,实施例一所描述的技术方案也属于本实施例,在此不再赘述。The second embodiment of the present invention also provides an ecological processing system. This embodiment is an improvement on the basis of the first embodiment. The technical solution described in the first embodiment also belongs to this embodiment, and will not be repeated here.
本实施例提供了一种生态处理系统,包括上述粪尿分集式处理系统。鉴于上述粪尿分集式处理系统所具有的优势,使得该生态处理系统也具有同样的优势。This embodiment provides an ecological treatment system, including the above-mentioned excrement and urine diversity treatment system. In view of the advantages of the excrement and urine diversity treatment system, the ecological treatment system also has the same advantages.
最后应说明的是:以上各实施例仅用以说明本发明的技术方案,而非对其限制;尽管参照前述各实施例对本发明进行了详细的说明,本领域的普通技术人员应当理解:其依然可以对前述各实施例所记载的技术方案进行修改,或者对其中部分或者全部技术特征进行等同替换;而这些修改或者替换,并不使相应技术方案的本质脱离本发明各实施例技术方案的范围。Finally, it should be noted that the above embodiments are only used to illustrate the technical solutions of the present invention, but not to limit them; although the present invention has been described in detail with reference to the foregoing embodiments, those of ordinary skill in the art should understand that: The technical solutions described in the foregoing embodiments can still be modified, or some or all of the technical features thereof can be equivalently replaced; and these modifications or replacements do not make the essence of the corresponding technical solutions deviate from the technical solutions of the embodiments of the present invention. scope.
Claims (10)
Priority Applications (1)
| Application Number | Priority Date | Filing Date | Title |
|---|---|---|---|
| CN201911178660.8A CN110745946A (en) | 2019-11-27 | 2019-11-27 | Diversity treatment system for excrement and urine and ecological treatment system |
Applications Claiming Priority (1)
| Application Number | Priority Date | Filing Date | Title |
|---|---|---|---|
| CN201911178660.8A CN110745946A (en) | 2019-11-27 | 2019-11-27 | Diversity treatment system for excrement and urine and ecological treatment system |
Publications (1)
| Publication Number | Publication Date |
|---|---|
| CN110745946A true CN110745946A (en) | 2020-02-04 |
Family
ID=69284738
Family Applications (1)
| Application Number | Title | Priority Date | Filing Date |
|---|---|---|---|
| CN201911178660.8A Pending CN110745946A (en) | 2019-11-27 | 2019-11-27 | Diversity treatment system for excrement and urine and ecological treatment system |
Country Status (1)
| Country | Link |
|---|---|
| CN (1) | CN110745946A (en) |
Cited By (2)
| Publication number | Priority date | Publication date | Assignee | Title |
|---|---|---|---|---|
| CN113287962A (en) * | 2021-06-02 | 2021-08-24 | 哈尔滨工业大学 | Manure diversity composting toilet integrated with biofilm tail gas treatment device |
| CN113698039A (en) * | 2021-09-02 | 2021-11-26 | 中云汇(成都)物联科技有限公司 | Harmless treatment method and system for urine and intelligent toilet based on harmless treatment method and system |
Citations (8)
| Publication number | Priority date | Publication date | Assignee | Title |
|---|---|---|---|---|
| KR20030056575A (en) * | 2001-12-28 | 2003-07-04 | 우길만 | An excretions fertilizer |
| CN2870707Y (en) * | 2006-02-15 | 2007-02-21 | 南宁大地求生态卫生制品有限公司 | Ecological sanitary water-free toilet with integrated-detachable multi-hole combination and faces and urine collection |
| CN101638909A (en) * | 2009-08-13 | 2010-02-03 | 宁波市江北怡宁环保科技有限公司 | Green ecotypical toilet |
| CN102206027A (en) * | 2011-04-22 | 2011-10-05 | 马明义 | Purification treatment device for excrement in mobile toilet |
| CN205053984U (en) * | 2015-10-19 | 2016-03-02 | 李仕杰 | Ecological toilet |
| CN106365401A (en) * | 2016-11-08 | 2017-02-01 | 英普(北京)环境科技有限公司 | Small-sized excrement and urine wastewater treatment device and method |
| CN107381973A (en) * | 2017-09-13 | 2017-11-24 | 山东省分析测试中心 | Scale animal and poultry cultivation fecaluria separate type ecology processing system and construction method |
| CN211078598U (en) * | 2019-11-27 | 2020-07-24 | 农业农村部环境保护科研监测所 | Excrement and urine diversification treatment system and ecological treatment system |
-
2019
- 2019-11-27 CN CN201911178660.8A patent/CN110745946A/en active Pending
Patent Citations (8)
| Publication number | Priority date | Publication date | Assignee | Title |
|---|---|---|---|---|
| KR20030056575A (en) * | 2001-12-28 | 2003-07-04 | 우길만 | An excretions fertilizer |
| CN2870707Y (en) * | 2006-02-15 | 2007-02-21 | 南宁大地求生态卫生制品有限公司 | Ecological sanitary water-free toilet with integrated-detachable multi-hole combination and faces and urine collection |
| CN101638909A (en) * | 2009-08-13 | 2010-02-03 | 宁波市江北怡宁环保科技有限公司 | Green ecotypical toilet |
| CN102206027A (en) * | 2011-04-22 | 2011-10-05 | 马明义 | Purification treatment device for excrement in mobile toilet |
| CN205053984U (en) * | 2015-10-19 | 2016-03-02 | 李仕杰 | Ecological toilet |
| CN106365401A (en) * | 2016-11-08 | 2017-02-01 | 英普(北京)环境科技有限公司 | Small-sized excrement and urine wastewater treatment device and method |
| CN107381973A (en) * | 2017-09-13 | 2017-11-24 | 山东省分析测试中心 | Scale animal and poultry cultivation fecaluria separate type ecology processing system and construction method |
| CN211078598U (en) * | 2019-11-27 | 2020-07-24 | 农业农村部环境保护科研监测所 | Excrement and urine diversification treatment system and ecological treatment system |
Cited By (3)
| Publication number | Priority date | Publication date | Assignee | Title |
|---|---|---|---|---|
| CN113287962A (en) * | 2021-06-02 | 2021-08-24 | 哈尔滨工业大学 | Manure diversity composting toilet integrated with biofilm tail gas treatment device |
| CN113698039A (en) * | 2021-09-02 | 2021-11-26 | 中云汇(成都)物联科技有限公司 | Harmless treatment method and system for urine and intelligent toilet based on harmless treatment method and system |
| CN113698039B (en) * | 2021-09-02 | 2024-03-22 | 中云汇(成都)物联科技有限公司 | Urine harmless treatment methods and systems and smart toilets based thereon |
Similar Documents
| Publication | Publication Date | Title |
|---|---|---|
| CN102351378B (en) | Method and system for processing rural sewage in artificial wetlands | |
| CN101973637B (en) | River channel purification system for processing rural domestic sewage | |
| CN101353271B (en) | A feces and urine diversion toilet and harmless treatment and resource utilization system | |
| CN217077330U (en) | Rural black grey water disconnect-type ecological treatment facility | |
| CN211078598U (en) | Excrement and urine diversification treatment system and ecological treatment system | |
| CN112125472A (en) | A decentralized domestic sewage source separation collection and treatment system for on-site resource reuse and pollution load reduction and design method thereof | |
| CN104450501B (en) | A kind of distributing life in the countryside waste resource utilization device and application thereof | |
| CN104291520B (en) | One way of life sewage disposal and reuse method | |
| CN116143279A (en) | Coordinated treatment system for rural household drainage of black water and gray water | |
| CN212269810U (en) | Rural domestic sewage combined type ecological purification system | |
| CN110745946A (en) | Diversity treatment system for excrement and urine and ecological treatment system | |
| CN116534983B (en) | An ecological coupling system for efficiently treating rural gray water and its application | |
| CN217868543U (en) | Unpowered treatment system for rural domestic sewage | |
| CN111792798A (en) | Rural domestic sewage compound ecological purification system | |
| CN212545015U (en) | Environment-friendly horse yard | |
| CN114716123A (en) | Combined household purification tank and oxidation ditch to treat rural sewage multi-circulation system | |
| CN210825835U (en) | An unpowered sewage treatment system | |
| CN111689663A (en) | Unpowered toilet | |
| CN100395193C (en) | System and method for purifying landscape water body | |
| Ghangrekar | Onsite sanitation systems | |
| CN113845225A (en) | System for separating domestic sewage source of villages and towns and recycling waste based on worms | |
| CN210559946U (en) | Rural water resource recycling system | |
| CN218642608U (en) | Biochemical treatment equipment for reducing manure of three-grid type septic tank | |
| CN209759122U (en) | Integrated fecal sewage treatment equipment | |
| CN107585959A (en) | Water circulation utilizes the formula ecosystem certainly |
Legal Events
| Date | Code | Title | Description |
|---|---|---|---|
| PB01 | Publication | ||
| PB01 | Publication | ||
| SE01 | Entry into force of request for substantive examination | ||
| SE01 | Entry into force of request for substantive examination | ||
| RJ01 | Rejection of invention patent application after publication | ||
| RJ01 | Rejection of invention patent application after publication |
Application publication date: 20200204 |
