CN110744725A - A kind of masonry drilling construction equipment - Google Patents
A kind of masonry drilling construction equipment Download PDFInfo
- Publication number
- CN110744725A CN110744725A CN201911095148.7A CN201911095148A CN110744725A CN 110744725 A CN110744725 A CN 110744725A CN 201911095148 A CN201911095148 A CN 201911095148A CN 110744725 A CN110744725 A CN 110744725A
- Authority
- CN
- China
- Prior art keywords
- plate
- locking
- limit
- masonry
- limiting
- Prior art date
- Legal status (The legal status is an assumption and is not a legal conclusion. Google has not performed a legal analysis and makes no representation as to the accuracy of the status listed.)
- Granted
Links
- 238000005553 drilling Methods 0.000 title claims abstract description 48
- 238000010276 construction Methods 0.000 title claims abstract description 16
- 230000007246 mechanism Effects 0.000 claims abstract description 44
- 239000004575 stone Substances 0.000 claims description 12
- 238000003780 insertion Methods 0.000 claims description 7
- 230000037431 insertion Effects 0.000 claims description 7
- 230000006835 compression Effects 0.000 claims description 3
- 238000007906 compression Methods 0.000 claims description 3
- 239000002390 adhesive tape Substances 0.000 claims 1
- 238000009827 uniform distribution Methods 0.000 claims 1
- 239000004570 mortar (masonry) Substances 0.000 description 10
- 230000009471 action Effects 0.000 description 9
- 230000000694 effects Effects 0.000 description 6
- 238000010586 diagram Methods 0.000 description 3
- 239000011440 grout Substances 0.000 description 2
- 239000000463 material Substances 0.000 description 2
- 230000009286 beneficial effect Effects 0.000 description 1
- 238000009435 building construction Methods 0.000 description 1
- 238000005034 decoration Methods 0.000 description 1
- 239000003292 glue Substances 0.000 description 1
- 238000000034 method Methods 0.000 description 1
- 238000012986 modification Methods 0.000 description 1
- 230000004048 modification Effects 0.000 description 1
- 238000004080 punching Methods 0.000 description 1
- XLYOFNOQVPJJNP-UHFFFAOYSA-N water Substances O XLYOFNOQVPJJNP-UHFFFAOYSA-N 0.000 description 1
Images
Classifications
-
- B—PERFORMING OPERATIONS; TRANSPORTING
- B28—WORKING CEMENT, CLAY, OR STONE
- B28D—WORKING STONE OR STONE-LIKE MATERIALS
- B28D1/00—Working stone or stone-like materials, e.g. brick, concrete or glass, not provided for elsewhere; Machines, devices, tools therefor
- B28D1/14—Working stone or stone-like materials, e.g. brick, concrete or glass, not provided for elsewhere; Machines, devices, tools therefor by boring or drilling
-
- B—PERFORMING OPERATIONS; TRANSPORTING
- B28—WORKING CEMENT, CLAY, OR STONE
- B28D—WORKING STONE OR STONE-LIKE MATERIALS
- B28D7/00—Accessories specially adapted for use with machines or devices of the preceding groups
-
- B—PERFORMING OPERATIONS; TRANSPORTING
- B28—WORKING CEMENT, CLAY, OR STONE
- B28D—WORKING STONE OR STONE-LIKE MATERIALS
- B28D7/00—Accessories specially adapted for use with machines or devices of the preceding groups
- B28D7/04—Accessories specially adapted for use with machines or devices of the preceding groups for supporting or holding work or conveying or discharging work
Landscapes
- Engineering & Computer Science (AREA)
- Mechanical Engineering (AREA)
- Mining & Mineral Resources (AREA)
- Processing Of Stones Or Stones Resemblance Materials (AREA)
Abstract
本发明涉及一种浆砌石打孔施工设备,包括下撑板、内撑机构、伸缩杆、锁定连板、夹持块、锁定机构和连接架,所述的下撑板的外端对称设置有四个方槽,下撑板上的每个方槽内均安装有一个内撑机构,伸缩杆的下端通过铰链安装在下撑板的前侧面上,伸缩杆的上端上通过铰链安装有锁定连板,锁定连板的中部上设置有十字型槽,锁定连板的十字型槽内分布有夹持块,夹持块的左右两端均安装有一个U型结构的连接架,夹持块的左右两端均安装有一个锁定机构。本发明可以解决人工对浆砌石墙面进行钻孔施工时无法对其打钻角度进行准确定位,造成钻孔的角度产生一定的偏差、人工利用手钻进行打钻时会因施工人员手部的抖动造成钻孔不平直等问题。
The invention relates to a drilling construction equipment for masonry masonry, comprising a lower support plate, an inner support mechanism, a telescopic rod, a locking connecting plate, a clamping block, a locking mechanism and a connecting frame. The outer ends of the lower support plate are symmetrically arranged There are four square grooves, and each square groove on the lower support plate is installed with an inner support mechanism. The middle part of the locking connecting plate is provided with a cross-shaped groove, and clamping blocks are distributed in the cross-shaped groove of the locking connecting plate. A locking mechanism is installed on the left and right ends. The invention can solve the problem that the drilling angle cannot be accurately positioned during the manual drilling construction of the masonry wall, resulting in a certain deviation of the drilling angle, and the manual drilling by the hand drill will cause the construction personnel's hands to be damaged. The vibration caused by drilling unevenness and other problems.
Description
技术领域technical field
本发明涉及建筑施工技术领域,特别涉及一种浆砌石打孔施工设备。The invention relates to the technical field of building construction, in particular to a drilling construction equipment for masonry masonry.
背景技术Background technique
浆砌石是使用胶结材料的块石砌体。浆砌石中石块依靠胶结材料的粘结力、摩擦力和石块本身重量来保持建筑物稳定,在中国水利工程大量使用浆砌料石或浆砌块石,其中一部分浆砌石是倾斜墙面;浆砌石墙面砌筑完成后为了保持砌石出露面的整齐美观,需要对全部水平或垂直砌缝应采取勾缝处理,通常浆砌石上的勾缝会突出整体墙面一定的高度。Grout masonry is block stone masonry using cementitious materials. The stones in masonry rely on the cohesive force, frictional force of the cementing material and the weight of the stone itself to keep the building stable. In China's water conservancy projects, a large number of masonry stones or masonry masonry are used, some of which are inclined. Wall; after the masonry wall is completed, in order to keep the exposed surface of the masonry neat and beautiful, all the horizontal or vertical joints should be jointed. Usually, the joints on the masonry will protrude from the overall wall to a certain extent. high.
浆砌石墙面砌筑完成后有时需要在墙面上安装宣传牌或是其他一些装饰品时,需要在浆砌石墙面上开设钻孔,浆砌石墙面上多数钻孔为垂直于墙面布置,但一部分有特殊作用的钻孔需要倾斜墙面一定的角度布置,现有对浆砌石墙面进行钻孔开设时一般通过人工利用手持冲击钻对墙面进行钻孔施工,现有人工对浆砌石墙面进行钻孔施工时存在的具体问题如下:After the masonry wall is completed, sometimes it is necessary to install publicity signs or other decorations on the wall, and drill holes need to be opened on the masonry wall. Most of the holes on the masonry wall are perpendicular to the wall. The wall is arranged, but some of the holes with special functions need to be arranged at a certain angle on the inclined wall. When drilling holes on the masonry wall, the wall is usually drilled manually with a hand-held impact drill. The specific problems existing in the manual drilling of the masonry wall are as follows:
1.人工对浆砌石墙面进行钻孔施工时无法对其打钻角度进行准确定位,造成钻孔的角度产生一定的偏差;1. When manually drilling the masonry wall, the drilling angle cannot be accurately positioned, resulting in a certain deviation of the drilling angle;
2.人工利用手钻进行打钻时会因施工人员手部的抖动造成钻孔不平直,且手钻进行钻孔时产生的振动力会造成钻孔孔径变大等问题。2. When manually drilling with a hand drill, the drill hole will be uneven due to the shaking of the construction personnel's hands, and the vibration force generated by the hand drill during drilling will cause problems such as the enlargement of the hole diameter of the hole.
发明内容SUMMARY OF THE INVENTION
为了解决上述问题,本发明提供了一种浆砌石打孔施工设备,包括下撑板、内撑机构、伸缩杆、锁定连板、夹持块、锁定机构和连接架,所述的下撑板的外端对称设置有四个方槽,下撑板上的每个方槽内均安装有一个内撑机构,下撑板的中部设置有钻孔槽,下撑板的前侧面上对称分布有伸缩杆,伸缩杆的下端通过铰链安装在下撑板的前侧面上,伸缩杆的外端上套装有弹簧,伸缩杆的上端上通过铰链安装有锁定连板,锁定连板的中部上设置有十字型槽,锁定连板的十字型槽内分布有夹持块,夹持块的中部设置有夹持槽,夹持块的左右两端均安装有一个U型结构的连接架,连接架的外端中部通过转轴安装在锁定连板上的十字型槽的左右内壁上,夹持块的左右两端均安装有一个锁定机构,首先将本发明放置在需要进行钻孔的浆砌石面上,调节内撑机构,使得本发明能够撑在浆砌石的侧面上,之后通过人工将手钻固定在锁定机构上,使得手钻能够垂直于浆砌石面上,人工开启手钻并用力将手钻向后压动,伸缩杆能够自动配合收缩,使得手钻能够对浆砌石面进行垂直打孔操作,伸缩杆在手钻进行钻孔动作时能够缓冲手钻的振动力并对手钻的移动进行导向,从而增加浆砌石的打孔效果。In order to solve the above problems, the present invention provides a drilling construction equipment for masonry, including a lower support plate, an inner support mechanism, a telescopic rod, a locking connecting plate, a clamping block, a locking mechanism and a connecting frame. The outer end of the plate is symmetrically provided with four square grooves, each square groove on the lower support plate is installed with an inner support mechanism, the middle of the lower support plate is provided with drilling grooves, and the front side of the lower support plate is symmetrically distributed. There is a telescopic rod, the lower end of the telescopic rod is installed on the front side of the lower support plate through a hinge, a spring is sleeved on the outer end of the telescopic rod, a locking connecting plate is installed on the upper end of the telescopic rod through a hinge, and a locking connecting plate is arranged on the middle part of the locking connecting plate. Cross-shaped groove, clamping blocks are distributed in the cross-shaped groove of the locking connecting plate, the middle of the clamping block is provided with a clamping groove, and the left and right ends of the clamping block are installed with a U-shaped structure connecting frame. The middle part of the outer end is installed on the left and right inner walls of the cross-shaped groove on the locking connecting plate through the rotating shaft, and a locking mechanism is installed on the left and right ends of the clamping block. , adjust the inner support mechanism so that the present invention can be supported on the side of the masonry, and then manually fix the hand drill on the locking mechanism, so that the hand drill can be perpendicular to the masonry surface, manually open the hand drill and forcefully When the hand drill is pressed backward, the telescopic rod can automatically cooperate and shrink, so that the hand drill can perform vertical drilling operations on the masonry surface. The movement is guided to increase the punching effect of the masonry.
所述的锁定机构包括锁定螺栓和锁定夹板,锁定夹板位于夹持块上的夹持槽内,锁定夹板为弧形结构,锁定夹板的上下两端均设置有一个滑块,夹持块上的夹持槽的上下侧壁上均设置有一个与锁定夹板设置的滑块相配合的滑槽,锁定夹板的前侧面设置有前端向外倾斜的弧形板,锁定夹板外端设置的弧形板能够在手钻放置到锁定夹板内时进行导向,锁定夹板的内侧面上均匀设置有橡胶防滑块,锁定夹板的的外端中部与锁定螺栓的内端相连接,锁定螺栓中部通过螺纹配合的方式与夹持块上的夹持槽侧壁相连接,锁定螺栓的外端位于连接架内,具体工作时,锁定机构能够对手钻进行夹持,通过拧动锁定螺栓使得锁定夹板可以进行左右移动,内侧面设置有橡胶防滑块的锁定夹板能够将手钻的中部进行锁定,从而手钻能够对浆砌石进行垂直方向的钻孔动作。The locking mechanism includes a locking bolt and a locking splint, the locking splint is located in the clamping groove on the clamping block, the locking splint is an arc structure, and a slider is arranged on the upper and lower ends of the locking splint, and the clamping plate is provided with a sliding block. The upper and lower side walls of the clamping groove are provided with a chute which is matched with the slider set on the locking splint. It can guide when the hand drill is placed in the locking splint. The inner surface of the locking splint is evenly provided with rubber anti-skid blocks. The middle part of the outer end of the locking splint is connected with the inner end of the locking bolt, and the middle part of the locking bolt is threaded through the way It is connected with the side wall of the clamping groove on the clamping block, and the outer end of the locking bolt is located in the connecting frame. When working, the locking mechanism can clamp the hand drill, and the locking splint can be moved left and right by turning the locking bolt. The locking splint provided with the rubber anti-skid block on the inner side can lock the middle part of the hand drill, so that the hand drill can perform vertical drilling action on the masonry.
所述的锁定连板的后侧面下端上分布有两个限位机构,限位机构对称分布在下撑板上的钻孔槽的左右两侧;所述的限位机构包括限位转动板、限位伸缩柱、限位插杆和限位锁定板,限位伸缩柱安装在锁定连板的后侧面上,限位伸缩柱的后端上下两侧均分布有一个限位转动板,限位转动板通过销轴安装在下撑板的前侧面上;There are two limit mechanisms distributed on the lower end of the rear side of the locking connecting plate, and the limit mechanisms are symmetrically distributed on the left and right sides of the drilling groove on the lower support plate; the limit mechanism includes a limit rotation plate, a limit The limit telescopic column, the limit insertion rod and the limit locking plate are installed on the rear side of the locking connecting plate. The plate is installed on the front side of the lower support plate through the pin;
-每个限位转动板的左侧面上均安装有一个限位插杆,限位锁定板位于限位转动板的左侧,限位锁定板的右侧面上设置有两个腰型槽,限位插杆位于限位锁定板上的腰型槽内,且限位插杆与限位锁定板之间为滑动配合,限位锁定板通过螺栓锁定在下撑板上,具体工作时,限位机构能够对锁定机构上锁定的手钻进行限位,防止铰链连接的伸缩杆带动锁定连板进行上下晃动。-A limit insertion rod is installed on the left side of each limit rotation plate, the limit lock plate is located on the left side of the limit rotation plate, and there are two waist-shaped grooves on the right side of the limit lock plate , the limit insert rod is located in the waist-shaped groove on the limit lock plate, and the limit insert rod and the limit lock plate are slidingly matched, and the limit lock plate is locked on the lower support plate by bolts. The positioning mechanism can limit the position of the hand drill locked on the locking mechanism to prevent the hinged telescopic rod from driving the locking connecting plate to shake up and down.
作为本发明的一种优选技术方案,所述的内撑机构包括内撑螺栓和内撑板,内撑螺栓通过螺纹配合的方式与下撑板上方槽的外侧壁相连接,内撑螺栓的外端通过铰链安装有内撑板,人工拧动内撑螺栓使得内撑板的外端能够撑在浆砌石的勾缝上,内撑板在铰链的连接作用下能够自动贴合在浆砌石的勾缝上,增加本发明对浆砌石打钻的稳定性。As a preferred technical solution of the present invention, the inner support mechanism includes an inner support bolt and an inner support plate, the inner support bolt is connected with the outer side wall of the upper groove of the lower support plate by means of thread fit, and the outer support of the inner support bolt The inner support plate is installed at the end through the hinge, and the inner support bolt is manually twisted so that the outer end of the inner support plate can be supported on the joint of the masonry, and the inner support plate can be automatically attached to the masonry under the connection of the hinge. On the joints of the grouting, the stability of the present invention for drilling masonry masonry is increased.
作为本发明的一种优选技术方案,所述的夹持块的上下两端均为弧形结构,夹持块上的每个弧形结构的中部侧面上均设置有方槽,夹持块上的方槽沿夹持块上的弧形结构均匀排布,位于夹持块中部的方槽内设置有定位卡板,定位卡板的外端上连接有定位滑柱,定位滑柱的中部通过滑动配合的方式与分别锁定连板上十字型槽的上下侧壁相连接,每个定位滑柱的外端外侧均设置有一个定位弹簧,定位弹簧安装在定位滑柱与锁定连板之间,定位弹簧为压缩弹簧,具体工作时,当浆砌石面上需要进行一定斜度的钻孔时,通过向上拉动定位滑柱,使得夹持块能够转动特定的角度,同时控制限位转动板转动相应的角度,转动板的转动能够带动限位伸缩柱进行同步的转动,限位伸缩柱的下端会在限位转动板之间进行滑动,此时伸缩杆会随限位转动板进行相应角度的转动,伸缩杆在其外侧弹簧的作用下使得伸缩杆发生转动时不会发生伸缩,从而锁定连板与下撑板之间始终处于平行的状态,此时将手钻锁定锁定机构上,手钻上钻头与伸缩杆处于平行的状态,从而向后推动手钻使得手钻能够对浆砌石面进行倾斜钻孔的开设。As a preferred technical solution of the present invention, the upper and lower ends of the clamping block are arc-shaped structures, and square grooves are provided on the side surfaces of the middle of each arc-shaped structure on the clamping block. The square grooves are evenly arranged along the arc structure on the clamping block. A positioning card plate is arranged in the square groove located in the middle of the clamping block. The outer end of the positioning card plate is connected with a positioning slide column, and the middle of the positioning slide column passes through The way of sliding fit is connected with the upper and lower side walls of the cross-shaped grooves on the locking connecting plates respectively. A positioning spring is arranged on the outer side of the outer end of each positioning sliding column, and the positioning spring is installed between the positioning sliding column and the locking connecting plate. The positioning spring is a compression spring. During specific work, when drilling with a certain slope is required on the masonry surface, the positioning slide can be pulled up to make the clamping block rotate at a specific angle, and at the same time control the rotation of the limit rotation plate At the corresponding angle, the rotation of the rotating plate can drive the limit telescopic column to rotate synchronously. Rotate, the telescopic rod will not expand and contract when the telescopic rod rotates under the action of its outer spring, so that the locking connecting plate and the lower support plate are always in a parallel state. The upper drill bit is in a parallel state with the telescopic rod, so that the hand drill is pushed backwards so that the hand drill can open the inclined drilling on the mortar masonry surface.
作为本发明的一种优选技术方案,所述的下撑板上对应限位锁定板的位置均匀设置有多组螺栓孔,限位锁定板通过螺栓安装在下撑板的螺纹孔内。As a preferred technical solution of the present invention, a plurality of sets of bolt holes are evenly arranged on the lower support plate at positions corresponding to the limit locking plates, and the limit locking plates are installed in the threaded holes of the lower support plate through bolts.
作为本发明的一种优选技术方案,所述的限位锁定板锁定在下撑板上相邻的两组螺栓孔带动限位转动板转动角度与定位卡板锁定在夹持块上相邻的两个方槽内所转动的角度相同,从而限位锁定板带动限位伸缩柱转动的角度与夹持块转动的角度相同,使得本发明对浆砌石开设一定倾角的钻孔时保持钻孔平直。As a preferred technical solution of the present invention, the limit locking plate is locked on the lower support plate and the adjacent two sets of bolt holes drive the rotation angle of the limit rotation plate and the positioning card plate is locked on the clamping block. The angle of rotation in each square groove is the same, so that the angle at which the limit locking plate drives the limit telescopic column to rotate is the same as the angle at which the clamping block rotates, so that the present invention can keep the drilling level when drilling holes with a certain inclination angle for masonry. straight.
作为本发明的一种优选技术方案,所述的锁定螺栓与内撑螺栓均为手动转动调节螺栓,这种设置能够便于本发明进行调节。As a preferred technical solution of the present invention, the locking bolts and the inner support bolts are both manually rotated adjusting bolts, and this arrangement can facilitate the adjustment of the present invention.
作为本发明的一种优选技术方案,所述的限位伸缩柱为多级伸缩柱,限位伸缩柱的下端通过滑动配合的方式与两个限位转动板相连接,限位转动板对限位伸缩柱能够进行限位,使得限位转动板角度调节完毕后,限位伸缩柱不会发生晃动。As a preferred technical solution of the present invention, the limit telescopic column is a multi-stage telescopic column, and the lower end of the limit telescopic column is connected with two limit rotation plates by sliding fit, and the limit rotation plates are opposite to each other. The position telescopic column can be limited, so that after the angle of the limit rotation plate is adjusted, the limit telescopic column will not shake.
作为本发明的一种优选技术方案,所述的内撑板为L型结构,内撑板的外端设置有柔性胶条,内撑板的L型结构能够将支撑力完全作用在浆砌石的勾缝上,内撑板上的柔性胶条能够贴合形状不规则的浆砌石勾缝上。As a preferred technical solution of the present invention, the inner support plate is an L-shaped structure, the outer end of the inner support plate is provided with a flexible rubber strip, and the L-shaped structure of the inner support plate can completely act the supporting force on the masonry masonry. The flexible rubber strip on the inner support plate can fit the irregularly shaped mortar joints.
本发明的有益效果在于:The beneficial effects of the present invention are:
一、本发明能够锁定在浆砌石上的勾缝内,并将手钻进行牢固的锁定,使得浆砌石的侧面能够被开设垂直于其侧面的钻孔,钻孔效果好,本发明采用平行四边形的原理对手钻的角度进行调节,使得本发明还能够对浆砌石侧面开设一定倾角的钻孔;1. The present invention can be locked in the joints on the masonry, and the hand drill can be firmly locked, so that the side of the masonry can be drilled perpendicular to its side, and the drilling effect is good. The principle of quadrilateral is used to adjust the angle of the hand drill, so that the present invention can also drill holes with a certain inclination angle on the side of the masonry;
二、本发明锁定机构能够对手钻进行夹持,通过拧动锁定螺栓使得锁定夹板可以进行左右移动,内侧面设置有橡胶防滑块的锁定夹板能够将手钻的中部进行锁定,从而手钻能够对浆砌石进行垂直方向的钻孔动作;2. The locking mechanism of the present invention can clamp the hand drill, and the locking splint can move left and right by twisting the locking bolt. The locking splint with rubber anti-slip blocks on the inner side can lock the middle of the hand drill, so that the hand drill can Masonry masonry performs vertical drilling action;
三、本发明对浆砌石侧面进行打孔动作时,伸缩杆能够自动配合收缩,使得手钻能够对浆砌石面进行垂直打孔操作,伸缩杆在手钻进行钻孔动作时能够缓冲手钻的振动力并对手钻的移动进行导向,从而增加浆砌石的打孔效果;3. When the present invention performs the drilling action on the side of the masonry, the telescopic rod can automatically cooperate and shrink, so that the hand drill can perform vertical drilling operations on the masonry surface, and the telescopic rod can buffer the hand when the hand drill performs the drilling action. The vibration force of the drill guides the movement of the drill, thereby increasing the drilling effect of the mortar;
四、本发明限位锁定板锁定在下撑板上相邻的两组螺栓孔带动限位转动板转动角度与定位卡板锁定在夹持块上相邻的两个方槽内所转动的角度相同,从而限位锁定板带动限位伸缩柱转动的角度与夹持块转动的角度相同,使得本发明对浆砌石开设一定倾角的钻孔时保持钻孔平直。4. According to the present invention, the limit locking plate is locked on the lower support plate and the adjacent two sets of bolt holes drive the limit rotation plate to rotate at the same angle as the rotation angle of the positioning card plate locked in the two adjacent square grooves on the clamping block. Therefore, the limit locking plate drives the limit telescopic column to rotate at the same angle as the clamping block, so that the present invention keeps the drill hole straight when opening a drill hole with a certain inclination angle to the masonry.
附图说明Description of drawings
下面结合附图和实施例对本发明进一步说明。The present invention will be further described below in conjunction with the accompanying drawings and embodiments.
图1是本发明的第一结构示意图;Fig. 1 is the first structural representation of the present invention;
图2是本发明的第二结构示意图;Fig. 2 is the second structural representation of the present invention;
图3是本发明去除内撑机构与伸缩杆之后的结构示意图;3 is a schematic structural diagram of the present invention after removing the inner support mechanism and the telescopic rod;
图4是本发明的第一使用示意图;Fig. 4 is the first use schematic diagram of the present invention;
图5是本发明的第二使用示意图。Fig. 5 is a schematic diagram of the second use of the present invention.
具体实施方式Detailed ways
为了使本发明实现的技术手段、创作特征、达成目的与功效易于明白了解,下面结合具体图示,进一步阐述本发明。需要说明的是,在不冲突的情况下,本申请中的实施例及实施例中的特征可以相互结合。In order to make it easy to understand the technical means, creation features, achieved goals and effects of the present invention, the present invention will be further described below with reference to the specific figures. It should be noted that the embodiments in the present application and the features of the embodiments may be combined with each other in the case of no conflict.
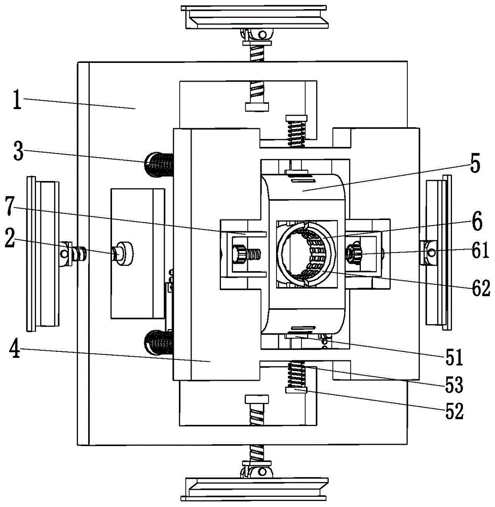
如图1至图5所示,一种浆砌石打孔施工设备,包括下撑板1、内撑机构2、伸缩杆3、锁定连板4、夹持块5、锁定机构6和连接架7,所述的下撑板1的外端对称设置有四个方槽,下撑板1上的每个方槽内均安装有一个内撑机构2,下撑板1的中部设置有钻孔槽,下撑板1的前侧面上对称分布有伸缩杆3,伸缩杆3的下端通过铰链安装在下撑板1的前侧面上,伸缩杆3的外端上套装有弹簧,伸缩杆3的上端上通过铰链安装有锁定连板4,锁定连板4的中部上设置有十字型槽,锁定连板4的十字型槽内分布有夹持块5,夹持块5的中部设置有夹持槽,夹持块5的左右两端均安装有一个U型结构的连接架7,连接架7的外端中部通过转轴安装在锁定连板4上的十字型槽的左右内壁上,夹持块5的左右两端均安装有一个锁定机构6,首先将本发明放置在需要进行钻孔的浆砌石面上,调节内撑机构2,使得本发明能够撑在浆砌石的侧面上,之后通过人工将手钻固定在锁定机构6上,使得手钻能够垂直于浆砌石面上,人工开启手钻并用力将手钻向后压动,伸缩杆3能够自动配合收缩,使得手钻能够对浆砌石面进行垂直打孔操作,伸缩杆3在手钻进行钻孔动作时能够缓冲手钻的振动力并对手钻的移动进行导向,从而增加浆砌石的打孔效果。As shown in Figures 1 to 5, a mortar drilling construction equipment includes a
所述的内撑机构2包括内撑螺栓21和内撑板22,内撑螺栓21通过螺纹配合的方式与下撑板1上方槽的外侧壁相连接,内撑螺栓21的外端通过铰链安装有内撑板22,人工拧动内撑螺栓21使得内撑板22的外端能够撑在浆砌石的勾缝上,内撑板22在铰链的连接作用下能够自动贴合在浆砌石的勾缝上,增加本发明对浆砌石打钻的稳定性。The
所述的内撑板22为L型结构,内撑板22的外端设置有柔性胶条,内撑板22的L型结构能够将支撑力完全作用在浆砌石的勾缝上,内撑板22上的柔性胶条能够贴合形状不规则的浆砌石勾缝上。The
所述的锁定连板4的后侧面下端上分布有两个限位机构8,限位机构8对称分布在下撑板1上的钻孔槽的左右两侧;所述的限位机构8包括限位转动板81、限位伸缩柱82、限位插杆83和限位锁定板84,限位伸缩柱82安装在锁定连板4的后侧面上,限位伸缩柱82的后端上下两侧均分布有一个限位转动板81,限位转动板81通过销轴安装在下撑板1的前侧面上;Two limiting
-每个限位转动板81的左侧面上均安装有一个限位插杆83,限位锁定板84位于限位转动板81的左侧,限位锁定板84的右侧面上设置有两个腰型槽,限位插杆83位于限位锁定板84上的腰型槽内,且限位插杆83与限位锁定板84之间为滑动配合,限位锁定板84通过螺栓锁定在下撑板1上,具体工作时,限位机构8能够对锁定机构6上锁定的手钻进行限位,防止铰链连接的伸缩杆3带动锁定连板4进行上下晃动。- A
所述的下撑板1上对应限位锁定板84的位置均匀设置有多组螺栓孔,限位锁定板84通过螺栓安装在下撑板1的螺纹孔内。A plurality of sets of bolt holes are evenly provided on the
所述的锁定机构6包括锁定螺栓61和锁定夹板62,锁定夹板62位于夹持块5上的夹持槽内,锁定夹板62为弧形结构,锁定夹板62的上下两端均设置有一个滑块,夹持块5上的夹持槽的上下侧壁上均设置有一个与锁定夹板62设置的滑块相配合的滑槽,锁定夹板62的前侧面设置有前端向外倾斜的弧形板,锁定夹板62外端设置的弧形板能够在手钻放置到锁定夹板62内时进行导向,锁定夹板62的内侧面上均匀设置有橡胶防滑块,锁定夹板62的的外端中部与锁定螺栓61的内端相连接,锁定螺栓61中部通过螺纹配合的方式与夹持块5上的夹持槽侧壁相连接,锁定螺栓61的外端位于连接架7内,具体工作时,锁定机构6能够对手钻进行夹持,通过拧动锁定螺栓61使得锁定夹板62可以进行左右移动,内侧面设置有橡胶防滑块的锁定夹板62能够将手钻的中部进行锁定,从而手钻能够对浆砌石进行垂直方向的钻孔动作。The
所述的锁定螺栓61与内撑螺栓21均为手动转动调节螺栓,这种设置能够便于本发明进行调节。The locking bolts 61 and the
所述的夹持块5的上下两端均为弧形结构,夹持块5上的每个弧形结构的中部侧面上均设置有方槽,夹持块5上的方槽沿夹持块5上的弧形结构均匀排布,位于夹持块5中部的方槽内设置有定位卡板51,定位卡板51的外端上连接有定位滑柱52,定位滑柱52的中部通过滑动配合的方式与分别锁定连板4上十字型槽的上下侧壁相连接,每个定位滑柱52的外端外侧均设置有一个定位弹簧53,定位弹簧53安装在定位滑柱52与锁定连板4之间,定位弹簧53为压缩弹簧,具体工作时,当浆砌石面上需要进行一定斜度的钻孔时,通过向上拉动定位滑柱52,使得夹持块5能够转动特定的角度,同时控制限位转动板81转动相应的角度,转动板81的转动能够带动限位伸缩柱82进行同步的转动,限位伸缩柱82的下端会在限位转动板81之间进行滑动,此时伸缩杆3会随限位转动板81进行相应角度的转动,伸缩杆3在其外侧弹簧的作用下使得伸缩杆3发生转动时不会发生伸缩,从而锁定连板4与下撑板1之间始终处于平行的状态,此时将手钻锁定锁定机构6上,手钻上钻头与伸缩杆3处于平行的状态,从而向后推动手钻使得手钻能够对浆砌石面进行倾斜钻孔的开设。The upper and lower ends of the
所述的限位锁定板84锁定在下撑板1上相邻的两组螺栓孔带动限位转动板81转动角度与定位卡板51锁定在夹持块5上相邻的两个方槽内所转动的角度相同,从而限位锁定板84带动限位伸缩柱82转动的角度与夹持块5转动的角度相同,使得本发明对浆砌石开设一定倾角的钻孔时保持钻孔平直。The
所述的限位伸缩柱82为多级伸缩柱,限位伸缩柱82的下端通过滑动配合的方式与两个限位转动板81相连接,限位转动板81对限位伸缩柱82能够进行限位,使得限位转动板81角度调节完毕后,限位伸缩柱82不会发生晃动。The limit
工作时,首先将本发明放置在需要进行钻孔的浆砌石面上,人工拧动内撑螺栓21使得内撑板22的外端能够撑在浆砌石的勾缝上,内撑板22在铰链的连接作用下能够自动贴合在浆砌石的勾缝上,内撑板22的L型结构能够将支撑力完全作用在浆砌石的勾缝上,内撑板22上的柔性胶条能够贴合形状不规则的浆砌石勾缝上,增加本发明对浆砌石打钻的稳定性;当本发明需要开设垂直于浆砌石的钻孔时,通过转动锁定螺栓61能够将手钻锁定在锁定夹板62之间,内侧面设置有橡胶防滑块的锁定夹板62能够将手钻的中部进行锁定,人工开启手钻并用力将手钻向后压动,伸缩杆3能够自动配合收缩,使得手钻能够对浆砌石面进行垂直打孔操作;When working, first place the present invention on the masonry surface to be drilled, manually twist the
当浆砌石上需要开设一定角度的钻孔时,通过向上拉动定位滑柱52,使得夹持块5能够转动特定的角度,同时控制限位锁定板84锁定在下撑板1上合适位置的螺栓孔内,使得限位转动板81转动相应的角度,转动板81的转动能够带动限位伸缩柱82进行同步的转动,限位伸缩柱82的下端会在限位转动板81之间进行滑动,此时伸缩杆3会随限位转动板81进行相应角度的转动,伸缩杆3在其外侧弹簧的作用下使得伸缩杆3发生转动时不会发生伸缩,从而锁定连板4与下撑板1之间始终处于平行的状态,此时将手钻锁定锁定机构6上,手钻上钻头与伸缩杆3处于平行的状态,从而向后推动手钻使得手钻能够对浆砌石面进行倾斜钻孔的开设。When a certain angle needs to be drilled on the masonry, the
本发明能够锁定在浆砌石上的勾缝内,并将手钻进行牢固的锁定,使得浆砌石的侧面能够被开设垂直于其侧面的钻孔,钻孔效果好,本发明采用平行四边形的原理对手钻的角度进行调节,使得本发明还能够对浆砌石侧面开设一定倾角的钻孔。The invention can be locked in the joints on the masonry, and the hand drill can be firmly locked, so that the side of the masonry can be drilled perpendicular to its side, and the drilling effect is good. The principle is to adjust the angle of the hand drill, so that the present invention can also drill holes with a certain inclination angle on the side of the masonry.
以上显示和描述了本发明的基本原理、主要特征和优点。本行业的技术人员应该了解,本发明不受上述实施例的限制,上述实施例和说明书中的描述的只是说明本发明的原理,在不脱离本发明精神和范围的前提下,本发明还会有各种变化和改进,这些变化和改进都落入要求保护的本发明范围内。本发明要求保护范围由所附的权利要求书及其等效物界定。The foregoing has shown and described the basic principles, main features and advantages of the present invention. Those skilled in the art should understand that the present invention is not limited by the above-mentioned embodiments, and the descriptions in the above-mentioned embodiments and the description are only to illustrate the principle of the present invention, without departing from the spirit and scope of the present invention, the present invention will also There are various changes and modifications which fall within the scope of the claimed invention. The claimed scope of the present invention is defined by the appended claims and their equivalents.
Claims (8)
Priority Applications (1)
| Application Number | Priority Date | Filing Date | Title |
|---|---|---|---|
| CN201911095148.7A CN110744725B (en) | 2019-11-11 | 2019-11-11 | A kind of masonry drilling construction equipment |
Applications Claiming Priority (1)
| Application Number | Priority Date | Filing Date | Title |
|---|---|---|---|
| CN201911095148.7A CN110744725B (en) | 2019-11-11 | 2019-11-11 | A kind of masonry drilling construction equipment |
Publications (2)
| Publication Number | Publication Date |
|---|---|
| CN110744725A true CN110744725A (en) | 2020-02-04 |
| CN110744725B CN110744725B (en) | 2021-06-15 |
Family
ID=69282865
Family Applications (1)
| Application Number | Title | Priority Date | Filing Date |
|---|---|---|---|
| CN201911095148.7A Expired - Fee Related CN110744725B (en) | 2019-11-11 | 2019-11-11 | A kind of masonry drilling construction equipment |
Country Status (1)
| Country | Link |
|---|---|
| CN (1) | CN110744725B (en) |
Cited By (3)
| Publication number | Priority date | Publication date | Assignee | Title |
|---|---|---|---|---|
| CN111633841A (en) * | 2020-06-09 | 2020-09-08 | 长信建设有限公司 | House building slope and wall body handing-over department fluting construction equipment |
| CN113119321A (en) * | 2021-04-28 | 2021-07-16 | 佛山市缇诺卫浴有限公司 | Production and processing equipment for hand basin with high-flow overflow |
| CN117145262A (en) * | 2023-09-01 | 2023-12-01 | 温州市市政工程建设开发有限公司 | Basement wall seepage crack plugging construction method and construction device |
Citations (10)
| Publication number | Priority date | Publication date | Assignee | Title |
|---|---|---|---|---|
| DE3626063A1 (en) * | 1986-08-01 | 1988-02-11 | Kaiser Gmbh & Co Kg | Appliance for producing wall apertures |
| US20060088392A1 (en) * | 2004-10-23 | 2006-04-27 | Ciurej Steven W | Multiple bit forming apparatus |
| CN102699377A (en) * | 2012-06-15 | 2012-10-03 | 上海飞机制造有限公司 | Replaceable precise automatic feeding drill |
| CN208322637U (en) * | 2018-03-24 | 2019-01-04 | 闫西英 | A kind of constructing tunnel ancillary technique equipment |
| CN208467338U (en) * | 2018-06-24 | 2019-02-05 | 宁波良业电器有限公司 | A kind of electric hand drill with drilling aid |
| CN208605132U (en) * | 2018-06-04 | 2019-03-15 | 杨彩兴 | Punching positioning device for architectural engineering |
| CN208712936U (en) * | 2018-08-22 | 2019-04-09 | 扬州华瑞家居用品有限公司 | A kind of drilling equipment of angle adjustable |
| CN208866452U (en) * | 2017-07-19 | 2019-05-17 | 广东技术师范学院 | A simple assembly and use guide device for drilling inclined holes |
| CN110142438A (en) * | 2019-05-16 | 2019-08-20 | 合肥建设装饰(集团)有限责任公司 | A kind of drilling equipment and its application method for the anti-deviation of field erected hole location |
| CN209407504U (en) * | 2018-12-29 | 2019-09-20 | 苏州润伦机械有限公司 | A kind of valve drilling equipment easy to use |
-
2019
- 2019-11-11 CN CN201911095148.7A patent/CN110744725B/en not_active Expired - Fee Related
Patent Citations (10)
| Publication number | Priority date | Publication date | Assignee | Title |
|---|---|---|---|---|
| DE3626063A1 (en) * | 1986-08-01 | 1988-02-11 | Kaiser Gmbh & Co Kg | Appliance for producing wall apertures |
| US20060088392A1 (en) * | 2004-10-23 | 2006-04-27 | Ciurej Steven W | Multiple bit forming apparatus |
| CN102699377A (en) * | 2012-06-15 | 2012-10-03 | 上海飞机制造有限公司 | Replaceable precise automatic feeding drill |
| CN208866452U (en) * | 2017-07-19 | 2019-05-17 | 广东技术师范学院 | A simple assembly and use guide device for drilling inclined holes |
| CN208322637U (en) * | 2018-03-24 | 2019-01-04 | 闫西英 | A kind of constructing tunnel ancillary technique equipment |
| CN208605132U (en) * | 2018-06-04 | 2019-03-15 | 杨彩兴 | Punching positioning device for architectural engineering |
| CN208467338U (en) * | 2018-06-24 | 2019-02-05 | 宁波良业电器有限公司 | A kind of electric hand drill with drilling aid |
| CN208712936U (en) * | 2018-08-22 | 2019-04-09 | 扬州华瑞家居用品有限公司 | A kind of drilling equipment of angle adjustable |
| CN209407504U (en) * | 2018-12-29 | 2019-09-20 | 苏州润伦机械有限公司 | A kind of valve drilling equipment easy to use |
| CN110142438A (en) * | 2019-05-16 | 2019-08-20 | 合肥建设装饰(集团)有限责任公司 | A kind of drilling equipment and its application method for the anti-deviation of field erected hole location |
Cited By (5)
| Publication number | Priority date | Publication date | Assignee | Title |
|---|---|---|---|---|
| CN111633841A (en) * | 2020-06-09 | 2020-09-08 | 长信建设有限公司 | House building slope and wall body handing-over department fluting construction equipment |
| CN113119321A (en) * | 2021-04-28 | 2021-07-16 | 佛山市缇诺卫浴有限公司 | Production and processing equipment for hand basin with high-flow overflow |
| CN113119321B (en) * | 2021-04-28 | 2022-08-02 | 佛山市缇诺卫浴有限公司 | Production and processing equipment for hand basin with high-flow overflow |
| CN117145262A (en) * | 2023-09-01 | 2023-12-01 | 温州市市政工程建设开发有限公司 | Basement wall seepage crack plugging construction method and construction device |
| CN117145262B (en) * | 2023-09-01 | 2024-04-05 | 温州市市政工程建设开发有限公司 | Basement wall seepage crack plugging construction method and construction device |
Also Published As
| Publication number | Publication date |
|---|---|
| CN110744725B (en) | 2021-06-15 |
Similar Documents
| Publication | Publication Date | Title |
|---|---|---|
| CN110744725A (en) | A kind of masonry drilling construction equipment | |
| CN210598071U (en) | Lifting platform for interior decoration | |
| CN211499887U (en) | Reinforcing apparatus of ancient building | |
| CN211148075U (en) | A sampling device for geological and mineral exploration | |
| CN117027434A (en) | Assembled steel structure fixing equipment for building curtain wall | |
| CN110695726A (en) | Auxiliary drilling device for mining scraper | |
| CN218714154U (en) | General fixed knot of curtain board of stone material curtain constructs | |
| CN211772625U (en) | Quick leveling device that shakes of road engineering construction | |
| CN211012687U (en) | Blasting device for rapid roadway excavation through directional blasting | |
| CN217680232U (en) | Detachable structure that articulates of super specification stone material of flexible telescopic connection | |
| CN218779990U (en) | Building construction appurtenance | |
| CN206360405U (en) | A kind of novel building ergonomic support device | |
| CN212666285U (en) | Quick drilling equipment is used in building decorative panel processing | |
| CN213449292U (en) | Indoor decoration marble hanging plate structure | |
| CN209381150U (en) | A kind of improved diamond drilling machine | |
| CN219528518U (en) | A large-scale ancient building repair and protection device | |
| CN223434119U (en) | A wall reinforcement device for industrial and civil buildings | |
| CN214365129U (en) | A new type of construction reinforcement device | |
| CN109763595B (en) | Suspended ceiling structure is built in room that takes precautions against earthquakes | |
| CN220599044U (en) | Wall plastering device for building decoration | |
| CN220336345U (en) | Building engineering bearing structure | |
| CN217128971U (en) | Building template for supporting | |
| CN219569477U (en) | A wall painting device for decoration and renovation engineering | |
| CN113175227A (en) | Brick laying reference line fixing device for house civil buildings | |
| CN220395242U (en) | A kind of ALC lightweight partition board construction positioning adjustment device |
Legal Events
| Date | Code | Title | Description |
|---|---|---|---|
| PB01 | Publication | ||
| PB01 | Publication | ||
| SE01 | Entry into force of request for substantive examination | ||
| SE01 | Entry into force of request for substantive examination | ||
| GR01 | Patent grant | ||
| GR01 | Patent grant | ||
| CF01 | Termination of patent right due to non-payment of annual fee |
Granted publication date: 20210615 |
|
| CF01 | Termination of patent right due to non-payment of annual fee |
