CN110743092A - A clinical drug delivery device - Google Patents
A clinical drug delivery device Download PDFInfo
- Publication number
- CN110743092A CN110743092A CN201911069877.5A CN201911069877A CN110743092A CN 110743092 A CN110743092 A CN 110743092A CN 201911069877 A CN201911069877 A CN 201911069877A CN 110743092 A CN110743092 A CN 110743092A
- Authority
- CN
- China
- Prior art keywords
- liquid
- cavity
- drug delivery
- liquid inlet
- medicine
- Prior art date
- Legal status (The legal status is an assumption and is not a legal conclusion. Google has not performed a legal analysis and makes no representation as to the accuracy of the status listed.)
- Pending
Links
Images
Classifications
-
- A—HUMAN NECESSITIES
- A61—MEDICAL OR VETERINARY SCIENCE; HYGIENE
- A61M—DEVICES FOR INTRODUCING MEDIA INTO, OR ONTO, THE BODY; DEVICES FOR TRANSDUCING BODY MEDIA OR FOR TAKING MEDIA FROM THE BODY; DEVICES FOR PRODUCING OR ENDING SLEEP OR STUPOR
- A61M31/00—Devices for introducing or retaining media, e.g. remedies, in cavities of the body
-
- A—HUMAN NECESSITIES
- A61—MEDICAL OR VETERINARY SCIENCE; HYGIENE
- A61M—DEVICES FOR INTRODUCING MEDIA INTO, OR ONTO, THE BODY; DEVICES FOR TRANSDUCING BODY MEDIA OR FOR TAKING MEDIA FROM THE BODY; DEVICES FOR PRODUCING OR ENDING SLEEP OR STUPOR
- A61M3/00—Medical syringes, e.g. enemata; Irrigators
- A61M3/02—Enemata; Irrigators
- A61M3/0279—Cannula; Nozzles; Tips; their connection means
-
- A—HUMAN NECESSITIES
- A61—MEDICAL OR VETERINARY SCIENCE; HYGIENE
- A61M—DEVICES FOR INTRODUCING MEDIA INTO, OR ONTO, THE BODY; DEVICES FOR TRANSDUCING BODY MEDIA OR FOR TAKING MEDIA FROM THE BODY; DEVICES FOR PRODUCING OR ENDING SLEEP OR STUPOR
- A61M2210/00—Anatomical parts of the body
- A61M2210/14—Female reproductive, genital organs
- A61M2210/1475—Vagina
Landscapes
- Health & Medical Sciences (AREA)
- Engineering & Computer Science (AREA)
- Anesthesiology (AREA)
- Biomedical Technology (AREA)
- Heart & Thoracic Surgery (AREA)
- Hematology (AREA)
- Life Sciences & Earth Sciences (AREA)
- Animal Behavior & Ethology (AREA)
- General Health & Medical Sciences (AREA)
- Public Health (AREA)
- Veterinary Medicine (AREA)
- Infusion, Injection, And Reservoir Apparatuses (AREA)
Abstract
本发明公开了一种临床用给药器,给药头通过外螺纹与螺纹槽螺纹连接,固定密封环上的轴槽与固定轴相对应,进液孔板对应液体给药腔,打开第二单向阀液体进行清洗操作,液体通过清洗管到进液管进入到液体给药腔中,再通过进液孔板和给药头对患处进行清洗操作,当需要进行液体药物给药时,打开第一单向阀,液体通过进液管进入到液体给药腔中进行给药操作,当需要固体给药时,把药放置在置药槽上,螺纹连接给药头和给药管,之后进行清洗操作,通过拉伸伸缩杆,把药物通过给药头给到患处。本发明省时省力,操作方便,同时该给药器具有清洗功能,自动清洗,改善传统的用棉签等清洗,工作效率高。
The invention discloses a clinical drug delivery device. The drug delivery head is threadedly connected with the threaded groove through the external thread, the shaft groove on the fixed sealing ring corresponds to the fixed shaft, the liquid inlet hole plate corresponds to the liquid drug delivery cavity, and the second The one-way valve liquid is cleaned. The liquid enters the liquid dosing cavity through the cleaning pipe to the liquid inlet pipe, and then cleans the affected area through the liquid inlet orifice and the dosing head. When liquid medicine needs to be administered, open it. The first one-way valve, the liquid enters the liquid dosing chamber through the liquid inlet pipe for dosing operation. When solid dosing is required, the drug is placed on the drug placement groove, and the dosing head and the dosing tube are screwed together. The cleaning operation is performed, and the medicine is delivered to the affected area through the dosing head by stretching the telescopic rod. The invention saves time and effort, is convenient to operate, and at the same time, the applicator has a cleaning function, is automatically cleaned, improves the traditional cleaning with cotton swabs and the like, and has high work efficiency.
Description
技术领域technical field
本发明涉及一种医疗器械,特别涉及一种临床用给药器。The invention relates to a medical device, in particular to a clinical drug delivery device.
背景技术Background technique
妇科是医疗机构的一个诊疗科目,妇科是妇产科的一个分支专业,是以诊疗女性妇科病为诊疗的专业科室,分为西医妇科与中医妇科。妇科疾病包括:女性生殖系统的疾病即为妇科疾病,包括外阴疾病、阴道疾病、子宫疾病、输卵管疾病、卵巢疾病等,女性生殖系统所患的疾病才叫妇科疾病。在妇科临床手术中,经常需要对病人的下体内进行上药工作,而上药前需要对伤口进行清洗,然后再进行上药,目前的操作方式是通过棉签进行擦拭和清洁,十分麻烦,效率低下,而且传统的给药是医务人员或者患者自己在给药时,一般会戴上一次性手套,再将药物推至患处,这种给药方式只适用于块状、栓剂等药物,但一些颗粒药物、液体药物和膏状药物不能通过这样的方法给药,给妇科护理带来不便,传统的给药器还不方便进去清洗等。Gynecology is a diagnosis and treatment subject in medical institutions. Gynecology is a branch of obstetrics and gynecology. It is a professional department for the diagnosis and treatment of female gynecological diseases. Gynecological diseases include: diseases of the female reproductive system are gynecological diseases, including vulvar diseases, vaginal diseases, uterine diseases, fallopian tube diseases, ovarian diseases, etc. The diseases of the female reproductive system are called gynecological diseases. In gynecological clinical operations, it is often necessary to apply medicine to the lower body of the patient, and the wound needs to be cleaned before applying medicine, and then the medicine is applied. The current operation method is to wipe and clean with a cotton swab, which is very troublesome and efficient. Low, and the traditional drug delivery is that medical staff or patients themselves usually wear disposable gloves and push the drug to the affected area. This method of drug delivery is only suitable for drugs such as blocks and suppositories, but some Granular medicines, liquid medicines and paste medicines cannot be administered in this way, which brings inconvenience to gynecological care, and the traditional medicine dispenser is not convenient for cleaning.
发明内容SUMMARY OF THE INVENTION
本专利的目的是要解决上述手动清洗再上药的麻烦和操作繁琐,耽误工作时间,效率低下,而且不能同时适应固体药物和液体药物同时使用的问题,清洗不便,医务人员工作强度大,而提供一种临床用给药器。The purpose of this patent is to solve the above-mentioned troublesome and complicated operation of manual cleaning and then applying medicine, delaying working time, low efficiency, and inability to adapt to the problems of simultaneous use of solid medicine and liquid medicine, inconvenient cleaning, high workload of medical staff, and A clinical drug delivery device is provided.
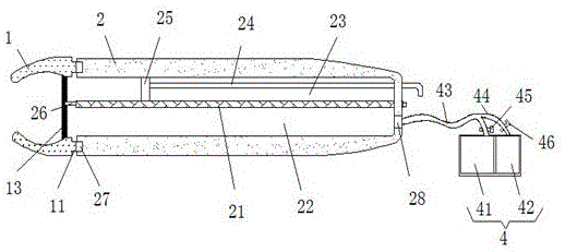
本专利是由给药头、给药管、固定密封环和存药装置组成,给药头的内腔中设有固定密封环,给药头的右端设有给药管,给药管的右端设有存药装置;The patent is composed of a drug delivery head, a drug delivery tube, a fixed sealing ring and a drug storage device. A fixed sealing ring is arranged in the inner cavity of the drug delivery head, the right end of the drug delivery head is provided with a drug delivery tube, and the right end of the drug delivery tube is provided with a drug delivery tube. equipped with a drug storage device;
给药头的右端外侧设有外螺纹,给药头的内壁后端设有固定块,固定块的右端设有固定密封环,固定密封环上设有进液孔板,进液孔板的中部设有轴槽;The outer side of the right end of the dosing head is provided with an external thread, the rear end of the inner wall of the dosing head is provided with a fixing block, the right end of the fixing block is provided with a fixed sealing ring, the fixed sealing ring is provided with a liquid inlet orifice, and the middle of the liquid inlet orifice is provided. with shaft groove;
给药管包括分隔板、液体给药腔、固体给药腔、伸缩杆、置药槽、固定轴、螺纹槽和进药口,螺纹槽设置在给药管的左端,螺纹槽与外螺纹之间相对应,螺纹槽与外螺纹通过螺纹连接,液体给药腔和固体给药腔之间设有分隔板,分隔板的左端设有与轴槽相对应的固定轴,液体给药腔的右端设有进药口,固体给药腔的内腔中设有置药槽,置药槽的右侧与伸缩杆的一端连接,伸缩杆的另一端延伸至固体给药腔的外侧;The drug delivery tube includes a partition plate, a liquid drug delivery cavity, a solid drug delivery cavity, a telescopic rod, a drug placement groove, a fixed shaft, a threaded groove and a drug inlet. Correspondingly, the threaded groove and the external thread are connected by thread, a partition plate is arranged between the liquid dosing cavity and the solid dosing cavity, and the left end of the partition plate is provided with a fixed shaft corresponding to the shaft groove, and the liquid dosing is provided. The right end of the cavity is provided with a medicine inlet, and the inner cavity of the solid administration cavity is provided with a medicine placement groove, the right side of the medicine placement groove is connected with one end of the telescopic rod, and the other end of the telescopic rod extends to the outside of the solid drug administration cavity;
存药装置包括药液腔、清水腔、进液管、清洗管、第一单向阀和第二单向阀,药液腔和清水腔为一体成型结构,药液腔和清水腔之间由挡板隔开,药液腔的上端与进液管一端连接,进液管的另一端与进液口连接,进液管上设有第一单向阀,进液管的侧面设有清洗管,清洗管的末端与清洗腔连接,清洗管上设有第二单向阀。The medicine storage device includes a medicine liquid cavity, a clean water cavity, a liquid inlet pipe, a cleaning pipe, a first one-way valve and a second one-way valve, and the medicine liquid cavity and the clean water cavity are integrally formed. The baffles are separated, the upper end of the liquid medicine chamber is connected with one end of the liquid inlet pipe, the other end of the liquid inlet pipe is connected with the liquid inlet, the liquid inlet pipe is provided with a first one-way valve, and the side of the liquid inlet pipe is provided with a cleaning pipe , the end of the cleaning pipe is connected with the cleaning cavity, and the cleaning pipe is provided with a second one-way valve.
本发明的工作原理和过程:The working principle and process of the present invention:
该给药器工作时,给药头通过外螺纹与螺纹槽螺纹连接,固定密封环上的轴槽与固定轴相对应,进液孔板对应液体给药腔,打开第二单向阀液体进行清洗操作,液体通过清洗管到进液管进入到液体给药腔中,再通过进液孔板和给药头对患处进行清洗操作,当需要进行液体药物给药时,打开第一单向阀,液体通过进液管进入到液体给药腔中进行给药操作,当需要固体给药时,把药放置在置药槽上,螺纹连接给药头和给药管,之后进行清洗操作,通过拉伸伸缩杆,把药物通过给药头给到患处。When the applicator is working, the dosing head is threadedly connected with the threaded groove through the external thread, the shaft groove on the fixed sealing ring corresponds to the fixed shaft, the liquid inlet hole plate corresponds to the liquid dosing cavity, and the second one-way valve is opened for liquid injection. In the cleaning operation, the liquid enters the liquid dosing chamber through the cleaning pipe to the liquid inlet pipe, and then cleans the affected area through the liquid inlet orifice and the dosing head. When the liquid medicine needs to be administered, open the first one-way valve. , the liquid enters the liquid dosing chamber through the liquid inlet pipe for the dosing operation. When solid dosing is required, the drug is placed on the drug placement tank, and the dosing head and the dosing tube are screwed together. After that, the cleaning operation is performed. Extend the telescopic rod and deliver the drug to the affected area through the dosing head.
本发明的有益效果:Beneficial effects of the present invention:
本专利通过设有固体给药腔和液体给药腔能够适用不同的药物,适用范围广,避免医护人员来回更换拿取给药器进行给药,省时省力,操作方便,同时该给药器具有清洗功能,自动清洗,改善传统的用棉签等清洗,工作效率高,其次,给药头和给药管能够拆卸分离,便于对给药管内部进行清洗,提高给药器的卫生安全,本专利使用方便,适用性强,操作便捷,安全卫生,功能多。The patent can be applied to different medicines by having a solid dosing cavity and a liquid dosing cavity, and has a wide range of applications, avoiding the need for medical staff to replace and take the drug delivery device for drug delivery, saving time and effort, and convenient operation. It has a cleaning function, automatic cleaning, improves the traditional cleaning with cotton swabs, etc., and has high work efficiency. Secondly, the dosing head and the dosing tube can be disassembled and separated, which is convenient for cleaning the inside of the dosing tube, and improves the hygiene and safety of the dosing device. The patent is easy to use, strong in applicability, convenient in operation, safe and hygienic, and has many functions.
附图说明Description of drawings
图1是本专利的内部结构剖面示意图。Figure 1 is a schematic cross-sectional view of the internal structure of this patent.
图2是本专利展开时的立体示意图。FIG. 2 is a schematic perspective view of the patent when it is unfolded.
图3是本专利的置药槽和伸缩杆结构示意图。Figure 3 is a schematic diagram of the structure of the medicine slot and the telescopic rod of the present patent.
具体实施方式Detailed ways
请参阅图1、图2和图3所示,本实施例是由给药头1、给药管2、固定密封环3和存药装置4组成,给药头1的内腔中设有固定密封环3,给药头1的右端设有给药管2,给药管2的右端设有存药装置4;Please refer to Fig. 1, Fig. 2 and Fig. 3. This embodiment is composed of a drug delivery head 1, a drug delivery tube 2, a fixed sealing ring 3 and a drug storage device 4. The inner cavity of the drug delivery head 1 is provided with a fixed The sealing ring 3, the right end of the drug delivery head 1 is provided with a drug delivery tube 2, and the right end of the drug delivery tube 2 is provided with a drug storage device 4;
给药头1的右端外侧设有外螺纹11,给药头1的内壁后端设有固定块12,固定块12的右端设有固定密封环13,固定密封环13上设有进液孔板14,进液孔板14的中部设有轴槽15;An outer thread 11 is provided on the outer side of the right end of the drug delivery head 1, a fixing block 12 is provided at the rear end of the inner wall of the drug delivery head 1, a fixed sealing ring 13 is provided on the right end of the fixing block 12, and a liquid inlet hole plate is provided on the fixed sealing ring 13 14. A shaft groove 15 is provided in the middle of the liquid inlet orifice plate 14;
给药管2包括分隔板21、液体给药腔22、固体给药腔23、伸缩杆24、置药槽25、固定轴26、螺纹槽27设置在给药管2的左端,,螺纹槽27和进药口28,螺纹槽27与外螺纹11之间相对应,螺纹槽27与外螺纹11通过螺纹连接,液体给药腔22和固体给药腔23之间设有分隔板21,分隔板21的左端设有与轴槽15相对应的固定轴26,液体给药腔22的右端设有进药口28,固体给药腔23的内腔中设有置药槽25,置药槽25的右侧与伸缩杆24的一端连接,伸缩杆24的另一端延伸至固体给药腔23的外侧;The drug delivery tube 2 includes a partition plate 21, a liquid drug delivery cavity 22, a solid drug delivery cavity 23, a
存药装置4包括药液腔41、清水腔42、进液管43、清洗管44、第一单向阀45和第二单向阀46,药液腔41和清水腔42为一体成型结构,药液腔41和清水腔42之间由挡板隔开,药液腔41的上端与进液管43一端连接,进液管43的另一端与进液口28连接,进液管43上设有第一单向阀45,进液管43的侧面设有清洗管44,清洗管44的末端与清洗腔42连接,清洗管44上设有第二单向阀46。The medicine storage device 4 includes a medicine liquid cavity 41, a clean water cavity 42, a liquid inlet pipe 43, a cleaning pipe 44, a first one-way valve 45 and a second one-way valve 46. The medicine liquid cavity 41 and the clean water cavity 42 are integrally formed. The liquid medicine cavity 41 and the clean water cavity 42 are separated by a baffle plate. The upper end of the liquid medicine cavity 41 is connected to one end of the liquid inlet pipe 43 , and the other end of the liquid inlet pipe 43 is connected to the liquid inlet port 28 . There is a first one-way valve 45 , a cleaning pipe 44 is provided on the side of the liquid inlet pipe 43 , the end of the cleaning pipe 44 is connected with the cleaning chamber 42 , and a second one-way valve 46 is arranged on the cleaning pipe 44 .
本发明的工作原理和过程:The working principle and process of the present invention:
参阅图1、图2所示,该给药器工作时,给药头1通过外螺纹11与螺纹槽27螺纹连接,固定密封环13上的轴槽15与固定轴26相对应,进液孔板14对应液体给药腔22,打开第二单向阀46液体进行清洗操作,液体通过清洗管44到进液管43进入到液体给药腔22中,再通过进液孔板14和给药头1对患处进行清洗操作,当需要进行液体药物给药时,打开第一单向阀45,液体通过进液管43进入到液体给药腔22中进行给药操作,当需要固体给药时,把药放置在置药槽25上,螺纹连接给药头1和给药管2,之后进行清洗操作,通过拉伸伸缩杆24,把药物通过给药头1给到患处。Referring to Fig. 1 and Fig. 2, when the applicator is working, the dosing head 1 is threadedly connected with the threaded groove 27 through the external thread 11, the shaft groove 15 on the fixed sealing ring 13 corresponds to the fixed shaft 26, and the liquid inlet hole The plate 14 corresponds to the liquid dosing chamber 22, and the second one-way valve 46 is opened to perform the liquid cleaning operation. The liquid enters the liquid dosing chamber 22 through the cleaning pipe 44 to the liquid inlet pipe 43, and then passes through the liquid inlet orifice 14 and administers the drug. The head 1 performs a cleaning operation on the affected area. When liquid drug administration is required, the first one-way valve 45 is opened, and the liquid enters the liquid administration chamber 22 through the liquid inlet pipe 43 for administration operation. When solid administration is required , place the medicine on the
Claims (1)
Priority Applications (1)
| Application Number | Priority Date | Filing Date | Title |
|---|---|---|---|
| CN201911069877.5A CN110743092A (en) | 2019-11-05 | 2019-11-05 | A clinical drug delivery device |
Applications Claiming Priority (1)
| Application Number | Priority Date | Filing Date | Title |
|---|---|---|---|
| CN201911069877.5A CN110743092A (en) | 2019-11-05 | 2019-11-05 | A clinical drug delivery device |
Publications (1)
| Publication Number | Publication Date |
|---|---|
| CN110743092A true CN110743092A (en) | 2020-02-04 |
Family
ID=69282133
Family Applications (1)
| Application Number | Title | Priority Date | Filing Date |
|---|---|---|---|
| CN201911069877.5A Pending CN110743092A (en) | 2019-11-05 | 2019-11-05 | A clinical drug delivery device |
Country Status (1)
| Country | Link |
|---|---|
| CN (1) | CN110743092A (en) |
Cited By (1)
| Publication number | Priority date | Publication date | Assignee | Title |
|---|---|---|---|---|
| CN112933380A (en) * | 2021-02-01 | 2021-06-11 | 温州市中西医结合医院 | Dual anorectal drug delivery device |
Citations (5)
| Publication number | Priority date | Publication date | Assignee | Title |
|---|---|---|---|---|
| CN202751677U (en) * | 2012-05-31 | 2013-02-27 | 李娜 | Novel gynaecological medicine feeder |
| CN205095113U (en) * | 2015-11-06 | 2016-03-23 | 吉林大学 | Vaginal syringe |
| CN108159520A (en) * | 2018-01-30 | 2018-06-15 | 王春红 | A kind of vaginal cleans topical application of drug device |
| CN208130201U (en) * | 2017-05-03 | 2018-11-23 | 籍霞 | A kind of multi-functional gynemetrics's delivery device |
| CN109260582A (en) * | 2018-11-28 | 2019-01-25 | 陈巧丽 | A kind of ointment uniform application device of vagina or anus |
-
2019
- 2019-11-05 CN CN201911069877.5A patent/CN110743092A/en active Pending
Patent Citations (5)
| Publication number | Priority date | Publication date | Assignee | Title |
|---|---|---|---|---|
| CN202751677U (en) * | 2012-05-31 | 2013-02-27 | 李娜 | Novel gynaecological medicine feeder |
| CN205095113U (en) * | 2015-11-06 | 2016-03-23 | 吉林大学 | Vaginal syringe |
| CN208130201U (en) * | 2017-05-03 | 2018-11-23 | 籍霞 | A kind of multi-functional gynemetrics's delivery device |
| CN108159520A (en) * | 2018-01-30 | 2018-06-15 | 王春红 | A kind of vaginal cleans topical application of drug device |
| CN109260582A (en) * | 2018-11-28 | 2019-01-25 | 陈巧丽 | A kind of ointment uniform application device of vagina or anus |
Cited By (1)
| Publication number | Priority date | Publication date | Assignee | Title |
|---|---|---|---|---|
| CN112933380A (en) * | 2021-02-01 | 2021-06-11 | 温州市中西医结合医院 | Dual anorectal drug delivery device |
Similar Documents
| Publication | Publication Date | Title |
|---|---|---|
| CN205307590U (en) | Vagina ware of dosing for medical care | |
| CN110743092A (en) | A clinical drug delivery device | |
| CN205924574U (en) | Portable wound belt cleaning device | |
| CN209865009U (en) | A special drug delivery device for otolaryngology | |
| CN219662459U (en) | Vagina cleaning device for gynecological clinic | |
| CN210044682U (en) | A gynecological disinfection drug delivery device | |
| CN205252184U (en) | Multi -functional medical vaginal irrigation ware | |
| CN207679854U (en) | A kind of obstetrics and gynecology department anti-inflammatory medicine applying instrument | |
| CN210811425U (en) | Cleaning structure for curettage in obstetrics and gynecology | |
| CN204951785U (en) | Wound belt cleaning device who is used for wound orthopedics specially | |
| CN211244873U (en) | A flushing device for obstetric nursing | |
| CN213220442U (en) | Gynaecology and obstetrics's postoperative nursing device of adding medicine to | |
| CN209771039U (en) | A spray bottle of gynecological care solution | |
| CN112999452B (en) | A kind of lotion injection device for obstetrics and gynecology | |
| CN217472566U (en) | A gynecological cervical applicator | |
| CN209286479U (en) | A kind of convenient drug delivery device for gynecopathy therapeutic | |
| CN201036636Y (en) | Multifunctional sanitary flusher | |
| CN201098400Y (en) | Circumfluence-proof medical lavage equipment | |
| CN221636640U (en) | Anorectal medicated bath device | |
| CN205095106U (en) | Vaginal syringe | |
| CN219110601U (en) | A vaginal applicator | |
| CN210020579U (en) | an enema device | |
| CN207768656U (en) | A kind of multi-functional head nursing device | |
| CN222723455U (en) | A cervical hemostatic material smear device | |
| CN221713292U (en) | Vaginal sterilization device |
Legal Events
| Date | Code | Title | Description |
|---|---|---|---|
| PB01 | Publication | ||
| PB01 | Publication | ||
| SE01 | Entry into force of request for substantive examination | ||
| SE01 | Entry into force of request for substantive examination | ||
| WD01 | Invention patent application deemed withdrawn after publication |
Application publication date: 20200204 |
|
| WD01 | Invention patent application deemed withdrawn after publication |
