CN110732191A - purifying towers for treating atmospheric pollution - Google Patents

purifying towers for treating atmospheric pollution Download PDF

Info

Publication number
CN110732191A
CN110732191A CN201911101084.7A CN201911101084A CN110732191A CN 110732191 A CN110732191 A CN 110732191A CN 201911101084 A CN201911101084 A CN 201911101084A CN 110732191 A CN110732191 A CN 110732191A
Authority
CN
China
Prior art keywords
purification tower
air
gas collecting
collecting hood
fixedly connected
Prior art date
Legal status (The legal status is an assumption and is not a legal conclusion. Google has not performed a legal analysis and makes no representation as to the accuracy of the status listed.)
Granted
Application number
CN201911101084.7A
Other languages
Chinese (zh)
Other versions
CN110732191B (en
Inventor
蔡河山
黎晓霞
宋宪强
庄明杰
Current Assignee (The listed assignees may be inaccurate. Google has not performed a legal analysis and makes no representation or warranty as to the accuracy of the list.)
Foshan University
Original Assignee
Foshan University
Priority date (The priority date is an assumption and is not a legal conclusion. Google has not performed a legal analysis and makes no representation as to the accuracy of the date listed.)
Filing date
Publication date
Application filed by Foshan University filed Critical Foshan University
Priority to CN201911101084.7A priority Critical patent/CN110732191B/en
Publication of CN110732191A publication Critical patent/CN110732191A/en
Application granted granted Critical
Publication of CN110732191B publication Critical patent/CN110732191B/en
Expired - Fee Related legal-status Critical Current
Anticipated expiration legal-status Critical

Links

Images

Classifications

    • BPERFORMING OPERATIONS; TRANSPORTING
    • B01PHYSICAL OR CHEMICAL PROCESSES OR APPARATUS IN GENERAL
    • B01DSEPARATION
    • B01D46/00Filters or filtering processes specially modified for separating dispersed particles from gases or vapours
    • B01D46/66Regeneration of the filtering material or filter elements inside the filter
    • B01D46/70Regeneration of the filtering material or filter elements inside the filter by acting counter-currently on the filtering surface, e.g. by flushing on the non-cake side of the filter
    • B01D46/72Regeneration of the filtering material or filter elements inside the filter by acting counter-currently on the filtering surface, e.g. by flushing on the non-cake side of the filter with backwash arms, shoes or nozzles
    • BPERFORMING OPERATIONS; TRANSPORTING
    • B01PHYSICAL OR CHEMICAL PROCESSES OR APPARATUS IN GENERAL
    • B01DSEPARATION
    • B01D46/00Filters or filtering processes specially modified for separating dispersed particles from gases or vapours
    • B01D46/24Particle separators, e.g. dust precipitators, using rigid hollow filter bodies
    • B01D46/2403Particle separators, e.g. dust precipitators, using rigid hollow filter bodies characterised by the physical shape or structure of the filtering element
    • B01D46/2411Filter cartridges
    • BPERFORMING OPERATIONS; TRANSPORTING
    • B01PHYSICAL OR CHEMICAL PROCESSES OR APPARATUS IN GENERAL
    • B01DSEPARATION
    • B01D46/00Filters or filtering processes specially modified for separating dispersed particles from gases or vapours
    • B01D46/30Particle separators, e.g. dust precipitators, using loose filtering material
    • BPERFORMING OPERATIONS; TRANSPORTING
    • B01PHYSICAL OR CHEMICAL PROCESSES OR APPARATUS IN GENERAL
    • B01DSEPARATION
    • B01D46/00Filters or filtering processes specially modified for separating dispersed particles from gases or vapours
    • B01D46/56Filters or filtering processes specially modified for separating dispersed particles from gases or vapours with multiple filtering elements, characterised by their mutual disposition
    • B01D46/58Filters or filtering processes specially modified for separating dispersed particles from gases or vapours with multiple filtering elements, characterised by their mutual disposition connected in parallel
    • BPERFORMING OPERATIONS; TRANSPORTING
    • B01PHYSICAL OR CHEMICAL PROCESSES OR APPARATUS IN GENERAL
    • B01DSEPARATION
    • B01D46/00Filters or filtering processes specially modified for separating dispersed particles from gases or vapours
    • B01D46/66Regeneration of the filtering material or filter elements inside the filter
    • B01D46/74Regeneration of the filtering material or filter elements inside the filter by forces created by movement of the filter element
    • B01D46/76Regeneration of the filtering material or filter elements inside the filter by forces created by movement of the filter element involving vibrations

Landscapes

  • Chemical & Material Sciences (AREA)
  • Chemical Kinetics & Catalysis (AREA)
  • Physics & Mathematics (AREA)
  • Geometry (AREA)
  • Filtering Of Dispersed Particles In Gases (AREA)
  • Treating Waste Gases (AREA)

Abstract

本发明公开了一种用于大气污染治理的净化塔,涉及大气污染治理技术领域。本发明包括净化塔本体和支座,净化塔本体周侧面固定连接有支撑环;净化塔本体周侧面分别固定连接有第一气泵和第二气泵,第一气泵和第二气泵一端均连通有滤嘴;支座一表面固定连接有阻尼减震管;若干阻尼减震管一端均与支撑环固定连接;支撑环底面还固定连接有两振动电机;净化塔本体内壁通过轴承分别转动连接有上集气罩和下集气罩。本发明通过排污管、振动电机、第一气泵、第二气泵的设计使该净化塔通过振动原理和反过滤原理,能够由内到外快速完成滤筒的自清理过程,从而有效降低滤筒的堵塞率,延长滤筒的可使用寿命。

Figure 201911101084

The invention discloses a purification tower for air pollution control, and relates to the technical field of air pollution control. The invention includes a purification tower body and a support, a support ring is fixedly connected to the peripheral side of the purification tower body; A surface of the support is fixedly connected with a damping shock pipe; one end of several damping shock pipes is fixedly connected with the support ring; the bottom surface of the support ring is also fixedly connected with two vibration motors; hood and lower hood. Through the design of the sewage pipe, the vibration motor, the first air pump and the second air pump, the present invention enables the purification tower to quickly complete the self-cleaning process of the filter cartridge from the inside to the outside through the vibration principle and the reverse filtering principle, thereby effectively reducing the filter cartridge's capacity. Blockage rate, prolong the service life of the filter cartridge.

Figure 201911101084

Description

purifying towers for treating atmospheric pollution
Technical Field
The invention belongs to the technical field of air pollution treatment, and particularly relates to purification towers for air pollution treatment.
Background
The atmospheric pollution is a phenomenon that substances in the atmosphere reach harmful levels to destroy an ecological system and conditions for normal survival and development of human beings and cause harm to human beings or objects, the atmospheric pollutants enter the atmosphere from human or natural sources, participate in the circulation process of the atmosphere, are removed from the atmosphere through chemical reaction, biological activity and physical sedimentation in the atmosphere after certain residence time, relatively accumulate in the atmosphere if the output rate is lower than the input rate to cause the concentration of certain substances in the atmosphere to rise, and when the concentration rises to certain levels, acute and chronic harm to human beings, organisms or materials is directly or indirectly caused, and the atmosphere is polluted.
At present, due to the development of industry, exhaust gas discharged by many factories pollutes the atmosphere, so the exhaust gas is purified before being discharged, and a purification tower is better purification equipment, but the exhaust gas contains quantitative solid particles, so that the blockage of a filter device of the purification tower is easily caused, and the normal use of the purification tower is influenced.
Disclosure of Invention
The invention aims to provide purifying towers for air pollution treatment, which solve the problem that the existing purifying towers for air pollution treatment are easy to block and inconvenient to maintain quickly by the design of an upper air collecting cover, a lower air collecting cover, a filter cylinder and a transmission motor.
In order to solve the technical problems, the invention is realized by the following technical scheme:
the invention relates to purification towers for atmospheric pollution control, which comprise purification tower bodies and supports, wherein the peripheral side surfaces of the purification tower bodies are fixedly connected with support rings, the peripheral side surfaces of the purification tower bodies are respectively and fixedly connected with a air pump and a second air pump, the ends of the air pump and the second air pump are respectively communicated with filter tips, the surface of each support is fixedly connected with a damping shock tube, the ends of a plurality of damping shock tubes are respectively and fixedly connected with the support rings, the bottom surfaces of the support rings are also fixedly connected with two vibration motors, the inner walls of the purification tower bodies are respectively and rotatably connected with an upper air collecting cover and a lower air collecting cover through bearings, groups of filter cylinders are communicated between the opposite surfaces of the upper air collecting cover and the lower air collecting cover, the bottom surfaces of the lower air collecting cover are fixedly communicated with driving pipes, the inner walls of the driving pipes are rotatably communicated with blow-off pipes, and;
the peripheral side surface of the driving pipe is fixedly connected with a driven gear, the lower portion of the purification tower body is fixedly connected with a transmission motor through a connecting piece, the end of an output shaft of the transmission motor is connected with the driven gear through the connecting piece, the end of the air outlet of the air pump is communicated with an upper air supply pipe, the peripheral side surface of the upper air supply pipe is communicated with a lower air supply pipe, the upper end of the purification tower body is communicated with the upper air supply pipe, the middle of the purification tower body is communicated with an air outlet pipe, and the end of the second air pump is communicated with the air outlet pipe.
, the upper and lower gas collecting covers are both hollow round table structure, and the upper and lower gas collecting covers are distributed symmetrically with the plane of the center line of the purifying tower body as the axis.
, the filter cartridges are distributed on the surface of the upper gas-collecting hood in a circular array, and the filter cartridges are hollow cylindrical structures with two open ends.
, valves are arranged on the peripheral sides of the lower air supply pipe and the sewage discharge pipe.
, the filter cartridge sequentially comprises a PP cotton filter layer, an activated carbon filter layer and an ion exchange resin filter layer from inside to outside, wherein two opposite side surfaces of the activated carbon filter layer are respectively connected with the PP cotton filter layer and the ion exchange resin filter layer.
, a rubber shock pad is fixedly arranged at the joint of the transmission motor and the purification tower body, and a power-off brake is fixedly arranged inside the transmission motor.
, the lower air feed pipe and the upper air feed pipe are both L-shaped structures, and the two vibrating motors are symmetrically distributed by taking the plane of the center line of the purifying tower body as an axis.
, the peripheral sides of the upper gas collecting cover and the lower gas collecting cover are coated with PVDF corrosion-resistant coatings.
The invention has the following beneficial effects:
according to the invention, through the design of the transmission motor, the traditional static atmosphere filtration is changed into the dynamic atmosphere filtration, and through the dynamic effect, the uniform use of the filter cartridge is facilitated, the problem that the filter cartridge is not wasted by under the traditional static condition is solved, and through the design of the drain pipe, the vibration motor, the air pump and the second air pump, the self-cleaning process of the filter cartridge can be rapidly completed from inside to outside through the vibration principle and the back-filtration principle of the purification tower, so that the blockage rate of the filter cartridge is effectively reduced, and the service life of the filter cartridge is prolonged.
Of course, it is not necessary that achieve all of the above-described advantages at the same time for any product that embodies the invention.
Drawings
In order to more clearly illustrate the technical solutions of the embodiments of the present invention, the drawings used in the description of the embodiments will be briefly introduced below, and it is obvious that the drawings in the following description are only embodiments of the present invention, and it is obvious for those skilled in the art to obtain other drawings without creative efforts.
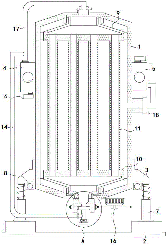
FIG. 1 is a schematic diagram of the internal structure of types of purification towers for atmospheric pollution abatement;
FIG. 2 is an enlarged view of a portion of FIG. 1 at A;
in the drawings, the components represented by the respective reference numerals are listed below:
1-a purification tower body, 2-a support, 3-a support ring, 4-an air pump, 5-a second air pump, 6-a filter tip, 7-a damping shock-absorbing pipe, 8-a vibration motor, 9-an upper air collecting cover, 10-a lower air collecting cover, 11-a filter cartridge, 12-a driving pipe, 13-a sewage discharge pipe, 14-a lower air supply pipe, 15-a driven gear, 16-a transmission motor, 17-an upper air supply pipe, 18-an air outlet pipe and 19-a valve .
Detailed Description
The technical solutions in the embodiments of the present invention will be described clearly and completely with reference to the drawings in the embodiments of the present invention, and it is obvious that the described embodiments are only partial embodiments of of the present invention, rather than all embodiments.
Referring to fig. 1-2, the invention provides purification towers for atmospheric pollution treatment, which comprise a purification tower body 1 and a support base 2, wherein the purification tower body 1 is a circular tank body, a circular cavity is formed in the purification tower body, a support ring 3 is fixedly connected to the circumferential side surface of the purification tower body 1, an air pump 4 and a second air pump 5 are fixedly connected to the circumferential side surface of the purification tower body 1 respectively, ends of a air pump 4 and a second air pump 5 are both communicated with a filter tip 6, a filter screen is fixedly arranged in the filter tip 6, the filter tip 6 is used for filtering large impurities during air intake, a damping shock absorption tube 7 is fixedly connected to the surface of the support base 2 , the damping shock absorption tube 7 is in a damping telescopic tube shock absorption spring form, the damping shock absorption tube 7 is used for supporting in an effect aspect, in addition, in an aspect of , when two vibration motors 8 work, damping shock absorption is performed on the purification tower body 1, and ends of four damping shock absorption tubes 7 ;
the bottom surface of the support ring 3 is also fixedly connected with two vibrating motors 8, the inner wall of the purification tower body 1 is respectively and rotatably connected with an upper air collecting cover 9 and a lower air collecting cover 10 through bearings, groups of filter cartridges 11 are communicated between the opposite surfaces of the upper air collecting cover 9 and the lower air collecting cover 10, the bottom surface of the lower air collecting cover 10 is fixedly communicated with a driving pipe 12, the inner wall of the driving pipe 12 is rotatably communicated with a sewage discharge pipe 13, and the peripheral side surface of the sewage discharge pipe 13 is communicated with a lower air supply pipe 14;
the peripheral side surface of the driving pipe 12 is also fixedly connected with a driven gear 15, the lower part of the purification tower body 1 is fixedly connected with a transmission motor 16 through a connecting piece, the end of an output shaft of the transmission motor 16 is connected with the driven gear 15 through the connecting piece, the end of the air outlet of the air pump 4 is communicated with an upper air supply pipe 17, the peripheral side surface of the upper air supply pipe 17 is communicated with a lower air supply pipe 14, the upper end of the purification tower body 1 is communicated with the upper air supply pipe 17, the middle part of the purification tower body 1 is communicated with an air outlet pipe 18, and the end of the second air pump 5 36.
As shown in figure 1, the upper gas collecting cover 9 and the lower gas collecting cover 10 are both in a hollow round table structure, the upper gas collecting cover 9 and the lower gas collecting cover 10 are symmetrically distributed by taking the plane of the center line of the purifying tower body 1 as an axis, valves 19 are arranged on the peripheral side surfaces of the lower air supply pipe 14 and the sewage discharge pipe 13, the valve 19 is an electric valve , the valve 19 is controlled by an external controller, and the controller is a PLC of a common model.
The filter cartridges 11 are distributed on the surface of the upper gas-collecting hood 9 in a circular array, and the filter cartridges 11 are hollow cylindrical structures with openings at two ends.
The filter cartridge 11 comprises a PP cotton filter layer, an activated carbon filter layer and an ion exchange resin filter layer from inside to outside in sequence; two opposite side surfaces of the activated carbon filter layer are respectively connected with the PP cotton filter layer and the ion exchange resin filter layer, and a rubber shock pad is fixedly arranged at the joint of the transmission motor 16 and the purification tower body 1; the power-off brake is fixedly arranged inside the transmission motor 16, the filtering capacities of the PP cotton filtering layer, the activated carbon filtering layer and the ion exchange resin filtering layer are sequentially enhanced, and the power-off brake is used for ensuring the braking capacity of the transmission motor 16 during power-off.
Wherein, the lower air feed pipe 14 and the upper air feed pipe 17 are both L-shaped structures; the two vibrating motors 8 are symmetrically distributed by taking the plane of the central line of the purifying tower body 1 as an axis, and the peripheral sides of the upper gas collecting cover 9 and the lower gas collecting cover 10 are coated with PVDF corrosion-resistant coatings.
The specific applications of this embodiment are that the purification tower is configured to filter and separate solid impurities in the atmosphere mainly at the front end of the atmospheric pollution abatement, the operation flow of the apparatus is, in a normal operation mode, the air pump 4 supplies air, the second air pump 5 exhausts air, the valve at the lower air supply pipe 14 is opened, the valve at the drain pipe 13 is closed, the driving motor 16 drives the upper air collecting cover 9, the lower air collecting cover 10 and the filter cartridges 11 to rotate at a set speed, the air flow enters the plurality of filter cartridges 11 from the upper and lower ends of the purification tower body 1 at the same time and is filtered by the filter cartridges 11, the solid impurities filtered by the filter cartridges 11 are retained inside the filter cartridges 11, the purified air is discharged from the air outlet pipe 18 or enters a lower processing flow under the driving of the second air pump 5, when the filter cartridges 11 need to be cleaned, the two vibrating motors 8 operate at a set frequency, the driving motor 16 is closed, the valve at the lower air pipe 14 is opened, the valve 3875 at the drain pipe 13 is opened, the second air pump 19 operates, the second air pump operates to blow out the air flow, the air flow of the filter cartridges 11 and the air pump 13 acts on the filter cartridges 64 to prolong the service life of the filter cartridges, and the filter cartridges 11.
In the description herein, reference to the term " embodiments," "examples," "specific examples," or the like, means that a particular feature, structure, material, or characteristic described in connection with the embodiment or example is included in at least embodiments or examples of the invention.
The preferred embodiments of the invention disclosed above are intended to be illustrative only. The preferred embodiments are not intended to be exhaustive or to limit the invention to the precise embodiments disclosed. Obviously, many modifications and variations are possible in light of the above teaching. The embodiments were chosen and described in order to best explain the principles of the invention and the practical application, to thereby enable others skilled in the art to best utilize the invention. The invention is limited only by the claims and their full scope and equivalents.

Claims (8)

1.一种用于大气污染治理的净化塔,包括净化塔本体(1)和支座(2),所述净化塔本体(1)周侧面固定连接有支撑环(3);所述净化塔本体(1)周侧面分别固定连接有第一气泵(4)和第二气泵(5),所述第一气泵(4)和第二气泵(5)一端均连通有滤嘴(6),其特征在于:1. A purification tower for air pollution control, comprising a purification tower body (1) and a support (2), and a support ring (3) is fixedly connected to the peripheral side of the purification tower body (1); the purification tower A first air pump (4) and a second air pump (5) are respectively fixedly connected to the peripheral side of the body (1), and a filter (6) is communicated with one end of the first air pump (4) and the second air pump (5). It is characterized by: 所述支座(2)一表面固定连接有阻尼减震管(7);若干所述阻尼减震管(7)一端均与支撑环(3)固定连接;所述支撑环(3)底面还固定连接有两振动电机(8);所述净化塔本体(1)内壁通过轴承分别转动连接有上集气罩(9)和下集气罩(10);所述上集气罩(9)和下集气罩(10)相对表面之间连通有一组滤筒(11);所述下集气罩(10)底面固定连通有驱动管(12);所述驱动管(12)内壁转动连通有排污管(13);所述排污管(13)周侧面连通有下送气管(14);A surface of the support (2) is fixedly connected with a damping shock pipe (7); one end of a plurality of the damping shock pipes (7) is fixedly connected with the support ring (3); the bottom surface of the support ring (3) is also Two vibration motors (8) are fixedly connected; the inner wall of the purification tower body (1) is respectively rotatably connected with an upper gas collecting hood (9) and a lower gas collecting hood (10) through bearings; the upper gas collecting hood (9) A set of filter cartridges (11) is communicated with the opposite surface of the lower gas collecting hood (10); the bottom surface of the lower gas collecting hood (10) is fixedly communicated with a driving pipe (12); the inner wall of the driving pipe (12) is in rotational communication There is a sewage pipe (13); the peripheral side of the sewage pipe (13) is connected with a lower air supply pipe (14); 所述驱动管(12)周侧面还固定连接有从动齿轮(15);所述净化塔本体(1)下部通过连接件固定连接有传动电机(16);所述传动电机(16)输出轴的一端通过连接件与从动齿轮(15)连接;所述第一气泵(4)出气口的一端连通有上送气管(17);所述上送气管(17)周侧面与下送气管(14)连通;所述净化塔本体(1)上端与上送气管(17)连通;所述净化塔本体(1)中部连通有出气管(18);所述第二气泵(5)一端通过管道与出气管(18)连通。A driven gear (15) is also fixedly connected to the peripheral side surface of the drive tube (12); a transmission motor (16) is fixedly connected to the lower part of the purification tower body (1) through a connecting piece; the output shaft of the transmission motor (16) One end of the upper air supply pipe (17) is connected with the driven gear (15) through a connecting piece; one end of the air outlet of the first air pump (4) is connected with an upper air supply pipe (17); 14) communication; the upper end of the purification tower body (1) is communicated with the upper air supply pipe (17); the middle part of the purification tower body (1) is communicated with an air outlet pipe (18); one end of the second air pump (5) passes through the pipeline It communicates with the air outlet pipe (18). 2.根据权利要求1所述的一种用于大气污染治理的净化塔,其特征在于,所述上集气罩(9)和下集气罩(10)均为中空圆台形结构;所述上集气罩(9)和下集气罩(10)以净化塔本体(1)中线所在平面为轴呈对称分布。2. A purification tower for air pollution control according to claim 1, characterized in that, the upper gas collecting hood (9) and the lower gas collecting hood (10) are both hollow truncated cone structures; The upper gas collecting hood (9) and the lower gas collecting hood (10) are symmetrically distributed with the plane where the center line of the purification tower body (1) is located as the axis. 3.根据权利要求1所述的一种用于大气污染治理的净化塔,其特征在于,所述滤筒(11)在上集气罩(9)一表面呈圆形阵列分布;所述滤筒(11)为两端开口的中空圆柱形结构。3. A purification tower for air pollution control according to claim 1, wherein the filter cartridge (11) is distributed in a circular array on a surface of the upper gas collecting hood (9); The barrel (11) is a hollow cylindrical structure with open ends. 4.根据权利要求1所述的一种用于大气污染治理的净化塔,其特征在于,所述下送气管(14)、排污管(13)周侧面均设置有阀门(19)。4 . A purification tower for air pollution control according to claim 1 , wherein valves ( 19 ) are provided on the peripheral sides of the lower air supply pipe ( 14 ) and the sewage pipe ( 13 ). 5 . 5.根据权利要求1所述的一种用于大气污染治理的净化塔,其特征在于,所述滤筒(11)由内到外依次包括PP棉过滤层、活性碳过滤层和离子交换树脂过滤层;所述活性碳过滤层相背两侧面分别与PP棉过滤层和离子交换树脂过滤层连接。5. a kind of purification tower for air pollution control according to claim 1 is characterized in that, described filter cartridge (11) comprises PP cotton filter layer, activated carbon filter layer and ion exchange resin sequentially from inside to outside Filter layer; the opposite sides of the activated carbon filter layer are respectively connected with the PP cotton filter layer and the ion exchange resin filter layer. 6.根据权利要求1所述的一种用于大气污染治理的净化塔,其特征在于,所述传动电机(16)与净化塔本体(1)连接处固定设置有橡胶减震垫;所述传动电机(16)内部固定设置有断电制动器。6. A purification tower for air pollution control according to claim 1, characterized in that, a rubber shock pad is fixedly arranged at the connection between the transmission motor (16) and the purification tower body (1); the A power-off brake is fixedly arranged inside the transmission motor (16). 7.根据权利要求1所述的一种用于大气污染治理的净化塔,其特征在于,所述下送气管(14)和上送气管(17)均为L状结构;两所述振动电机(8)以净化塔本体(1)中线所在平面为轴呈对称分布。7. A kind of purification tower for air pollution control according to claim 1, is characterized in that, described lower air supply pipe (14) and upper air supply pipe (17) are both L-shaped structures; (8) It is symmetrically distributed with the plane where the center line of the purification tower body (1) is located as the axis. 8.根据权利要求1所述的一种用于大气污染治理的净化塔,其特征在于,所述上集气罩(9)和下集气罩(10)周侧面均涂设有PVDF耐腐蚀涂层。8. a kind of purification tower for air pollution control according to claim 1, is characterized in that, described upper gas collecting hood (9) and lower gas collecting hood (10) peripheral sides are all coated with PVDF corrosion-resistant coating.
CN201911101084.7A 2019-11-12 2019-11-12 Purification tower for atmospheric pollution treatment Expired - Fee Related CN110732191B (en)

Priority Applications (1)

Application Number Priority Date Filing Date Title
CN201911101084.7A CN110732191B (en) 2019-11-12 2019-11-12 Purification tower for atmospheric pollution treatment

Applications Claiming Priority (1)

Application Number Priority Date Filing Date Title
CN201911101084.7A CN110732191B (en) 2019-11-12 2019-11-12 Purification tower for atmospheric pollution treatment

Publications (2)

Publication Number Publication Date
CN110732191A true CN110732191A (en) 2020-01-31
CN110732191B CN110732191B (en) 2022-03-04

Family

ID=69272765

Family Applications (1)

Application Number Title Priority Date Filing Date
CN201911101084.7A Expired - Fee Related CN110732191B (en) 2019-11-12 2019-11-12 Purification tower for atmospheric pollution treatment

Country Status (1)

Country Link
CN (1) CN110732191B (en)

Cited By (3)

* Cited by examiner, † Cited by third party
Publication number Priority date Publication date Assignee Title
CN112963386A (en) * 2021-05-18 2021-06-15 眉山市科跃工业自动化设备有限公司 Integrated filtering air inlet system
CN113082895A (en) * 2021-05-17 2021-07-09 黄亚萍 Be applied to dust collector in weaving workshop
CN120919768A (en) * 2025-10-14 2025-11-11 南通茂福节能环保科技有限公司 Purifying tower for treating atmospheric pollution

Citations (13)

* Cited by examiner, † Cited by third party
Publication number Priority date Publication date Assignee Title
EP0554886A2 (en) * 1992-02-05 1993-08-11 Asahi Glass Company Ltd. A filtering method of flue gas of a boiler and a filter apparatus for hot gas
US20050241282A1 (en) * 2004-04-28 2005-11-03 Gordon Robert R Self cleaning gas filtering system and method
CN101347699A (en) * 2008-09-01 2009-01-21 丁琳 Dry dust collector for soot cleaning with disrotatory filter drum and exterior air sword
KR100889196B1 (en) * 2008-11-05 2009-03-16 곽광섭 Dust Collector
CN203620433U (en) * 2013-12-04 2014-06-04 昆山蒂恒环保设备技术有限公司 Gas dust collector with rotary filter drum
WO2015086376A1 (en) * 2013-12-11 2015-06-18 Mann+Hummel Gmbh Filter housing, fluid filter and method for mounting the cover of the filter housing onto a nipple of the fluid filter
CN205235525U (en) * 2015-12-07 2016-05-18 交美特(常州)环保科技有限公司 Lauter tun
CN106039952A (en) * 2016-07-28 2016-10-26 佛山科学技术学院 UV photolysis and active carbon box integrated treatment device
CN205850456U (en) * 2016-06-12 2017-01-04 昆山工统环保科技有限公司 A kind of small-sized filter cartridge dust remover
CN206642495U (en) * 2017-04-01 2017-11-17 杭州菲龙环境技术有限公司 The induced air type dedusting controlling organization of interior filter suction type dust arrester
CN207071300U (en) * 2017-08-12 2018-03-06 永丰县广润化工有限公司 A kind of nonmetallic mineral crushing and classification workshop device for recovering powder
CN207385076U (en) * 2017-10-13 2018-05-22 东莞市赛亚环保设备有限公司 An Efficient and Environmentally Friendly Dry Grinding Dust Collector
CN207614515U (en) * 2017-11-23 2018-07-17 北京华创公路材料有限公司 Roof scrubber

Patent Citations (13)

* Cited by examiner, † Cited by third party
Publication number Priority date Publication date Assignee Title
EP0554886A2 (en) * 1992-02-05 1993-08-11 Asahi Glass Company Ltd. A filtering method of flue gas of a boiler and a filter apparatus for hot gas
US20050241282A1 (en) * 2004-04-28 2005-11-03 Gordon Robert R Self cleaning gas filtering system and method
CN101347699A (en) * 2008-09-01 2009-01-21 丁琳 Dry dust collector for soot cleaning with disrotatory filter drum and exterior air sword
KR100889196B1 (en) * 2008-11-05 2009-03-16 곽광섭 Dust Collector
CN203620433U (en) * 2013-12-04 2014-06-04 昆山蒂恒环保设备技术有限公司 Gas dust collector with rotary filter drum
WO2015086376A1 (en) * 2013-12-11 2015-06-18 Mann+Hummel Gmbh Filter housing, fluid filter and method for mounting the cover of the filter housing onto a nipple of the fluid filter
CN205235525U (en) * 2015-12-07 2016-05-18 交美特(常州)环保科技有限公司 Lauter tun
CN205850456U (en) * 2016-06-12 2017-01-04 昆山工统环保科技有限公司 A kind of small-sized filter cartridge dust remover
CN106039952A (en) * 2016-07-28 2016-10-26 佛山科学技术学院 UV photolysis and active carbon box integrated treatment device
CN206642495U (en) * 2017-04-01 2017-11-17 杭州菲龙环境技术有限公司 The induced air type dedusting controlling organization of interior filter suction type dust arrester
CN207071300U (en) * 2017-08-12 2018-03-06 永丰县广润化工有限公司 A kind of nonmetallic mineral crushing and classification workshop device for recovering powder
CN207385076U (en) * 2017-10-13 2018-05-22 东莞市赛亚环保设备有限公司 An Efficient and Environmentally Friendly Dry Grinding Dust Collector
CN207614515U (en) * 2017-11-23 2018-07-17 北京华创公路材料有限公司 Roof scrubber

Cited By (5)

* Cited by examiner, † Cited by third party
Publication number Priority date Publication date Assignee Title
CN113082895A (en) * 2021-05-17 2021-07-09 黄亚萍 Be applied to dust collector in weaving workshop
CN112963386A (en) * 2021-05-18 2021-06-15 眉山市科跃工业自动化设备有限公司 Integrated filtering air inlet system
CN112963386B (en) * 2021-05-18 2021-08-03 眉山市科跃工业自动化设备有限公司 Integrated filtering air inlet system
CN120919768A (en) * 2025-10-14 2025-11-11 南通茂福节能环保科技有限公司 Purifying tower for treating atmospheric pollution
CN120919768B (en) * 2025-10-14 2025-12-02 南通茂福节能环保科技有限公司 Purifying tower for treating atmospheric pollution

Also Published As

Publication number Publication date
CN110732191B (en) 2022-03-04

Similar Documents

Publication Publication Date Title
CN110732191A (en) purifying towers for treating atmospheric pollution
CN108970301A (en) A kind of paint spray booth air processor
CN105771516A (en) Centrifugal gas way type gas purifier
CN105797497A (en) Efficient and environment-friendly workshop waste gas purifying device
CN113426236B (en) An integrated equipment for desulfurization, denitrification and dust removal of industrial waste gas
CN116983782A (en) Multistage dust removal purification device of industry outer exhaust gas
CN216878503U (en) Hazardous waste burns deals with flue gas heavy metal adsorption equipment
CN216755774U (en) Semidry method gas cleaning processing apparatus
CN217549473U (en) Remove alkaline gas filter
CN108892255A (en) A kind of demountable filter for industrial sewage purification
CN217163627U (en) Atmospheric pollution treatment equipment
CN109966837B (en) An energy-saving and environmentally friendly air purification device
CN216677439U (en) VOC exhaust treatment device
CN223517228U (en) Flue gas dust removal equipment for preventing and treating atmospheric pollution
CN223381303U (en) Waste gas treatment device
CN216987072U (en) VOCs exhaust-gas purification handles with rotatory biological filter device
CN208327715U (en) A kind of chemical industry station-service sewage-treatment plant
CN112870902A (en) Supergravity waste gas separation and purification device
CN212669443U (en) A waste water treatment equipment with a purification device
CN220589470U (en) Environment-friendly waste gas treatment and discharge device
CN222677651U (en) A waste gas desulfurization and denitrification treatment device
CN221673864U (en) Exhaust-gas treatment purifying cylinder
CN222411190U (en) An ozone oxidation pipeline reactor
CN116903130B (en) Environmental engineering sewage purification device
CN110960949A (en) Spraying pretreatment waste gas purification device

Legal Events

Date Code Title Description
PB01 Publication
PB01 Publication
SE01 Entry into force of request for substantive examination
SE01 Entry into force of request for substantive examination
GR01 Patent grant
GR01 Patent grant
CP03 Change of name, title or address

Address after: No.33 Guangyun Road, Nanhai District, Foshan City, Guangdong Province

Patentee after: Foshan University

Country or region after: China

Address before: No.33 Guangyun Road, Nanhai District, Foshan City, Guangdong Province

Patentee before: FOSHAN University

Country or region before: China

CP03 Change of name, title or address
CF01 Termination of patent right due to non-payment of annual fee

Granted publication date: 20220304

CF01 Termination of patent right due to non-payment of annual fee