CN110680689A - Electric massage chair capable of exercising body coordination - Google Patents
Electric massage chair capable of exercising body coordination Download PDFInfo
- Publication number
- CN110680689A CN110680689A CN201911093750.7A CN201911093750A CN110680689A CN 110680689 A CN110680689 A CN 110680689A CN 201911093750 A CN201911093750 A CN 201911093750A CN 110680689 A CN110680689 A CN 110680689A
- Authority
- CN
- China
- Prior art keywords
- plate
- fixedly connected
- side wall
- massage
- seat plate
- Prior art date
- Legal status (The legal status is an assumption and is not a legal conclusion. Google has not performed a legal analysis and makes no representation as to the accuracy of the status listed.)
- Pending
Links
- 230000007246 mechanism Effects 0.000 claims abstract description 27
- 238000001125 extrusion Methods 0.000 claims abstract description 3
- 238000010438 heat treatment Methods 0.000 claims description 15
- 230000017531 blood circulation Effects 0.000 abstract description 10
- 230000001020 rhythmical effect Effects 0.000 abstract description 3
- 210000002414 leg Anatomy 0.000 description 11
- 230000000694 effects Effects 0.000 description 7
- 238000000034 method Methods 0.000 description 7
- 239000008280 blood Substances 0.000 description 3
- 210000004369 blood Anatomy 0.000 description 3
- 210000003205 muscle Anatomy 0.000 description 3
- 230000008569 process Effects 0.000 description 3
- 238000005096 rolling process Methods 0.000 description 3
- 230000009286 beneficial effect Effects 0.000 description 2
- 238000010586 diagram Methods 0.000 description 2
- 230000036541 health Effects 0.000 description 2
- 238000012986 modification Methods 0.000 description 2
- 230000004048 modification Effects 0.000 description 2
- 208000008035 Back Pain Diseases 0.000 description 1
- 210000003484 anatomy Anatomy 0.000 description 1
- 210000001217 buttock Anatomy 0.000 description 1
- 230000007812 deficiency Effects 0.000 description 1
- 201000010099 disease Diseases 0.000 description 1
- 208000037265 diseases, disorders, signs and symptoms Diseases 0.000 description 1
- 230000008030 elimination Effects 0.000 description 1
- 238000003379 elimination reaction Methods 0.000 description 1
- 230000006870 function Effects 0.000 description 1
- 238000012544 monitoring process Methods 0.000 description 1
- 230000033764 rhythmic process Effects 0.000 description 1
- 230000003860 sleep quality Effects 0.000 description 1
- 238000006467 substitution reaction Methods 0.000 description 1
Images
Classifications
-
- A—HUMAN NECESSITIES
- A61—MEDICAL OR VETERINARY SCIENCE; HYGIENE
- A61H—PHYSICAL THERAPY APPARATUS, e.g. DEVICES FOR LOCATING OR STIMULATING REFLEX POINTS IN THE BODY; ARTIFICIAL RESPIRATION; MASSAGE; BATHING DEVICES FOR SPECIAL THERAPEUTIC OR HYGIENIC PURPOSES OR SPECIFIC PARTS OF THE BODY
- A61H7/00—Devices for suction-kneading massage; Devices for massaging the skin by rubbing or brushing not otherwise provided for
-
- A—HUMAN NECESSITIES
- A61—MEDICAL OR VETERINARY SCIENCE; HYGIENE
- A61H—PHYSICAL THERAPY APPARATUS, e.g. DEVICES FOR LOCATING OR STIMULATING REFLEX POINTS IN THE BODY; ARTIFICIAL RESPIRATION; MASSAGE; BATHING DEVICES FOR SPECIAL THERAPEUTIC OR HYGIENIC PURPOSES OR SPECIFIC PARTS OF THE BODY
- A61H2201/00—Characteristics of apparatus not provided for in the preceding codes
- A61H2201/01—Constructive details
- A61H2201/0119—Support for the device
- A61H2201/0138—Support for the device incorporated in furniture
- A61H2201/0149—Seat or chair
-
- A—HUMAN NECESSITIES
- A61—MEDICAL OR VETERINARY SCIENCE; HYGIENE
- A61H—PHYSICAL THERAPY APPARATUS, e.g. DEVICES FOR LOCATING OR STIMULATING REFLEX POINTS IN THE BODY; ARTIFICIAL RESPIRATION; MASSAGE; BATHING DEVICES FOR SPECIAL THERAPEUTIC OR HYGIENIC PURPOSES OR SPECIFIC PARTS OF THE BODY
- A61H2201/00—Characteristics of apparatus not provided for in the preceding codes
- A61H2201/02—Characteristics of apparatus not provided for in the preceding codes heated or cooled
- A61H2201/0207—Characteristics of apparatus not provided for in the preceding codes heated or cooled heated
-
- A—HUMAN NECESSITIES
- A61—MEDICAL OR VETERINARY SCIENCE; HYGIENE
- A61H—PHYSICAL THERAPY APPARATUS, e.g. DEVICES FOR LOCATING OR STIMULATING REFLEX POINTS IN THE BODY; ARTIFICIAL RESPIRATION; MASSAGE; BATHING DEVICES FOR SPECIAL THERAPEUTIC OR HYGIENIC PURPOSES OR SPECIFIC PARTS OF THE BODY
- A61H2201/00—Characteristics of apparatus not provided for in the preceding codes
- A61H2201/12—Driving means
- A61H2201/1207—Driving means with electric or magnetic drive
-
- A—HUMAN NECESSITIES
- A61—MEDICAL OR VETERINARY SCIENCE; HYGIENE
- A61H—PHYSICAL THERAPY APPARATUS, e.g. DEVICES FOR LOCATING OR STIMULATING REFLEX POINTS IN THE BODY; ARTIFICIAL RESPIRATION; MASSAGE; BATHING DEVICES FOR SPECIAL THERAPEUTIC OR HYGIENIC PURPOSES OR SPECIFIC PARTS OF THE BODY
- A61H2201/00—Characteristics of apparatus not provided for in the preceding codes
- A61H2201/16—Physical interface with patient
- A61H2201/1602—Physical interface with patient kind of interface, e.g. head rest, knee support or lumbar support
- A61H2201/1604—Head
-
- A—HUMAN NECESSITIES
- A61—MEDICAL OR VETERINARY SCIENCE; HYGIENE
- A61H—PHYSICAL THERAPY APPARATUS, e.g. DEVICES FOR LOCATING OR STIMULATING REFLEX POINTS IN THE BODY; ARTIFICIAL RESPIRATION; MASSAGE; BATHING DEVICES FOR SPECIAL THERAPEUTIC OR HYGIENIC PURPOSES OR SPECIFIC PARTS OF THE BODY
- A61H2201/00—Characteristics of apparatus not provided for in the preceding codes
- A61H2201/16—Physical interface with patient
- A61H2201/1602—Physical interface with patient kind of interface, e.g. head rest, knee support or lumbar support
- A61H2201/164—Feet or leg, e.g. pedal
- A61H2201/1642—Holding means therefor
-
- A—HUMAN NECESSITIES
- A61—MEDICAL OR VETERINARY SCIENCE; HYGIENE
- A61H—PHYSICAL THERAPY APPARATUS, e.g. DEVICES FOR LOCATING OR STIMULATING REFLEX POINTS IN THE BODY; ARTIFICIAL RESPIRATION; MASSAGE; BATHING DEVICES FOR SPECIAL THERAPEUTIC OR HYGIENIC PURPOSES OR SPECIFIC PARTS OF THE BODY
- A61H2201/00—Characteristics of apparatus not provided for in the preceding codes
- A61H2201/50—Control means thereof
- A61H2201/5058—Sensors or detectors
- A61H2201/5071—Pressure sensors
-
- A—HUMAN NECESSITIES
- A61—MEDICAL OR VETERINARY SCIENCE; HYGIENE
- A61H—PHYSICAL THERAPY APPARATUS, e.g. DEVICES FOR LOCATING OR STIMULATING REFLEX POINTS IN THE BODY; ARTIFICIAL RESPIRATION; MASSAGE; BATHING DEVICES FOR SPECIAL THERAPEUTIC OR HYGIENIC PURPOSES OR SPECIFIC PARTS OF THE BODY
- A61H2201/00—Characteristics of apparatus not provided for in the preceding codes
- A61H2201/50—Control means thereof
- A61H2201/5058—Sensors or detectors
- A61H2201/5082—Temperature sensors
-
- A—HUMAN NECESSITIES
- A61—MEDICAL OR VETERINARY SCIENCE; HYGIENE
- A61H—PHYSICAL THERAPY APPARATUS, e.g. DEVICES FOR LOCATING OR STIMULATING REFLEX POINTS IN THE BODY; ARTIFICIAL RESPIRATION; MASSAGE; BATHING DEVICES FOR SPECIAL THERAPEUTIC OR HYGIENIC PURPOSES OR SPECIFIC PARTS OF THE BODY
- A61H2205/00—Devices for specific parts of the body
- A61H2205/02—Head
-
- A—HUMAN NECESSITIES
- A61—MEDICAL OR VETERINARY SCIENCE; HYGIENE
- A61H—PHYSICAL THERAPY APPARATUS, e.g. DEVICES FOR LOCATING OR STIMULATING REFLEX POINTS IN THE BODY; ARTIFICIAL RESPIRATION; MASSAGE; BATHING DEVICES FOR SPECIAL THERAPEUTIC OR HYGIENIC PURPOSES OR SPECIFIC PARTS OF THE BODY
- A61H2205/00—Devices for specific parts of the body
- A61H2205/10—Leg
Landscapes
- Health & Medical Sciences (AREA)
- Dermatology (AREA)
- Epidemiology (AREA)
- Pain & Pain Management (AREA)
- Physical Education & Sports Medicine (AREA)
- Rehabilitation Therapy (AREA)
- Life Sciences & Earth Sciences (AREA)
- Animal Behavior & Ethology (AREA)
- General Health & Medical Sciences (AREA)
- Public Health (AREA)
- Veterinary Medicine (AREA)
- Massaging Devices (AREA)
Abstract
本发明涉及电动按摩椅技术领域,且公开了一种可锻炼身体协调性的电动按摩椅,包括底座,底座的上端固定连接有座板,座板的一端侧壁开设有开口且开口处通过转轴转动连接有转板,转轴的一端贯穿座板的侧壁固定连接有升起电机,转板远离座板的一端侧壁固定连接有按摩机构,座板的另一端侧壁开设有开口且开口处通过转杆转动连接有定位板,转杆的一端贯穿座板的侧壁固定连接有下降电机,定位板远离座板的一端侧壁固定连接有背板,背板的上端固定连接有靠头机构。该可锻炼身体协调性的电动按摩椅,能够增加使用者腿部血液循环,并能通过有节奏的反复挤压锻炼身体的协调性,提高了疲劳的消除效率,满足了人们需求。
The invention relates to the technical field of electric massage chairs, and discloses an electric massage chair capable of exercising body coordination. A rotating plate is rotatably connected, one end of the rotating shaft penetrates the side wall of the seat plate and is fixedly connected with a lifting motor, the side wall of one end of the rotating plate away from the seat plate is fixedly connected with a massage mechanism, and the other end side wall of the seat plate is provided with an opening and the opening is A positioning plate is rotatably connected through the rotating rod, one end of the rotating rod is fixedly connected to the lowering motor through the side wall of the seat plate, the side wall of one end of the positioning plate away from the seat plate is fixedly connected with a back plate, and the upper end of the back plate is fixedly connected with a headrest mechanism . The electric massage chair capable of exercising body coordination can increase the blood circulation of the user's legs, and can exercise the coordination of the body through rhythmic repeated extrusion, thereby improving the efficiency of eliminating fatigue and meeting people's needs.
Description
技术领域technical field
本发明涉及电动按摩椅技术领域,具体为一种可锻炼身体协调性的电动按摩椅。The invention relates to the technical field of electric massage chairs, in particular to an electric massage chair capable of exercising physical coordination.
背景技术Background technique
按摩椅,利用机械的滚动力作用和机械力挤压来进行按摩,人工推拿按摩能够疏通经络,使气血循环,保持机体的阴阳平衡,所以按摩后可感到肌肉放松,关节灵活,使人精神振奋,消除疲劳,对保证身体健康有重要作用,对于长时间坐着工作和学习的人来说,按摩令血液循环通畅,改善腰酸背痛及预防病症,还能提高睡眠质量,缓解全身疲劳,改善姿势及锻炼健康身体,按摩椅的原理是利用机械的滚动力作用和机械力挤压来进行按摩,人工推拿按摩能够疏通经络,使气血循环,保持机体的阴阳平衡,所以按摩后可感到肌肉放松,关节灵活,使人精神振奋,消除疲劳,对保证身体健康有重要作用。Massage chairs use mechanical rolling force and mechanical force to squeeze. Manual massage can dredge meridians, circulate qi and blood, and maintain the balance of yin and yang of the body. Therefore, after massage, you can feel muscles relax, joints are flexible, and people can feel refreshed. Invigorate, eliminate fatigue, and play an important role in ensuring physical health. For people who sit for a long time, work and study, massage can make blood circulation smooth, improve back pain and prevent diseases, and can also improve sleep quality and relieve body fatigue. Improve posture and exercise a healthy body. The principle of the massage chair is to use the rolling force of the machine and the extrusion of the mechanical force to massage. Manual massage can dredge the meridians, circulate qi and blood, and maintain the balance of yin and yang of the body, so after the massage, you can feel Muscles are relaxed, joints are flexible, people are refreshed, and fatigue is eliminated, which plays an important role in ensuring physical health.
市场上按摩椅的工作原理普遍是利用机械的滚动力作用和气泵的气压力挤压来进行按摩,使用这种仿人工推拿按摩能够疏通经络,使气血循环,保持机体的阴阳平衡,在按摩后可感到肌肉放松,关节灵活,使人精神振奋,消除疲劳。The working principle of massage chairs on the market is generally to use the rolling force of the machine and the pressure of the air pump to massage. Using this artificial massage massage can dredge the meridians, circulate qi and blood, and maintain the balance of yin and yang in the body. After that, you can feel the muscles relax, the joints are flexible, make people feel refreshed, and eliminate fatigue.
现有的按摩椅都是针对背部进行按摩,但对于按摩椅来说往往因为隔着多次衣物和沙发垫等,效果较差,没有起到消除疲劳的效果,同时一些电动按摩椅往往不能在消除疲劳的同时锻炼身体的协调性,功能较为单一。The existing massage chairs are all for the back massage, but for the massage chairs, the effect is often poor because of the multiple clothes and sofa cushions, etc., and does not have the effect of eliminating fatigue, and some electric massage chairs often cannot be used in While eliminating fatigue, it can exercise the coordination of the body, and the function is relatively single.
发明内容SUMMARY OF THE INVENTION
(一)解决的技术问题(1) Technical problems solved
针对现有技术的不足,本发明提供了一种可锻炼身体协调性的电动按摩椅,具备可以在消除疲劳的同时锻炼身体协调性等优点,解决了现在市面上的按摩椅按摩效果较差的问题。Aiming at the deficiencies of the prior art, the present invention provides an electric massage chair capable of exercising physical coordination, which has the advantages of exercising physical coordination while eliminating fatigue, and solves the problem of poor massage effect of massage chairs currently on the market. question.
(二)技术方案(2) Technical solutions
为实现可以在消除疲劳的同时锻炼身体协调性目的,本发明提供如下技术方案:一种可锻炼身体协调性的电动按摩椅,包括底座,所述底座的上端固定连接有座板,所述座板的一端侧壁开设有开口且开口处通过转轴转动连接有转板,所述转轴的一端贯穿座板的侧壁固定连接有升起电机,所述转板远离座板的一端侧壁固定连接有按摩机构,所述座板的另一端侧壁开设有开口且开口处通过转杆转动连接有定位板,所述转杆的一端贯穿座板的侧壁固定连接有下降电机,所述定位板远离座板的一端侧壁固定连接有背板,所述背板的上端固定连接有靠头机构。In order to achieve the purpose of exercising physical coordination while eliminating fatigue, the present invention provides the following technical solutions: an electric massage chair capable of exercising physical coordination, comprising a base, the upper end of the base is fixedly connected with a seat plate, and the seat is One side wall of one end of the plate is provided with an opening, and the opening is rotatably connected with a rotating plate, one end of the rotating shaft is fixedly connected to the side wall of the seat plate, and a lifting motor is fixedly connected, and the side wall of one end of the rotating plate away from the seat plate is fixedly connected There is a massage mechanism, the other end side wall of the seat plate is provided with an opening, and the opening is connected with a positioning plate through a rotating rod. A back plate is fixedly connected to the side wall of one end away from the seat plate, and a headrest mechanism is fixedly connected to the upper end of the back plate.
优选的,所述按摩机构包括壳体,所述壳体的侧壁开设有两个开口且开口处均固定连接有两个海绵记忆垫,所述壳体的内侧壁固定连接有四个固定板,四个所述固定板两两之间通过滚珠轴承转动连接有两个丝杆,两个所述丝杆的一端均贯穿固定板的侧壁固定连接有从动锥齿轮,两个所述丝杆的杆壁两端外螺纹均相反,两个所述丝杆的杆壁两端均滑动连接有挤压板,所述壳体的侧壁固定连接有按摩电机,所述按摩电机的输出轴固定连接有与两个从动锥齿轮相啮合的主动锥齿轮,四个所述挤压板的侧壁均固定嵌入连接有压力传感器。Preferably, the massage mechanism includes a casing, the side wall of the casing is provided with two openings, and two sponge memory pads are fixedly connected to the openings, and four fixing plates are fixedly connected to the inner side wall of the casing , two screw rods are rotatably connected between the four fixed plates through ball bearings, and one end of the two screw rods is fixedly connected with a driven bevel gear through the side wall of the fixed plate. The outer threads at both ends of the rod wall of the rod are opposite, and the two ends of the rod wall of the two screw rods are slidably connected with a squeeze plate, the side wall of the casing is fixedly connected with a massage motor, and the output shaft of the massage motor is connected. A driving bevel gear meshing with the two driven bevel gears is fixedly connected, and pressure sensors are fixedly embedded and connected to the side walls of the four pressing plates.
优选的,所述靠头机构包括固定在背板上端的靠头板,所述靠头板的侧壁开设有开口且开口处固定连接有海绵按摩板,所述海绵按摩板的侧壁固定连接有加热板,所述加热板与靠头板的内侧壁之间固定连接有多个弹簧,所述靠头板的内侧壁固定连接有温度传感器。Preferably, the headrest mechanism comprises a headrest plate fixed on the upper end of the back plate, the side wall of the headrest plate is provided with an opening and a sponge massage plate is fixedly connected to the opening, and the side wall of the sponge massage plate is fixedly connected There is a heating plate, a plurality of springs are fixedly connected between the heating plate and the inner side wall of the headrest plate, and a temperature sensor is fixedly connected to the inner side wall of the headrest plate.
优选的,所述背板的侧壁两端固定两个沙发垫,两个所述沙发垫之间留有符合人体构造学的凹槽。Preferably, two sofa cushions are fixed at both ends of the side wall of the back panel, and an ergonomic groove is left between the two sofa cushions.
优选的,所述座板的上端左右两侧均固定连接有挡板,所述挡板的上端固定连接有开关模块,所述升起电机、下降电机、按摩电机和加热板均电性连接到开关模块上。Preferably, baffle plates are fixedly connected to the left and right sides of the upper end of the seat plate, a switch module is fixedly connected to the upper end of the baffle plate, and the raising motor, the lowering motor, the massage motor and the heating plate are all electrically connected to on the switch module.
优选的,所述座板的上端固定连接有有一层海绵按摩坐垫。Preferably, a layer of sponge massage cushion is fixedly connected to the upper end of the seat plate.
优选的,所述底座的内部固定连接有控制模块,所述压力感应器、温度感应器和开关模块均电性连接到控制模块上。Preferably, a control module is fixedly connected inside the base, and the pressure sensor, the temperature sensor and the switch module are all electrically connected to the control module.
(三)有益效果(3) Beneficial effects
与现有技术相比,本发明提供了一种可锻炼身体协调性的电动按摩椅,具备以下有益效果:Compared with the prior art, the present invention provides an electric massage chair capable of exercising physical coordination, which has the following beneficial effects:
1、该可锻炼身体协调性的电动按摩椅,通过设有的按摩机构包括壳体、海绵记忆垫、固定板、丝杆、从动锥齿轮、挤压板、按摩电机、主动锥齿轮和压力传感器,能够通过按摩电机带动两个丝杆转动,进而使四个挤压板两两挤压使用者的双腿,通过压力传感器来控制压力大小,可以快速舒缓使用者腿部压力,增加使用者腿部血液循环,并能通过有节奏的反复挤压锻炼身体的协调性。1. The electric massage chair that can exercise body coordination includes a shell, a sponge memory pad, a fixed plate, a screw, a driven bevel gear, a squeeze plate, a massage motor, a driving bevel gear and a pressure through the provided massage mechanism. The sensor can drive the two screw rods to rotate through the massage motor, so that the four squeeze plates squeeze the user's legs two by two, and the pressure is controlled by the pressure sensor, which can quickly relieve the user's leg pressure and increase the user's legs. The blood circulation of the legs, and the coordination of the body can be exercised through rhythmic repeated squeezing.
2、该可锻炼身体协调性的电动按摩椅,通过设有的靠头机构包括靠头板、海绵按摩板、加热板、弹簧和温度传感器,能够通过加热板和温度传感器来带给头部适应的温度,促进血液循环,通过海绵按摩板能够按摩头部,增加血液循环,提高了疲劳的消除效率,满足了人们需求。2. The electric massage chair that can exercise body coordination includes a headrest mechanism including a headrest plate, a sponge massage plate, a heating plate, a spring and a temperature sensor, so that the head can be adapted to the head through the heating plate and the temperature sensor. It can massage the head through the sponge massage board, increase blood circulation, improve the efficiency of eliminating fatigue, and meet people's needs.
3、该可锻炼身体协调性的电动按摩椅,通过设有的转轴、转板、升起电机、转杆、定位板、背板、下降电机和按摩机构,能够通过升起电机和下降电机,来调整背板和按摩机构的位置,可以调整至任意的角度,方便人们在按摩椅上休息,提高了人们的舒适度,提高了电动按摩椅的适用范围,满足了人们的需求,方便了人们使用。3. The electric massage chair that can exercise body coordination can pass the lifting motor and the lowering motor through the rotating shaft, the rotating plate, the lifting motor, the rotating rod, the positioning plate, the back plate, the lowering motor and the massage mechanism. To adjust the position of the backboard and the massage mechanism, it can be adjusted to any angle, which is convenient for people to rest on the massage chair, improves people's comfort, improves the scope of application of the electric massage chair, meets people's needs, and is convenient for people. use.
4、该可锻炼身体协调性的电动按摩椅,通过设有的控制模块和开关模块,可以通过控制模块来检测压力传感器和温度传感器的实时数值,来根据数值控制加热板和按摩电机的工作,能够适应不同使用人群和使用季节,同时能够通过开口模块来控制各个电机和加热板的工作与否,能够更加人性化的使用按摩椅,提高了按摩椅的使用效果,满足了人们需求。4. The electric massage chair that can exercise body coordination can detect the real-time value of the pressure sensor and the temperature sensor through the control module and the switch module provided, and control the work of the heating plate and the massage motor according to the value. It can adapt to different users and seasons, and can control the work of each motor and heating plate through the opening module, which can make the massage chair more user-friendly, improve the use effect of the massage chair, and meet people's needs.
附图说明Description of drawings
图1为本发明提出的一种可锻炼身体协调性的电动按摩椅的结构示意图;Fig. 1 is the structural representation of a kind of electric massage chair that can exercise body coordination proposed by the present invention;
图2为本发明提出的一种可锻炼身体协调性的电动按摩椅的侧视图;Fig. 2 is the side view of a kind of electric massage chair that can exercise body coordination proposed by the present invention;
图3为本发明提出的一种可锻炼身体协调性的电动按摩椅的俯视图;3 is a top view of an electric massage chair that can exercise physical coordination proposed by the present invention;
图4为本发明提出的一种可锻炼身体协调性的电动按摩椅靠头机构的结构示意图;4 is a schematic structural diagram of an electric massage chair headrest mechanism that can exercise body coordination proposed by the present invention;
图5为本发明提出的一种可锻炼身体协调性的电动按摩椅按摩机构的结构示意图。FIG. 5 is a schematic structural diagram of an electric massage chair massage mechanism for exercising body coordination proposed by the present invention.
图中:1底座、2座板、3转轴、4转板、5升起电机、6按摩机构、61壳体、62海绵记忆垫、63固定板、64丝杆、65从动锥齿轮、66挤压板、67按摩电机、68主动锥齿轮、69压力传感器、7转杆、8定位板、9下降电机、10背板、11靠头机构、111靠头板、112海绵按摩板、113加热板、114弹簧、115温度传感器、12沙发垫、13凹槽、14挡板、15开关模块、16海绵按摩坐垫、17控制模块。In the picture: 1 base, 2 seat plate, 3 rotating shaft, 4 rotating plate, 5 lifting motor, 6 massage mechanism, 61 shell, 62 sponge memory pad, 63 fixed plate, 64 screw, 65 driven bevel gear, 66 Squeeze plate, 67 massage motor, 68 drive bevel gear, 69 pressure sensor, 7 lever, 8 positioning plate, 9 lowering motor, 10 back plate, 11 headrest mechanism, 111 headrest plate, 112 sponge massage plate, 113 heating Plate, 114 springs, 115 temperature sensors, 12 sofa cushions, 13 grooves, 14 baffles, 15 switch modules, 16 sponge massage cushions, 17 control modules.
具体实施方式Detailed ways
下面将对本发明实施例中的技术方案进行清楚、完整地描述,显然,所描述的实施例仅仅是本发明一部分实施例,而不是全部的实施例。基于本发明中的实施例,本领域普通技术人员在没有做出创造性劳动前提下所获得的所有其他实施例,都属于本发明保护的范围。The technical solutions in the embodiments of the present invention will be described clearly and completely below. Obviously, the described embodiments are only a part of the embodiments of the present invention, rather than all the embodiments. Based on the embodiments of the present invention, all other embodiments obtained by those of ordinary skill in the art without creative efforts shall fall within the protection scope of the present invention.
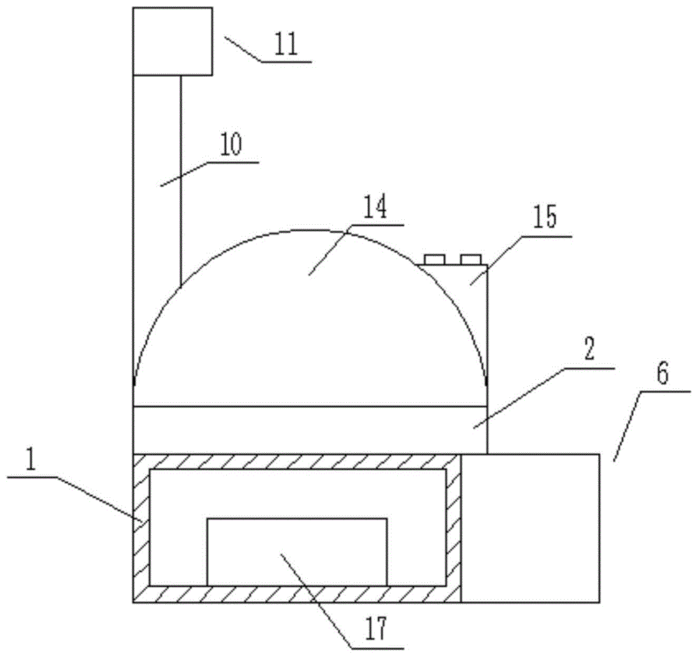
请参阅图1-5,一种可锻炼身体协调性的电动按摩椅,包括底座1,底座1的上端固定连接有座板2,座板2的一端侧壁开设有开口且开口处通过转轴3转动连接有转板4,转轴3的一端贯穿座板2的侧壁固定连接有升起电机5,转板4远离座板2的一端侧壁固定连接有按摩机构6,座板2的另一端侧壁开设有开口且开口处通过转杆7转动连接有定位板8,转杆7的一端贯穿座板2的侧壁固定连接有下降电机9,定位板8远离座板2的一端侧壁固定连接有背板10,背板10的上端固定连接有靠头机构11。Please refer to Figures 1-5, an electric massage chair that can exercise body coordination, including a base 1, the upper end of the base 1 is fixedly connected with a seat plate 2, one end side wall of the seat plate 2 is provided with an opening, and the opening passes through the rotating shaft 3 A rotating plate 4 is rotatably connected, one end of the rotating
按摩机构6包括壳体61,壳体61的侧壁开设有两个开口且开口处均固定连接有两个海绵记忆垫62,壳体61的内侧壁固定连接有四个固定板63,四个固定板63两两之间通过滚珠轴承转动连接有两个丝杆64,两个丝杆64的一端均贯穿固定板64的侧壁固定连接有从动锥齿轮65,两个丝杆64的杆壁两端外螺纹均相反,两个丝杆64的杆壁两端均滑动连接有挤压板66,壳体61的侧壁固定连接有按摩电机67,按摩电机67的输出轴固定连接有与两个从动锥齿轮65相啮合的主动锥齿轮68,四个挤压板66的侧壁均固定嵌入连接有压力传感器69,设有的按摩机构6能够通过按摩电机67带动两个丝杆64转动,进而使四个挤压板66两两挤压使用者的双腿,通过压力传感器69来控制压力大小,可以快速舒缓使用者腿部压力,增加使用者腿部血液循环,并能通过有节奏的反复挤压锻炼身体的协调性,提高了电动按摩椅的使用效果,提高了按摩效率。The
靠头机构11包括固定在背板10上端的靠头板111,靠头板111的侧壁开设有开口且开口处固定连接有海绵按摩板112,海绵按摩板112的侧壁固定连接有加热板113,加热板113与靠头板111的内侧壁之间固定连接有多个弹簧114,靠头板111的内侧壁固定连接有温度传感器115,设有的靠头机构11能够通过加热板113和温度传感器115来带给头部适应的温度,促进血液循环,通过通过海绵按摩板112能够按摩头部,增加血液循环,提高了疲劳的消除效率,满足了人们需求。The
背板10的侧壁两端固定两个沙发垫12,两个沙发垫12之间留有符合人体构造学的凹槽13,能够使背板10符合人头构造学,使人躺下时不会感受到不适。Two sofa cushions 12 are fixed at both ends of the side wall of the
座板2的上端左右两侧均固定连接有挡板14,挡板14的上端固定连接有开关模块15,升起电机5、下降电机9、按摩电机67和加热板113均电性连接到开关模块15上,能够通过挡板14上的开关模块15来控制各个部分的运行,方便人们使用。The upper end of the seat plate 2 is fixedly connected to the left and right sides with the
座板2的上端固定连接有有一层海绵按摩坐垫16,可以提高人们坐立时的舒适度,按摩人体的臀部,提高了按摩效果。A layer of
底座1的内部固定连接有控制模块17,压力感应器69、温度感应器115和开关模块15均电性连接到控制模块17上,能够通过控制模块17来检测压力传感器69和温度传感器115的数据,来适应不同的使用人群和使用环境,满足了人们需求。The inside of the base 1 is fixedly connected with the control module 17 . The pressure sensor 69 , the
综上所述,该可锻炼身体协调性的电动按摩椅,使用者先坐上座板2,将两个腿分别放置在两个海绵记忆垫62内,将头部靠在靠头板111上的海绵按摩板112上,然后通过开关模块15打开按摩电机67带动主动锥齿轮68转动,进而带动从动锥齿轮65转动,使两个丝杆63转动将两个挤压板66挤压使用者的腿部,并通过压力传感器实时监测数据,调整挤压板力度,同时打开加热板113对头部进行加热,通过温度传感器115来实施调整温度,使人体处在适宜的温度,同时可以通过开关模块15控制升起电机5和下降电机9的工作,使背板10和按摩机构6移动到合适的角度和位置,来适应不同的使用人群,整个设备结构简单,能够快速舒缓使用者腿部压力,增加使用者腿部血液循环,并能通过有节奏的反复挤压锻炼身体的协调性,能够促进血液循环并增加血液循环,提高了疲劳的消除效率,方便人们使用,同时可以将背板和按摩机构的位置调整至任意的角度,方便人们在按摩椅上休息,提高了人们的舒适度,提高了电动按摩椅的适用范围,同时能够通过开口模块来控制各个电机和加热板的工作与否,能够更加人性化的使用按摩椅,提高了按摩椅的使用效果,满足了人们需求。To sum up, in this electric massage chair that can exercise physical coordination, the user first sits on the seat plate 2, places the two legs in the two
需要说明的是,术语“包括”、“包含”或者其任何其他变体意在涵盖非排他性的包含,从而使得包括一系列要素的过程、方法、物品或者设备不仅包括那些要素,而且还包括没有明确列出的其他要素,或者是还包括为这种过程、方法、物品或者设备所固有的要素。在没有更多限制的情况下,由语句“包括一个……”限定的要素,并不排除在包括所述要素的过程、方法、物品或者设备中还存在另外的相同要素。It should be noted that the terms "comprising", "comprising" or any other variation thereof are intended to encompass a non-exclusive inclusion such that a process, method, article or device comprising a series of elements includes not only those elements, but also no Other elements expressly listed, or which are also inherent to such a process, method, article or apparatus. Without further limitation, an element qualified by the phrase "comprising a..." does not preclude the presence of additional identical elements in a process, method, article or apparatus that includes the element.
尽管已经示出和描述了本发明的实施例,对于本领域的普通技术人员而言,可以理解在不脱离本发明的原理和精神的情况下可以对这些实施例进行多种变化、修改、替换和变型,本发明的范围由所附权利要求及其等同物限定。Although embodiments of the present invention have been shown and described, it will be understood by those skilled in the art that various changes, modifications, and substitutions can be made in these embodiments without departing from the principle and spirit of the invention and modifications, the scope of the present invention is defined by the appended claims and their equivalents.
Claims (7)
Priority Applications (1)
| Application Number | Priority Date | Filing Date | Title |
|---|---|---|---|
| CN201911093750.7A CN110680689A (en) | 2019-11-11 | 2019-11-11 | Electric massage chair capable of exercising body coordination |
Applications Claiming Priority (1)
| Application Number | Priority Date | Filing Date | Title |
|---|---|---|---|
| CN201911093750.7A CN110680689A (en) | 2019-11-11 | 2019-11-11 | Electric massage chair capable of exercising body coordination |
Publications (1)
| Publication Number | Publication Date |
|---|---|
| CN110680689A true CN110680689A (en) | 2020-01-14 |
Family
ID=69116091
Family Applications (1)
| Application Number | Title | Priority Date | Filing Date |
|---|---|---|---|
| CN201911093750.7A Pending CN110680689A (en) | 2019-11-11 | 2019-11-11 | Electric massage chair capable of exercising body coordination |
Country Status (1)
| Country | Link |
|---|---|
| CN (1) | CN110680689A (en) |
Cited By (1)
| Publication number | Priority date | Publication date | Assignee | Title |
|---|---|---|---|---|
| CN112107168A (en) * | 2020-08-17 | 2020-12-22 | 南昌泰豪虚拟现实科技有限公司 | VR massage armchair of supplementary sleep |
Citations (10)
| Publication number | Priority date | Publication date | Assignee | Title |
|---|---|---|---|---|
| CN2765595Y (en) * | 2005-01-24 | 2006-03-22 | 刘清懋 | Stand up assisting chair |
| CN104013525A (en) * | 2014-05-16 | 2014-09-03 | 苏州标图高级座椅有限公司 | Massage chair |
| CN205339458U (en) * | 2015-12-31 | 2016-06-29 | 东莞理工学院 | A functional chair for the elderly based on ergonomics |
| CN105769503A (en) * | 2016-04-22 | 2016-07-20 | 管培兰 | Intelligent nursing and rehabilitation chair device |
| CN105796292A (en) * | 2016-03-30 | 2016-07-27 | 艾力斯特健康科技有限公司 | Leg massage mechanism and massage chair with massage mechanism |
| CN108175218A (en) * | 2018-02-28 | 2018-06-19 | 郑州神盾智能科技有限公司 | A kind of mattress with automatic massage function |
| CN108451176A (en) * | 2018-04-13 | 2018-08-28 | 董京瑶 | A kind of seat used for student with back massage function of fitting student's back curve |
| CN207979444U (en) * | 2017-07-07 | 2018-10-19 | 吕正洋 | A kind of inflatable temperature-adjusting type massage pillow |
| CN108904247A (en) * | 2018-07-24 | 2018-11-30 | 李代全 | A simple domestic calf massage device |
| CN211157164U (en) * | 2019-11-11 | 2020-08-04 | 嘉兴维特拉电气科技有限公司 | Electric massage chair capable of exercising body coordination |
-
2019
- 2019-11-11 CN CN201911093750.7A patent/CN110680689A/en active Pending
Patent Citations (10)
| Publication number | Priority date | Publication date | Assignee | Title |
|---|---|---|---|---|
| CN2765595Y (en) * | 2005-01-24 | 2006-03-22 | 刘清懋 | Stand up assisting chair |
| CN104013525A (en) * | 2014-05-16 | 2014-09-03 | 苏州标图高级座椅有限公司 | Massage chair |
| CN205339458U (en) * | 2015-12-31 | 2016-06-29 | 东莞理工学院 | A functional chair for the elderly based on ergonomics |
| CN105796292A (en) * | 2016-03-30 | 2016-07-27 | 艾力斯特健康科技有限公司 | Leg massage mechanism and massage chair with massage mechanism |
| CN105769503A (en) * | 2016-04-22 | 2016-07-20 | 管培兰 | Intelligent nursing and rehabilitation chair device |
| CN207979444U (en) * | 2017-07-07 | 2018-10-19 | 吕正洋 | A kind of inflatable temperature-adjusting type massage pillow |
| CN108175218A (en) * | 2018-02-28 | 2018-06-19 | 郑州神盾智能科技有限公司 | A kind of mattress with automatic massage function |
| CN108451176A (en) * | 2018-04-13 | 2018-08-28 | 董京瑶 | A kind of seat used for student with back massage function of fitting student's back curve |
| CN108904247A (en) * | 2018-07-24 | 2018-11-30 | 李代全 | A simple domestic calf massage device |
| CN211157164U (en) * | 2019-11-11 | 2020-08-04 | 嘉兴维特拉电气科技有限公司 | Electric massage chair capable of exercising body coordination |
Cited By (1)
| Publication number | Priority date | Publication date | Assignee | Title |
|---|---|---|---|---|
| CN112107168A (en) * | 2020-08-17 | 2020-12-22 | 南昌泰豪虚拟现实科技有限公司 | VR massage armchair of supplementary sleep |
Similar Documents
| Publication | Publication Date | Title |
|---|---|---|
| CN111053680B (en) | A limb movement nursing device for neurosurgery | |
| CN210932506U (en) | Multifunctional massage bed for rehabilitation | |
| CN209751546U (en) | A massage mechanism of a massage chair | |
| CN211157164U (en) | Electric massage chair capable of exercising body coordination | |
| CN115228045B (en) | An intelligent human-machine rehabilitation training system | |
| CN110680689A (en) | Electric massage chair capable of exercising body coordination | |
| CN109009918A (en) | A kind of massage mechanism and massage armchair of human body back | |
| CN106726495A (en) | Moxa-moxibustion massage armchair | |
| CN209916556U (en) | Chair with swinging and massaging functions for movie theater | |
| CN216439078U (en) | Old-person assisting chair | |
| CN112155935A (en) | Pedal transmission mechanism of backrest massage chair | |
| CN209827509U (en) | A kind of sports training leg muscle massage device | |
| US20070232460A1 (en) | Exercise chair and method of manufacturing the same | |
| CN209059925U (en) | A massage mechanism and massage chair | |
| CN219398120U (en) | Leg rotary massage structure of massage chair | |
| CN215504172U (en) | Neurosurgery is with limbs motion nursing device | |
| CN221712690U (en) | A switchable adaptive physiotherapy chair | |
| CN222055883U (en) | Hand and foot massage device | |
| CN222787357U (en) | Waist support structure of human engineering chair | |
| CN219230626U (en) | Spinal surgery is with backbone adjuvant therapy seat | |
| CN221845425U (en) | A vibrating therapy chair | |
| CN210020202U (en) | An intelligent leg fitness device | |
| CN221787241U (en) | Massage armchair for nursing | |
| CN213406878U (en) | Multifunctional full-angle massage physiotherapy device | |
| CN213553398U (en) | Pedal type massage chair transmission mechanism |
Legal Events
| Date | Code | Title | Description |
|---|---|---|---|
| PB01 | Publication | ||
| PB01 | Publication | ||
| SE01 | Entry into force of request for substantive examination | ||
| SE01 | Entry into force of request for substantive examination | ||
| RJ01 | Rejection of invention patent application after publication |
Application publication date: 20200114 |
|
| RJ01 | Rejection of invention patent application after publication |
