CN110658859A - Reservoir water level control system - Google Patents
Reservoir water level control system Download PDFInfo
- Publication number
- CN110658859A CN110658859A CN201910925863.2A CN201910925863A CN110658859A CN 110658859 A CN110658859 A CN 110658859A CN 201910925863 A CN201910925863 A CN 201910925863A CN 110658859 A CN110658859 A CN 110658859A
- Authority
- CN
- China
- Prior art keywords
- water
- water level
- liquid level
- pipe
- storage tank
- Prior art date
- Legal status (The legal status is an assumption and is not a legal conclusion. Google has not performed a legal analysis and makes no representation as to the accuracy of the status listed.)
- Pending
Links
Images
Classifications
-
- G—PHYSICS
- G05—CONTROLLING; REGULATING
- G05D—SYSTEMS FOR CONTROLLING OR REGULATING NON-ELECTRIC VARIABLES
- G05D9/00—Level control, e.g. controlling quantity of material stored in vessel
- G05D9/12—Level control, e.g. controlling quantity of material stored in vessel characterised by the use of electric means
-
- B—PERFORMING OPERATIONS; TRANSPORTING
- B08—CLEANING
- B08B—CLEANING IN GENERAL; PREVENTION OF FOULING IN GENERAL
- B08B13/00—Accessories or details of general applicability for machines or apparatus for cleaning
-
- B—PERFORMING OPERATIONS; TRANSPORTING
- B08—CLEANING
- B08B—CLEANING IN GENERAL; PREVENTION OF FOULING IN GENERAL
- B08B3/00—Cleaning by methods involving the use or presence of liquid or steam
- B08B3/02—Cleaning by the force of jets or sprays
-
- H—ELECTRICITY
- H02—GENERATION; CONVERSION OR DISTRIBUTION OF ELECTRIC POWER
- H02K—DYNAMO-ELECTRIC MACHINES
- H02K11/00—Structural association of dynamo-electric machines with electric components or with devices for shielding, monitoring or protection
- H02K11/20—Structural association of dynamo-electric machines with electric components or with devices for shielding, monitoring or protection for measuring, monitoring, testing, protecting or switching
-
- H—ELECTRICITY
- H02—GENERATION; CONVERSION OR DISTRIBUTION OF ELECTRIC POWER
- H02K—DYNAMO-ELECTRIC MACHINES
- H02K5/00—Casings; Enclosures; Supports
- H02K5/04—Casings or enclosures characterised by the shape, form or construction thereof
-
- H—ELECTRICITY
- H02—GENERATION; CONVERSION OR DISTRIBUTION OF ELECTRIC POWER
- H02K—DYNAMO-ELECTRIC MACHINES
- H02K5/00—Casings; Enclosures; Supports
- H02K5/04—Casings or enclosures characterised by the shape, form or construction thereof
- H02K5/10—Casings or enclosures characterised by the shape, form or construction thereof with arrangements for protection from ingress, e.g. water or fingers
Landscapes
- Engineering & Computer Science (AREA)
- Power Engineering (AREA)
- Physics & Mathematics (AREA)
- General Physics & Mathematics (AREA)
- Automation & Control Theory (AREA)
- Microelectronics & Electronic Packaging (AREA)
- Control Of Positive-Displacement Pumps (AREA)
Abstract
本发明公开了一种蓄水池水位控制系统,包括蓄水箱,所述蓄水箱内设有液位检测机构,所述蓄水箱上连接有加水机构;所述液位检测机构主要包括:第一固定架、第一水位管、第一液位传感器、第二固定架、第二水位管以及第二液位传感器;所述第一固定架固定于蓄水箱上壁面,所述第一水位管插装于第一固定架上,所述第一液位传感器安装于第一水位管内部,且位于第一水位管下端,本控制系统采用上下两个液位传感器,更加精准的对水位进行检测,避免液面过低而影响工作进度,也避免液面过高溢出蓄水池,造成水资源浪费现象,液位检测机构具有自清洁功能。
The invention discloses a water level control system for a water storage tank, comprising a water storage tank, a liquid level detection mechanism is arranged in the water storage tank, and a water adding mechanism is connected to the water storage tank; the liquid level detection mechanism mainly includes : a first fixing frame, a first water level pipe, a first liquid level sensor, a second fixing frame, a second water level pipe and a second liquid level sensor; the first fixing frame is fixed on the upper wall of the water storage tank, and the first fixing frame is A water level pipe is inserted on the first fixing frame, and the first liquid level sensor is installed inside the first water level pipe and is located at the lower end of the first water level pipe. The water level is detected to prevent the liquid level from being too low and affecting the work progress, and also to avoid the overflow of the reservoir due to the high liquid level, resulting in waste of water resources. The liquid level detection mechanism has a self-cleaning function.
Description
技术领域technical field
本发明涉及混凝土生产技术领域,特别是蓄水池水位控制系统。The invention relates to the technical field of concrete production, in particular to a water level control system of a reservoir.
背景技术Background technique
混凝土指以水泥为主要胶凝材料,与水、砂、石子,必要时掺入化学外加剂和矿物掺合料,按适当比例配合,经过均匀搅拌、密实成型及养护硬化而成的人造石材。混凝土搅拌时需要大量的水,因此,蓄水池的水位控制系统对于混凝土厂来说必不可少。Concrete refers to an artificial stone made of cement as the main cementing material, mixed with water, sand, stone, and if necessary, chemical admixtures and mineral admixtures, mixed in appropriate proportions, uniformly stirred, compacted, and cured and hardened. Concrete mixing requires a large amount of water, therefore, a water level control system in a reservoir is essential for a concrete plant.
现有的蓄水池液位检测仅为单独一个液位传感器进行检测,液位传感器进行上下运动,易增加液位传感器发生故障的概率,检测不准确,并且缩短了液位传感器的使用寿命,有些不具有电路保护功能,易发生电路短路,安全性差。The existing reservoir liquid level detection is only performed by a single liquid level sensor, and the liquid level sensor moves up and down, which is easy to increase the probability of the liquid level sensor failure, the detection is inaccurate, and the service life of the liquid level sensor is shortened. Some do not have circuit protection function, and are prone to short circuit and poor safety.
发明内容SUMMARY OF THE INVENTION
本发明的目的是为了解决上述问题,设计了一种蓄水池水位控制系统。The purpose of the present invention is to design a water level control system for a reservoir in order to solve the above problems.
实现上述目的本发明的技术方案为,一种蓄水池水位控制系统,包括蓄水箱,所述蓄水箱内设有液位检测机构,所述蓄水箱上连接有加水机构;To achieve the above objects, the technical solution of the present invention is that a water level control system for a water storage tank includes a water storage tank, a liquid level detection mechanism is arranged in the water storage tank, and a water adding mechanism is connected to the water storage tank;
所述液位检测机构主要包括:第一固定架、第一水位管、第一液位传感器、第二固定架、第二水位管以及第二液位传感器;The liquid level detection mechanism mainly includes: a first fixed frame, a first water level pipe, a first liquid level sensor, a second fixed frame, a second water level pipe and a second liquid level sensor;
所述第一固定架固定于蓄水箱上壁面,所述第一水位管插装于第一固定架上,所述第一液位传感器安装于第一水位管内部,且位于第一水位管下端,所述第二固定架固定于蓄水箱上壁面,所述第二水位管插装于第二固定架上,所述第二液位传感器安装于第二水位管内部,且位于第二水位管上端,所述第一水位管以及第二水位管上均开设有若干个结构相同的通孔,所述第一固定架以及第二固定架上均连接有清洗结构。The first fixing frame is fixed on the upper wall of the water storage tank, the first water level pipe is inserted on the first fixing frame, and the first liquid level sensor is installed inside the first water level pipe and is located in the first water level pipe At the lower end, the second fixing frame is fixed on the upper wall of the water storage tank, the second water level pipe is inserted on the second fixing frame, and the second liquid level sensor is installed inside the second water level pipe and is located in the second water level pipe. On the upper end of the water level pipe, the first water level pipe and the second water level pipe are provided with a plurality of through holes with the same structure, and the first fixing frame and the second fixing frame are connected with a cleaning structure.
优选的,所述清洗结构主要包括:第一水泵、一对结构相同的支架、一对结构相同的第一抽水管以及一对结构相同的高压喷头;Preferably, the cleaning structure mainly includes: a first water pump, a pair of brackets with the same structure, a pair of first water pipes with the same structure, and a pair of high-pressure spray heads with the same structure;
所述第一水泵安装于蓄水池底部,一对所述支架固定于固定架上,所述第一水泵连接于一对所述第一抽水管,一对所述高压喷头连接于第一水泵。The first water pump is installed at the bottom of the reservoir, a pair of the brackets are fixed on the fixing frame, the first water pump is connected to a pair of the first water suction pipes, and the pair of the high-pressure spray heads is connected to the first water pump .
优选的,所述加水机构主要包括:第二抽水管、第一电磁阀、第二水泵、电机、第二电磁阀以及保护结构;Preferably, the water adding mechanism mainly includes: a second water pumping pipe, a first solenoid valve, a second water pump, a motor, a second solenoid valve and a protection structure;
所述第二抽水管一端插装于蓄水箱内部,所述第一电磁阀连接于第二抽水管,所述第二水泵出水口连接于第一电磁阀,所述电机连接于第二水泵,所述第二电磁阀连接于第二水泵进水口,所述保护结构安装于电机上。One end of the second water pumping pipe is inserted into the water storage tank, the first solenoid valve is connected to the second water pumping pipe, the water outlet of the second water pump is connected to the first solenoid valve, and the motor is connected to the second water pump , the second solenoid valve is connected to the water inlet of the second water pump, and the protection structure is installed on the motor.
优选的,所述保护结构主要包括:保护箱、活动盖板、把手以及漏电断路器;Preferably, the protection structure mainly includes: a protection box, a movable cover, a handle and an earth leakage circuit breaker;
所述保护箱安装于电机外部,所述活动盖板通过安装部安装于保护箱开口处,所述把手安装于活动盖板上,所述漏电断路器连接于电机。The protection box is installed outside the motor, the movable cover plate is installed at the opening of the protection box through the installation part, the handle is installed on the movable cover plate, and the leakage circuit breaker is connected to the motor.
优选的,所述第二抽水管一端设有过滤器。Preferably, a filter is provided at one end of the second water suction pipe.
优选的,所述安装部主要包括:四个结构相同的安装螺栓以及四个结构相同的垫片;Preferably, the mounting portion mainly includes: four mounting bolts with the same structure and four gaskets with the same structure;
四个所述安装螺栓两两对称插装于保护箱以及活动盖板上,四个所述垫片套装于四个所述安装螺栓上。The four mounting bolts are symmetrically inserted into the protective box and the movable cover plate, and the four gaskets are sleeved on the four mounting bolts.
优选的,所述保护箱内设有一对结构相同的吸潮袋。Preferably, a pair of moisture absorbing bags with the same structure are arranged in the protective box.
优选的,所述第一水位管与第一液位传感器之以及第二水位管与第二液位传感器之间均设有一对结构相同的稳固架,一对所述稳固架上下相对安装。Preferably, between the first water level pipe and the first liquid level sensor and between the second water level pipe and the second liquid level sensor, a pair of stable frames with the same structure are provided, and a pair of the stable frames are installed up and down opposite to each other.
优选的,所述蓄水箱下端设有排污口,所述排污口一端为斜面结构。Preferably, the lower end of the water storage tank is provided with a sewage outlet, and one end of the sewage outlet is an inclined surface structure.
优选的,所述第一液位传感器与第二液位传感器上连接有控制器。Preferably, a controller is connected to the first liquid level sensor and the second liquid level sensor.
利用本发明的技术方案制作的一种蓄水池水位控制系统,采用上下两个液位传感器,更加精准的对水位进行检测,避免液面过低而影响工作进度,也避免液面过高溢出蓄水池,造成水资源浪费现象,液位检测机构具有自清洁功能,防止液位检测不准确,延长了液位传感器的使用寿命,设有电机保护结构,防止电路短路,避免危险情况发生,有效的解决了背景技术中所提及的:现有的蓄水池液位检测仅为单独一个液位传感器进行检测,液位传感器进行上下运动,易增加液位传感器发生故障的概率,检测不准确,并且缩短了液位传感器的使用寿命,有些不具有电路保护功能,易发生电路短路,安全性差。A reservoir water level control system made by using the technical solution of the present invention adopts two liquid level sensors on the upper and lower sides to detect the water level more accurately, so as to prevent the liquid level from being too low to affect the work progress, and to avoid the overflow of the liquid level due to the high liquid level. The water storage tank causes waste of water resources. The liquid level detection mechanism has a self-cleaning function to prevent inaccurate liquid level detection and prolong the service life of the liquid level sensor. It is equipped with a motor protection structure to prevent short circuits and avoid dangerous situations. It effectively solves the problem mentioned in the background art: the existing reservoir liquid level detection is only carried out by a single liquid level sensor, and the liquid level sensor moves up and down, which is easy to increase the probability of the liquid level sensor failure, and the detection is not effective. It is accurate and shortens the service life of the liquid level sensor. Some of them do not have circuit protection function, which is prone to short circuit and poor safety.
附图说明Description of drawings
图1是本发明所述蓄水池水位控制系统的结构示意图;Fig. 1 is the structural representation of the reservoir water level control system of the present invention;
图2是本发明所述蓄水池水位控制系统的俯视剖视结构示意图;Fig. 2 is the top sectional structure schematic diagram of the reservoir water level control system of the present invention;
图3是本发明所述蓄水池水位控制系统的右视剖视结构示意图;Fig. 3 is the right side sectional structure schematic diagram of the reservoir water level control system of the present invention;
图4是本发明图1所述蓄水池水位控制系统的局部放大结构示意图;Fig. 4 is a partial enlarged structural schematic diagram of the water level control system of the reservoir shown in Fig. 1 of the present invention;
图5是本发明图1所述蓄水池水位控制系统的局部放大结构示意图;Fig. 5 is a partial enlarged structural schematic diagram of the water level control system of the reservoir shown in Fig. 1 of the present invention;
图6是本发明图2所述蓄水池水位控制系统的局部放大结构示意图;Fig. 6 is a partial enlarged structural schematic diagram of the water level control system of the reservoir shown in Fig. 2 of the present invention;
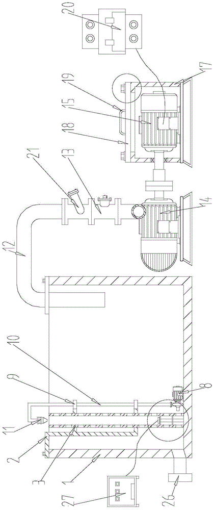
图中,1、蓄水箱;2、第一固定架;3、第一水位管;4、第一液位传感器;5、第二固定架;6、第二水位管;7、第二液位传感器;8、第一水泵;9、支架;10、第一抽水管;11、高压喷头;12、第二抽水管;13、第一电磁阀;14、第二水泵;15、电机;16、第二电磁阀;17、保护箱;18、活动盖板;19、把手;20、漏电断路器;21、过滤器;22、安装螺栓;23、垫片;24、吸潮袋;25、稳固架;26、排污口;27、控制器。In the figure, 1, the water storage tank; 2, the first fixing frame; 3, the first water level pipe; 4, the first liquid level sensor; 5, the second fixing frame; 6, the second water level pipe; 7, the second liquid level Position sensor; 8, the first water pump; 9, the bracket; 10, the first water pump; 11, the high pressure nozzle; 12, the second water pump; 13, the first solenoid valve; 14, the second water pump; 15, the motor; 16 , the second solenoid valve; 17, the protection box; 18, the movable cover plate; 19, the handle; 20, the leakage circuit breaker; 21, the filter; 22, the mounting bolt; 23, the gasket; 24, the moisture absorption bag; 25, Stable frame; 26, sewage outlet; 27, controller.
具体实施方式Detailed ways
下面结合附图对本发明进行具体描述,如图1-6所示,一种蓄水池水位控制系统,包括蓄水箱1,蓄水箱1内设有液位检测机构,蓄水箱1上连接有加水机构;液位检测机构主要包括:第一固定架2、第一水位管3、第一液位传感器4、第二固定架5、第二水位管6以及第二液位传感器7;第一固定架2固定于蓄水箱1上壁面,第一水位管3插装于第一固定架2上,第一液位传感器4安装于第一水位管3内部,且位于第一水位管3下端,第二固定架5固定于蓄水箱1上壁面,第二水位管6插装于第二固定架5上,第二液位传感器7安装于第二水位管6内部,且位于第二水位管6上端,第一水位管3以及第二水位管6上均开设有若干个结构相同的通孔,第一固定架2以及第二固定架5上均连接有清洗结构;清洗结构主要包括:第一水泵8、一对结构相同的支架9、一对结构相同的第一抽水管10以及一对结构相同的高压喷头11;第一水泵8安装于蓄水池底部,一对支架9固定于固定架上,第一水泵8连接于一对第一抽水管10,一对高压喷头11连接于第一水泵8;加水机构主要包括:第二抽水管12、第一电磁阀13、第二水泵14、电机15、第二电磁阀16以及保护结构;第二抽水管12一端插装于蓄水箱1内部,第一电磁阀13连接于第二抽水管12,第二水泵14出水口连接于第一电磁阀13,电机15连接于第二水泵14,第二电磁阀16连接于第二水泵14进水口,保护结构安装于电机15上;保护结构主要包括:保护箱17、活动盖板18、把手19以及漏电断路器20;保护箱17安装于电机15外部,活动盖板18通过安装部安装于保护箱17开口处,把手19安装于活动盖板18上,漏电断路器20连接于电机15;第二抽水管12一端设有过滤器21;安装部主要包括:四个结构相同的安装螺栓22以及四个结构相同的垫片23;四个安装螺栓22两两对称插装于保护箱17以及活动盖板18上,四个垫片23套装于四个安装螺栓22上;保护箱17内设有一对结构相同的吸潮袋24;第一水位管3与第一液位传感器4之以及第二水位管6与第二液位传感器7之间均设有一对结构相同的稳固架25,一对稳固架25上下相对安装;蓄水箱1下端设有排污口26,排污口26一端为斜面结构;第一液位传感器4与第二液位传感器7上连接有控制器27。The present invention will be described in detail below with reference to the accompanying drawings. As shown in Figures 1-6, a water level control system for a water storage tank includes a water storage tank 1. The water storage tank 1 is provided with a liquid level detection mechanism. A water adding mechanism is connected; the liquid level detection mechanism mainly includes: a first fixed frame 2, a first
实施例:Example:
一种蓄水池水位控制系统,包括蓄水箱1,蓄水箱1内设有液位检测机构,蓄水箱1上连接有加水机构;A water level control system for a water storage tank, comprising a water storage tank 1, a liquid level detection mechanism is arranged in the water storage tank 1, and a water adding mechanism is connected to the water storage tank 1;
其中需要说明的是:蓄水箱1主要是对液位检测机构以及加水机构进行安装;It should be noted that: the water storage tank 1 mainly installs the liquid level detection mechanism and the water adding mechanism;
液位检测机构主要包括:第一固定架2、第一水位管3、第一液位传感器4、第二固定架5、第二水位管6以及第二液位传感器7;The liquid level detection mechanism mainly includes: a first fixed frame 2 , a first
第一固定架2固定于蓄水箱1上壁面,第一水位管3插装于第一固定架2上,第一液位传感器4安装于第一水位管3内部,且位于第一水位管3下端,第二固定架5固定于蓄水箱1上壁面,第二水位管6插装于第二固定架5上,第二液位传感器7安装于第二水位管6内部,且位于第二水位管6上端,第一水位管3以及第二水位管6上均开设有若干个结构相同的通孔,第一固定架2以及第二固定架5上均连接有清洗结构。The first fixing frame 2 is fixed on the upper wall of the water storage tank 1, the first
其中需要说明的是:第一固定架2用于固定第一水位管3,第一水位管3内安装有第一液位传感器4,第二固定架5用于固定第二水位管6,第二水位管6内安装有第二液位传感器7,作为优选的,更进一步的,第一液位传感器4与第二液位传感器7上连接有控制器27,第一液位传感器4用于检测蓄水箱1内水位的最低液面,当第一液位传感器4检测到液面到达最低点时,第一液位传感器4将信号传递给控制器27,控制器27控制加水机构工作,进行加水,第二液位传感器7用于检测蓄水箱1内水位的最高液面,当第二液位传感器7检测到液面到达最高点时,第二液位传感器7将信号传递给控制器27,控制器27控制加水机构停止向蓄水箱1内加水,壁面水满溢出。清洗结构定期对第一水位管3以及第二水位管6进行清洁。It should be noted that: the first fixing frame 2 is used for fixing the first
在具体实施过程中,清洗结构可优选采用以下结构,其主要包括:支架9、第一抽水管10、第一水泵8以及高压喷头11;第一水泵8安装于蓄水池底部,一对支架9固定于固定架上,第一水泵8连接于一对第一抽水管10,一对高压喷头11连接于第一水泵8。In the specific implementation process, the cleaning structure may preferably adopt the following structure, which mainly includes: a bracket 9, a first
其中需要说明的是:操作人员控制第一水泵8工作,蓄水箱1内的水进入第一抽水管10从高压喷头11内喷出,在压力的作用下将第一水位管3以及第二水位管6上的通孔内的污垢进行清除,避免第一液位传感器4以及第二液位传感器7检测不准确,作为优选的,更进一步的,蓄水箱1下端设有排污口26,排污口26一端为斜面结构,清洗结构冲出的污垢在重力作用下沉入蓄水箱1底部,从排污口26排出。It should be noted that: the operator controls the
在具体实施过程中,加水机构可优选采用以下结构,其主要包括:第二抽水管12、第一电磁阀13、第二水泵14、电机15、第二电磁阀16以及保护结构;第二抽水管12一端插装于蓄水箱1内部,第一电磁阀13连接于第二抽水管12,第二水泵14出水口连接于第一电磁阀13,电机15连接于第二水泵14,第二电磁阀16连接于第二水泵14进水口,保护结构安装于电机15上。In the specific implementation process, the water adding mechanism can preferably adopt the following structure, which mainly includes: the second
其中需要说明的是:当控制器27接收到第一液位传感器4传来的信号时,控制器27控制电机15工作,与此同时,第一电磁阀13以及第二电磁阀16打开,第二电磁阀16连接水源,电机15工作带动第二水泵14工作,水泵将水泵入蓄水箱1内,保护结构用于保护电机15,当电机15发生故障时,保护结构使电机15停止工作,与此同时,第一电磁阀13与第二电磁阀16关闭,防止回流,作为优选的,更进一步的,第二抽水管12一端设有过滤器21,用于过滤水中杂质。It should be noted that: when the controller 27 receives the signal from the first liquid level sensor 4, the controller 27 controls the motor 15 to work, and at the same time, the
在具体实施过程中,保护结构可优选采用以下结构,其主要包括:In the specific implementation process, the protection structure can preferably adopt the following structure, which mainly includes:
其中需要说明的是:保护箱17用于保护电机15,防止电机15被水浸泡,活动盖板18与保护箱17通过安装部连接,可拆卸,在在具体实施过程中,安装部可优选采用以下结构,其主要包括:四个结构相同的安装螺栓22以及四个结构相同的垫片23;四个安装螺栓22两两对称插装于保护箱17以及活动盖板18上,四个垫片23套装于四个安装螺栓22上,把手19用于拆卸活动盖板18时方便提拉,漏电断路器20为现有技术,不再详细说明,当电路短路过载时,漏电断路器20将电路断路,电机15停止工作,防止电机15烧坏,作为优选的,更进一步的,保护箱17内设有一对结构相同的吸潮袋24,用于吸收保护箱17内的水分,防止电机15发生短路。It should be noted that: the protection box 17 is used to protect the motor 15 and prevent the motor 15 from being soaked in water, and the movable cover plate 18 and the protection box 17 are connected through the installation part and are detachable. In the specific implementation process, the installation part can preferably use The following structure mainly includes: four mounting bolts 22 with the same structure and four gaskets 23 with the same structure; the four mounting bolts 22 are symmetrically inserted into the protection box 17 and the movable cover 18, and the four gaskets 23 is set on the four mounting bolts 22, and the handle 19 is used for easy lifting when disassembling the movable cover 18. The
在具体实施过程中,保护结构可优选采用以下结构,其主要包括:保护箱17、活动盖板18、把手19以及漏电断路器20;保护箱17安装于电机15外部,活动盖板18通过安装部安装于保护箱17开口处,把手19安装于活动盖板18上,漏电断路器20连接于电机15。In the specific implementation process, the protection structure may preferably adopt the following structure, which mainly includes: a protection box 17, a movable cover 18, a handle 19 and an earth
其中需要说明的是:保护箱17用于保护电机15,防止电机15被水浸泡,活动盖板18与保护箱17通过安装部连接,可拆卸,在在具体实施过程中,安装部可优选采用以下结构,其主要包括:四个结构相同的安装螺栓22以及四个结构相同的垫片23;四个安装螺栓22两两对称插装于保护箱17以及活动盖板18上,四个垫片23套装于四个安装螺栓22上,把手19用于拆卸活动盖板18时方便提拉,漏电断路器20为现有技术,不再详细说明,当电路短路过载时,漏电断路器20将电路断路,电机15停止工作,防止电机15烧坏,作为优选的,更进一步的,保护箱17内设有一对结构相同的吸潮袋24,用于吸收保护箱17内的水分,防止电机15发生短路。It should be noted that: the protection box 17 is used to protect the motor 15 and prevent the motor 15 from being soaked in water, and the movable cover plate 18 and the protection box 17 are connected through the installation part and are detachable. In the specific implementation process, the installation part can preferably use The following structure mainly includes: four mounting bolts 22 with the same structure and four gaskets 23 with the same structure; the four mounting bolts 22 are symmetrically inserted into the protection box 17 and the movable cover 18, and the four gaskets 23 is set on the four mounting bolts 22, and the handle 19 is used for easy lifting when disassembling the movable cover 18. The
上述技术方案仅体现了本发明技术方案的优选技术方案,本技术领域的技术人员对其中某些部分所可能做出的一些变动均体现了本发明的原理,属于本发明的保护范围之内。The above technical solutions only represent the preferred technical solutions of the technical solutions of the present invention, and some changes that those skilled in the art may make to some parts of them all reflect the principles of the present invention and fall within the protection scope of the present invention.
Claims (10)
Priority Applications (1)
| Application Number | Priority Date | Filing Date | Title |
|---|---|---|---|
| CN201910925863.2A CN110658859A (en) | 2019-09-27 | 2019-09-27 | Reservoir water level control system |
Applications Claiming Priority (1)
| Application Number | Priority Date | Filing Date | Title |
|---|---|---|---|
| CN201910925863.2A CN110658859A (en) | 2019-09-27 | 2019-09-27 | Reservoir water level control system |
Publications (1)
| Publication Number | Publication Date |
|---|---|
| CN110658859A true CN110658859A (en) | 2020-01-07 |
Family
ID=69039656
Family Applications (1)
| Application Number | Title | Priority Date | Filing Date |
|---|---|---|---|
| CN201910925863.2A Pending CN110658859A (en) | 2019-09-27 | 2019-09-27 | Reservoir water level control system |
Country Status (1)
| Country | Link |
|---|---|
| CN (1) | CN110658859A (en) |
Cited By (1)
| Publication number | Priority date | Publication date | Assignee | Title |
|---|---|---|---|---|
| CN112587270A (en) * | 2020-12-14 | 2021-04-02 | 西安交通大学口腔医院 | Special collecting and sterilizing equipment for disposable oral treatment instrument |
Citations (12)
| Publication number | Priority date | Publication date | Assignee | Title |
|---|---|---|---|---|
| US5103801A (en) * | 1990-03-08 | 1992-04-14 | Keating Of Chicago, Inc. | Automatic cooking vessel |
| CN2745039Y (en) * | 2004-07-06 | 2005-12-07 | 孙丰忠 | Water-level sensor capable of clearing water scale automatically |
| CN1993586A (en) * | 2004-08-03 | 2007-07-04 | 夏普株式会社 | Steam cocker |
| JP2011012860A (en) * | 2009-06-30 | 2011-01-20 | Sanyo Electric Co Ltd | Humidifier |
| CN202913460U (en) * | 2012-10-16 | 2013-05-01 | 李英杰 | Closed self-cleaning filtering pressure-bearing water storage tank |
| CN203668134U (en) * | 2013-10-17 | 2014-06-25 | 来安县新元机电设备设计有限公司 | Domestic water treatment equipment |
| CN203701246U (en) * | 2013-12-09 | 2014-07-09 | 苏州市甘泉自动化环保设备厂 | Closed drainage system for electroplating wastewater |
| CN104180545A (en) * | 2014-08-12 | 2014-12-03 | 杭州电子科技大学 | Water tank and solar water heater combined water level control device |
| CN205231899U (en) * | 2015-12-24 | 2016-05-11 | 德科电机(天津)有限公司 | A waterproof high security servo motor for massage bathtub |
| CN206469481U (en) * | 2017-01-19 | 2017-09-05 | 江门市经宇五金电器设备有限公司 | A kind of anti-dry electromagnetic boiler |
| CN206941708U (en) * | 2017-07-15 | 2018-01-30 | 周春春 | A kind of fluid level control device for pumping plant cistern |
| CN208346917U (en) * | 2018-03-14 | 2019-01-08 | 刘丽娜 | A kind of automatically cleaning water tank |
-
2019
- 2019-09-27 CN CN201910925863.2A patent/CN110658859A/en active Pending
Patent Citations (12)
| Publication number | Priority date | Publication date | Assignee | Title |
|---|---|---|---|---|
| US5103801A (en) * | 1990-03-08 | 1992-04-14 | Keating Of Chicago, Inc. | Automatic cooking vessel |
| CN2745039Y (en) * | 2004-07-06 | 2005-12-07 | 孙丰忠 | Water-level sensor capable of clearing water scale automatically |
| CN1993586A (en) * | 2004-08-03 | 2007-07-04 | 夏普株式会社 | Steam cocker |
| JP2011012860A (en) * | 2009-06-30 | 2011-01-20 | Sanyo Electric Co Ltd | Humidifier |
| CN202913460U (en) * | 2012-10-16 | 2013-05-01 | 李英杰 | Closed self-cleaning filtering pressure-bearing water storage tank |
| CN203668134U (en) * | 2013-10-17 | 2014-06-25 | 来安县新元机电设备设计有限公司 | Domestic water treatment equipment |
| CN203701246U (en) * | 2013-12-09 | 2014-07-09 | 苏州市甘泉自动化环保设备厂 | Closed drainage system for electroplating wastewater |
| CN104180545A (en) * | 2014-08-12 | 2014-12-03 | 杭州电子科技大学 | Water tank and solar water heater combined water level control device |
| CN205231899U (en) * | 2015-12-24 | 2016-05-11 | 德科电机(天津)有限公司 | A waterproof high security servo motor for massage bathtub |
| CN206469481U (en) * | 2017-01-19 | 2017-09-05 | 江门市经宇五金电器设备有限公司 | A kind of anti-dry electromagnetic boiler |
| CN206941708U (en) * | 2017-07-15 | 2018-01-30 | 周春春 | A kind of fluid level control device for pumping plant cistern |
| CN208346917U (en) * | 2018-03-14 | 2019-01-08 | 刘丽娜 | A kind of automatically cleaning water tank |
Cited By (1)
| Publication number | Priority date | Publication date | Assignee | Title |
|---|---|---|---|---|
| CN112587270A (en) * | 2020-12-14 | 2021-04-02 | 西安交通大学口腔医院 | Special collecting and sterilizing equipment for disposable oral treatment instrument |
Similar Documents
| Publication | Publication Date | Title |
|---|---|---|
| CN202336462U (en) | Oilfield settlement tank rotary jet automatic mud discharge device | |
| CN206220235U (en) | A kind of integral intelligent pumping plant | |
| CN114411779A (en) | Self-drainage and drying integrated device for water accumulated on base of tower crane for construction site | |
| CN105442686B (en) | Integrated sewage water/rainwater-collecting and conveying device | |
| CN110658859A (en) | Reservoir water level control system | |
| CN210742753U (en) | Cistern water level control system | |
| CN111335451A (en) | Integrated pump station combined grid dredging device and using method thereof | |
| CN203834644U (en) | Sewage lifting equipment capable of being maintained quickly | |
| CN208786676U (en) | A fine sand recovery and dehydration integrated machine | |
| CN217055277U (en) | Automatic dredging device for coal mine sump | |
| CN216066722U (en) | Concrete block surface grinding device for concrete impermeability experiments | |
| CN114278371A (en) | Automatic dredging device for coal mine sump and use method | |
| CN210342164U (en) | Rain sewage pipeline detects handles integrative device | |
| JP6424142B2 (en) | Sediment cleaning device and operation method thereof | |
| CN203320598U (en) | River way sewage dredging device | |
| CN211513665U (en) | Filtering structure and drilling fluid filter equipment | |
| CN217840149U (en) | Building engineering construction channel desilting belt cleaning device | |
| CN219196064U (en) | An underground structure drainage water decompression anti-floating device | |
| CN220365623U (en) | A drainage device for water prevention and control in coal mine geology | |
| CN221234841U (en) | Outdoor weight shutoff protector in belt corridor | |
| CN206701488U (en) | Sand-stone separator and its blowdown apparatus | |
| CN218841856U (en) | Gravity automatic backwashing filter with better washing effect | |
| CN219663005U (en) | Sewage recovery device | |
| CN221938191U (en) | Building construction vehicle washing mechanism | |
| CN205061860U (en) | Slurry treatment system |
Legal Events
| Date | Code | Title | Description |
|---|---|---|---|
| PB01 | Publication | ||
| PB01 | Publication | ||
| SE01 | Entry into force of request for substantive examination | ||
| SE01 | Entry into force of request for substantive examination |
