CN110657542A - A fresh air purification device - Google Patents
A fresh air purification device Download PDFInfo
- Publication number
- CN110657542A CN110657542A CN201810715367.XA CN201810715367A CN110657542A CN 110657542 A CN110657542 A CN 110657542A CN 201810715367 A CN201810715367 A CN 201810715367A CN 110657542 A CN110657542 A CN 110657542A
- Authority
- CN
- China
- Prior art keywords
- fresh air
- filter
- cartridge
- purification device
- cartridge filter
- Prior art date
- Legal status (The legal status is an assumption and is not a legal conclusion. Google has not performed a legal analysis and makes no representation as to the accuracy of the status listed.)
- Withdrawn
Links
- 238000004887 air purification Methods 0.000 title claims abstract description 23
- 239000000428 dust Substances 0.000 claims abstract description 69
- 238000005202 decontamination Methods 0.000 claims abstract description 37
- 230000003588 decontaminative effect Effects 0.000 claims abstract description 37
- 238000001914 filtration Methods 0.000 claims abstract description 11
- 230000002093 peripheral effect Effects 0.000 claims abstract description 7
- 235000017166 Bambusa arundinacea Nutrition 0.000 claims 1
- 235000017491 Bambusa tulda Nutrition 0.000 claims 1
- 241001330002 Bambuseae Species 0.000 claims 1
- 235000015334 Phyllostachys viridis Nutrition 0.000 claims 1
- 239000011425 bamboo Substances 0.000 claims 1
- 230000001360 synchronised effect Effects 0.000 claims 1
- 230000000694 effects Effects 0.000 abstract description 7
- 238000005096 rolling process Methods 0.000 abstract description 5
- 238000000746 purification Methods 0.000 abstract description 4
- 239000010865 sewage Substances 0.000 description 17
- 238000010586 diagram Methods 0.000 description 5
- 239000002245 particle Substances 0.000 description 4
- 238000009434 installation Methods 0.000 description 3
- 238000000034 method Methods 0.000 description 3
- 239000012717 electrostatic precipitator Substances 0.000 description 2
- 230000007774 longterm Effects 0.000 description 2
- 240000007643 Phytolacca americana Species 0.000 description 1
- 230000009286 beneficial effect Effects 0.000 description 1
- 230000003203 everyday effect Effects 0.000 description 1
- 239000012535 impurity Substances 0.000 description 1
- 238000004519 manufacturing process Methods 0.000 description 1
Images
Classifications
-
- F—MECHANICAL ENGINEERING; LIGHTING; HEATING; WEAPONS; BLASTING
- F24—HEATING; RANGES; VENTILATING
- F24F—AIR-CONDITIONING; AIR-HUMIDIFICATION; VENTILATION; USE OF AIR CURRENTS FOR SCREENING
- F24F7/00—Ventilation
- F24F7/007—Ventilation with forced flow
-
- B—PERFORMING OPERATIONS; TRANSPORTING
- B01—PHYSICAL OR CHEMICAL PROCESSES OR APPARATUS IN GENERAL
- B01D—SEPARATION
- B01D46/00—Filters or filtering processes specially modified for separating dispersed particles from gases or vapours
- B01D46/24—Particle separators, e.g. dust precipitators, using rigid hollow filter bodies
- B01D46/2403—Particle separators, e.g. dust precipitators, using rigid hollow filter bodies characterised by the physical shape or structure of the filtering element
- B01D46/2411—Filter cartridges
-
- B—PERFORMING OPERATIONS; TRANSPORTING
- B01—PHYSICAL OR CHEMICAL PROCESSES OR APPARATUS IN GENERAL
- B01D—SEPARATION
- B01D46/00—Filters or filtering processes specially modified for separating dispersed particles from gases or vapours
- B01D46/24—Particle separators, e.g. dust precipitators, using rigid hollow filter bodies
- B01D46/26—Particle separators, e.g. dust precipitators, using rigid hollow filter bodies rotatable
-
- B—PERFORMING OPERATIONS; TRANSPORTING
- B01—PHYSICAL OR CHEMICAL PROCESSES OR APPARATUS IN GENERAL
- B01D—SEPARATION
- B01D46/00—Filters or filtering processes specially modified for separating dispersed particles from gases or vapours
- B01D46/66—Regeneration of the filtering material or filter elements inside the filter
- B01D46/68—Regeneration of the filtering material or filter elements inside the filter by means acting on the cake side involving movement with regard to the filter elements
-
- F—MECHANICAL ENGINEERING; LIGHTING; HEATING; WEAPONS; BLASTING
- F24—HEATING; RANGES; VENTILATING
- F24F—AIR-CONDITIONING; AIR-HUMIDIFICATION; VENTILATION; USE OF AIR CURRENTS FOR SCREENING
- F24F13/00—Details common to, or for air-conditioning, air-humidification, ventilation or use of air currents for screening
-
- F—MECHANICAL ENGINEERING; LIGHTING; HEATING; WEAPONS; BLASTING
- F24—HEATING; RANGES; VENTILATING
- F24F—AIR-CONDITIONING; AIR-HUMIDIFICATION; VENTILATION; USE OF AIR CURRENTS FOR SCREENING
- F24F13/00—Details common to, or for air-conditioning, air-humidification, ventilation or use of air currents for screening
- F24F13/28—Arrangement or mounting of filters
-
- F—MECHANICAL ENGINEERING; LIGHTING; HEATING; WEAPONS; BLASTING
- F24—HEATING; RANGES; VENTILATING
- F24F—AIR-CONDITIONING; AIR-HUMIDIFICATION; VENTILATION; USE OF AIR CURRENTS FOR SCREENING
- F24F8/00—Treatment, e.g. purification, of air supplied to human living or working spaces otherwise than by heating, cooling, humidifying or drying
- F24F8/10—Treatment, e.g. purification, of air supplied to human living or working spaces otherwise than by heating, cooling, humidifying or drying by separation, e.g. by filtering
-
- F—MECHANICAL ENGINEERING; LIGHTING; HEATING; WEAPONS; BLASTING
- F24—HEATING; RANGES; VENTILATING
- F24F—AIR-CONDITIONING; AIR-HUMIDIFICATION; VENTILATION; USE OF AIR CURRENTS FOR SCREENING
- F24F8/00—Treatment, e.g. purification, of air supplied to human living or working spaces otherwise than by heating, cooling, humidifying or drying
- F24F8/90—Cleaning of purification apparatus
Landscapes
- Engineering & Computer Science (AREA)
- Chemical & Material Sciences (AREA)
- Combustion & Propulsion (AREA)
- Mechanical Engineering (AREA)
- General Engineering & Computer Science (AREA)
- Chemical Kinetics & Catalysis (AREA)
- Physics & Mathematics (AREA)
- Geometry (AREA)
- Filtering Of Dispersed Particles In Gases (AREA)
Abstract
一种新风净化装置,包括机壳,机壳具有新风进口和新风出口,在机壳内部安装有风机、去污筒、过滤筒和集尘装置,去污筒和过滤筒轴向平行设置且外周滚动配合,去污筒能带动过滤筒同步转动,过滤筒的外周面为进风面,过滤筒的一端为封闭端,过滤筒的另一端为用来出风的开口端,该开口端的出风口与风机的进风口相连通,风机的出风口与新风出口相连通,过滤后附着在过滤筒上的灰尘被收集在集尘器内。该新风净化装置的过滤筒在去污筒的带动下转动,外部空气通过新风进口进入机壳内部,并由过滤筒净化过滤后从新风出口吹出,过滤后附着在过滤筒上的灰尘经去污筒去除后被收集在集尘器内,使得净化装置长久工作后也能保持滤网清洁,进而提高空气过滤效果。
A fresh air purification device, comprising a casing, the casing has a fresh air inlet and a fresh air outlet, a fan, a decontamination cylinder, a filter cylinder and a dust collection device are installed inside the casing, the decontamination cylinder and the filter cylinder are axially arranged in parallel with an outer periphery. Rolling fit, the decontamination cartridge can drive the filter cartridge to rotate synchronously, the outer peripheral surface of the filter cartridge is the air inlet surface, one end of the filter cartridge is the closed end, the other end of the filter cartridge is the open end for air outlet, and the air outlet of the open end It is connected with the air inlet of the fan, and the air outlet of the fan is connected with the fresh air outlet. After filtering, the dust attached to the filter cartridge is collected in the dust collector. The filter cartridge of the fresh air purification device rotates under the drive of the decontamination cartridge, and the external air enters the inside of the casing through the fresh air inlet, and is purified and filtered by the filter cartridge and blown out from the fresh air outlet. After filtering, the dust attached to the filter cartridge is decontaminated After the cartridge is removed, it is collected in the dust collector, so that the filter can be kept clean even after the purification device has been working for a long time, thereby improving the air filtration effect.
Description
技术领域technical field
本发明涉及一种新风净化装置。The invention relates to a fresh air purification device.
背景技术Background technique
随着社会的现代化程度越来越高,人们的生产和生活方式也随之发生了很大变化,人们在室内工作、生活以及活动的时间越来越长,工作和文娱体育等活动都可以在室内进行,据统计,人们每天平均大约有80%以上的时间在室内度过,因此,室内空气质量对人体健康有着至关重要的影响。With the increasing degree of modernization of society, people's production and lifestyle have also undergone great changes. People work, live and play indoors for longer and longer, and work, entertainment, sports and other activities can be According to statistics, people spend more than 80% of their time indoors on average every day. Therefore, indoor air quality has a vital impact on human health.
目前,市场上有用于更换新风的新风换气机,新风换气机工作时,室外空气从室外进气口进入换气机中,然后,依次通过初效滤网、中效滤网、静电除尘箱将外界空气中的杂质清除,与此同时,室内的空气从室内空气进气口进入换气机,通过热交换器将室内空气的热量交换到从室外进来的新的空气中,之后,新的空气经过进一步处理后进入室内,室内旧的空气排出室外。虽然,上述新风换气机能有效净化室内空气,但是,换气机长久使用后,过滤后的粉尘颗粒容易粘合在初效滤网、中效滤网和静电除尘箱上,使其堵塞,进而导致空气过滤效果不好。At present, there are fresh air ventilators on the market for replacing fresh air. When the fresh air ventilator is working, the outdoor air enters the ventilator from the outdoor air inlet, and then passes through the primary filter, the intermediate filter, and the electrostatic precipitator. The box removes impurities in the outside air, and at the same time, the indoor air enters the ventilator from the indoor air inlet, and the heat of the indoor air is exchanged to the new air coming in from the outside through the heat exchanger. The air is further processed into the room, and the old indoor air is exhausted outside. Although the above-mentioned fresh air ventilator can effectively purify the indoor air, after the ventilator has been used for a long time, the filtered dust particles are easy to adhere to the primary filter screen, the medium effect filter screen and the electrostatic precipitator box, causing it to be blocked, and then The air filtration effect is not good.
发明内容SUMMARY OF THE INVENTION
本发明所要解决的技术问题是针对上述现有技术现状,提供一种结构简单、空气过滤效果好的新风净化装置。The technical problem to be solved by the present invention is to provide a fresh air purifying device with a simple structure and good air filtration effect, aiming at the current state of the prior art.
本发明解决上述技术问题所采用的技术方案为:该新风净化装置,包括机壳,所述机壳具有新风进口和新风出口,其特征在于:在所述机壳内部安装有风机、去污筒、过滤筒和集尘装置,所述去污筒和过滤筒轴向平行设置且外周滚动配合,去污筒能带动过滤筒同步转动,过滤筒的外周面为进风面,过滤筒的一端为封闭端,过滤筒的另一端为用来出风的开口端,该开口端的出风口与风机的进风口相连通,所述风机的出风口与所述新风出口相连通,过滤后附着在过滤筒上的灰尘被收集在所述的集尘器内。The technical solution adopted by the present invention to solve the above technical problems is as follows: the fresh air purification device includes a casing, and the casing has a fresh air inlet and a fresh air outlet, and is characterized in that a fan and a decontamination cylinder are installed inside the casing. , filter cartridge and dust collection device, the decontamination cartridge and the filter cartridge are axially arranged in parallel and the outer periphery is rolling and matched, the decontamination cartridge can drive the filter cartridge to rotate synchronously, the outer peripheral surface of the filter cartridge is the air inlet surface, and one end of the filter cartridge is Closed end, the other end of the filter cartridge is an open end for air outlet, the air outlet of the open end is communicated with the air inlet of the fan, the air outlet of the fan is communicated with the fresh air outlet, and is attached to the filter cartridge after filtering. The dust is collected in the dust collector.
为了使机壳内的新风流动更为顺畅,所述过滤筒的出风口朝向风机的进风口,所述风机的出风口朝下所述新风出口。In order to make the fresh air flow more smoothly in the casing, the air outlet of the filter cartridge faces the air inlet of the fan, and the air outlet of the fan faces down to the fresh air outlet.
去污筒和过滤筒可以有多种滚动配合结构,优选地,所述去污筒的外周具有刚性的针状结构,过滤筒的外周面上开有过滤孔,针状结构的针杆插入对应的过滤孔内以带动过滤筒同步转动。这样,针状结构不仅可以带动过滤筒转动,还能够戳掉附着在过滤筒上的灰尘。The decontamination cartridge and the filter cartridge can have various rolling fitting structures. Preferably, the outer periphery of the decontamination cartridge has a rigid needle-like structure, and the outer peripheral surface of the filter cartridge is provided with a filter hole, and the needle rod of the needle-like structure is inserted into the corresponding structure. inside the filter hole to drive the filter cartridge to rotate synchronously. In this way, the needle-like structure can not only drive the filter cartridge to rotate, but also poke off the dust adhering to the filter cartridge.
为了获得更好的去污效果,所述针状结构的针杆与所述过滤孔一一对应。In order to obtain a better decontamination effect, the needle bars of the needle-like structure correspond one-to-one with the filter holes.
优选地,在所述机壳的内部安装有第一固定架和第二固定架,所述去污筒和过滤筒设于第一固定架与第二固定架之间,去污筒位于过滤筒的上方,在所述第一支架上安装有用来驱动去污筒转动的驱动电机。Preferably, a first fixing frame and a second fixing frame are installed inside the casing, the decontamination cartridge and the filter cartridge are arranged between the first fixing frame and the second fixing frame, and the decontamination cartridge is located in the filter cartridge Above the first bracket, a drive motor for driving the rotation of the decontamination cylinder is installed.
作为集尘装置的一种优选方案,所述集尘装置包括集尘盒和排污管,所述集尘盒安装在所述过滤筒的内部,所述集尘盒沿着过滤筒的轴向设置并位于去污筒与过滤筒的接触部的下方,在所述机壳上开有吸尘器连接口,所述排污管的上端与集尘盒的出口相衔接,排污管的下端与所述吸尘器连接口相连通。As a preferred solution of the dust collecting device, the dust collecting device includes a dust collecting box and a sewage pipe, the dust collecting box is installed inside the filter cartridge, and the dust collecting box is arranged along the axial direction of the filter cartridge And it is located below the contact part between the decontamination cylinder and the filter cylinder, a vacuum cleaner connection port is opened on the casing, the upper end of the sewage discharge pipe is connected with the outlet of the dust collecting box, and the lower end of the sewage discharge pipe is connected with the vacuum cleaner. mouth connected.
作为集尘装置的另一优选方案,所述的集尘装置包括集尘盒、旋转螺杆、排污管和集污盒,所述集尘盒安装在所述过滤筒的内部,所述集尘盒沿着过滤筒的轴向设置并位于去污筒与过滤筒的接触部的下方,所述旋转螺杆具有螺旋型的螺纹,旋转螺杆安装在所述集尘盒的内部并在电机的驱动下转动,所述集污盒位于过滤筒的下方,所述排污管的上端与集尘盒的出口相衔接,排污管的下端与所述集污盒相衔接。As another preferred solution of the dust collecting device, the dust collecting device includes a dust collecting box, a rotating screw, a sewage pipe and a dust collecting box, the dust collecting box is installed inside the filter cartridge, and the dust collecting box is It is arranged along the axial direction of the filter cartridge and is located below the contact part between the decontamination cartridge and the filter cartridge, the rotating screw has a helical thread, and the rotating screw is installed inside the dust box and is driven by the motor to rotate The sewage collection box is located below the filter cartridge, the upper end of the sewage discharge pipe is connected with the outlet of the dust collection box, and the lower end of the sewage discharge pipe is connected with the sewage collection box.
为了使从新风进口进入的室外空气能顺利进入过滤筒内,所述新风进口的进风方向与所述过滤筒的轴向方向相一致。In order to enable the outdoor air entering from the fresh air inlet to smoothly enter the filter cartridge, the air inlet direction of the fresh air inlet is consistent with the axial direction of the filter cartridge.
为了使过滤筒能够均匀进风,所述新风进口对准所述过滤筒封闭端的端面的中央位置。In order to enable the filter cartridge to enter the air uniformly, the fresh air inlet is aligned with the central position of the end face of the closed end of the filter cartridge.
作为上述任一方案的优选,所述的风机为离心风机。As a preference of any of the above solutions, the fan is a centrifugal fan.
与现有技术相比,本发明的优点在于:该新风净化装置位于机壳内部的过滤筒在去污筒的带动下转动,外部空气通过新风进口进入机壳内部,并由过滤筒净化过滤后从新风出口吹出,过滤后附着在过滤筒上的灰尘经去污筒去除后被收集在集尘器内,使得净化装置长久工作后也能始终保持滤网清洁,进而提高空气过滤效果,同时也利于延长滚筒式滤网的使用寿命。Compared with the prior art, the advantages of the present invention are: the filter cartridge of the fresh air purification device located inside the casing is rotated under the driving of the decontamination cylinder, and the external air enters the interior of the casing through the fresh air inlet, and is purified and filtered by the filter cartridge. It is blown out from the fresh air outlet, and the dust attached to the filter cartridge after filtering is removed by the decontamination cartridge and collected in the dust collector, so that the purification device can always keep the filter screen clean after long-term operation, thereby improving the air filtration effect. It is beneficial to prolong the service life of the drum filter.
附图说明Description of drawings
图1为本发明实施例一的结构示意图;1 is a schematic structural diagram of Embodiment 1 of the present invention;
图2为本发明实施例一的去污筒和过滤筒的安装结构示意图;2 is a schematic diagram of the installation structure of the decontamination cartridge and the filter cartridge according to Embodiment 1 of the present invention;
图3为本发明实施例一的安装结构示意图;3 is a schematic diagram of the installation structure of Embodiment 1 of the present invention;
图4为本发明实施例二的结构示意图;4 is a schematic structural diagram of
图5为本发明实施例二的集尘盒和旋转螺杆的结构示意图。FIG. 5 is a schematic structural diagram of the dust collecting box and the rotating screw according to the second embodiment of the present invention.
具体实施方式Detailed ways
以下结合附图实施例对本发明作进一步详细描述。The present invention will be further described in detail below with reference to the embodiments of the accompanying drawings.
实施例一:Example 1:
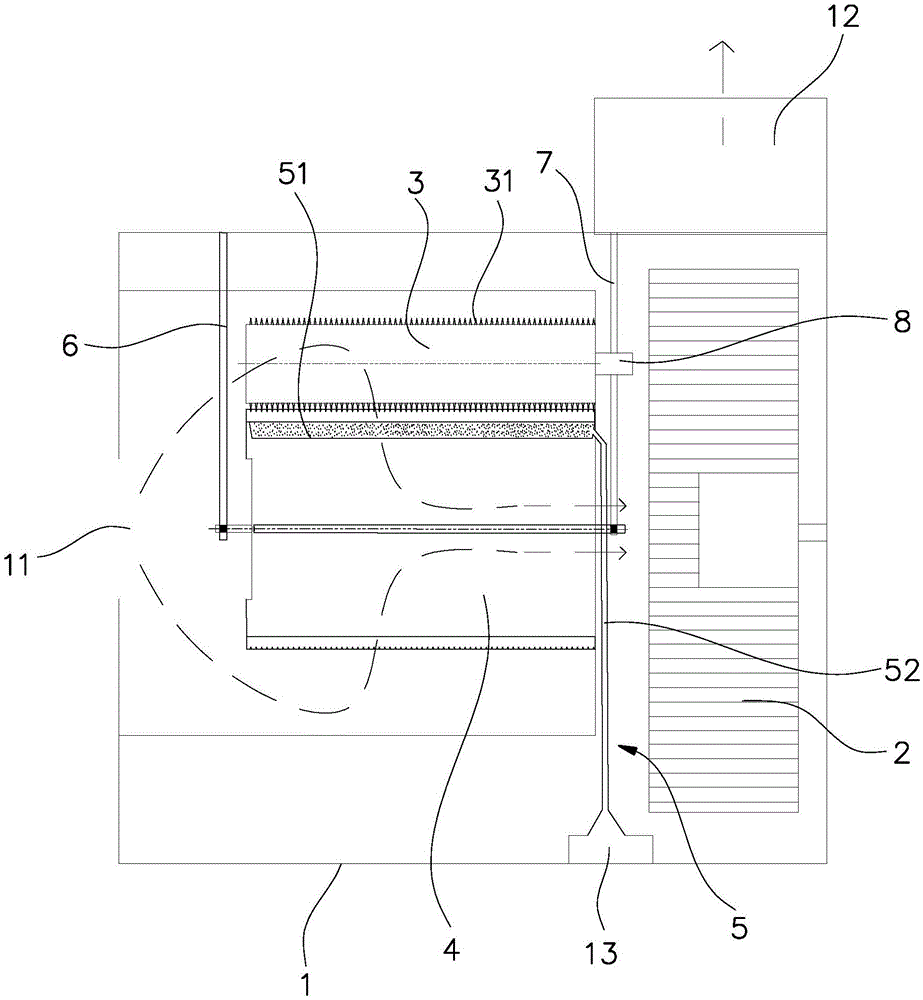
如图1和图2所示,本实施例中的新风净化装置包括机壳1,机壳1具有新风进口11和新风出口12,机壳1内部安装有风机2、去污筒3、过滤筒4、集尘装置5、第一固定架6和第二固定架7。其中,风机2采用离心风机,去污筒3和过滤筒4设于第一固定架6与第二固定架7之间,在第一支架6上安装有用来驱动去污筒3转动的驱动电机8。去污筒3位于过滤筒4的上方且去污筒3和过滤筒4轴向平行设置,去污筒3和过滤筒4外周滚动配合,去污筒3转动时带动过滤筒4同步转动。本实施例中,去污筒3的外周具有刚性的针状结构,过滤筒4的外周面上开有过滤孔41,针状结构的针杆31与过滤孔41一一对应,针杆31插入对应的过滤孔41内以带动过滤筒4同步转动。As shown in FIG. 1 and FIG. 2 , the fresh air purification device in this embodiment includes a casing 1, the casing 1 has a
过滤筒4的外周面为进风面,过滤筒4的一端为封闭端,该封闭端靠近新风进口11,新风进口11的进风方向与过滤筒4的轴向方向相一致,为了使过滤筒4的进风面能够均匀进风,新风进口11对准过滤筒4封闭端的端面的中央位置。过滤筒4的另一端为用来出风的开口端,该开口端的出风口与风机2的进风口相连通,且滤筒4的出风口朝向风机2的进风口。风机2的出风口与新风出口12相连通,且风机2的出风口朝下所述新风出口12。The outer peripheral surface of the
集尘器5用来收集过滤后附着在过滤器4上的灰尘。本实施例中的集尘装置5包括集尘盒51和排污管52,集尘盒51安装在过滤筒4的内部,集尘盒51沿着过滤筒4的轴向设置并位于去污筒3与过滤筒4的接触部的下方,在机壳1上开有吸尘器连接口13,排污管52的上端与集尘盒51的出口相衔接,排污管52的下端与吸尘器连接口13相连通。The
如图3所示,该新风净化装置采用壁挂式安装,在墙体9上开有连通新风进口11与室外的新风通道91,在新风通道91的进风口安装有太阳能防雨罩10,太阳能防雨罩10能够根据需要打开或关闭。净化装置不使用时,太阳能防雨罩10关闭新风通道91,净化装置启用时,太阳能防雨罩10打开,防止雨水通过新风通道91进入新风净化装置内部。As shown in FIG. 3 , the fresh air purification device adopts a wall-mounted installation, and a
该新风净化装置工作时,室外空气依次通过新风通道91、新风进口11进入机壳1内,并在风机2的作用下进入过滤筒4,过滤筒4对空气进行净化过滤,过滤后的空气流入风机2的进风口,并进而依次通过风机2的出风口和新风出口12流入室内,为室内提供净化后的新风。在新风净化过程中,去污筒3与过滤筒4始终滚动配合,去污筒3带动过滤筒4转动,并通过针状结构的针杆31将附着在过滤筒4上的粉尘颗粒戳入至集尘盒51内,通过连接在吸尘器连接口13的吸尘器(图中未示),集尘盒51中灰尘可以通过排污管52被吸入吸尘器内部,从而使过滤筒4能保持清洁。When the fresh air purification device is working, the outdoor air enters the casing 1 through the
实施例二:Embodiment 2:
如图4和图5所示,本实施例中的集尘装置5包括集尘盒51、旋转螺杆53、排污管52和集污盒54。其中,集尘盒51安装在过滤筒4的内部,集尘盒51沿着过滤筒4的轴向设置并位于去污筒3与过滤筒4的接触部的下方,旋转螺杆53具有螺旋型的螺纹,旋转螺杆53安装在集尘盒51的内部并在电机55的驱动下转动,集污盒54位于过滤筒4的下方,排污管52的上端与集尘盒51的出口相衔接,排污管52的下端与集污盒54相衔接。As shown in FIG. 4 and FIG. 5 , the
该新风净化装置工作时,室外空气通过新风进口11进入机壳1内,并在风机2的作用下进入过滤筒4,过滤筒4对空气进行净化过滤,过滤后的空气流入风机2的进风口,并进而依次通过风机2的出风口和新风出口12流入室内,为室内提供净化后的新风。在新风净化过程中,去污筒3与过滤筒4始终滚动配合,去污筒3带动过滤筒4转动,并通过针状结构的针杆31将附着在过滤筒4上的粉尘颗粒戳入至集尘盒51内,然后再通过旋转螺杆53将集尘盒51内的粉尘颗粒输送至集尘盒51的出口,最后通过排污管52进入集污盒54内,从而使过滤筒4能保持清洁,长久使用后,只需要取出集污盒54并倒掉其中的灰尘即可。When the fresh air purification device is working, the outdoor air enters the casing 1 through the
Claims (10)
Priority Applications (1)
| Application Number | Priority Date | Filing Date | Title |
|---|---|---|---|
| CN201810715367.XA CN110657542A (en) | 2018-06-29 | 2018-06-29 | A fresh air purification device |
Applications Claiming Priority (1)
| Application Number | Priority Date | Filing Date | Title |
|---|---|---|---|
| CN201810715367.XA CN110657542A (en) | 2018-06-29 | 2018-06-29 | A fresh air purification device |
Publications (1)
| Publication Number | Publication Date |
|---|---|
| CN110657542A true CN110657542A (en) | 2020-01-07 |
Family
ID=69027194
Family Applications (1)
| Application Number | Title | Priority Date | Filing Date |
|---|---|---|---|
| CN201810715367.XA Withdrawn CN110657542A (en) | 2018-06-29 | 2018-06-29 | A fresh air purification device |
Country Status (1)
| Country | Link |
|---|---|
| CN (1) | CN110657542A (en) |
Cited By (3)
| Publication number | Priority date | Publication date | Assignee | Title |
|---|---|---|---|---|
| CN111561750A (en) * | 2020-05-08 | 2020-08-21 | 于国飞 | Self-monitoring intelligent household air purifier |
| CN113028546A (en) * | 2021-03-02 | 2021-06-25 | 徐州蓝湖信息科技有限公司 | Filter equipment for new trend system |
| CN117515720A (en) * | 2023-11-28 | 2024-02-06 | 北京东方泰洋幕墙股份有限公司 | Double-deck breathing formula curtain wall construction |
-
2018
- 2018-06-29 CN CN201810715367.XA patent/CN110657542A/en not_active Withdrawn
Cited By (6)
| Publication number | Priority date | Publication date | Assignee | Title |
|---|---|---|---|---|
| CN111561750A (en) * | 2020-05-08 | 2020-08-21 | 于国飞 | Self-monitoring intelligent household air purifier |
| CN111561750B (en) * | 2020-05-08 | 2021-09-24 | 苏州维斯勒姆智能科技有限公司 | Self-monitoring intelligent household air purifier |
| CN113028546A (en) * | 2021-03-02 | 2021-06-25 | 徐州蓝湖信息科技有限公司 | Filter equipment for new trend system |
| CN113028546B (en) * | 2021-03-02 | 2024-12-06 | 徐州蓝湖信息科技有限公司 | Filter device for fresh air system |
| CN117515720A (en) * | 2023-11-28 | 2024-02-06 | 北京东方泰洋幕墙股份有限公司 | Double-deck breathing formula curtain wall construction |
| CN117515720B (en) * | 2023-11-28 | 2024-05-24 | 北京东方泰洋幕墙股份有限公司 | Double-deck breathing formula curtain wall construction |
Similar Documents
| Publication | Publication Date | Title |
|---|---|---|
| CN101862573B (en) | Automatic dust removal cleaning device for air conditioner filter screen | |
| CN110657540A (en) | A fresh air purification device | |
| CN104895469B (en) | mechanical ventilation window | |
| CN213421330U (en) | Multilayer purifies new trend clearing machine | |
| CN208735831U (en) | A kind of fresh air purification device | |
| CN206492315U (en) | A kind of automatic clean filtrating equipment in air conditioner ventilating system | |
| CN108195003A (en) | A kind of efficient air purifier | |
| CN206919316U (en) | A kind of VMC with dedusting function | |
| CN207745640U (en) | Automatic cleaning formula dedusting mechanism | |
| CN110657542A (en) | A fresh air purification device | |
| CN110657539A (en) | A fresh air purification device | |
| CN218972829U (en) | Energy-saving ventilation structure for building design | |
| CN209848556U (en) | A purification device for an electronic equipment production workshop | |
| CN222218948U (en) | Workshop air purifier | |
| CN220567413U (en) | Air filtering device for fresh air ventilator | |
| CN208032145U (en) | A kind of air purifier | |
| CN201719940U (en) | Automatic dust removal cleaning device for air conditioner filter screen | |
| CN207385113U (en) | Dual Choice Air Purifier | |
| CN208579455U (en) | A kind of fresh air purification device | |
| CN210079059U (en) | An automatic cleaning dust bag type dust removal device | |
| CN211695171U (en) | Outdoor unit with fresh air self-cleaning device | |
| CN211233178U (en) | Air purifier convenient to clearance | |
| CN210674543U (en) | Sack cleaner convenient to clearance dust removal box inner wall laying dust | |
| CN208735832U (en) | A kind of fresh air purification device | |
| CN222738727U (en) | Air can equipment filter equipment |
Legal Events
| Date | Code | Title | Description |
|---|---|---|---|
| PB01 | Publication | ||
| PB01 | Publication | ||
| SE01 | Entry into force of request for substantive examination | ||
| SE01 | Entry into force of request for substantive examination | ||
| WW01 | Invention patent application withdrawn after publication | ||
| WW01 | Invention patent application withdrawn after publication |
Application publication date: 20200107 |
