CN110560706B - 一种轴套工件内侧弧面切槽装置 - Google Patents

一种轴套工件内侧弧面切槽装置 Download PDF

Info

Publication number
CN110560706B
CN110560706B CN201910685066.1A CN201910685066A CN110560706B CN 110560706 B CN110560706 B CN 110560706B CN 201910685066 A CN201910685066 A CN 201910685066A CN 110560706 B CN110560706 B CN 110560706B
Authority
CN
China
Prior art keywords
support
grooving
translation
plate
rotating
Prior art date
Legal status (The legal status is an assumption and is not a legal conclusion. Google has not performed a legal analysis and makes no representation as to the accuracy of the status listed.)
Active
Application number
CN201910685066.1A
Other languages
English (en)
Other versions
CN110560706A (zh
Inventor
黄明珠
Current Assignee (The listed assignees may be inaccurate. Google has not performed a legal analysis and makes no representation or warranty as to the accuracy of the list.)
Changshu Wanshun Bearing Co Ltd
Original Assignee
Changshu Wanshun Bearing Co ltd
Priority date (The priority date is an assumption and is not a legal conclusion. Google has not performed a legal analysis and makes no representation as to the accuracy of the date listed.)
Filing date
Publication date
Application filed by Changshu Wanshun Bearing Co ltd filed Critical Changshu Wanshun Bearing Co ltd
Priority to CN202010252584.7A priority Critical patent/CN111299710B/zh
Priority to CN202010252583.2A priority patent/CN111299709B/zh
Priority to CN201910685066.1A priority patent/CN110560706B/zh
Publication of CN110560706A publication Critical patent/CN110560706A/zh
Application granted granted Critical
Publication of CN110560706B publication Critical patent/CN110560706B/zh
Active legal-status Critical Current
Anticipated expiration legal-status Critical

Links

Images

Classifications

    • BPERFORMING OPERATIONS; TRANSPORTING
    • B23MACHINE TOOLS; METAL-WORKING NOT OTHERWISE PROVIDED FOR
    • B23DPLANING; SLOTTING; SHEARING; BROACHING; SAWING; FILING; SCRAPING; LIKE OPERATIONS FOR WORKING METAL BY REMOVING MATERIAL, NOT OTHERWISE PROVIDED FOR
    • B23D79/00Methods, machines, or devices not covered elsewhere, for working metal by removal of material
    • BPERFORMING OPERATIONS; TRANSPORTING
    • B23MACHINE TOOLS; METAL-WORKING NOT OTHERWISE PROVIDED FOR
    • B23QDETAILS, COMPONENTS, OR ACCESSORIES FOR MACHINE TOOLS, e.g. ARRANGEMENTS FOR COPYING OR CONTROLLING; MACHINE TOOLS IN GENERAL CHARACTERISED BY THE CONSTRUCTION OF PARTICULAR DETAILS OR COMPONENTS; COMBINATIONS OR ASSOCIATIONS OF METAL-WORKING MACHINES, NOT DIRECTED TO A PARTICULAR RESULT
    • B23Q15/00Automatic control or regulation of feed movement, cutting velocity or position of tool or work
    • B23Q15/007Automatic control or regulation of feed movement, cutting velocity or position of tool or work while the tool acts upon the workpiece
    • B23Q15/14Control or regulation of the orientation of the tool with respect to the work
    • BPERFORMING OPERATIONS; TRANSPORTING
    • B23MACHINE TOOLS; METAL-WORKING NOT OTHERWISE PROVIDED FOR
    • B23QDETAILS, COMPONENTS, OR ACCESSORIES FOR MACHINE TOOLS, e.g. ARRANGEMENTS FOR COPYING OR CONTROLLING; MACHINE TOOLS IN GENERAL CHARACTERISED BY THE CONSTRUCTION OF PARTICULAR DETAILS OR COMPONENTS; COMBINATIONS OR ASSOCIATIONS OF METAL-WORKING MACHINES, NOT DIRECTED TO A PARTICULAR RESULT
    • B23Q3/00Devices holding, supporting, or positioning work or tools, of a kind normally removable from the machine
    • BPERFORMING OPERATIONS; TRANSPORTING
    • B23MACHINE TOOLS; METAL-WORKING NOT OTHERWISE PROVIDED FOR
    • B23QDETAILS, COMPONENTS, OR ACCESSORIES FOR MACHINE TOOLS, e.g. ARRANGEMENTS FOR COPYING OR CONTROLLING; MACHINE TOOLS IN GENERAL CHARACTERISED BY THE CONSTRUCTION OF PARTICULAR DETAILS OR COMPONENTS; COMBINATIONS OR ASSOCIATIONS OF METAL-WORKING MACHINES, NOT DIRECTED TO A PARTICULAR RESULT
    • B23Q5/00Driving or feeding mechanisms; Control arrangements therefor
    • B23Q5/02Driving main working members
    • B23Q5/04Driving main working members rotary shafts, e.g. working-spindles
    • B23Q5/10Driving main working members rotary shafts, e.g. working-spindles driven essentially by electrical means
    • BPERFORMING OPERATIONS; TRANSPORTING
    • B23MACHINE TOOLS; METAL-WORKING NOT OTHERWISE PROVIDED FOR
    • B23QDETAILS, COMPONENTS, OR ACCESSORIES FOR MACHINE TOOLS, e.g. ARRANGEMENTS FOR COPYING OR CONTROLLING; MACHINE TOOLS IN GENERAL CHARACTERISED BY THE CONSTRUCTION OF PARTICULAR DETAILS OR COMPONENTS; COMBINATIONS OR ASSOCIATIONS OF METAL-WORKING MACHINES, NOT DIRECTED TO A PARTICULAR RESULT
    • B23Q5/00Driving or feeding mechanisms; Control arrangements therefor
    • B23Q5/22Feeding members carrying tools or work
    • B23Q5/34Feeding other members supporting tools or work, e.g. saddles, tool-slides, through mechanical transmission
    • B23Q5/38Feeding other members supporting tools or work, e.g. saddles, tool-slides, through mechanical transmission feeding continuously
    • B23Q5/46Feeding other members supporting tools or work, e.g. saddles, tool-slides, through mechanical transmission feeding continuously with variable speed ratio
    • B23Q5/48Feeding other members supporting tools or work, e.g. saddles, tool-slides, through mechanical transmission feeding continuously with variable speed ratio by use of toothed gears

Landscapes

  • Engineering & Computer Science (AREA)
  • Mechanical Engineering (AREA)
  • Physics & Mathematics (AREA)
  • Optics & Photonics (AREA)
  • Dovetailed Work, And Nailing Machines And Stapling Machines For Wood (AREA)
  • Milling Processes (AREA)

Abstract

本发明公开了一种轴套工件内侧弧面切槽装置,属于工件加工机械设备领域。该发明的工件卡料机构设置于平移切槽机构一侧的加工支架,平移导板水平滑动设置于导向支座,平移压板端部下侧设置有推板斜面,平移压板滑动设置于刀头支架,切槽转板设置于平移压板沿推板斜面端下侧的刀头支架,加工转板沿承板转轮进行转动,卡料主齿轮外侧的加工转板上设置有多个卡料辅齿轮,驱动支架的转动齿轮与加工转板的转动齿条啮合连接,升降支架一侧水平设置有转换支架。本发明结构设计合理,可以高效便捷的将轴套工件卡紧固定并平稳准确的转动,实现轴套工件内侧弧面的自动切槽加工,加工自动化程度高,满足工件加工使用的需要。

Description

一种轴套工件内侧弧面切槽装置
技术领域
本发明属于工件加工机械设备领域,尤其涉及一种轴套工件内侧弧面切槽装置,主要应用于轴套类工件生产加工领域。
背景技术
机械工件是组成机械和机器不可分拆的单个制件,它在自动化工业中起着重要的作用,机械工件包括零部件的联接,起支承作用的零部件,起润滑作用的润滑系统和密封零部件,传递运动和能量的传动系统的零部件,轴型工件是工件中主要的一种,轴型工件适用于一个或多个数控机床,轴型工件是五金配件中经常遇到的典型工件之一,它主要用来支承传动零部件,传递扭矩和承受载荷,按轴型工件结构形式不同,轴型工件可以分为光轴、阶梯轴和异性轴三类,也可分为实心轴和空心轴。轴套工件是轴型工件中主要的一种,轴套是套在转轴上的筒状机械零件,是滑动轴承的一个组成部分,在对轴套机械工件进行生产加工的过程中,轴套工件需要依次经过压铸成型、磨砂加工和打孔加工等加工步骤,轴套工件具有多种类型尺寸规格和外观形状,尤其是在针对具有半球形结构的轴套内侧弧面进行切槽加工时,现有的加工设备难以满足轴套加工的需要,由于轴套端部为圆形结构,现有的卡紧机构难以便捷高效的将轴套卡紧固定,经常会在轴套加工过程中由于不能牢固的卡紧固定而造成轴套脱落,并且现有的卡紧机构难以适用于多种尺寸规格轴套工件的卡紧固定,适用范围较窄,现有的轴套加工机构在将轴套加工过程中,主要采用将轴套卡紧固定而将加工机头根据需要进行工位调节,从而实现轴套的加工,但是由于加工机头的结构复杂且具有较多的驱动机构,加工机头难以根据轴套加工的需要便捷顺畅的进行转动和平移等操作,现有的轴套加工机构难以实现将轴套卡紧固定后进行平稳准确的转动调节工位,因此在现有轴套工件的加工过程中,加工过程极为繁琐,加工周期也较长,不能满足轴套工件批量规模化的生产加工,现有的切槽加工机构结构复杂且操作麻烦,难以平稳顺畅的将弧面进行切槽加工,加工刀头调节麻烦,加工刀头难以沿着轴套内侧弧面快速便捷的进行调节,并且调节准确程度较差,导致现有的切槽机构难以根据轴套生产加工的需要高效准确的进行切槽加工,不能满足工件加工使用的需要。
发明内容
本发明所要解决的技术问题是克服现有技术中所存在的上述不足,而提供一种结构设计合理,可以高效便捷的将轴套工件卡紧固定并平稳准确的转动,实现轴套工件内侧弧面的自动切槽加工,加工自动化程度高,满足工件加工使用需要的轴套工件内侧弧面切槽装置。
为了解决上述技术问题,本发明所采用的技术方案是:一种轴套工件内侧弧面切槽装置,其特征在于:所述轴套工件内侧弧面切槽装置包括加工支架、平移切槽机构和工件卡料机构,所述平移切槽机构水平设置于加工支架,工件卡料机构竖直相邻设置于平移切槽机构一侧的加工支架,所述平移切槽机构包括平移支座、往复气缸、平移导板、平移压板、刀头支架、切槽转板和切槽刀头,所述平移支座水平固定设置于加工支架一侧,平移支座内水平贯穿设置有平移通道,所述平移支座的平移通道一侧水平固定设置有导向支座,所述平移导板沿水平方向滑动设置于导向支座,所述平移支座一侧的加工支架上竖直固定设置有气缸支架,往复气缸水平固定设置于气缸支架一侧,往复气缸输出端水平设置有往复活塞杆,往复活塞杆端部与平移导板端部固定连接,往复活塞杆上竖直固定设置有平移限位块,平移限位块下方两侧的加工支架上分别设置有复位限位开关和平移限位开关,所述平移导板一侧竖直固定设置有与平移通道相适配的平移弹簧挡板,所述平移压板水平固定设置于平移弹簧挡板一侧,平移压板端部下侧设置有推板斜面,所述平移支座一侧沿水平方向滑动设置有与平移通道相适配的刀头支架,平移压板滑动设置于刀头支架,所述刀头支架与平移弹簧挡板之间的平移压板上套装设置有平移弹簧,所述平移压板中部水平设置有平移滑动导槽,刀头支架沿平移压板侧水平固定设置有同步拉杆,同步拉杆水平设置于平移滑动导槽内,所述刀头支架端部水平固定设置有支承压杆,支承压杆上竖直转动连接有限位转动轴承,所述切槽转板设置于平移压板沿推板斜面端下侧的刀头支架,切槽转板为三角形结构,切槽转板上侧转角处转动连接于刀头支架,切槽转板与刀头支架之间倾斜设置有复位压簧,所述切槽转板下侧设置有转动支架,转动支架中部下侧转动连接于切槽转板,转动支架上侧与切槽转板之间设置有调节丝杆,所述转动支架两侧分别设置有调节导杆和升降丝杆,升降丝杆竖直转动连接于转动支架,升降丝杆上端设置有升降手轮,所述调节导杆上滑动设置有升降导板,升降丝杆螺纹连接于升降导板,升降导板下侧中部固定设置有切槽刀头,转动支架上设置有与切槽刀头相适配的调节通孔,所述工件卡料机构包括加工转板、承板支架、卡料主齿轮、卡料辅齿轮、卡料气缸、转动齿轮、驱动支架、升降支架和升降气缸,所述加工支架一侧竖直固定设置有承板支架,加工转板竖直设置于承板支架上侧,承板支架上设置有与加工转板相适配的圆形结构的转动圆孔,承板支架上沿弧形方向依次水平转动连接有多个承板转轮,加工转板沿承板转轮进行转动,承板转轮两侧分别设置有转动挡板,所述加工转板外侧设置有圆弧形结构的转动齿条,所述加工转板中部水平转动连接有齿轮转轴,齿轮转轴两端分别竖直固定设置有往复齿轮和卡料主齿轮,往复齿轮一侧的加工转板上竖直设置有卡料齿条支架,卡料齿条支架上滑动设置有与往复齿轮啮合连接的卡料齿条,卡料齿条支架一侧端部固定设置有卡料气缸,卡料气缸输出端与卡料齿条端部固定连接,所述卡料主齿轮外侧的加工转板上均匀设置有多个卡料辅齿轮,卡料辅齿轮竖直转动连接于加工转板,卡料主齿轮和卡料辅齿轮啮合连接,所述卡料辅齿轮一侧设置有卡料转板,卡料转板一侧端部与卡料辅齿轮一侧固定连接,卡料转板另一侧端部水平固定设置有卡料压板,所述承板支架上侧的加工支架上竖直固定设置有驱动支架,驱动支架从上至下依次水平转动连接有上输出转轴和下输出转轴,所述下输出转轴两端分别竖直固定设置有辅皮带轮和转动齿轮,转动齿轮与加工转板的转动齿条啮合连接,所述上输出转轴两端分别竖直固定设置有主皮带轮、切槽齿轮和切槽蜗轮,主皮带轮和辅皮带轮之间采用切槽皮带传动连接,所述驱动支架一侧的加工支架上竖直固定设置有升降支架,升降支架一侧水平设置有转换支架,转换支架沿升降支架侧竖直固定设置有转换导板,升降支架两侧分别竖直固定设置有升降导杆,转换导板沿竖直方向滑动设置于升降导杆,所述升降支架下侧竖直向上固定设置有升降气缸,升降气缸输出端与转换导板下侧固定连接,所述转换支架为C型结构,切槽齿轮上侧的转换支架上水平固定设置有齿条平移支架,齿条平移支架内沿水平方向滑动设置有与切槽齿轮相适配的平移齿条,齿条平移支架一侧水平固定设置有切槽气缸,切槽气缸输出端与平移齿条端部固定连接,所述切槽蜗轮下侧的转换支架上水平转动连接有与切槽蜗轮相适配的切槽蜗杆,转换支架一侧水平固定设置有切槽电机,切槽电机带动切槽蜗杆转动。
进一步地,所述平移限位开关一侧的加工支架上水平设置有平移调节导槽,平移限位开关与平移调节导槽之间水平设置有调节锁紧拴。
进一步地,所述刀头支架沿平移压板端上下两侧分别水平设置有限位挡条,所述刀头支架上下两侧限位挡条之间的间距与平移压板相适配。
进一步地,所述刀头支架一侧的同步拉杆外端固定设置有限位挡板。
进一步地,所述切槽转板沿平移压板端竖直转动连接有转动导轮。
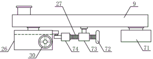
进一步地,所述调节丝杆端部设置有调节手轮,调节丝杆中部螺纹连接有第一套筒,第一套筒铰连接于切槽转板,转动支架上方一侧设置有第二套筒,第二套筒铰连接于转动支架,调节丝杆端部转动连接于第二套筒。
进一步地,所述卡料压板沿卡料主齿轮侧为圆弧形表面,卡料压板侧面设置有卡料橡胶层。
进一步地,所述卡料主齿轮外侧竖直均匀设置有四个卡料辅齿轮。
本发明与现有技术相比,具有以下优点和效果:本发明结构设计合理,通过平移切槽机构水平设置于加工支架,工件卡料机构竖直相邻设置于平移切槽机构一侧的加工支架,利用工件卡料机构可以将轴套工件高效便捷的卡紧固定,并能够根据加工的需要将轴套工件平稳准确的转动,利用平移切槽机构使能快速准确的将切槽刀头水平推送并调节至所需的加工工位,实现轴套工件内侧弧面的自动切槽加工,加工自动化程度高,通过平移导板沿水平方向滑动设置于导向支座,往复气缸输出端的往复活塞杆端部与平移导板端部固定连接,利用往复气缸推动平移导板,使得平移导板能够沿水平方向往复进行平移运动,通过往复活塞杆上竖直固定设置有平移限位块,平移限位块下方两侧的加工支架上分别设置有复位限位开关和平移限位开关,使能在平移导板的平移过程中对平移导板运行至两端时进行限位,实现平移导板准确高效的往复平移运动,利用平移限位开关一侧的加工支架上水平设置有平移调节导槽,平移限位开关与平移调节导槽之间水平设置有调节锁紧拴,使得平移限位开关能够沿水平方向进行平移调节固定,使能对平移导板的进给位置进行调节,确保能够将切槽刀头准确移送调节至所需位置,通过平移导板一侧竖直固定设置有与平移通道相适配的平移弹簧挡板,平移压板水平固定设置于平移弹簧挡板一侧,平移支座一侧沿水平方向滑动设置有与平移通道相适配的刀头支架,平移压板滑动设置于刀头支架,刀头支架与平移弹簧挡板之间的平移压板上套装设置有平移弹簧,平移压板中部水平设置有平移滑动导槽,刀头支架沿平移压板侧的同步拉杆水平设置于平移滑动导槽内,刀头支架端部水平固定设置的支承压杆上竖直转动连接有限位转动轴承,利用刀头支架一侧的同步拉杆设置于平移压板的平移滑动导槽内,并且刀头支架一侧的同步拉杆外端固定设置有限位挡板,使能够实现刀头支架与平移压板的滑动连接限位固定,利用平移导板带动平移压板同步进行平移运动,利用平移压板上套装设置的平移弹簧,使得刀头支架与平移压板保持同步平移,当刀头支架端部的限位转动轴承与轴套工件触碰后,刀头支架停止平移运动,平移压板能够将平移弹簧进行压缩继续平移,利用刀头支架沿平移压板端上下两侧分别水平设置有限位挡条,刀头支架上下两侧限位挡条之间的间距与平移压板相适配,使得平移压板能够沿刀头支架顺畅准确的进行平移运动,避免平移压板在推动切槽转板进行切槽加工的过程中产生偏移歪斜,通过平移压板端部下侧设置有推板斜面,切槽转板设置于平移压板沿推板斜面端下侧的刀头支架,切槽转板上侧转角处转动连接于刀头支架,切槽转板与刀头支架之间倾斜设置有复位压簧,利用平移压板的平移运动,使能利用推板斜面推动切槽转板沿顺时针方向转动,当平移压板进行复位平移时,切槽转板能够在复位弹簧的弹力作用下实现逆时针转动,使得切槽转板能够带动切槽刀头沿轴套工件内侧弧面进行摆动,使得当轴套工件内侧弧面需要进行环形切槽加工时,利用切槽转板带动切槽刀头进行摆动调节,使能将切槽刀头准确调整至所需的切槽位置,轴套工件在外力带动下进行转动实现环形切槽加工,当轴套工件内侧弧面需要进行与环形切槽相垂直的弧面切槽加工时,利用平移压板连续往复平移运动带动切槽转板连续往复摆动,使能在切槽刀头往复摆动过程中对轴套工件内侧弧面进行切槽加工,利用切槽转板沿平移压板端竖直转动连接有转动导轮,在平移压板推动切槽转板的过程中,转动导轮能够沿平移压板的推板斜面进行滚动,使得切槽转板能够被平移压板高效顺畅的推动实现往复转动,通过切槽转板下侧设置有转动支架,转动支架的调节导杆上滑动设置有升降导板,升降丝杆螺纹连接于升降导板,升降导板下侧中部固定设置有切槽刀头,利用升降丝杆带动切槽刀头进行移动,使得切槽刀头能够与轴套工件内侧弧面紧密的压紧固定,满足不同尺寸规格的轴套工件进行切槽加工,通过转动支架中部下侧转动连接于切槽转板,转动支架上侧与切槽转板之间设置有调节丝杆,利用调节丝杆带动转动支架进行摆动调节,不仅能够更为高效准确的将切槽刀头调节至所需位置,还能够根据轴套工件内侧弧面的弧度将切槽刀头进行适应性调节,确保能够适用于多种类型规格的轴套工件进行切槽加工,通过加工转板竖直设置于承板支架上侧,加工转板中部水平转动连接有齿轮转轴,齿轮转轴两端分别竖直固定设置有往复齿轮和卡料主齿轮,往复齿轮一侧的卡料齿条支架上滑动设置有与往复齿轮啮合连接的卡料齿条,卡料气缸输出端与卡料齿条端部固定连接,利用卡料气缸推动卡料齿条进行滑动,使得卡料主齿轮能够在卡料气缸的带动下进行转动,通过卡料主齿轮外侧的加工转板上均匀设置有多个与卡料主齿轮啮合连接的卡料辅齿轮,卡料辅齿轮一侧的卡料转板端部水平固定设置有卡料压板,利用卡料主齿轮的转动使能带动多个卡料辅齿轮同步同向进行转动,使得卡料辅齿轮在转动过程中能够利用卡料压板将轴套工件端部卡紧固定,利用卡料压板沿卡料主齿轮侧为圆弧形表面,卡料压板侧面设置有卡料橡胶层,提高卡料压板将轴套工件卡紧固定的牢固程度,通过承板支架上沿弧形方向依次水平转动连接有多个承板转轮,加工转板沿承板转轮进行转动,承板转轮两侧分别设置有转动挡板,加工转板外侧设置有圆弧形结构的转动齿条,驱动支架下侧的下输出转轴端部的转动齿轮与加工转板的转动齿条啮合连接,利用外力带动转动齿轮进行转动,加工转板能够在转动齿轮的带动下平稳顺畅的进行转动,使得加工转板一侧卡紧固定的轴套工件能够在加工转板的带动下平稳进行转动,确保轴套工件能够根据加工的需要保持静止和进行转动,通过上输出转轴和下输出转轴之间采用切槽皮带传动连接,上输出转轴一侧端部依次竖直固定设置有切槽齿轮和切槽蜗轮,转换支架一侧的转换导板沿竖直方向滑动设置于升降支架的升降导杆,升降气缸输出端与转换导板下侧固定连接,利用升降气缸沿竖直方向推动转换导板,使得转换支架能够在升降气缸的推动作用下沿竖直方向进行升降运动,通过切槽齿轮上侧的转换支架上水平固定设置有齿条平移支架,齿条平移支架内水平滑动设置有平移齿条,切槽气缸输出端与平移齿条端部固定连接,切槽蜗轮下侧的转换支架上水平转动连接有与切槽蜗轮相适配的切槽蜗杆,切槽电机带动切槽蜗杆转动,转换支架在升降气缸的带动下沿竖直方向进行升降运动,当平移齿条与切槽齿轮啮合连接时,利用切槽气缸带动切槽齿轮往复进行转动,使得加工转板能够在转动齿轮的带动下往复进行转动,使得轴套工件内侧弧面进行一定弧度的切槽加工,当切槽蜗杆与切槽蜗轮啮合连接时,利用切槽电机带动切槽蜗杆连续进行转动,使得加工转板能够在转动齿轮的带动下连续单向进行转动,使得轴套工件内侧弧面进行环形切槽加工,确保能够根据轴套工件不同的加工需要采用不同的驱动方式,不仅能够确保轴套工件加工的效率和质量,实现轴套工件准确高效的切槽加工,还能减少驱动机构的运行损耗,提高驱动机构的使用运行周期,通过这样的结构,本发明结构设计合理,可以高效便捷的将轴套工件卡紧固定并平稳准确的转动,实现轴套工件内侧弧面的自动切槽加工,加工自动化程度高,满足工件加工使用的需要。
附图说明
图1是本发明一种轴套工件内侧弧面切槽装置的主视结构示意图。
图2是本发明的平移切槽机构的主视结构示意图。
图3是本发明的切槽转板及其相关机构的主视结构示意图。
图4是本发明的切槽转板及其相关机构的辅视结构示意图。
图5是本发明的平移切槽机构A处放大结构示意图。
图6是本发明的工件卡料机构的主视结构示意图。
图7是本发明的工件卡料机构的左视结构示意图。
图8是本发明的加工转板及其相关机构的右视结构示意图。
图中:1. 加工支架,2. 平移切槽机构,3. 工件卡料机构,4. 平移支座,5. 往复气缸,6. 平移导板,7. 平移压板,8. 刀头支架,9. 切槽转板,10. 切槽刀头,11. 平移通道,12. 导向支座,13. 气缸支架,14. 往复活塞杆,15. 平移限位块,16. 复位限位开关,17. 平移限位开关,18. 平移弹簧挡板,19. 推板斜面,20. 平移弹簧,21. 平移滑动导槽,22. 同步拉杆,23. 支承压杆,24. 限位转动轴承,25. 复位压簧,26. 转动支架,27. 调节丝杆,28. 调节导杆,29. 升降丝杆,30. 升降手轮,31. 升降导板,32. 调节通孔,33. 加工转板,34. 承板支架,35. 卡料主齿轮,36. 卡料辅齿轮,37. 卡料气缸,38. 转动齿轮,39. 驱动支架,40. 升降支架,41. 升降气缸,42. 转动圆孔,43. 承板转轮,44. 转动挡板,45. 转动齿条,46. 齿轮转轴,47. 往复齿轮,48. 卡料齿条支架,49. 卡料齿条,50.卡料转板,51. 卡料压板,52. 上输出转轴,53. 下输出转轴,54. 辅皮带轮,55. 主皮带轮,56. 切槽齿轮,57. 切槽蜗轮,58. 切槽皮带,59. 转换支架,60. 转换导板,61. 升降导杆,62. 齿条平移支架,63. 平移齿条,64. 切槽气缸,65. 切槽蜗杆,66. 切槽电机,67.平移调节导槽,68. 调节锁紧拴,69. 限位挡条,70. 限位挡板,71. 转动导轮,72. 调节手轮,73. 第一套筒,74. 第二套筒,75. 卡料橡胶层。
具体实施方式
为了进一步描述本发明,下面结合附图进一步阐述一种轴套工件内侧弧面切槽装置的具体实施方式,以下实施例是对本发明的解释而本发明并不局限于以下实施例。
如图1所示,本发明一种轴套工件内侧弧面切槽装置,包括加工支架1、平移切槽机构2和工件卡料机构3,平移切槽机构2水平设置于加工支架1,工件卡料机构3竖直相邻设置于平移切槽机构2一侧的加工支架1,如图2所示,本发明的平移切槽机构2包括平移支座4、往复气缸5、平移导板6、平移压板7、刀头支架8、切槽转板9和切槽刀头10,平移支座4水平固定设置于加工支架1一侧,平移支座4内水平贯穿设置有平移通道11,平移支座4的平移通道11一侧水平固定设置有导向支座12,平移导板6沿水平方向滑动设置于导向支座12,平移支座4一侧的加工支架1上竖直固定设置有气缸支架13,往复气缸5水平固定设置于气缸支架13一侧,往复气缸5输出端水平设置有往复活塞杆14,往复活塞杆14端部与平移导板6端部固定连接,往复活塞杆14上竖直固定设置有平移限位块15,平移限位块15下方两侧的加工支架1上分别设置有复位限位开关16和平移限位开关17,平移导板6一侧竖直固定设置有与平移通道11相适配的平移弹簧挡板18,平移压板7水平固定设置于平移弹簧挡板18一侧,平移压板7端部下侧设置有推板斜面19,平移支座4一侧沿水平方向滑动设置有与平移通道11相适配的刀头支架8,平移压板7滑动设置于刀头支架8,刀头支架8与平移弹簧挡板18之间的平移压板7上套装设置有平移弹簧20,平移压板7中部水平设置有平移滑动导槽21,刀头支架8沿平移压板7侧水平固定设置有同步拉杆22,同步拉杆22水平设置于平移滑动导槽21内,刀头支架8端部水平固定设置有支承压杆23,支承压杆23上竖直转动连接有限位转动轴承24,切槽转板9设置于平移压板7沿推板斜面19端下侧的刀头支架8。如图3和图4所示,本发明的切槽转板9为三角形结构,切槽转板9上侧转角处转动连接于刀头支架8,切槽转板9与刀头支架8之间倾斜设置有复位压簧25,切槽转板9下侧设置有转动支架26,转动支架26中部下侧转动连接于切槽转板9,转动支架26上侧与切槽转板9之间设置有调节丝杆27,转动支架26两侧分别设置有调节导杆28和升降丝杆29,升降丝杆29竖直转动连接于转动支架26,升降丝杆29上端设置有升降手轮30,调节导杆28上滑动设置有升降导板31,升降丝杆29螺纹连接于升降导板31,升降导板31下侧中部固定设置有切槽刀头10,转动支架26上设置有与切槽刀头10相适配的调节通孔32。如图6和图7所示,本发明的工件卡料机构3包括加工转板33、承板支架34、卡料主齿轮35、卡料辅齿轮36、卡料气缸37、转动齿轮38、驱动支架39、升降支架40和升降气缸41,加工支架1一侧竖直固定设置有承板支架34,加工转板33竖直设置于承板支架34上侧,承板支架34上设置有与加工转板33相适配的圆形结构的转动圆孔42,承板支架34上沿弧形方向依次水平转动连接有多个承板转轮43,加工转板33沿承板转轮43进行转动,承板转轮43两侧分别设置有转动挡板44,加工转板33外侧设置有圆弧形结构的转动齿条45,加工转板33中部水平转动连接有齿轮转轴46,齿轮转轴46两端分别竖直固定设置有往复齿轮47和卡料主齿轮35,往复齿轮47一侧的加工转板33上竖直设置有卡料齿条支架48,卡料齿条支架48上滑动设置有与往复齿轮47啮合连接的卡料齿条49,卡料齿条支架48一侧端部固定设置有卡料气缸37,卡料气缸37输出端与卡料齿条49端部固定连接,如图8所示,本发明的卡料主齿轮35外侧的加工转板33上均匀设置有多个卡料辅齿轮36,卡料辅齿轮36竖直转动连接于加工转板33,卡料主齿轮35和卡料辅齿轮36啮合连接,卡料辅齿轮36一侧设置有卡料转板50,卡料转板50一侧端部与卡料辅齿轮36一侧固定连接,卡料转板50另一侧端部水平固定设置有卡料压板51,承板支架34上侧的加工支架1上竖直固定设置有驱动支架39,驱动支架39从上至下依次水平转动连接有上输出转轴52和下输出转轴53,下输出转轴53两端分别竖直固定设置有辅皮带轮54和转动齿轮38,转动齿轮38与加工转板33的转动齿条45啮合连接,上输出转轴52两端分别竖直固定设置有主皮带轮55、切槽齿轮56和切槽蜗轮57,主皮带轮55和辅皮带轮54之间采用切槽皮带58传动连接,本发明的驱动支架39一侧的加工支架1上竖直固定设置有升降支架40,升降支架40一侧水平设置有转换支架59,转换支架59沿升降支架40侧竖直固定设置有转换导板60,升降支架40两侧分别竖直固定设置有升降导杆61,转换导板60沿竖直方向滑动设置于升降导杆61,升降支架40下侧竖直向上固定设置有升降气缸41,升降气缸41输出端与转换导板60下侧固定连接,转换支架59为C型结构,切槽齿轮56上侧的转换支架59上水平固定设置有齿条平移支架62,齿条平移支架62内沿水平方向滑动设置有与切槽齿轮56相适配的平移齿条63,齿条平移支架62一侧水平固定设置有切槽气缸64,切槽气缸64输出端与平移齿条63端部固定连接,切槽蜗轮57下侧的转换支架59上水平转动连接有与切槽蜗轮57相适配的切槽蜗杆65,转换支架59一侧水平固定设置有切槽电机66,切槽电机66带动切槽蜗杆65转动。
如图5所示,本发明的平移限位开关17一侧的加工支架1上水平设置有平移调节导槽67,平移限位开关17与平移调节导槽67之间水平设置有调节锁紧拴68,使得平移限位开关17能够沿水平方向进行平移调节固定,使能对平移导板6的进给位置进行调节,确保能够将切槽刀头10准确移送调节至所需位置。本发明的刀头支架8沿平移压板7端上下两侧分别水平设置有限位挡条69,刀头支架8上下两侧限位挡条69之间的间距与平移压板7相适配,使得平移压板7能够沿刀头支架8顺畅准确的进行平移运动,避免平移压板7在推动切槽转板9进行切槽加工的过程中产生偏移歪斜。本发明的刀头支架8一侧的同步拉杆22外端固定设置有限位挡板70,使能够实现刀头支架8与平移压板7的滑动连接限位固定。本发明的切槽转板9沿平移压板7端竖直转动连接有转动导轮71,在平移压板7推动切槽转板9的过程中,转动导轮71能够沿平移压板7的推板斜面19进行滚动,使得切槽转板9能够被平移压板7高效顺畅的推动实现往复转动。本发明的调节丝杆27端部设置有调节手轮72,调节丝杆27中部螺纹连接有第一套筒73,第一套筒73铰连接于切槽转板9,转动支架26上方一侧设置有第二套筒74,第二套筒74铰连接于转动支架26,调节丝杆27端部转动连接于第二套筒74,利用调节丝杆27带动转动支架26进行摆动调节,不仅能够更为高效准确的将切槽刀头10调节至所需位置,还能够根据轴套工件内侧弧面的弧度将切槽刀头10进行适应性调节,确保能够适用于多种类型规格的轴套工件进行切槽加工。本发明的卡料压板51沿卡料主齿轮35侧为圆弧形表面,卡料压板51侧面设置有卡料橡胶层75,提高卡料压板51将轴套工件卡紧固定的牢固程度。本发明的卡料主齿轮35外侧竖直均匀设置有四个卡料辅齿轮36,确保多块卡料压板51能够平稳牢固的将轴套工件卡紧固定。
采用上述技术方案,本发明一种轴套工件内侧弧面切槽装置在使用的时候,通过平移切槽机构2水平设置于加工支架1,工件卡料机构3竖直相邻设置于平移切槽机构2一侧的加工支架1,利用工件卡料机构3可以将轴套工件高效便捷的卡紧固定,并能够根据加工的需要将轴套工件平稳准确的转动,利用平移切槽机构2使能快速准确的将切槽刀头10水平推送并调节至所需的加工工位,实现轴套工件内侧弧面的自动切槽加工,加工自动化程度高,通过平移导板6沿水平方向滑动设置于导向支座12,往复气缸5输出端的往复活塞杆14端部与平移导板6端部固定连接,利用往复气缸5推动平移导板6,使得平移导板6能够沿水平方向往复进行平移运动,通过往复活塞杆14上竖直固定设置有平移限位块15,平移限位块15下方两侧的加工支架1上分别设置有复位限位开关16和平移限位开关17,使能在平移导板6的平移过程中对平移导板6运行至两端时进行限位,实现平移导板6准确高效的往复平移运动,利用平移限位开关17一侧的加工支架1上水平设置有平移调节导槽67,平移限位开关17与平移调节导槽67之间水平设置有调节锁紧拴68,使得平移限位开关17能够沿水平方向进行平移调节固定,使能对平移导板6的进给位置进行调节,确保能够将切槽刀头10准确移送调节至所需位置,通过平移导板6一侧竖直固定设置有与平移通道11相适配的平移弹簧挡板18,平移压板7水平固定设置于平移弹簧挡板18一侧,平移支座4一侧沿水平方向滑动设置有与平移通道11相适配的刀头支架8,平移压板7滑动设置于刀头支架8,刀头支架8与平移弹簧挡板18之间的平移压板7上套装设置有平移弹簧20,平移压板7中部水平设置有平移滑动导槽21,刀头支架8沿平移压板7侧的同步拉杆22水平设置于平移滑动导槽21内,刀头支架8端部水平固定设置的支承压杆23上竖直转动连接有限位转动轴承24,利用刀头支架8一侧的同步拉杆22设置于平移压板7的平移滑动导槽21内,并且刀头支架8一侧的同步拉杆22外端固定设置有限位挡板70,使能够实现刀头支架8与平移压板7的滑动连接限位固定,利用平移导板6带动平移压板7同步进行平移运动,利用平移压板7上套装设置的平移弹簧20,使得刀头支架8与平移压板7保持同步平移,当刀头支架8端部的限位转动轴承24与轴套工件触碰后,刀头支架8停止平移运动,平移压板7能够将平移弹簧20进行压缩继续平移,利用刀头支架8沿平移压板7端上下两侧分别水平设置有限位挡条69,刀头支架8上下两侧限位挡条69之间的间距与平移压板7相适配,使得平移压板7能够沿刀头支架8顺畅准确的进行平移运动,避免平移压板7在推动切槽转板9进行切槽加工的过程中产生偏移歪斜,通过平移压板7端部下侧设置有推板斜面19,切槽转板9设置于平移压板7沿推板斜面19端下侧的刀头支架8,切槽转板9上侧转角处转动连接于刀头支架8,切槽转板9与刀头支架8之间倾斜设置有复位压簧25,利用平移压板7的平移运动,使能利用推板斜面19推动切槽转板9沿顺时针方向转动,当平移压板7进行复位平移时,切槽转板9能够在复位弹簧25的弹力作用下实现逆时针转动,使得切槽转板9能够带动切槽刀头10沿轴套工件内侧弧面进行摆动,使得当轴套工件内侧弧面需要进行环形切槽加工时,利用切槽转板9带动切槽刀头10进行摆动调节,使能将切槽刀头10准确调整至所需的切槽位置,轴套工件在外力带动下进行转动实现环形切槽加工,当轴套工件内侧弧面需要进行与环形切槽相垂直的弧面切槽加工时,利用平移压板7连续往复平移运动带动切槽转板9连续往复摆动,使能在切槽刀头10往复摆动过程中对轴套工件内侧弧面进行切槽加工,利用切槽转板9沿平移压板7端竖直转动连接有转动导轮71,在平移压板7推动切槽转板9的过程中,转动导轮71能够沿平移压板7的推板斜面19进行滚动,使得切槽转板9能够被平移压板7高效顺畅的推动实现往复转动,通过切槽转板9下侧设置有转动支架26,转动支架26的调节导杆28上滑动设置有升降导板31,升降丝杆29螺纹连接于升降导板31,升降导板31下侧中部固定设置有切槽刀头10,利用升降丝杆29带动切槽刀头10进行移动,使得切槽刀头10能够与轴套工件内侧弧面紧密的压紧固定,满足不同尺寸规格的轴套工件进行切槽加工,通过转动支架26中部下侧转动连接于切槽转板9,转动支架26上侧与切槽转板9之间设置有调节丝杆27,利用调节丝杆27带动转动支架26进行摆动调节,不仅能够更为高效准确的将切槽刀头10调节至所需位置,还能够根据轴套工件内侧弧面的弧度将切槽刀头10进行适应性调节,确保能够适用于多种类型规格的轴套工件进行切槽加工,通过加工转板33竖直设置于承板支架34上侧,加工转板33中部水平转动连接有齿轮转轴46,齿轮转轴46两端分别竖直固定设置有往复齿轮47和卡料主齿轮35,往复齿轮47一侧的卡料齿条支架48上滑动设置有与往复齿轮47啮合连接的卡料齿条49,卡料气缸37输出端与卡料齿条49端部固定连接,利用卡料气缸37推动卡料齿条49进行滑动,使得卡料主齿轮35能够在卡料气缸37的带动下进行转动,通过卡料主齿轮35外侧的加工转板33上均匀设置有多个与卡料主齿轮35啮合连接的卡料辅齿轮36,卡料辅齿轮36一侧的卡料转板50端部水平固定设置有卡料压板51,利用卡料主齿轮35的转动使能带动多个卡料辅齿轮36同步同向进行转动,使得卡料辅齿轮36在转动过程中能够利用卡料压板51将轴套工件端部卡紧固定,利用卡料压板51沿卡料主齿轮35侧为圆弧形表面,卡料压板51侧面设置有卡料橡胶层75,提高卡料压板51将轴套工件卡紧固定的牢固程度,通过承板支架34上沿弧形方向依次水平转动连接有多个承板转轮43,加工转板33沿承板转轮43进行转动,承板转轮43两侧分别设置有转动挡板44,加工转板33外侧设置有圆弧形结构的转动齿条45,驱动支架39下侧的下输出转轴53端部的转动齿轮38与加工转板33的转动齿条45啮合连接,利用外力带动转动齿轮38进行转动,加工转板33能够在转动齿轮38的带动下平稳顺畅的进行转动,使得加工转板33一侧卡紧固定的轴套工件能够在加工转板33的带动下平稳进行转动,确保轴套工件能够根据加工的需要保持静止和进行转动,通过上输出转轴52和下输出转轴53之间采用切槽皮带58传动连接,上输出转轴52一侧端部依次竖直固定设置有切槽齿轮56和切槽蜗轮57,转换支架59一侧的转换导板60沿竖直方向滑动设置于升降支架40的升降导杆61,升降气缸41输出端与转换导板60下侧固定连接,利用升降气缸41沿竖直方向推动转换导板60,使得转换支架59能够在升降气缸41的推动作用下沿竖直方向进行升降运动,通过切槽齿轮56上侧的转换支架59上水平固定设置有齿条平移支架62,齿条平移支架62内水平滑动设置有平移齿条63,切槽气缸64输出端与平移齿条63端部固定连接,切槽蜗轮57下侧的转换支架59上水平转动连接有与切槽蜗轮57相适配的切槽蜗杆65,切槽电机66带动切槽蜗杆65转动,转换支架59在升降气缸41的带动下沿竖直方向进行升降运动,当平移齿条63与切槽齿轮56啮合连接时,利用切槽气缸64带动切槽齿轮56往复进行转动,使得加工转板33能够在转动齿轮38的带动下往复进行转动,使得轴套工件内侧弧面进行一定弧度的切槽加工,当切槽蜗杆65与切槽蜗轮57啮合连接时,利用切槽电机66带动切槽蜗杆65连续进行转动,使得加工转板33能够在转动齿轮38的带动下连续单向进行转动,使得轴套工件内侧弧面进行环形切槽加工,确保能够根据轴套工件不同的加工需要采用不同的驱动方式,不仅能够确保轴套工件加工的效率和质量,实现轴套工件准确高效的切槽加工,还能减少驱动机构的运行损耗,提高驱动机构的使用运行周期。通过这样的结构,本发明结构设计合理,可以高效便捷的将轴套工件卡紧固定并平稳准确的转动,实现轴套工件内侧弧面的自动切槽加工,加工自动化程度高,满足工件加工使用的需要。
本说明书中所描述的以上内容仅仅是对本发明所作的举例说明。本发明所属技术领域的技术人员可以对所描述的具体实施例做各种各样的修改或补充或采用类似的方式替代,只要不偏离本发明说明书的内容或者超越本权利要求书所定义的范围,均应属于本发明的保护范围。

Claims (8)

1.一种轴套工件内侧弧面切槽装置,其特征在于:所述轴套工件内侧弧面切槽装置包括加工支架、平移切槽机构和工件卡料机构,所述平移切槽机构水平设置于加工支架,工件卡料机构竖直相邻设置于平移切槽机构一侧的加工支架,所述平移切槽机构包括平移支座、往复气缸、平移导板、平移压板、刀头支架、切槽转板和切槽刀头,所述平移支座水平固定设置于加工支架一侧,平移支座内水平贯穿设置有平移通道,所述平移支座的平移通道一侧水平固定设置有导向支座,所述平移导板沿水平方向滑动设置于导向支座,所述平移支座一侧的加工支架上竖直固定设置有气缸支架,往复气缸水平固定设置于气缸支架一侧,往复气缸输出端水平设置有往复活塞杆,往复活塞杆端部与平移导板端部固定连接,往复活塞杆上竖直固定设置有平移限位块,平移限位块下方两侧的加工支架上分别设置有复位限位开关和平移限位开关,所述平移导板一侧竖直固定设置有与平移通道相适配的平移弹簧挡板,所述平移压板水平固定设置于平移弹簧挡板一侧,平移压板端部下侧设置有推板斜面,所述平移支座一侧沿水平方向滑动设置有与平移通道相适配的刀头支架,平移压板滑动设置于刀头支架,所述刀头支架与平移弹簧挡板之间的平移压板上套装设置有平移弹簧,所述平移压板中部水平设置有平移滑动导槽,刀头支架沿平移压板侧水平固定设置有同步拉杆,同步拉杆水平设置于平移滑动导槽内,所述刀头支架端部水平固定设置有支承压杆,支承压杆上竖直转动连接有限位转动轴承,所述切槽转板设置于平移压板沿推板斜面端下侧的刀头支架,切槽转板为三角形结构,切槽转板上侧转角处转动连接于刀头支架,切槽转板与刀头支架之间倾斜设置有复位压簧,所述切槽转板下侧设置有转动支架,转动支架中部下侧转动连接于切槽转板,转动支架上侧与切槽转板之间设置有调节丝杆,所述转动支架两侧分别设置有调节导杆和升降丝杆,升降丝杆竖直转动连接于转动支架,升降丝杆上端设置有升降手轮,所述调节导杆上滑动设置有升降导板,升降丝杆螺纹连接于升降导板,升降导板下侧中部固定设置有切槽刀头,转动支架上设置有与切槽刀头相适配的调节通孔,所述工件卡料机构包括加工转板、承板支架、卡料主齿轮、卡料辅齿轮、卡料气缸、转动齿轮、驱动支架、升降支架和升降气缸,所述加工支架一侧竖直固定设置有承板支架,加工转板竖直设置于承板支架上侧,承板支架上设置有与加工转板相适配的圆形结构的转动圆孔,承板支架上沿弧形方向依次水平转动连接有多个承板转轮,加工转板沿承板转轮进行转动,承板转轮两侧分别设置有转动挡板,所述加工转板外侧设置有圆弧形结构的转动齿条,所述加工转板中部水平转动连接有齿轮转轴,齿轮转轴两端分别竖直固定设置有往复齿轮和卡料主齿轮,往复齿轮一侧的加工转板上竖直设置有卡料齿条支架,卡料齿条支架上滑动设置有与往复齿轮啮合连接的卡料齿条,卡料齿条支架一侧端部固定设置有卡料气缸,卡料气缸输出端与卡料齿条端部固定连接,所述卡料主齿轮外侧的加工转板上均匀设置有多个卡料辅齿轮,卡料辅齿轮竖直转动连接于加工转板,卡料主齿轮和卡料辅齿轮啮合连接,所述卡料辅齿轮一侧设置有卡料转板,卡料转板一侧端部与卡料辅齿轮一侧固定连接,卡料转板另一侧端部水平固定设置有卡料压板,所述承板支架上侧的加工支架上竖直固定设置有驱动支架,驱动支架从上至下依次水平转动连接有上输出转轴和下输出转轴,所述下输出转轴两端分别竖直固定设置有辅皮带轮和转动齿轮,转动齿轮与加工转板的转动齿条啮合连接,所述上输出转轴两端分别竖直固定设置有主皮带轮、切槽齿轮和切槽蜗轮,主皮带轮和辅皮带轮之间采用切槽皮带传动连接,所述驱动支架一侧的加工支架上竖直固定设置有升降支架,升降支架一侧水平设置有转换支架,转换支架沿升降支架侧竖直固定设置有转换导板,升降支架两侧分别竖直固定设置有升降导杆,转换导板沿竖直方向滑动设置于升降导杆,所述升降支架下侧竖直向上固定设置有升降气缸,升降气缸输出端与转换导板下侧固定连接,所述转换支架为C型结构,切槽齿轮上侧的转换支架上水平固定设置有齿条平移支架,齿条平移支架内沿水平方向滑动设置有与切槽齿轮相适配的平移齿条,齿条平移支架一侧水平固定设置有切槽气缸,切槽气缸输出端与平移齿条端部固定连接,所述切槽蜗轮下侧的转换支架上水平转动连接有与切槽蜗轮相适配的切槽蜗杆,转换支架一侧水平固定设置有切槽电机,切槽电机带动切槽蜗杆转动。
2.根据权利要求1所述的一种轴套工件内侧弧面切槽装置,其特征在于:所述平移限位开关一侧的加工支架上水平设置有平移调节导槽,平移限位开关与平移调节导槽之间水平设置有调节锁紧拴。
3.根据权利要求1所述的一种轴套工件内侧弧面切槽装置,其特征在于:所述刀头支架沿平移压板端上下两侧分别水平设置有限位挡条,所述刀头支架上下两侧限位挡条之间的间距与平移压板相适配。
4.根据权利要求1所述的一种轴套工件内侧弧面切槽装置,其特征在于:所述刀头支架一侧的同步拉杆外端固定设置有限位挡板。
5.根据权利要求1所述的一种轴套工件内侧弧面切槽装置,其特征在于:所述切槽转板沿平移压板端竖直转动连接有转动导轮。
6.根据权利要求1所述的一种轴套工件内侧弧面切槽装置,其特征在于:所述调节丝杆端部设置有调节手轮,调节丝杆中部螺纹连接有第一套筒,第一套筒铰连接于切槽转板,转动支架上方一侧设置有第二套筒,第二套筒铰连接于转动支架,调节丝杆端部转动连接于第二套筒。
7.根据权利要求1所述的一种轴套工件内侧弧面切槽装置,其特征在于:所述卡料压板沿卡料主齿轮侧为圆弧形表面,卡料压板侧面设置有卡料橡胶层。
8.根据权利要求1所述的一种轴套工件内侧弧面切槽装置,其特征在于:所述卡料主齿轮外侧竖直均匀设置有四个卡料辅齿轮。
CN201910685066.1A 2019-07-27 2019-07-27 一种轴套工件内侧弧面切槽装置 Active CN110560706B (zh)

Priority Applications (3)

Application Number Priority Date Filing Date Title
CN202010252584.7A CN111299710B (zh) 2019-07-27 2019-07-27 一种用于轴套加工的内侧弧面切槽装置
CN202010252583.2A CN111299709B (zh) 2019-07-27 2019-07-27 一种轴套工件内侧弧面切槽装置的使用方法
CN201910685066.1A CN110560706B (zh) 2019-07-27 2019-07-27 一种轴套工件内侧弧面切槽装置

Applications Claiming Priority (1)

Application Number Priority Date Filing Date Title
CN201910685066.1A CN110560706B (zh) 2019-07-27 2019-07-27 一种轴套工件内侧弧面切槽装置

Related Child Applications (2)

Application Number Title Priority Date Filing Date
CN202010252584.7A Division CN111299710B (zh) 2019-07-27 2019-07-27 一种用于轴套加工的内侧弧面切槽装置
CN202010252583.2A Division CN111299709B (zh) 2019-07-27 2019-07-27 一种轴套工件内侧弧面切槽装置的使用方法

Publications (2)

Publication Number Publication Date
CN110560706A CN110560706A (zh) 2019-12-13
CN110560706B true CN110560706B (zh) 2020-06-16

Family

ID=68773833

Family Applications (3)

Application Number Title Priority Date Filing Date
CN201910685066.1A Active CN110560706B (zh) 2019-07-27 2019-07-27 一种轴套工件内侧弧面切槽装置
CN202010252583.2A Active CN111299709B (zh) 2019-07-27 2019-07-27 一种轴套工件内侧弧面切槽装置的使用方法
CN202010252584.7A Active CN111299710B (zh) 2019-07-27 2019-07-27 一种用于轴套加工的内侧弧面切槽装置

Family Applications After (2)

Application Number Title Priority Date Filing Date
CN202010252583.2A Active CN111299709B (zh) 2019-07-27 2019-07-27 一种轴套工件内侧弧面切槽装置的使用方法
CN202010252584.7A Active CN111299710B (zh) 2019-07-27 2019-07-27 一种用于轴套加工的内侧弧面切槽装置

Country Status (1)

Country Link
CN (3) CN110560706B (zh)

Families Citing this family (10)

* Cited by examiner, † Cited by third party
Publication number Priority date Publication date Assignee Title
CN111983731B (zh) * 2020-07-24 2022-01-11 合肥江河建筑有限公司 一种小型水库水雨情自动测报系统
CN112242678B (zh) * 2020-09-23 2022-01-18 安徽华希电力科技有限公司 一种玻璃钢电缆桥架盖板的紧固装置
CN112247637B (zh) * 2020-10-10 2022-03-25 嘉兴量创科技有限公司 一种适于山区隧道中支撑型钢材加工设备
CN112706202B (zh) * 2020-12-24 2025-07-11 海盐三湾塑业有限公司 一种转印膜用压切头
CN114684231B (zh) * 2020-12-31 2023-08-22 中国科学院沈阳计算技术研究所有限公司 一种具有挡料功能的双向手推车
CN113767961B (zh) * 2021-09-14 2022-08-09 大连国富水产食品有限公司 一种水产品加工剖解机构
CN113927053B (zh) * 2021-11-05 2022-10-25 二重(德阳)重型装备有限公司 加工小深孔封闭内圆弧孔壁相贯圆角的刀具及加工方法
CN116423136B (zh) * 2023-06-13 2023-08-29 成都市鸿侠科技有限责任公司 一种前段四内蒙皮切割焊接工装
CN116748538B (zh) * 2023-07-25 2024-01-09 广东亚数智能科技股份有限公司 操作便捷的车床用工件圆弧加工装置
CN120460779B (zh) * 2025-07-14 2025-09-05 南通德玛瑞机械制造有限公司 一种轴套加工用内侧弧面切槽装置

Citations (4)

* Cited by examiner, † Cited by third party
Publication number Priority date Publication date Assignee Title
JPH08336709A (ja) * 1995-06-07 1996-12-24 Mitsubishi Heavy Ind Ltd 製品素材の形状および加工方法
CN108788183A (zh) * 2018-06-15 2018-11-13 宝鸡石油机械有限责任公司 一种钛合金弹性密封支架上环槽的加工方法
CN108890006A (zh) * 2018-09-05 2018-11-27 张家港市纳德轴承有限公司 多工位连续加工的轴承内圈端面开槽装置及其开槽机构
CN109500462A (zh) * 2018-11-29 2019-03-22 广东工业大学 一种间歇式脉冲电解加工装置及内键槽加工方法

Family Cites Families (15)

* Cited by examiner, † Cited by third party
Publication number Priority date Publication date Assignee Title
EP0543055A1 (de) * 1991-11-22 1993-05-26 Ytong Ag Mauerstein
JP2005034952A (ja) * 2003-07-15 2005-02-10 Honda Motor Co Ltd コネクティングロッド用クラッキング溝の加工装置
CN102380625B (zh) * 2011-11-15 2013-04-17 广东石油化工学院 一种切削内圆弧曲面的专用数控车床
CN103121132B (zh) * 2011-11-18 2015-04-29 广西玉柴机器股份有限公司 气缸盖喷油器孔环槽加工工具
CN103586704B (zh) * 2013-08-09 2016-06-01 浙江吉利罗佑发动机有限公司 气缸盖凸轮轴油孔倒角装置
CN203696019U (zh) * 2014-01-22 2014-07-09 襄阳新烽火数控机床有限公司 差速器壳内球面加工装置
CN206316429U (zh) * 2016-12-27 2017-07-11 宁夏诚德汽车轴承制造有限公司 角接触关节轴承外圈滚道油槽铣切机
CN108284252B (zh) * 2017-11-29 2019-11-05 桐庐方圆锁业有限公司 一种挂锁锁梁的切槽方法
CN207840191U (zh) * 2017-12-12 2018-09-11 苏州茂隆电梯配件有限公司 一种锚栓套管切槽设备
CN208162777U (zh) * 2018-04-28 2018-11-30 安徽德隆机械制造有限公司 一种切槽机
CN108655503A (zh) * 2018-05-05 2018-10-16 安徽傲宇数控科技有限公司 一种五轴水切割头装置
CN108946109A (zh) * 2018-06-23 2018-12-07 张帼威 一种用于板材的链式升降机构
CN108687551A (zh) * 2018-06-23 2018-10-23 晋正正 一种工件连续切槽机构
CN108861542A (zh) * 2018-06-23 2018-11-23 晋正正 一种轴套连续垂直提升机构
CN109909522A (zh) * 2019-03-27 2019-06-21 杭州初始服饰有限公司 一种铝合金模板设备

Patent Citations (4)

* Cited by examiner, † Cited by third party
Publication number Priority date Publication date Assignee Title
JPH08336709A (ja) * 1995-06-07 1996-12-24 Mitsubishi Heavy Ind Ltd 製品素材の形状および加工方法
CN108788183A (zh) * 2018-06-15 2018-11-13 宝鸡石油机械有限责任公司 一种钛合金弹性密封支架上环槽的加工方法
CN108890006A (zh) * 2018-09-05 2018-11-27 张家港市纳德轴承有限公司 多工位连续加工的轴承内圈端面开槽装置及其开槽机构
CN109500462A (zh) * 2018-11-29 2019-03-22 广东工业大学 一种间歇式脉冲电解加工装置及内键槽加工方法

Also Published As

Publication number Publication date
CN110560706A (zh) 2019-12-13
CN111299710A (zh) 2020-06-19
CN111299710B (zh) 2021-05-04
CN111299709A (zh) 2020-06-19
CN111299709B (zh) 2021-06-11

Similar Documents

Publication Publication Date Title
CN110560706B (zh) 一种轴套工件内侧弧面切槽装置
CN110586962B (zh) 一种用于球面工件的切削加工装置
CN101575797B (zh) 半自动双刀伞面压裁机
CN220903015U (zh) 一种用于手柄多方位加工的定位治具
CN203738929U (zh) 一种数控双面成型机
CN211248432U (zh) 一种钢板加工便于限位的钻孔装置
CN209793982U (zh) 一种木衣架仿形加工装置
CN220005562U (zh) 一种型材生产用冲压设备
CN110666054A (zh) 一种机电一体化冲加工车床固定结构
CN101811266B (zh) 板材进料装置的滚轮调整压紧机构
CN205528858U (zh) 一种皮革切割机
CN111421182B (zh) 一种铝型材电动推杆开槽机
CN222115371U (zh) 一种具备异形木材夹紧功能的推台锯
CN222001330U (zh) 一种铝型材整形机
CN116460185B (zh) 一种汽车配件冲压作业用翻边装置
CN219465525U (zh) 一种汽车轮毂模具制造用铣床
CN220427540U (zh) 一种铣床加工辅助支撑夹具
CN222768526U (zh) 一种高精度泡沫包装用的裁切装置
CN118989562B (zh) 一种橱柜门铝材外框生产系统
CN206703808U (zh) 多辊平板圆筒压花机
CN216729023U (zh) 一种旋压装置用导轨进给复合式多旋轮机构
CN120755691B (zh) 一种榨油机榨螺外螺旋加工设备
CN222932901U (zh) 一种剪板机用夹持装置
CN220903413U (zh) 一种纸质说明书加工用边料裁剪装置
CN223431324U (zh) 一种带双向送料机构的塔吊行星齿轮加工装置

Legal Events

Date Code Title Description
PB01 Publication
PB01 Publication
SE01 Entry into force of request for substantive examination
SE01 Entry into force of request for substantive examination
TA01 Transfer of patent application right
TA01 Transfer of patent application right

Effective date of registration: 20200522

Address after: 215500 Jiangsu city of Suzhou province Changshou City Mei Li Zhen Zhuang Jing Village

Applicant after: Changshu Wanshun Bearing Co., Ltd

Address before: 314500 Shidai Jiayuan, Xueqian Road, Wutong street, Tongxiang City, Jiaxing City, Zhejiang Province

Applicant before: Huang Mingzhu

GR01 Patent grant
GR01 Patent grant