CN109998901B - Traditional Chinese medicine fumigation massage treatment bed for obstetrics and gynecology department - Google Patents

Traditional Chinese medicine fumigation massage treatment bed for obstetrics and gynecology department Download PDF

Info

Publication number
CN109998901B
CN109998901B CN201910339607.5A CN201910339607A CN109998901B CN 109998901 B CN109998901 B CN 109998901B CN 201910339607 A CN201910339607 A CN 201910339607A CN 109998901 B CN109998901 B CN 109998901B
Authority
CN
China
Prior art keywords
treatment bed
mattress
bed
massage
cover
Prior art date
Legal status (The legal status is an assumption and is not a legal conclusion. Google has not performed a legal analysis and makes no representation as to the accuracy of the status listed.)
Active
Application number
CN201910339607.5A
Other languages
Chinese (zh)
Other versions
CN109998901A (en
Inventor
郭晓敏
李丽萍
黄娜
代雁凌
杨春燕
张荷兰
程俊美
Current Assignee (The listed assignees may be inaccurate. Google has not performed a legal analysis and makes no representation or warranty as to the accuracy of the list.)
Chuxiong Hengchuntang Biotechnology Co.,Ltd.
Original Assignee
Chuxiong Medical College
Priority date (The priority date is an assumption and is not a legal conclusion. Google has not performed a legal analysis and makes no representation as to the accuracy of the date listed.)
Filing date
Publication date
Application filed by Chuxiong Medical College filed Critical Chuxiong Medical College
Priority to CN201910339607.5A priority Critical patent/CN109998901B/en
Publication of CN109998901A publication Critical patent/CN109998901A/en
Application granted granted Critical
Publication of CN109998901B publication Critical patent/CN109998901B/en
Active legal-status Critical Current
Anticipated expiration legal-status Critical

Links

Images

Classifications

    • AHUMAN NECESSITIES
    • A61MEDICAL OR VETERINARY SCIENCE; HYGIENE
    • A61GTRANSPORT, PERSONAL CONVEYANCES, OR ACCOMMODATION SPECIALLY ADAPTED FOR PATIENTS OR DISABLED PERSONS; OPERATING TABLES OR CHAIRS; CHAIRS FOR DENTISTRY; FUNERAL DEVICES
    • A61G13/00Operating tables; Auxiliary appliances therefor
    • A61G13/009Physiotherapeutic tables, beds or platforms; Chiropractic or osteopathic tables
    • AHUMAN NECESSITIES
    • A61MEDICAL OR VETERINARY SCIENCE; HYGIENE
    • A61GTRANSPORT, PERSONAL CONVEYANCES, OR ACCOMMODATION SPECIALLY ADAPTED FOR PATIENTS OR DISABLED PERSONS; OPERATING TABLES OR CHAIRS; CHAIRS FOR DENTISTRY; FUNERAL DEVICES
    • A61G13/00Operating tables; Auxiliary appliances therefor
    • A61G13/10Parts, details or accessories
    • AHUMAN NECESSITIES
    • A61MEDICAL OR VETERINARY SCIENCE; HYGIENE
    • A61HPHYSICAL THERAPY APPARATUS, e.g. DEVICES FOR LOCATING OR STIMULATING REFLEX POINTS IN THE BODY; ARTIFICIAL RESPIRATION; MASSAGE; BATHING DEVICES FOR SPECIAL THERAPEUTIC OR HYGIENIC PURPOSES OR SPECIFIC PARTS OF THE BODY
    • A61H15/00Massage by means of rollers, balls, e.g. inflatable, chains, or roller chains
    • A61H15/0078Massage by means of rollers, balls, e.g. inflatable, chains, or roller chains power-driven
    • AHUMAN NECESSITIES
    • A61MEDICAL OR VETERINARY SCIENCE; HYGIENE
    • A61HPHYSICAL THERAPY APPARATUS, e.g. DEVICES FOR LOCATING OR STIMULATING REFLEX POINTS IN THE BODY; ARTIFICIAL RESPIRATION; MASSAGE; BATHING DEVICES FOR SPECIAL THERAPEUTIC OR HYGIENIC PURPOSES OR SPECIFIC PARTS OF THE BODY
    • A61H15/00Massage by means of rollers, balls, e.g. inflatable, chains, or roller chains
    • A61H15/02Massage by means of rollers, balls, e.g. inflatable, chains, or roller chains adapted for simultaneous treatment with light, heat or drugs
    • AHUMAN NECESSITIES
    • A61MEDICAL OR VETERINARY SCIENCE; HYGIENE
    • A61HPHYSICAL THERAPY APPARATUS, e.g. DEVICES FOR LOCATING OR STIMULATING REFLEX POINTS IN THE BODY; ARTIFICIAL RESPIRATION; MASSAGE; BATHING DEVICES FOR SPECIAL THERAPEUTIC OR HYGIENIC PURPOSES OR SPECIFIC PARTS OF THE BODY
    • A61H33/00Bathing devices for special therapeutic or hygienic purposes
    • A61H33/06Artificial hot-air or cold-air baths; Steam or gas baths or douches, e.g. sauna or Finnish baths
    • AHUMAN NECESSITIES
    • A61MEDICAL OR VETERINARY SCIENCE; HYGIENE
    • A61HPHYSICAL THERAPY APPARATUS, e.g. DEVICES FOR LOCATING OR STIMULATING REFLEX POINTS IN THE BODY; ARTIFICIAL RESPIRATION; MASSAGE; BATHING DEVICES FOR SPECIAL THERAPEUTIC OR HYGIENIC PURPOSES OR SPECIFIC PARTS OF THE BODY
    • A61H7/00Devices for suction-kneading massage; Devices for massaging the skin by rubbing or brushing not otherwise provided for
    • A61H7/007Kneading
    • AHUMAN NECESSITIES
    • A61MEDICAL OR VETERINARY SCIENCE; HYGIENE
    • A61MDEVICES FOR INTRODUCING MEDIA INTO, OR ONTO, THE BODY; DEVICES FOR TRANSDUCING BODY MEDIA OR FOR TAKING MEDIA FROM THE BODY; DEVICES FOR PRODUCING OR ENDING SLEEP OR STUPOR
    • A61M37/00Other apparatus for introducing media into the body; Percutany, i.e. introducing medicines into the body by diffusion through the skin
    • AHUMAN NECESSITIES
    • A61MEDICAL OR VETERINARY SCIENCE; HYGIENE
    • A61GTRANSPORT, PERSONAL CONVEYANCES, OR ACCOMMODATION SPECIALLY ADAPTED FOR PATIENTS OR DISABLED PERSONS; OPERATING TABLES OR CHAIRS; CHAIRS FOR DENTISTRY; FUNERAL DEVICES
    • A61G2200/00Information related to the kind of patient or his position
    • A61G2200/10Type of patient
    • A61G2200/12Women
    • AHUMAN NECESSITIES
    • A61MEDICAL OR VETERINARY SCIENCE; HYGIENE
    • A61GTRANSPORT, PERSONAL CONVEYANCES, OR ACCOMMODATION SPECIALLY ADAPTED FOR PATIENTS OR DISABLED PERSONS; OPERATING TABLES OR CHAIRS; CHAIRS FOR DENTISTRY; FUNERAL DEVICES
    • A61G2203/00General characteristics of devices
    • A61G2203/30General characteristics of devices characterised by sensor means
    • A61G2203/46General characteristics of devices characterised by sensor means for temperature
    • AHUMAN NECESSITIES
    • A61MEDICAL OR VETERINARY SCIENCE; HYGIENE
    • A61GTRANSPORT, PERSONAL CONVEYANCES, OR ACCOMMODATION SPECIALLY ADAPTED FOR PATIENTS OR DISABLED PERSONS; OPERATING TABLES OR CHAIRS; CHAIRS FOR DENTISTRY; FUNERAL DEVICES
    • A61G2210/00Devices for specific treatment or diagnosis
    • A61G2210/90Devices for specific treatment or diagnosis for heating
    • AHUMAN NECESSITIES
    • A61MEDICAL OR VETERINARY SCIENCE; HYGIENE
    • A61HPHYSICAL THERAPY APPARATUS, e.g. DEVICES FOR LOCATING OR STIMULATING REFLEX POINTS IN THE BODY; ARTIFICIAL RESPIRATION; MASSAGE; BATHING DEVICES FOR SPECIAL THERAPEUTIC OR HYGIENIC PURPOSES OR SPECIFIC PARTS OF THE BODY
    • A61H33/00Bathing devices for special therapeutic or hygienic purposes
    • A61H33/06Artificial hot-air or cold-air baths; Steam or gas baths or douches, e.g. sauna or Finnish baths
    • A61H2033/061Artificial hot-air baths
    • AHUMAN NECESSITIES
    • A61MEDICAL OR VETERINARY SCIENCE; HYGIENE
    • A61HPHYSICAL THERAPY APPARATUS, e.g. DEVICES FOR LOCATING OR STIMULATING REFLEX POINTS IN THE BODY; ARTIFICIAL RESPIRATION; MASSAGE; BATHING DEVICES FOR SPECIAL THERAPEUTIC OR HYGIENIC PURPOSES OR SPECIFIC PARTS OF THE BODY
    • A61H33/00Bathing devices for special therapeutic or hygienic purposes
    • A61H33/06Artificial hot-air or cold-air baths; Steam or gas baths or douches, e.g. sauna or Finnish baths
    • A61H2033/068Steam baths
    • AHUMAN NECESSITIES
    • A61MEDICAL OR VETERINARY SCIENCE; HYGIENE
    • A61HPHYSICAL THERAPY APPARATUS, e.g. DEVICES FOR LOCATING OR STIMULATING REFLEX POINTS IN THE BODY; ARTIFICIAL RESPIRATION; MASSAGE; BATHING DEVICES FOR SPECIAL THERAPEUTIC OR HYGIENIC PURPOSES OR SPECIFIC PARTS OF THE BODY
    • A61H2201/00Characteristics of apparatus not provided for in the preceding codes
    • A61H2201/02Characteristics of apparatus not provided for in the preceding codes heated or cooled
    • A61H2201/0207Characteristics of apparatus not provided for in the preceding codes heated or cooled heated
    • AHUMAN NECESSITIES
    • A61MEDICAL OR VETERINARY SCIENCE; HYGIENE
    • A61HPHYSICAL THERAPY APPARATUS, e.g. DEVICES FOR LOCATING OR STIMULATING REFLEX POINTS IN THE BODY; ARTIFICIAL RESPIRATION; MASSAGE; BATHING DEVICES FOR SPECIAL THERAPEUTIC OR HYGIENIC PURPOSES OR SPECIFIC PARTS OF THE BODY
    • A61H2201/00Characteristics of apparatus not provided for in the preceding codes
    • A61H2201/50Control means thereof
    • A61H2201/5058Sensors or detectors
    • A61H2201/5082Temperature sensors
    • AHUMAN NECESSITIES
    • A61MEDICAL OR VETERINARY SCIENCE; HYGIENE
    • A61HPHYSICAL THERAPY APPARATUS, e.g. DEVICES FOR LOCATING OR STIMULATING REFLEX POINTS IN THE BODY; ARTIFICIAL RESPIRATION; MASSAGE; BATHING DEVICES FOR SPECIAL THERAPEUTIC OR HYGIENIC PURPOSES OR SPECIFIC PARTS OF THE BODY
    • A61H2205/00Devices for specific parts of the body
    • A61H2205/08Trunk
    • A61H2205/083Abdomen
    • AHUMAN NECESSITIES
    • A61MEDICAL OR VETERINARY SCIENCE; HYGIENE
    • A61HPHYSICAL THERAPY APPARATUS, e.g. DEVICES FOR LOCATING OR STIMULATING REFLEX POINTS IN THE BODY; ARTIFICIAL RESPIRATION; MASSAGE; BATHING DEVICES FOR SPECIAL THERAPEUTIC OR HYGIENIC PURPOSES OR SPECIFIC PARTS OF THE BODY
    • A61H2205/00Devices for specific parts of the body
    • A61H2205/12Feet
    • A61H2205/125Foot reflex zones
    • AHUMAN NECESSITIES
    • A61MEDICAL OR VETERINARY SCIENCE; HYGIENE
    • A61MDEVICES FOR INTRODUCING MEDIA INTO, OR ONTO, THE BODY; DEVICES FOR TRANSDUCING BODY MEDIA OR FOR TAKING MEDIA FROM THE BODY; DEVICES FOR PRODUCING OR ENDING SLEEP OR STUPOR
    • A61M37/00Other apparatus for introducing media into the body; Percutany, i.e. introducing medicines into the body by diffusion through the skin
    • A61M2037/0007Other apparatus for introducing media into the body; Percutany, i.e. introducing medicines into the body by diffusion through the skin having means for enhancing the permeation of substances through the epidermis, e.g. using suction or depression, electric or magnetic fields, sound waves or chemical agents
    • YGENERAL TAGGING OF NEW TECHNOLOGICAL DEVELOPMENTS; GENERAL TAGGING OF CROSS-SECTIONAL TECHNOLOGIES SPANNING OVER SEVERAL SECTIONS OF THE IPC; TECHNICAL SUBJECTS COVERED BY FORMER USPC CROSS-REFERENCE ART COLLECTIONS [XRACs] AND DIGESTS
    • Y02TECHNOLOGIES OR APPLICATIONS FOR MITIGATION OR ADAPTATION AGAINST CLIMATE CHANGE
    • Y02ATECHNOLOGIES FOR ADAPTATION TO CLIMATE CHANGE
    • Y02A50/00TECHNOLOGIES FOR ADAPTATION TO CLIMATE CHANGE in human health protection, e.g. against extreme weather
    • Y02A50/30Against vector-borne diseases, e.g. mosquito-borne, fly-borne, tick-borne or waterborne diseases whose impact is exacerbated by climate change

Landscapes

  • Health & Medical Sciences (AREA)
  • Life Sciences & Earth Sciences (AREA)
  • Public Health (AREA)
  • Animal Behavior & Ethology (AREA)
  • General Health & Medical Sciences (AREA)
  • Veterinary Medicine (AREA)
  • Physical Education & Sports Medicine (AREA)
  • Rehabilitation Therapy (AREA)
  • Engineering & Computer Science (AREA)
  • Epidemiology (AREA)
  • Pain & Pain Management (AREA)
  • Biomedical Technology (AREA)
  • Dermatology (AREA)
  • Bioinformatics & Cheminformatics (AREA)
  • Medical Informatics (AREA)
  • Anesthesiology (AREA)
  • Heart & Thoracic Surgery (AREA)
  • Hematology (AREA)
  • Biophysics (AREA)
  • Orthopedic Medicine & Surgery (AREA)
  • Massaging Devices (AREA)
  • Percussion Or Vibration Massage (AREA)

Abstract

The invention discloses a traditional Chinese medicine fumigation massage treatment bed for obstetrics and gynecology, which is characterized in that a treatment bed, a cover cap and a mattress are fixedly arranged on a bed surface of the treatment bed, one side of the cover cap is hinged with one side of the bed surface of the treatment bed and covers the upper part of the mattress to form a three-surface sealed space with the bed surface, one end of the cover cap is provided with an arch opening or a square opening, the bottom of the bed surface of the treatment bed is fixedly provided with a heating box, the mattress and/or the cover cap is provided with a plurality of ventilation holes, the top or the upper side part of the heating box is communicated with a ventilation pipe, the other end of the ventilation pipe is communicated with the ventilation holes, the middle part of the bed surface of the treatment bed is provided with a massage device, the upper end of the arch opening or the square opening of the cover cap is fixedly provided with a sagging heat-preserving curtain, and the lower end of the heat-preserving curtain is attached to the mattress. The cover cap with the heat preservation curtain and the bed surface of the treatment bed form a closed space, and the massage device in the middle part is used for massaging the abdomen while fumigating the patient with traditional Chinese medicine, so that the effective permeation of medicine ions is accelerated, and the medicine efficacy directly reaches the focus.

Description

一种妇产科中药熏蒸按摩治疗床A traditional Chinese medicine fumigation massage treatment bed for obstetrics and gynecology

技术领域technical field

本发明属于医疗器械技术领域,具体涉及一种结构简单、操作简便、安全可靠、熏蒸效果好的妇产科中药熏蒸按摩治疗床。The invention belongs to the technical field of medical devices, and in particular relates to a traditional Chinese medicine fumigation and massage treatment bed for obstetrics and gynecology with simple structure, convenient operation, safety and reliability, and good fumigation effect.

背景技术Background technique

中药熏蒸治疗又叫热疗(Hyperthermia),是以中医理论为指导,利用药物煎煮后所产生的蒸汽,通过熏蒸机体的同时通过皮肤给药,蒸汽热敷使全身或患病部位的毛孔张开、毛细血管网开放,在促进组织血液循环的同时,在蒸汽环境内,肌体内邪外出,而且药物离子通过对病患部位和经络病变区进行有效渗透,药力直达病灶,使得药物在患部保持较高的浓度,从而增强新陈代谢和白细胞的吞噬功能,具有显著、强大、持久的生理、药理效应,疗效比较确切,是中药外治疗法的重要分支。Traditional Chinese medicine fumigation treatment is also called hyperthermia. It is guided by the theory of traditional Chinese medicine. It uses the steam generated after decocting the medicine to fumigate the body and at the same time administer medicine through the skin. The steam heat compresses the pores of the whole body or the affected part to open. , The capillary network is open, while promoting the blood circulation of the tissue, in the steam environment, the evils in the human body go out, and the drug ions can effectively penetrate the diseased part and meridian lesion area, and the drug can reach the focus directly, so that the drug can be kept in the affected part for a long time. High concentration, thereby enhancing metabolism and phagocytosis of white blood cells, has significant, powerful, and lasting physiological and pharmacological effects, and the curative effect is relatively accurate. It is an important branch of external therapy of traditional Chinese medicine.

妇科疾病困扰着绝大多数女性,产妇在分娩过后经常会留下一些产后的疾病,如果不进行及时的护理和治疗,将会对产妇的身体造成极大的健康隐患,尤其需要对妇科病女性和产妇的子宫附件部位进行护理和治疗。在妇科疾病的治疗过程中,对患者的病患部位进行熏蒸治疗由于具有治疗效果好、相比常规治疗手段更加舒适,且不会对患者造成太大的心理压力,因此是一种常见的治疗方案。但是,现有的熏蒸治疗设备结构复杂,功能单一,药物蒸汽热量不均匀,无法对妇产科病患的腹部子宫部位进行重点护理。此外,现有技术中的熏蒸治疗设备为了兼顾密封和患者的舒适性,一般在刚性罩盖的前端设置让出颈部的开口结构,最多在开口上设置诸如密封帘的结构来保持熏蒸箱内的温度及湿度,但过小的刚性开口结构在装置故障使得熏蒸箱内温度过高时,罩盖在没有外力协助下难以打开时,患者难以自行脱离高温环境,设备的安全性不足。Gynecological diseases plague the vast majority of women. After giving birth, mothers often leave some postpartum diseases. If timely care and treatment are not carried out, it will cause great health hazards to the mother's body, especially for women with gynecological diseases. Nursing and treatment of the uterine appendages of the puerpera. In the treatment of gynecological diseases, fumigation of the patient's affected part is a common treatment because it has a good therapeutic effect, is more comfortable than conventional treatment methods, and does not cause too much psychological pressure on the patient. plan. However, the existing fumigation treatment equipment has complex structure, single function, uneven heat of medicine steam, and cannot provide key care for the abdomen and uterus of obstetrics and gynecology patients. In addition, the fumigation treatment equipment in the prior art is generally provided with an opening structure for the neck at the front end of the rigid cover in order to take into account both sealing and patient comfort, and at most a structure such as a sealing curtain is provided on the opening to keep the inside of the fumigation box However, if the rigid opening structure is too small, when the temperature in the fumigation box is too high due to device failure, the cover is difficult to open without external assistance, and it is difficult for patients to escape from the high temperature environment by themselves, and the safety of the equipment is insufficient.

发明内容Contents of the invention

本发明针对现有技术存在的问题及不足,提供了一种结构简单、操作简便、安全可靠、熏蒸效果好的妇产科中药熏蒸按摩治疗床。Aiming at the problems and deficiencies of the prior art, the present invention provides a traditional Chinese medicine fumigation and massage treatment bed for obstetrics and gynecology with simple structure, convenient operation, safety and reliability, and good fumigation effect.

本发明是这样实现的:包括治疗床、罩盖、床垫,所述床垫固定设置于治疗床的床面,所述罩盖一侧与治疗床床面的一侧铰接且罩设在床垫的上方并与床面形成三面密封的空间,所述罩盖的一端设置有拱形开口或方形开口,所述治疗床的床面底部固定设置有加热箱,所述床垫和/或罩盖设置有多个通气孔,所述加热箱顶部或上侧部连通设置有通气管,所述通气管的另一端与通气孔连通,所述治疗床床面的中部设置有推拿装置,所述罩盖的拱形开口或方形开口的上端固定设置有下垂的保温帘,所述保温帘的下端与床垫贴合。The present invention is achieved in the following way: comprising a treatment bed, a cover, and a mattress, the mattress is fixedly arranged on the bed surface of the treatment bed, one side of the cover is hinged to one side of the treatment bed surface and the cover is arranged on the bed Above the mattress and form a three-sided sealed space with the bed surface, one end of the cover is provided with an arched opening or a square opening, the bottom of the bed surface of the treatment bed is fixedly provided with a heating box, the mattress and/or cover The cover is provided with a plurality of ventilation holes, the top or upper side of the heating box is connected with a ventilation pipe, the other end of the ventilation pipe is connected with the ventilation holes, and the middle part of the treatment bed surface is provided with a massage device. The upper end of the arched opening or the square opening of the cover is fixedly provided with a drooping thermal insulation curtain, and the lower end of the thermal insulation curtain is attached to the mattress.

本发明的有益效果:Beneficial effects of the present invention:

1、本发明带保温帘的罩盖与治疗床的床面形成密闭空间,患者位于床垫上的罩盖内,患者的皮肤熏蒸面积大,药物离子吸收效果好。1. The cover with thermal insulation curtain of the present invention forms a closed space with the bed surface of the treatment bed. The patient is located in the cover on the mattress. The fumigation area of the patient's skin is large and the absorption effect of drug ions is good.

2、本发明在熏蒸的同时辅以中部的推拿装置,能在对妇产科患者进行中药熏蒸的同时对腹部进行按摩、推拿,从而能加速药物离子的有效渗透,使得药力直达病灶,药物在患部保持较高的浓度,有效提高治疗效果。2. The present invention is supplemented with a massage device in the middle while fumigation, which can massage and massage the abdomen while fumigation of traditional Chinese medicine is performed on obstetrics and gynecology patients, so as to accelerate the effective penetration of drug ions, so that the drug can reach the focus directly, and the drug can The affected area maintains a high concentration, effectively improving the therapeutic effect.

3、本发明的罩盖设置拱形开口或方形开口,在拱形开口或方形开口设置下垂且下端与床垫贴合的保温帘,当治疗床故障使罩盖内温度过高且罩盖无人协助打开时,患者能够直接掀开保温帘从罩盖的拱形开口或方形开口处脱离,比现有的刚性全密闭式熏蒸设备安全性更好。3. The cover of the present invention is provided with an arched opening or a square opening, and a thermal insulation curtain is set at the arched opening or the square opening and the lower end is fitted to the mattress. When the treatment bed fails, the temperature inside the cover is too high and the cover is not When the person assists in opening, the patient can directly open the thermal curtain and escape from the arched opening or square opening of the cover, which is safer than the existing rigid fully enclosed fumigation equipment.

附图说明Description of drawings

图1为本发明立体结构示意图;Fig. 1 is a schematic diagram of the three-dimensional structure of the present invention;

图2为图1之纵向剖视图;Figure 2 is a longitudinal sectional view of Figure 1;

图3为本发明之推拿装置结构示意图;Fig. 3 is a structural schematic diagram of the massage device of the present invention;

图4为本发明之推拿装置连接关系剖视图;Fig. 4 is a sectional view of the connection relationship of the massage device of the present invention;

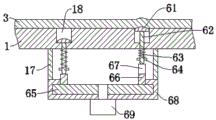
图中:1-治疗床,2-罩盖,3-床垫,4-头枕,5-加热箱,6-推拿装置,61-推拿块,62-压杆,63-压缩弹簧,64-限位杆,65-转盘,66-转环,67-凸缘,68-固定套,69-电机,7-通气孔,8-通气孔,9-保温帘,10-箱门,11-挂钩,12-药袋,13-加热管,14-排水管,15-阀门,16-温控传感器,17-固定杆,18-收纳槽,19-弧形开口。In the figure: 1-treatment bed, 2-cover, 3-mattress, 4-headrest, 5-heating box, 6-massage device, 61-massage block, 62-pressure bar, 63-compression spring, 64- Limit rod, 65-turntable, 66-rotary ring, 67-flange, 68-fixed sleeve, 69-motor, 7-ventilation hole, 8-ventilation hole, 9-insulation curtain, 10-box door, 11-hook , 12-medicine bag, 13-heating pipe, 14-drainage pipe, 15-valve, 16-temperature control sensor, 17-fixing rod, 18-storage slot, 19-arc opening.

具体实施方式Detailed ways

下面结合附图和实施例对本发明作进一步的说明,但不以任何方式对本发明加以限制,基于本发明教导所作的任何变更或改进,均属于本发明的保护范围。The present invention will be further described below in conjunction with the accompanying drawings and examples, but the present invention is not limited in any way. Any changes or improvements made based on the teaching of the present invention belong to the protection scope of the present invention.

如图1至图4所示,本发明包括治疗床1、罩盖2、床垫3,所述床垫3固定设置于治疗床1的床面,所述罩盖2一侧与治疗床1床面的一侧铰接且罩设在床垫3的上方并与床面形成三面密封的空间,所述罩盖2的一端设置有拱形开口或方形开口,所述治疗床1的床面底部固定设置有加热箱5,所述床垫3和/或罩盖2设置有多个通气孔7,所述加热箱5顶部或上侧部连通设置有通气管8,所述通气管8的另一端与通气孔7连通,所述治疗床1床面的中部设置有推拿装置6,所述罩盖2的拱形开口或方形开口的上端固定设置有下垂的保温帘9,所述保温帘9的下端与床垫3贴合。As shown in Figures 1 to 4, the present invention includes a treatment couch 1, a cover 2, and a mattress 3, the mattress 3 is fixedly arranged on the bed surface of the treatment couch 1, and one side of the cover 2 is connected to the treatment couch 1. One side of the bed surface is hinged and covered on the top of the mattress 3 and forms a three-sided sealed space with the bed surface. One end of the cover 2 is provided with an arched opening or a square opening. The bottom of the bed surface of the treatment bed 1 A heating box 5 is fixedly arranged, and the mattress 3 and/or cover 2 are provided with a plurality of ventilation holes 7, and the top or upper side of the heating box 5 is communicated with a ventilation pipe 8, and the other part of the ventilation pipe 8 One end communicates with the ventilation hole 7, the middle part of the bed surface of the treatment bed 1 is provided with a massage device 6, and the upper end of the arched opening or the square opening of the cover 2 is fixedly provided with a drooping heat preservation curtain 9, and the heat preservation curtain 9 The lower end of the mattress 3 fits.

所述罩盖2的拱形开口或方形开口上的保温帘9底部设置有弧形开口19,所述保温帘9为相互紧贴的多条长方体结构或横向可折叠的整体结构,所述床垫3在罩盖2的拱形开口或方形开口对应位置设置有永磁体,所述保温帘9的底端镶嵌有磁性密封橡胶。The arched opening of the cover 2 or the bottom of the thermal insulation curtain 9 on the square opening is provided with an arc-shaped opening 19, and the thermal insulation curtain 9 is a plurality of cuboid structures closely attached to each other or a horizontally foldable overall structure. The pad 3 is provided with a permanent magnet at the corresponding position of the arched opening or the square opening of the cover 2, and the bottom end of the thermal insulation curtain 9 is inlaid with magnetic sealing rubber.

所述加热箱5底板固定设置有加热管13,所述加热箱5一侧铰接有箱门10,所述箱门10内壁固定设置挂钩11,所述加热箱5一侧底部固定连通排水管14,所述排水管14上设置阀门15。The bottom plate of the heating box 5 is fixedly provided with a heating pipe 13, and one side of the heating box 5 is hinged with a box door 10, and the inner wall of the box door 10 is fixedly provided with a hook 11, and the bottom of one side of the heating box 5 is fixedly connected to a drain pipe 14 , a valve 15 is set on the drain pipe 14 .

所述箱门10与加热箱5的配合面间固定设置有密封圈,所述挂钩11上悬挂药袋12,所述挂钩11到加热箱5底部的距离大于药袋12的悬挂高度。A sealing ring is fixedly arranged between the mating surfaces of the box door 10 and the heating box 5 , and the medicine bag 12 is hung on the hook 11 , and the distance from the hook 11 to the bottom of the heating box 5 is greater than the hanging height of the medicine bag 12 .

所述罩盖2的底部设置有与治疗床1的床面相配合的密封胶条。The bottom of the cover 2 is provided with a sealing rubber strip matched with the bed surface of the treatment bed 1 .

所述保温帘9的多条长方体的两侧或重叠面固定设置有磁极相反的永磁体。Permanent magnets with opposite magnetic poles are fixedly arranged on both sides or overlapping surfaces of the plurality of cuboids of the thermal insulation curtain 9 .

本发明还包括设置于治疗床1床面上的床垫3床头侧并向罩盖2的拱形开口或方形开口外延伸的头枕4。The present invention also includes a headrest 4 arranged on the bedside of the mattress 3 on the bed surface of the treatment bed 1 and extending toward the arched or square opening of the cover 2 .

所述罩盖2呈弧形或三角形结构,所述罩盖2弧形内壁的顶部或三角形内壁的根部设置有水平纵向贯穿的第一导流槽,所述罩盖2内壁两侧还平行设置有多条与第一导流槽垂直且一端与第一导流槽连通的第二导流槽,所述治疗床1的床面在床垫3的两侧设置有引流孔,所述第二导流槽的另一端延伸至罩盖2的边缘并与引流孔相通。The cover 2 has an arc-shaped or triangular structure, and the top of the arc-shaped inner wall of the cover 2 or the root of the triangular inner wall is provided with a first diversion groove that runs through horizontally and longitudinally, and the two sides of the inner wall of the cover 2 are also arranged in parallel There are a plurality of second diversion grooves perpendicular to the first diversion groove and one end communicated with the first diversion groove, the bed surface of the treatment bed 1 is provided with drainage holes on both sides of the mattress 3, the second The other end of the diversion groove extends to the edge of the cover 2 and communicates with the diversion hole.

所述治疗床1内设置有一端与引流孔连通且另一端与加热箱5或废液箱连通的引流管。The treatment couch 1 is provided with a drainage tube with one end in communication with the drainage hole and the other end in communication with the heating box 5 or the waste liquid tank.

所述罩盖2内壁和/或床垫3内设置有温控传感器16,所述治疗床1的床面底部设置有温控装置,所述温控传感器16与温控装置的信号输入端电连接,所述温控装置的控制端与加热管13连接或与加热管13的控制开关连接。The inner wall of the cover 2 and/or the mattress 3 are provided with a temperature control sensor 16, and the bottom of the treatment bed 1 is provided with a temperature control device, and the temperature control sensor 16 is electrically connected to the signal input terminal of the temperature control device. The control end of the temperature control device is connected to the heating pipe 13 or connected to the control switch of the heating pipe 13 .

所述推拿装置6包括固定套68,所述固定套68的上端固定设置有多个固定杆17,所述固定杆17一端与治疗床1的底部固定连接,所述固定套68内转动套接有转盘65,所述固定套68的底部固定设置有电机69,所述电机69的转轴转动贯穿固定套68并与转盘65同轴固定连接,所述转盘65的顶部固定设置有转环66,所述转环66的顶部固定设置有平滑过渡的凸缘67,所述治疗床1的床面设置有多个收纳槽18,所述收纳槽18内滑动卡接有推拿块61,所述推拿块61的底部固定连接有压杆62,所述压杆62的下端贯穿治疗床1的床面并与凸缘67的顶面滑动连接,所述压杆62靠近转环66的一端外壁固定设置有限位杆64,所述压杆62在限位杆64与治疗床1的床面底部间套接有压缩弹簧63。The massage device 6 includes a fixed sleeve 68, the upper end of the fixed sleeve 68 is fixedly provided with a plurality of fixed rods 17, one end of the fixed rods 17 is fixedly connected with the bottom of the treatment bed 1, and the fixed sleeve 68 is rotated and socketed There is a turntable 65, the bottom of the fixed sleeve 68 is fixedly provided with a motor 69, the rotating shaft of the motor 69 runs through the fixed sleeve 68 and is coaxially fixedly connected with the turntable 65, and the top of the turntable 65 is fixedly provided with a swivel 66, The top of the swivel 66 is fixed with a smooth transition flange 67, and the bed surface of the treatment bed 1 is provided with a plurality of receiving grooves 18, and a massage block 61 is slidably engaged in the receiving grooves 18. The bottom of the block 61 is fixedly connected with a pressing rod 62, the lower end of which is inserted through the bed surface of the treatment bed 1 and is slidably connected with the top surface of the flange 67, and the outer wall of one end of the pressing rod 62 near the swivel 66 is fixedly arranged There is a limiting rod 64 , and the pressing rod 62 is sleeved with a compression spring 63 between the limiting rod 64 and the bottom of the treatment bed 1 .

所述推拿块61为半球形结构,所述压杆62的底端与凸缘67的顶面为相切的弧形结构。The massaging block 61 has a hemispherical structure, and the bottom end of the pressing rod 62 and the top surface of the flange 67 have a tangent arc structure.

所述收纳槽18设置于床垫3的下方且床垫3为整体式床垫,或者床垫3设置有与收纳槽18连通的推拿槽且推拿块61的上部延伸入推拿槽。The receiving groove 18 is arranged below the mattress 3 and the mattress 3 is an integral mattress, or the mattress 3 is provided with a massage groove communicating with the receiving groove 18 and the upper part of the massage block 61 extends into the massage groove.

本发明的工作原理及工作过程:Working principle and working process of the present invention:

本发明带保温帘的罩盖与治疗床的床面形成密闭空间,患者位于床垫上的罩盖内,患者的皮肤熏蒸面积大,药物离子吸收效果好;在熏蒸的同时辅以中部的推拿装置,能在对妇产科患者进行中药熏蒸的同时对腹部进行按摩、推拿,从而能加速药物离子的有效渗透,使得药力直达病灶,药物在患部保持较高的浓度,有效提高治疗效果;罩盖设置拱形开口或方形开口,在拱形开口或方形开口设置下垂且下端与床垫贴合的保温帘,当治疗床故障使罩盖内温度过高且罩盖无人协助打开时,患者能够直接掀开保温帘从罩盖的拱形开口或方形开口处脱离,比现有的刚性全密闭式熏蒸设备安全性更好。进一步,罩盖的保温帘底部设置弧形开口,能够让开患者的颈部,在保证密封性的同时提高了舒适性;床垫在罩盖的拱形开口或方形开口对应位置设置永磁体,保温帘的底端镶嵌磁性密封橡胶,使得保温帘在使用时能够自动与床垫贴合,在保证安全的情况下,提高了罩盖内的密闭性。更进一步,加热箱一侧铰接有箱门,箱门内壁固定设置可挂药袋的挂钩,从而可通过打开箱门向加热箱内加入成品药液,也可通过悬挂药袋并向加热箱内加入水浸泡产生药液,且治疗结束后通过排水管将残余药液排出,并且通过箱门处对加热箱内部进行清理。进一步,罩盖呈弧形或三角形结构且在内壁设置相互连通的第一导流槽及第二导流槽,从而可将凝结在罩盖内壁的水珠导入床垫两侧床面上设置的引流孔,有效能够避免因水珠滴落造成患者的不适感,而且能够对凝结的药液进行收集处理或循环熏蒸。再进一步,通过推拿装置的转环连续转动,使得凸缘依次与多个压杆接触,从而使得多个推拿块依次挤压床垫或直接挤压患部,推拿块为半球结构,可形成类似拳头沿圆周方向挤压推动的效果,对产妇腹部子宫部位进行推拿,达到舒经活络,便于药蒸汽的吸收,提高熏蒸效果,比现有技术中的震动按摩加速药液吸收效果更好。综上所述,本发明具有结构简单、操作简便、安全可靠、熏蒸效果好的特点。The cover with thermal insulation curtain of the present invention forms a closed space with the bed surface of the treatment bed, the patient is located in the cover on the mattress, the fumigation area of the patient's skin is large, and the absorption effect of drug ions is good; the fumigation is supplemented by massage in the middle The device can massage and massage the abdomen while fumigation of traditional Chinese medicine for obstetrics and gynecology patients, so as to accelerate the effective penetration of drug ions, so that the drug can reach the focus directly, and the drug can maintain a high concentration in the affected part, effectively improving the therapeutic effect; The cover is provided with an arched opening or a square opening, and a thermal insulation curtain is set on the arched opening or the square opening and the lower end is attached to the mattress. When the treatment bed fails and the temperature inside the cover is too high and the cover is opened without assistance, the patient The thermal insulation curtain can be lifted directly and separated from the arched opening or the square opening of the cover, which is safer than the existing rigid full-closed fumigation equipment. Further, an arc-shaped opening is set at the bottom of the heat preservation curtain of the cover, which can let the patient's neck out, and improves comfort while ensuring airtightness; the mattress is provided with a permanent magnet at the corresponding position of the arched or square opening of the cover, The bottom of the thermal insulation curtain is inlaid with magnetic sealing rubber, so that the thermal insulation curtain can be automatically attached to the mattress when in use, and the airtightness inside the cover is improved while ensuring safety. Furthermore, a box door is hinged on one side of the heating box, and the inner wall of the box door is fixedly provided with a hook for hanging medicine bags, so that the finished medicinal liquid can be added to the heating box by opening the box door, or can be hung by hanging the medicine bag and poured into the heating box. Add water to soak to produce medicinal liquid, and after the treatment, the residual medicinal liquid is discharged through the drain pipe, and the inside of the heating box is cleaned through the door. Further, the cover has an arc-shaped or triangular structure, and the inner wall is provided with a first diversion groove and a second diversion groove which communicate with each other, so that the water droplets condensed on the inner wall of the cover can be guided into the two sides of the mattress. The drainage hole can effectively avoid the patient's discomfort caused by the dripping of water droplets, and can collect and process the condensed medicinal liquid or circulate fumigation. Furthermore, through the continuous rotation of the rotating ring of the massage device, the flanges are sequentially contacted with multiple pressing rods, so that multiple massage blocks sequentially squeeze the mattress or directly squeeze the affected part. The massage block has a hemispherical structure, which can form a fist-like Squeeze and push along the circumferential direction, massage the abdomen and uterus of the puerpera, so as to relax the meridians and activate the collaterals, facilitate the absorption of the medicine vapor, and improve the fumigation effect, which is better than the vibration massage in the prior art to accelerate the absorption of the medicine liquid. In summary, the present invention has the characteristics of simple structure, convenient operation, safety and reliability, and good fumigation effect.

如图1至图4所示,使用时,打开罩盖2,患者趴在或躺在床垫3上,头部枕在头枕4上,盖上罩盖2,保温帘9下垂将罩盖2开口处密封,打开箱门10,可向加热箱5内加入成品药液,也可通过悬挂药袋12并向加热箱5内加入水浸泡产生药液,通过加热管13加热药液形成药蒸汽,药蒸汽经通气管8和通气孔7进入罩盖2内,对患者进行熏蒸;同时,电机69带动转盘65转动,在压缩弹簧63的作用下使得凸缘67顶端与压杆62底部接触,转动的转盘65带动凸缘67从而推动压杆62上下移动,使得推拿块61滑出收纳槽18并挤压床垫3,凸缘67依次与多个压杆62接触,从而使得多个推拿块61依次挤压床垫3,由于推拿块61为半球结构,转动的转盘65使多个推拿块61形成类似拳头沿圆周方向挤压推动的效果,对患者腹部子宫部位进行推拿,以达到舒经活络,便于药蒸汽的吸收,显著提高熏蒸的治疗效果。As shown in Figures 1 to 4, when in use, the cover 2 is opened, the patient lies on his stomach or lies on the mattress 3, the head is rested on the headrest 4, the cover 2 is covered, and the heat preservation curtain 9 is drooped to cover the cover. 2. The opening is sealed, and the door 10 is opened to add the finished medicinal solution in the heating box 5, or to suspend the medicine bag 12 and add water to the heating box 5 to soak to produce the medicinal solution, and heat the medicinal solution through the heating tube 13 to form a medicinal solution. Steam and medicine vapor enter the cover 2 through the ventilation pipe 8 and the ventilation hole 7 to fumigate the patient; at the same time, the motor 69 drives the turntable 65 to rotate, and under the action of the compression spring 63, the top of the flange 67 contacts the bottom of the pressure rod 62 , the rotating turntable 65 drives the flange 67 to push the pressure rod 62 to move up and down, so that the massage block 61 slides out of the storage groove 18 and squeezes the mattress 3, and the flange 67 contacts with multiple pressure rods 62 in turn, so that multiple massage The blocks 61 squeeze the mattress 3 sequentially. Since the massaging blocks 61 have a hemispherical structure, the rotating turntable 65 makes the multiple massaging blocks 61 form an effect similar to fists squeezing and pushing along the circumferential direction, and massages the patient's abdomen and uterus to achieve comfort. The meridians are activated, which facilitates the absorption of medicinal vapor and significantly improves the therapeutic effect of fumigation.

Claims (9)

1.一种妇产科中药熏蒸按摩治疗床,包括治疗床(1)、罩盖(2)、床垫(3),所述床垫(3)固定设置于治疗床(1)的床面,所述罩盖(2)一侧与治疗床(1)床面的一侧铰接且罩设在床垫(3)的上方并与床面形成三面密封的空间,所述罩盖(2)的一端设置有拱形开口或方形开口,其特征在于,所述治疗床(1)的床面底部固定设置有加热箱(5),所述床垫(3)和/或罩盖(2)设置有多个通气孔(7),所述加热箱(5)顶部或上侧部连通设置有通气管(8),所述通气管(8)的另一端与通气孔(7)连通,所述治疗床(1)床面的中部设置有推拿装置(6),所述罩盖(2)的拱形开口或方形开口的上端固定设置有下垂的保温帘(9),所述保温帘(9)的下端与床垫(3)贴合;所述推拿装置(6)包括固定套(68),所述固定套(68)的上端固定设置有多个固定杆(17),所述固定杆(17)一端与治疗床(1)的底部固定连接,所述固定套(68)内转动套接有转盘(65),所述固定套(68)的底部固定设置有电机(69),所述电机(69)的转轴转动贯穿固定套(68)并与转盘(65)同轴固定连接,所述转盘(65)的顶部固定设置有转环(66),所述转环(66)的顶部固定设置有平滑过渡的凸缘(67),所述治疗床(1)的床面设置有多个收纳槽(18),所述收纳槽(18)内滑动卡接有推拿块(61),所述推拿块(61)的底部固定连接有压杆(62),所述压杆(62)的下端贯穿治疗床(1)的床面并与凸缘(67)的顶面滑动连接,所述压杆(62)靠近转环(66)的一端外壁固定设置有限位杆(64),所述压杆(62)在限位杆(64)与治疗床(1)的床面底部间套接有压缩弹簧(63);所述推拿块(61)为半球形结构,通过转环(66)连续转动,凸缘(67)依次与多个压杆(62)接触,使得多个推拿块(61)依次挤压床垫(3)或直接挤压患部,可形成类似拳头沿圆周方向挤压推动的效果,对产妇腹部子宫部位进行推拿。1. An obstetrics and gynecology traditional Chinese medicine fumigation massage treatment bed, including a treatment bed (1), a cover (2), and a mattress (3), and the mattress (3) is fixed on the bed surface of the treatment bed (1) One side of the cover (2) is hinged to one side of the bed surface of the treatment bed (1) and the cover is set above the mattress (3) to form a three-sided sealed space with the bed surface. The cover (2) One end is provided with an arched opening or a square opening, and it is characterized in that a heating box (5) is fixedly installed at the bottom of the bed surface of the treatment bed (1), and the mattress (3) and/or cover (2) A plurality of ventilation holes (7) are provided, and a ventilation pipe (8) is connected to the top or upper side of the heating box (5), and the other end of the ventilation pipe (8) is connected to the ventilation hole (7). The middle part of the treatment bed (1) is provided with a massage device (6), and the upper end of the arched or square opening of the cover (2) is fixed with a drooping heat preservation curtain (9), and the heat preservation curtain ( The lower end of 9) fits the mattress (3); the massage device (6) includes a fixed sleeve (68), and the upper end of the fixed sleeve (68) is fixedly provided with a plurality of fixed rods (17), the fixed One end of the rod (17) is fixedly connected to the bottom of the treatment couch (1), and a turntable (65) is rotatably fitted inside the fixed sleeve (68), and a motor (69) is fixedly mounted on the bottom of the fixed sleeve (68). The rotating shaft of the motor (69) runs through the fixed sleeve (68) and is coaxially fixedly connected with the turntable (65). The top of the turntable (65) is fixedly provided with a swivel (66), and the swivel (66) The top of the treatment bed (1) is fixed with a flange (67) with a smooth transition, and the bed surface of the treatment bed (1) is provided with a plurality of storage slots (18), and a massage block (61) is slidingly engaged in the storage slots (18). ), the bottom of the massage block (61) is fixedly connected with a pressure rod (62), and the lower end of the pressure rod (62) runs through the bed surface of the treatment bed (1) and is slidably connected with the top surface of the flange (67) , the pressure rod (62) is fixed with a limit rod (64) on the outer wall of one end close to the swivel (66), and the pressure rod (62) is between the limit rod (64) and the bottom of the treatment bed (1) Compression springs (63) are sleeved between them; the massage block (61) is a hemispherical structure, which rotates continuously through the swivel (66), and the flange (67) contacts with multiple pressing rods (62) in turn, so that multiple The massaging block (61) sequentially squeezes the mattress (3) or directly squeezes the affected part, which can form an effect similar to a fist squeezing and pushing along the circumferential direction, and massage the abdomen and uterus of the puerpera. 2.根据权利要求1所述妇产科中药熏蒸按摩治疗床,其特征在于,所述罩盖(2)的拱形开口或方形开口上的保温帘(9)底部设置有弧形开口(19),所述保温帘(9)为相互紧贴的多条长方体结构或横向可折叠的整体结构,所述床垫(3)在罩盖(2)的拱形开口或方形开口对应位置设置有永磁体,所述保温帘(9)的底端镶嵌有磁性密封橡胶。2. According to the obstetrics and gynecology traditional Chinese medicine fumigation massage treatment bed according to claim 1, it is characterized in that an arc opening (19 ), the thermal insulation curtain (9) is a plurality of cuboid structures closely attached to each other or a horizontally foldable integral structure, and the mattress (3) is provided with a permanent magnet, and the bottom end of the thermal insulation curtain (9) is inlaid with magnetic sealing rubber. 3.根据权利要求1所述妇产科中药熏蒸按摩治疗床,其特征在于,所述加热箱(5)底板固定设置有加热管(13),所述加热箱(5)一侧铰接有箱门(10),所述箱门(10)内壁固定设置挂钩(11),所述加热箱(5)一侧底部固定连通排水管(14),所述排水管(14)上设置阀门(15)。3. The obstetrics and gynecology traditional Chinese medicine fumigation massage treatment bed according to claim 1, characterized in that, the bottom plate of the heating box (5) is fixedly provided with a heating pipe (13), and one side of the heating box (5) is hinged with a box The door (10), the inner wall of the box door (10) is fixed with a hook (11), the bottom of one side of the heating box (5) is fixed and connected to the drain pipe (14), and the valve (15) is set on the drain pipe (14) ). 4.根据权利要求3所述妇产科中药熏蒸按摩治疗床,其特征在于,所述箱门(10)与加热箱(5)的配合面间固定设置有密封圈,所述挂钩(11)上悬挂药袋(12),所述挂钩(11)到加热箱(5)底部的距离大于药袋(12)的悬挂高度。4. The obstetrics and gynecology traditional Chinese medicine fumigation massage treatment bed according to claim 3, characterized in that a sealing ring is fixedly arranged between the mating surface of the box door (10) and the heating box (5), and the hook (11) The medicine bag (12) is hung on the top, and the distance from the hook (11) to the bottom of the heating box (5) is greater than the hanging height of the medicine bag (12). 5.根据权利要求1或2所述妇产科中药熏蒸按摩治疗床,其特征在于,所述罩盖(2)呈弧形或三角形结构,所述罩盖(2)弧形内壁的顶部或三角形内壁的根部设置有水平纵向贯穿的第一导流槽,所述罩盖(2)内壁两侧还平行设置有多条与第一导流槽垂直且一端与第一导流槽连通的第二导流槽,所述治疗床(1)的床面在床垫(3)的两侧设置有引流孔,所述第二导流槽的另一端延伸至罩盖(2)的边缘并与引流孔相通。5. The obstetrics and gynecology traditional Chinese medicine fumigation massage treatment bed according to claim 1 or 2, characterized in that, the cover (2) has an arc-shaped or triangular structure, and the top of the arc-shaped inner wall of the cover (2) or The root of the triangular inner wall is provided with a first diversion groove that runs through horizontally and vertically. On both sides of the inner wall of the cover (2), there are multiple second diversion grooves that are perpendicular to the first diversion groove and communicate with the first diversion groove at one end. Two diversion grooves, the bed surface of the treatment bed (1) is provided with drainage holes on both sides of the mattress (3), the other end of the second diversion groove extends to the edge of the cover (2) and is connected with The drainage holes are connected. 6.根据权利要求5所述妇产科中药熏蒸按摩治疗床,其特征在于,所述治疗床(1)内设置有一端与引流孔连通且另一端与加热箱(5)或废液箱连通的引流管。6. According to the obstetrics and gynecology traditional Chinese medicine fumigation massage treatment bed according to claim 5, it is characterized in that one end of the treatment bed (1) communicates with the drainage hole and the other end communicates with the heating box (5) or the waste liquid tank drainage tube. 7.根据权利要求1所述妇产科中药熏蒸按摩治疗床,其特征在于,所述罩盖(2)内壁和/或床垫(3)内设置有温控传感器(16),所述治疗床(1)的床面底部设置有温控装置,所述温控传感器(16)与温控装置的信号输入端电连接,所述温控装置的控制端与加热管(13)连接或与加热管(13)的控制开关连接。7. The obstetrics and gynecology traditional Chinese medicine fumigation massage treatment bed according to claim 1, characterized in that a temperature control sensor (16) is arranged on the inner wall of the cover (2) and/or the mattress (3), and the treatment The bottom of the bed surface of the bed (1) is provided with a temperature control device, the temperature control sensor (16) is electrically connected to the signal input end of the temperature control device, and the control end of the temperature control device is connected to the heating pipe (13) or connected to the The control switch connection of the heating tube (13). 8.根据权利要求1所述妇产科中药熏蒸按摩治疗床,其特征在于,所述压杆(62)的底端与凸缘(67)的顶面为相切的弧形结构。8. The obstetrics and gynecology traditional Chinese medicine fumigation massage treatment bed according to claim 1, characterized in that, the bottom end of the pressure rod (62) and the top surface of the flange (67) are in a tangent arc structure. 9.根据权利要求1所述妇产科中药熏蒸按摩治疗床,其特征在于,所述收纳槽(18)设置于床垫(3)的下方且床垫(3)为整体式床垫,或者床垫(3)设置有与收纳槽(18)连通的推拿槽且推拿块(61)的上部延伸入推拿槽。9. The obstetrics and gynecology traditional Chinese medicine fumigation massage treatment bed according to claim 1, characterized in that, the storage tank (18) is arranged under the mattress (3) and the mattress (3) is an integral mattress, or The mattress (3) is provided with a massage groove communicating with the storage groove (18), and the upper part of the massage block (61) extends into the massage groove.
CN201910339607.5A 2019-04-25 2019-04-25 Traditional Chinese medicine fumigation massage treatment bed for obstetrics and gynecology department Active CN109998901B (en)

Priority Applications (1)

Application Number Priority Date Filing Date Title
CN201910339607.5A CN109998901B (en) 2019-04-25 2019-04-25 Traditional Chinese medicine fumigation massage treatment bed for obstetrics and gynecology department

Applications Claiming Priority (1)

Application Number Priority Date Filing Date Title
CN201910339607.5A CN109998901B (en) 2019-04-25 2019-04-25 Traditional Chinese medicine fumigation massage treatment bed for obstetrics and gynecology department

Publications (2)

Publication Number Publication Date
CN109998901A CN109998901A (en) 2019-07-12
CN109998901B true CN109998901B (en) 2023-04-28

Family

ID=67174262

Family Applications (1)

Application Number Title Priority Date Filing Date
CN201910339607.5A Active CN109998901B (en) 2019-04-25 2019-04-25 Traditional Chinese medicine fumigation massage treatment bed for obstetrics and gynecology department

Country Status (1)

Country Link
CN (1) CN109998901B (en)

Families Citing this family (8)

* Cited by examiner, † Cited by third party
Publication number Priority date Publication date Assignee Title
CN111249138B (en) * 2020-01-20 2022-02-18 重庆市南川区人民医院 Traditional Chinese medicine fumigation therapeutic device for postpartum recovery
CN111407628B (en) * 2020-03-12 2022-05-13 王正菊 A medical steam physiotherapy bed
CN111467169B (en) * 2020-06-02 2022-11-15 刘东霞 Diagnosis and treatment bed for rheumatism patient
CN112754904A (en) * 2020-12-31 2021-05-07 曾细兰 Gynaecology and obstetrics is with stifling device of taking care of postpartum
CN113018155B (en) * 2021-02-25 2023-05-09 佛山市养博城科技有限公司 Steam fumigation therapeutic device for urology department
CN113133926A (en) * 2021-04-23 2021-07-20 彭日旭 Safe fumigating treatment cylinder for pediatrics
CN116327509B (en) * 2023-02-21 2024-02-13 南通市顺隆康复器材有限公司 Modularized electric sickbed with nursing effect
CN118356065A (en) * 2023-03-02 2024-07-19 伍绍忠 A far-infrared terahertz negative oxygen ion bed

Citations (18)

* Cited by examiner, † Cited by third party
Publication number Priority date Publication date Assignee Title
JP2001333911A (en) * 2000-05-29 2001-12-04 Takumi Ochiai Unit retaining elevated intrapelvic organs by pressing perineum
KR20050024491A (en) * 2005-02-02 2005-03-10 노영수 abdomen pressure treatment apparatus
CN2734199Y (en) * 2004-08-17 2005-10-19 王晓光 Multifunctional massaging bed for parturient
KR20060017476A (en) * 2005-10-13 2006-02-23 양문석 Intestinal massage device
CN101115455A (en) * 2004-12-18 2008-01-30 大卫·D·海尔曼 Female hydrotherapy massage equipment
CN201618099U (en) * 2010-03-04 2010-11-03 陈洪英 Postpartum uterine contraction auxiliary massage belt
TW201117796A (en) * 2009-11-26 2011-06-01 Oriental Inst Technology After-birth womb massaging and training device
CN202288558U (en) * 2011-10-21 2012-07-04 李映桃 Multifunctional puerperal beautifying bellyband
CN204092405U (en) * 2014-09-17 2015-01-14 张秀娟 The special sick bed of a kind of department of obstetrics and gynecology
WO2015044197A1 (en) * 2013-09-24 2015-04-02 Georg-Albrecht Meyer Device for use for the therapy of uterine bleeding
CN204910043U (en) * 2015-08-31 2015-12-30 郭春凤 Smoked massage device of washing of straddle mounted type gynaecology
CN207462324U (en) * 2017-04-25 2018-06-08 陈艳 A kind of puerpera is fumigating bed
CN108717821A (en) * 2018-07-18 2018-10-30 中国人民解放军陆军军医大学第附属医院 A kind of bimanual examination pressing uterus teaching mode
CN208372133U (en) * 2017-10-13 2019-01-15 黑龙江省艾毓堂生物科技有限公司 A kind of HUIYIN acupoint and the dedicated moxibustion massager of anus
CN109223507A (en) * 2018-03-21 2019-01-18 陈甡 A kind of medicine steam device for fumigation
CN208611191U (en) * 2017-11-30 2019-03-19 楚雄医药高等专科学校 A kind of Multifunctional leg suspension supporting frame
CN208626183U (en) * 2018-01-13 2019-03-22 上海市同济医院 A kind of obstetrics' uterus rehabilitation device for fumigation
CN208643475U (en) * 2018-08-06 2019-03-26 王兆雄 A kind of lossless Quick cleaning device of lens of laparoscope

Family Cites Families (5)

* Cited by examiner, † Cited by third party
Publication number Priority date Publication date Assignee Title
CN206587168U (en) * 2016-12-16 2017-10-27 郑州味千生物技术有限公司 A kind of Multifunctional fumigation bed
CN107951696B (en) * 2017-11-14 2020-01-24 刘思远 Multifunctional fumigation therapy bed
CN208552454U (en) * 2017-12-18 2019-03-01 吴建伟 A kind of traditional Chinese massage auxiliary device
CN108294931A (en) * 2018-02-23 2018-07-20 宋孟袁 Massage with plurality of massage modes is fumigating bed
CN108420704A (en) * 2018-04-02 2018-08-21 李国华 A kind of gynemetrics's postpartum medicine fumigation treatment care instrument

Patent Citations (18)

* Cited by examiner, † Cited by third party
Publication number Priority date Publication date Assignee Title
JP2001333911A (en) * 2000-05-29 2001-12-04 Takumi Ochiai Unit retaining elevated intrapelvic organs by pressing perineum
CN2734199Y (en) * 2004-08-17 2005-10-19 王晓光 Multifunctional massaging bed for parturient
CN101115455A (en) * 2004-12-18 2008-01-30 大卫·D·海尔曼 Female hydrotherapy massage equipment
KR20050024491A (en) * 2005-02-02 2005-03-10 노영수 abdomen pressure treatment apparatus
KR20060017476A (en) * 2005-10-13 2006-02-23 양문석 Intestinal massage device
TW201117796A (en) * 2009-11-26 2011-06-01 Oriental Inst Technology After-birth womb massaging and training device
CN201618099U (en) * 2010-03-04 2010-11-03 陈洪英 Postpartum uterine contraction auxiliary massage belt
CN202288558U (en) * 2011-10-21 2012-07-04 李映桃 Multifunctional puerperal beautifying bellyband
WO2015044197A1 (en) * 2013-09-24 2015-04-02 Georg-Albrecht Meyer Device for use for the therapy of uterine bleeding
CN204092405U (en) * 2014-09-17 2015-01-14 张秀娟 The special sick bed of a kind of department of obstetrics and gynecology
CN204910043U (en) * 2015-08-31 2015-12-30 郭春凤 Smoked massage device of washing of straddle mounted type gynaecology
CN207462324U (en) * 2017-04-25 2018-06-08 陈艳 A kind of puerpera is fumigating bed
CN208372133U (en) * 2017-10-13 2019-01-15 黑龙江省艾毓堂生物科技有限公司 A kind of HUIYIN acupoint and the dedicated moxibustion massager of anus
CN208611191U (en) * 2017-11-30 2019-03-19 楚雄医药高等专科学校 A kind of Multifunctional leg suspension supporting frame
CN208626183U (en) * 2018-01-13 2019-03-22 上海市同济医院 A kind of obstetrics' uterus rehabilitation device for fumigation
CN109223507A (en) * 2018-03-21 2019-01-18 陈甡 A kind of medicine steam device for fumigation
CN108717821A (en) * 2018-07-18 2018-10-30 中国人民解放军陆军军医大学第附属医院 A kind of bimanual examination pressing uterus teaching mode
CN208643475U (en) * 2018-08-06 2019-03-26 王兆雄 A kind of lossless Quick cleaning device of lens of laparoscope

Non-Patent Citations (1)

* Cited by examiner, † Cited by third party
Title
周凤花等.手法按摩配合中药熏蒸治疗产后缺乳的方法总结.中国城乡企业卫生.2018,全文. *

Also Published As

Publication number Publication date
CN109998901A (en) 2019-07-12

Similar Documents

Publication Publication Date Title
CN109998901B (en) Traditional Chinese medicine fumigation massage treatment bed for obstetrics and gynecology department
CN108324550A (en) A kind of Chinese medicine fumigator
CN209059761U (en) Obstetrics and gynecology department nursing bed
CN207055596U (en) Traditional Chinese medicine physiotherapy cushion
CN201727718U (en) Sitting fumigation therapeutic apparatus
CN211050192U (en) Hip bath device for gynecology
CN205459780U (en) Multi -functional traditional chinese medicine fumigation appearance of external application
CN204170075U (en) A kind of sitting bath for gynaecology
CN108030660A (en) A kind of herbal fumigation equipment
CN208243759U (en) External counterpulsation unit gasbag and external counterpulsation unit
CN213218111U (en) Traditional chinese medicine hot compress device is used in gynaecology's nursing
CN215779892U (en) A kind of mugwort bag insulation bag
CN204501575U (en) A kind of multifunctional medical bath apparatus
CN208989630U (en) A kind of hemorrhoid fumigating chair
CN202933211U (en) Sticking-application navel-breast moxibustion bowl
CN206896450U (en) A kind of mastosis hot compress salt bagging apparatus
CN205359939U (en) Beauty and health care device
CN208942823U (en) A kind of rotary Chinese herbal medicine is fumigating bed
CN217525770U (en) An anorectal fumigation device
CN214909030U (en) Multifunctional traditional Chinese medicine hot ironing device
CN219000836U (en) Warming device
CN221712793U (en) Multifunctional adjustable traditional Chinese medicine governor vessel fumigating bed
CN203724443U (en) Portable traditional Chinese medicine medicated bath human body suit sealing silica gel heating physical therapy instrument
CN211634255U (en) Abdomen physiotherapy device of gynaecology
CN217366507U (en) Foot medical therapy fumigation device for dermatology department

Legal Events

Date Code Title Description
PB01 Publication
PB01 Publication
SE01 Entry into force of request for substantive examination
SE01 Entry into force of request for substantive examination
GR01 Patent grant
GR01 Patent grant
OL01 Intention to license declared
OL01 Intention to license declared
OL02 Intention to license withdrawn
OL02 Intention to license withdrawn
TR01 Transfer of patent right

Effective date of registration: 20241021

Address after: No. 2401, Building 1, Huayuan City, No.1 Yong'an Road, Chuxiong High tech Zone, Chuxiong Yi Autonomous Prefecture, Yunnan Province, China 675000

Patentee after: Chuxiong Hengchuntang Biotechnology Co.,Ltd.

Country or region after: China

Address before: 675000 Chuxiong Medical College, Donggua Town, Chuxiong City, Chuxiong Yi Autonomous Prefecture, Yunnan Province

Patentee before: CHUXIONG MEDICAL College

Country or region before: China

TR01 Transfer of patent right