CN109968179B - 一种自带清理功能的曲轴抛光支撑装置 - Google Patents

一种自带清理功能的曲轴抛光支撑装置 Download PDF

Info

Publication number
CN109968179B
CN109968179B CN201910389014.XA CN201910389014A CN109968179B CN 109968179 B CN109968179 B CN 109968179B CN 201910389014 A CN201910389014 A CN 201910389014A CN 109968179 B CN109968179 B CN 109968179B
Authority
CN
China
Prior art keywords
crankshaft
cleaning
fixing seat
seat
plate
Prior art date
Legal status (The legal status is an assumption and is not a legal conclusion. Google has not performed a legal analysis and makes no representation as to the accuracy of the status listed.)
Active
Application number
CN201910389014.XA
Other languages
English (en)
Other versions
CN109968179A (zh
Inventor
张东
毛海堂
朱桂涛
Current Assignee (The listed assignees may be inaccurate. Google has not performed a legal analysis and makes no representation or warranty as to the accuracy of the list.)
Binzhou Lude Crankshaft Co ltd
Original Assignee
Binzhou Lude Crankshaft Co ltd
Priority date (The priority date is an assumption and is not a legal conclusion. Google has not performed a legal analysis and makes no representation as to the accuracy of the date listed.)
Filing date
Publication date
Application filed by Binzhou Lude Crankshaft Co ltd filed Critical Binzhou Lude Crankshaft Co ltd
Priority to CN201910389014.XA priority Critical patent/CN109968179B/zh
Publication of CN109968179A publication Critical patent/CN109968179A/zh
Application granted granted Critical
Publication of CN109968179B publication Critical patent/CN109968179B/zh
Active legal-status Critical Current
Anticipated expiration legal-status Critical

Links

Images

Classifications

    • BPERFORMING OPERATIONS; TRANSPORTING
    • B08CLEANING
    • B08BCLEANING IN GENERAL; PREVENTION OF FOULING IN GENERAL
    • B08B1/00Cleaning by methods involving the use of tools
    • B08B1/10Cleaning by methods involving the use of tools characterised by the type of cleaning tool
    • B08B1/12Brushes
    • BPERFORMING OPERATIONS; TRANSPORTING
    • B23MACHINE TOOLS; METAL-WORKING NOT OTHERWISE PROVIDED FOR
    • B23DPLANING; SLOTTING; SHEARING; BROACHING; SAWING; FILING; SCRAPING; LIKE OPERATIONS FOR WORKING METAL BY REMOVING MATERIAL, NOT OTHERWISE PROVIDED FOR
    • B23D71/00Filing or rasping tools; Securing arrangements therefor
    • B23D71/04Hand files or hand rasps
    • BPERFORMING OPERATIONS; TRANSPORTING
    • B24GRINDING; POLISHING
    • B24BMACHINES, DEVICES, OR PROCESSES FOR GRINDING OR POLISHING; DRESSING OR CONDITIONING OF ABRADING SURFACES; FEEDING OF GRINDING, POLISHING, OR LAPPING AGENTS
    • B24B29/00Machines or devices for polishing surfaces on work by means of tools made of soft or flexible material with or without the application of solid or liquid polishing agents
    • B24B29/02Machines or devices for polishing surfaces on work by means of tools made of soft or flexible material with or without the application of solid or liquid polishing agents designed for particular workpieces
    • BPERFORMING OPERATIONS; TRANSPORTING
    • B24GRINDING; POLISHING
    • B24BMACHINES, DEVICES, OR PROCESSES FOR GRINDING OR POLISHING; DRESSING OR CONDITIONING OF ABRADING SURFACES; FEEDING OF GRINDING, POLISHING, OR LAPPING AGENTS
    • B24B41/00Component parts such as frames, beds, carriages, headstocks
    • BPERFORMING OPERATIONS; TRANSPORTING
    • B24GRINDING; POLISHING
    • B24BMACHINES, DEVICES, OR PROCESSES FOR GRINDING OR POLISHING; DRESSING OR CONDITIONING OF ABRADING SURFACES; FEEDING OF GRINDING, POLISHING, OR LAPPING AGENTS
    • B24B41/00Component parts such as frames, beds, carriages, headstocks
    • B24B41/02Frames; Beds; Carriages
    • BPERFORMING OPERATIONS; TRANSPORTING
    • B24GRINDING; POLISHING
    • B24BMACHINES, DEVICES, OR PROCESSES FOR GRINDING OR POLISHING; DRESSING OR CONDITIONING OF ABRADING SURFACES; FEEDING OF GRINDING, POLISHING, OR LAPPING AGENTS
    • B24B41/00Component parts such as frames, beds, carriages, headstocks
    • B24B41/06Work supports, e.g. adjustable steadies
    • BPERFORMING OPERATIONS; TRANSPORTING
    • B24GRINDING; POLISHING
    • B24BMACHINES, DEVICES, OR PROCESSES FOR GRINDING OR POLISHING; DRESSING OR CONDITIONING OF ABRADING SURFACES; FEEDING OF GRINDING, POLISHING, OR LAPPING AGENTS
    • B24B47/00Drives or gearings; Equipment therefor
    • B24B47/22Equipment for exact control of the position of the grinding tool or work at the start of the grinding operation
    • BPERFORMING OPERATIONS; TRANSPORTING
    • B24GRINDING; POLISHING
    • B24BMACHINES, DEVICES, OR PROCESSES FOR GRINDING OR POLISHING; DRESSING OR CONDITIONING OF ABRADING SURFACES; FEEDING OF GRINDING, POLISHING, OR LAPPING AGENTS
    • B24B55/00Safety devices for grinding or polishing machines; Accessories fitted to grinding or polishing machines for keeping tools or parts of the machine in good working condition
    • BPERFORMING OPERATIONS; TRANSPORTING
    • B24GRINDING; POLISHING
    • B24BMACHINES, DEVICES, OR PROCESSES FOR GRINDING OR POLISHING; DRESSING OR CONDITIONING OF ABRADING SURFACES; FEEDING OF GRINDING, POLISHING, OR LAPPING AGENTS
    • B24B55/00Safety devices for grinding or polishing machines; Accessories fitted to grinding or polishing machines for keeping tools or parts of the machine in good working condition
    • B24B55/06Dust extraction equipment on grinding or polishing machines
    • BPERFORMING OPERATIONS; TRANSPORTING
    • B24GRINDING; POLISHING
    • B24BMACHINES, DEVICES, OR PROCESSES FOR GRINDING OR POLISHING; DRESSING OR CONDITIONING OF ABRADING SURFACES; FEEDING OF GRINDING, POLISHING, OR LAPPING AGENTS
    • B24B55/00Safety devices for grinding or polishing machines; Accessories fitted to grinding or polishing machines for keeping tools or parts of the machine in good working condition
    • B24B55/12Devices for exhausting mist of oil or coolant; Devices for collecting or recovering materials resulting from grinding or polishing, e.g. of precious metals, precious stones, diamonds or the like

Landscapes

  • Engineering & Computer Science (AREA)
  • Mechanical Engineering (AREA)
  • Finish Polishing, Edge Sharpening, And Grinding By Specific Grinding Devices (AREA)

Abstract

本发明提供一种自带清理功能的曲轴抛光支撑装置,包括上部支撑横板,支撑柱,下部支撑横板,移动轮,固定通孔,可夹紧的曲轴固定卡座结构,可过滤吸附的废屑清理罩结构,曲轴打磨修整棒结构,可固定油壶的气缸推进杆顶杆结构,后部防护挡板,手推柄,防滑套,升降控制开关,清理吸尘控制开关,第一固定座,升降气缸,移动滑槽,第二固定座和磁铁条。本发明废渣收集盒,固定插管,手握柄,连接杆,锉刀板,不锈钢弯条和清理刷毛的设置,有利于在抛光完毕后,对曲轴的弯折处进行清理,并用废渣收集盒进行收集,维护良好的工作环境,同时用锉刀板对不合适处进行打磨修整。

Description

一种自带清理功能的曲轴抛光支撑装置
技术领域
本发明属于曲轴加工机械辅助设备技术领域,尤其涉及一种自带清理功能的曲轴抛光支撑装置。
背景技术
曲轴是发动机上的重要配件,承担着发动机的动力输出作用。曲轴质量性能的重要一项指标为曲轴轴径的表面粗糙度。如果达不到使用要求,极易造成发动机烧瓦、化瓦等破坏性事故,严重时造成整个发动机报废。为提高曲轴轴颈的表面粗糙度质量,通常要对主轴颈和连杆颈的轴颈要进行抛光处理。由于曲轴加工企业技术水平参差不齐,高水平的曲轴加工厂国内更是寥寥无几。
目前,曲轴加工设备多为国产设备,其中关键设备之一的曲轴砂带抛光机,多为半自动抛光机、和在普通车床上改装的抛光机。曲轴的加工原料为铸造得到的毛坯,在加工过程中,首先需要对毛坯进行切割,使得毛坯的长度与成品曲轴的长度一致,然后对主轴颈位置进行抛光,使得主轴颈光滑,避免磨损,延长使用寿命。
中国专利公开号为CN105619211A,发明创造名称为一种曲轴抛光装置,属于曲轴加工技术领域。包括机床、滑动设于机床左右两端的尾座与床头箱和尾座与床头箱之间的砂带打磨结构,尾座和床头箱上设有曲轴固定结构;砂带打磨结构包括设于机床后方的支架、滑动设于支架上的滑座、铰接于滑座上的弓形臂、固设于弓形臂后端的托板和固设在托板上的电机,机床能驱动滑座沿前后方向往复运动;弓形臂由转动臂和压臂组成,转动臂的后端铰接在滑座上,其前端与压臂的后端铰接;压臂的前端设有手柄,其后端设有张紧杆,张紧杆与转动臂之间设有拉簧;电机的输出轴上设有主动胶轮,压臂的前端设有从动胶轮,转动臂和压臂的铰接处设有张紧胶轮,主动胶轮、从动胶轮和张紧胶轮上套设有砂带。但是现有的曲轴抛光支撑装置还存在着不便于对曲轴进行夹紧固定,不能够根据曲轴长度不同进行调节和不具备清理功能的问题。
因此,发明一种自带清理功能的曲轴抛光支撑装置显得非常必要。
发明内容
为了解决上述技术问题,本发明提供一种自带清理功能的曲轴抛光支撑装置,以解决现有的曲轴抛光支撑装置不便于对曲轴进行夹紧固定,不能够根据曲轴长度不同进行调节和不具备清理功能的问题。一种自带清理功能的曲轴抛光支撑装置,包括上部支撑横板,支撑柱,下部支撑横板,移动轮,固定通孔,可夹紧的曲轴固定卡座结构,可过滤吸附的废屑清理罩结构,曲轴打磨修整棒结构,可固定油壶的气缸推进杆顶杆结构,后部防护挡板,手推柄,防滑套,升降控制开关,清理吸尘控制开关,第一固定座,升降气缸,移动滑槽,第二固定座和磁铁条,所述的支撑柱一端分别螺栓连接在上部支撑横板的下表面四角位置,另一端螺栓连接在下部支撑横板的上表面四角位置;所述的移动轮分别螺栓连接在下部支撑横板的下表面四角位置;所述的固定通孔分别开设在下部支撑横板的内部左右两侧位置;所述的可夹紧的曲轴固定卡座结构安装在升降气缸的输出端;所述的可过滤吸附的废屑清理罩结构分别与下部支撑横板和后部防护挡板相连接;所述的曲轴打磨修整棒结构安装在下部支撑横板的上表面右侧位置;所述的可固定油壶的气缸推进杆顶杆结构安装在上部支撑横板的上表面右侧位置;所述的后部防护挡板螺钉连接在上部支撑横板的上表面后部位置;所述的手推柄螺栓连接在支撑柱的外侧中间位置;所述的防滑套套接在手推柄的外表面中间位置;所述的升降控制开关和清理吸尘控制开关分别从上到下依次镶嵌在左侧前部设置的支撑柱的正表面;所述的第一固定座螺栓连接在上部支撑横板的上表面左侧位置;所述的升降气缸分别螺栓连接在第一固定座和第二固定座的上表面;所述的移动滑槽开设在上部支撑横板的内部右侧位置;所述的第二固定座滑动卡接在移动滑槽的内部;所述的磁铁条胶接在后部防护挡板的正表面上部中间位置;所述的可夹紧的曲轴固定卡座结构包括下部固定座,上部固定座,内凹槽,防磨垫,卡块和弹簧卡扣,所述的上部固定座轴接在下部固定座的上部;所述的内凹槽分别开设在下部固定座和上部固定座的内侧上部位置;所述的防磨垫胶接在内凹槽内;所述的卡块焊接在下部固定座的右侧中间位置;所述的弹簧卡扣轴接在上部固定座的右侧中间位置。
优选的,所述的可过滤吸附的废屑清理罩结构包括储存箱,观察条,防护盖,吸尘泵,导尘吸管,清洗吸附罩和磁性过滤网板,所述的观察条纵向镶嵌在储存箱的正表面左侧位置;所述的防护盖扣接在储存箱的上端;所述的吸尘泵螺钉连接在防护盖的内部上表面中间位置;所述的导尘吸管一端螺钉连接在清洗吸附罩的左侧,另一端贯穿防护盖与吸尘泵螺纹连接;所述的磁性过滤网板螺钉连接在清洗吸附罩的右侧。
优选的,所述的曲轴打磨修整棒结构包括废渣收集盒,固定插管,手握柄,连接杆,锉刀板,不锈钢弯条和清理刷毛,所述的固定插管胶接在废渣收集盒的内部左侧上部位置;所述的手握柄活动插接在固定插管的内部上侧位置;所述的连接杆轴接在手握柄的正表面左上侧;所述的锉刀板胶接在连接杆的正表面左侧位置;所述的不锈钢弯条镶嵌在手握柄的上表面中间位置;所述的清理刷毛胶接在不锈钢弯条的外表面。
优选的,所述的可固定油壶的气缸推进杆顶杆结构包括支撑座,不锈钢卡环,顶紧丝杠杆,手摇轮,贯穿通孔,轴承座和滚珠轴承,所述的不锈钢卡环螺钉连接在支撑座的右侧上部位置;所述的顶紧丝杠杆螺纹连接在贯穿通孔内;所述的顶紧丝杠杆一端螺栓连接在手摇轮的左侧中间位置,另一端插接在滚珠轴承的内圈;所述的滚珠轴承镶嵌在轴承座的内部。
优选的,所述的顶紧丝杠杆与滚珠轴承的内圈过盈配合设置;所述的轴承座螺栓连接在右侧设置的升降气缸的右侧下部位置。
优选的,所述的弹簧卡扣与卡块卡接设置;所述的卡块具体采用长方形的不锈钢块;所述的下部固定座螺栓连接在升降气缸输出端的上表面。
优选的,所述的储存箱粘接在下部支撑横板的上表面左侧位置;所述的导尘吸管具体采用PVC波纹管;所述的导尘吸管设置在上部支撑横板的后部。
优选的,所述的清洗吸附罩镶嵌在后部防护挡板的内部中间位置;所述的后部防护挡板具体采用弧形的PVC塑料罩;所述的观察条采用厚度设置在三毫米至五毫米的长方形的钢化玻璃条。
优选的,所述的不锈钢弯条采用直径设置在二毫米至四毫米的不锈钢钢筋条;所述的不锈钢弯条的上部设置为弧形;所述的废渣收集盒具体采用上部开口的PVC塑料盒;所述的废渣收集盒设置在下部支撑横板的上表面右侧位置。
优选的,所述的移动轮具体采用带有刹车片的橡胶万向轮;所述的防滑套具体采用圆柱形的硅胶套。
优选的,所述的升降控制开关电性连接升降气缸;所述的清理吸尘控制开关电性连接吸尘泵;所述的吸尘泵具体采用型号为WM9290-24V的吸尘泵;所述的升降气缸具体采用型号为SC100的气缸。
与现有技术相比,本发明的有益效果为:
1.本发明中,所述的废渣收集盒,固定插管,手握柄,连接杆,锉刀板,不锈钢弯条和清理刷毛的设置,有利于在抛光完毕后,从固定插管内取出手握柄,用不锈钢弯条和清理刷毛对曲轴的弯折处的废屑进行清理,并用废渣收集盒进行收集,维护良好的工作环境,同时用锉刀板对不合适处进行打磨修整。
2.本发明中,所述的储存箱,观察条,防护盖,吸尘泵,导尘吸管,清洗吸附罩和磁性过滤网板的设置,有利于在抛光过程中,通过清理吸尘控制开关启动吸尘泵,将抛光过程中产生的废屑通过清洗吸附罩吸入到导尘吸管内,进而落入到储存箱进行缓存收集,起到清理的目的。
3.本发明中,所述的磁铁条和磁性过滤网板的设置,有利于对产生的铁屑碎末进行吸附固定,达到清理的目的。
4.本发明中,所述的弹簧卡扣与卡块卡接设置,有利于起到卡接固定的作用,保证曲轴的稳固,防止在打磨过程中发生打滑。
5.本发明中,所述的下部固定座,上部固定座,内凹槽和防磨垫的设置,有利于起到对曲轴支撑的作用,满足抛光的需要。
6.本发明中,所述的废渣收集盒具体采用上部开口的PVC塑料盒,有利于增加收集和倾倒的便捷性。
7.本发明中,所述的支撑座,不锈钢卡环,顶紧丝杠杆,手摇轮,贯穿通孔,轴承座和滚珠轴承的设置,有利于根据曲轴长度的不同,调节升降气缸和升降气缸之间的距离,满足支撑的需要。
8.本发明中,所述的移动轮具体采用带有刹车片的橡胶万向轮,有利于对该支撑装置进行移动,方便与抛光机床的连接。
9.本发明中,所述的观察条采用厚度设置在三毫米至五毫米的长方形的钢化玻璃条,有利于对废屑的收集情况进行查看,方便进行清理。
10.本发明中,所述的后部防护挡板具体采用弧形的PVC塑料罩,有利于起到遮挡防护的作用,防止抛光产生的废屑外溅。
附图说明
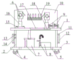
图1是本发明的结构示意图。
图2是本发明的可夹紧的曲轴固定卡座结构的结构示意图。
图3是本发明的可过滤吸附的废屑清理罩结构的结构示意图。
图4是本发明的曲轴打磨修整棒结构的结构示意图。
图5是本发明的可固定油壶的气缸推进杆顶杆结构的结构示意图。
图中:
1、上部支撑横板;2、支撑柱;3、下部支撑横板;4、移动轮;5、固定通孔;6、可夹紧的曲轴固定卡座结构;61、下部固定座;62、上部固定座;63、内凹槽;64、防磨垫;65、卡块;66、弹簧卡扣;7、可过滤吸附的废屑清理罩结构;71、储存箱;72、观察条;73、防护盖;74、吸尘泵;75、导尘吸管;76、清洗吸附罩;77、磁性过滤网板;8、曲轴打磨修整棒结构;81、废渣收集盒;82、固定插管;83、手握柄;84、连接杆;85、锉刀板;86、不锈钢弯条;87、清理刷毛;9、可固定油壶的气缸推进杆顶杆结构;91、支撑座;92、不锈钢卡环;93、顶紧丝杠杆;94、手摇轮;95、贯穿通孔;96、轴承座;97、滚珠轴承;10、后部防护挡板;11、手推柄;12、防滑套;13、升降控制开关;14、清理吸尘控制开关;15、第一固定座;16、升降气缸;17、移动滑槽;18、第二固定座;19、磁铁条。
具体实施方式
以下结合附图对本发明做进一步描述:
实施例:
如附图1至附图2所示,本发明提供一种自带清理功能的曲轴抛光支撑装置,包括上部支撑横板1,支撑柱2,下部支撑横板3,移动轮4,固定通孔5,可夹紧的曲轴固定卡座结构6,可过滤吸附的废屑清理罩结构7,曲轴打磨修整棒结构8,可固定油壶的气缸推进杆顶杆结构9,后部防护挡板10,手推柄11,防滑套12,升降控制开关13,清理吸尘控制开关14,第一固定座15,升降气缸16,移动滑槽17,第二固定座18和磁铁条19,所述的支撑柱2一端分别螺栓连接在上部支撑横板1的下表面四角位置,另一端螺栓连接在下部支撑横板3的上表面四角位置;所述的移动轮4分别螺栓连接在下部支撑横板3的下表面四角位置;所述的固定通孔5分别开设在下部支撑横板3的内部左右两侧位置;所述的可夹紧的曲轴固定卡座结构6安装在升降气缸16的输出端;所述的可过滤吸附的废屑清理罩结构7分别与下部支撑横板3和后部防护挡板10相连接;所述的曲轴打磨修整棒结构8安装在下部支撑横板3的上表面右侧位置;所述的可固定油壶的气缸推进杆顶杆结构9安装在上部支撑横板1的上表面右侧位置;所述的后部防护挡板10螺钉连接在上部支撑横板1的上表面后部位置;所述的手推柄11螺栓连接在支撑柱2的外侧中间位置;所述的防滑套12套接在手推柄11的外表面中间位置;所述的升降控制开关13和清理吸尘控制开关14分别从上到下依次镶嵌在左侧前部设置的支撑柱2的正表面;所述的第一固定座15螺栓连接在上部支撑横板1的上表面左侧位置;所述的升降气缸16分别螺栓连接在第一固定座15和第二固定座18的上表面;所述的移动滑槽17开设在上部支撑横板1的内部右侧位置;所述的第二固定座18滑动卡接在移动滑槽17的内部;所述的磁铁条19胶接在后部防护挡板10的正表面上部中间位置;所述的可夹紧的曲轴固定卡座结构6包括下部固定座61,上部固定座62,内凹槽63,防磨垫64,卡块65和弹簧卡扣66,所述的上部固定座62轴接在下部固定座61的上部;所述的内凹槽63分别开设在下部固定座61和上部固定座62的内侧上部位置;所述的防磨垫64胶接在内凹槽63内;所述的卡块65焊接在下部固定座61的右侧中间位置;所述的弹簧卡扣66轴接在上部固定座62的右侧中间位置;将需要打磨的曲轴卡接在下部固定座61上的内凹槽63内,并扣上上部固定座62,将弹簧卡扣66与卡块65卡接设置。
如附图3所示,上述实施例中,具体的,所述的可过滤吸附的废屑清理罩结构7包括储存箱71,观察条72,防护盖73,吸尘泵74,导尘吸管75,清洗吸附罩76和磁性过滤网板77,所述的观察条72纵向镶嵌在储存箱71的正表面左侧位置;所述的防护盖73扣接在储存箱71的上端;所述的吸尘泵74螺钉连接在防护盖73的内部上表面中间位置;所述的导尘吸管75一端螺钉连接在清洗吸附罩76的左侧,另一端贯穿防护盖73与吸尘泵74螺纹连接;所述的磁性过滤网板77螺钉连接在清洗吸附罩76的右侧;接通外部电源通过升降控制开关13启动升降气缸16的升降,从而对曲轴进行支撑,启动外部打磨设备进行抛光即可,与此同时通过清理吸尘控制开关14启动吸尘泵74,在吸尘泵74的作用下将抛光打磨过程中产生的碎屑通过磁性过滤网板77的过滤后,经清洗吸附罩76吸入到导尘吸管75内,进而进入到储存箱71内,达到清理的目的,并在磁铁条19的作用下对碎铁屑进行吸附清理。
如附图4所示,上述实施例中,具体的,所述的曲轴打磨修整棒结构8包括废渣收集盒81,固定插管82,手握柄83,连接杆84,锉刀板85,不锈钢弯条86和清理刷毛87,所述的固定插管82胶接在废渣收集盒81的内部左侧上部位置;所述的手握柄83活动插接在固定插管82的内部上侧位置;所述的连接杆84轴接在手握柄83的正表面左上侧;所述的锉刀板85胶接在连接杆84的正表面左侧位置;所述的不锈钢弯条86镶嵌在手握柄83的上表面中间位置;所述的清理刷毛87胶接在不锈钢弯条86的外表面;在抛光完毕后,从固定插管82内取出手握柄83,用不锈钢弯条86和清理刷毛87对曲轴的弯折处的废屑进行清理,并用废渣收集盒81进行收集,维护良好的工作环境,同时用锉刀板85对不合适处进行打磨修整。
如附图5所示,上述实施例中,具体的,所述的可固定油壶的气缸推进杆顶杆结构9包括支撑座91,不锈钢卡环92,顶紧丝杠杆93,手摇轮94,贯穿通孔95,轴承座96和滚珠轴承97,所述的不锈钢卡环92螺钉连接在支撑座91的右侧上部位置;所述的顶紧丝杠杆93螺纹连接在贯穿通孔95内;所述的顶紧丝杠杆93一端螺栓连接在手摇轮94的左侧中间位置,另一端插接在滚珠轴承97的内圈;所述的滚珠轴承97镶嵌在轴承座96的内部;手握手推柄11和防滑套12,将该装置搬到曲轴打磨机床的上表面,并推动该支撑装置,在移动轮4的作用下移动到打磨抛光带下部,并固定住移动轮4的刹车片;然后,根据曲轴长度的不同,手握手摇轮94并进行顺势针转动,从而使得顶紧丝杠杆93在贯穿通孔95和滚珠轴承97内转动,从而推动右侧的升降气缸16向左侧运动,调节到合适距离。
上述实施例中,具体的,所述的顶紧丝杠杆93与滚珠轴承97的内圈过盈配合设置;所述的轴承座96螺栓连接在右侧设置的升降气缸16的右侧下部位置。
上述实施例中,具体的,所述的弹簧卡扣66与卡块65卡接设置;所述的卡块65具体采用长方形的不锈钢块;所述的下部固定座61螺栓连接在升降气缸16输出端的上表面。
上述实施例中,具体的,所述的储存箱71粘接在下部支撑横板3的上表面左侧位置;所述的导尘吸管75具体采用PVC波纹管;所述的导尘吸管75设置在上部支撑横板1的后部。
上述实施例中,具体的,所述的清洗吸附罩76镶嵌在后部防护挡板10的内部中间位置;所述的后部防护挡板10具体采用弧形的PVC塑料罩;所述的观察条72采用厚度设置在三毫米至五毫米的长方形的钢化玻璃条。
上述实施例中,具体的,所述的不锈钢弯条86采用直径设置在二毫米至四毫米的不锈钢钢筋条;所述的不锈钢弯条86的上部设置为弧形;所述的废渣收集盒81具体采用上部开口的PVC塑料盒;所述的废渣收集盒81设置在下部支撑横板3的上表面右侧位置。
上述实施例中,具体的,所述的移动轮4具体采用带有刹车片的橡胶万向轮;所述的防滑套12具体采用圆柱形的硅胶套。
上述实施例中,具体的,所述的升降控制开关13电性连接升降气缸16;所述的清理吸尘控制开关14电性连接吸尘泵74;所述的吸尘泵74具体采用型号为WM9290-24V的吸尘泵;所述的升降气缸16具体采用型号为SC100的气缸。
工作原理
本发明在使用时,首先,手握手推柄11和防滑套12,将该装置搬到曲轴打磨机床的上表面,并推动该支撑装置,在移动轮4的作用下移动到打磨抛光带下部,并固定住移动轮4的刹车片;然后,根据曲轴长度的不同,手握手摇轮94并进行顺势针转动,从而使得顶紧丝杠杆93在贯穿通孔95和滚珠轴承97内转动,从而推动右侧的升降气缸16向左侧运动,调节到合适距离后;将需要打磨的曲轴卡接在下部固定座61上的内凹槽63内,并扣上上部固定座62,将弹簧卡扣66与卡块65卡接设置;最后,接通外部电源通过升降控制开关13启动升降气缸16的升降,从而对曲轴进行支撑,启动外部打磨设备进行抛光即可,与此同时通过清理吸尘控制开关14启动吸尘泵74,在吸尘泵74的作用下将抛光打磨过程中产生的碎屑通过磁性过滤网板77的过滤后,经清洗吸附罩76吸入到导尘吸管75内,进而进入到储存箱71内,达到清理的目的,并在磁铁条19的作用下对碎铁屑进行吸附清理;在抛光完毕后,从固定插管82内取出手握柄83,用不锈钢弯条86和清理刷毛87对曲轴的弯折处的废屑进行清理,并用废渣收集盒81进行收集,维护良好的工作环境,同时用锉刀板85对不合适处进行打磨修整。
利用本发明所述的技术方案,或本领域的技术人员在本发明技术方案的启发下,设计出类似的技术方案,而达到上述技术效果的,均是落入本发明的保护范围。

Claims (9)

1.一种自带清理功能的曲轴抛光支撑装置,其特征在于,该自带清理功能的曲轴抛光支撑装置,包括上部支撑横板(1),支撑柱(2),下部支撑横板(3),移动轮(4),固定通孔(5),可夹紧的曲轴固定卡座结构(6),可过滤吸附的废屑清理罩结构(7),曲轴打磨修整棒结构(8),可固定油壶的气缸推进杆顶杆结构(9),后部防护挡板(10),手推柄(11),防滑套(12),升降控制开关(13),清理吸尘控制开关(14),第一固定座(15),升降气缸(16),移动滑槽(17),第二固定座(18)和磁铁条(19),所述的支撑柱(2)一端分别螺栓连接在上部支撑横板(1)的下表面四角位置,另一端螺栓连接在下部支撑横板(3)的上表面四角位置;所述的移动轮(4)分别螺栓连接在下部支撑横板(3)的下表面四角位置;所述的固定通孔(5)分别开设在下部支撑横板(3)的内部左右两侧位置;所述的可夹紧的曲轴固定卡座结构(6)安装在升降气缸(16)的输出端;所述的可过滤吸附的废屑清理罩结构(7)分别与下部支撑横板(3)和后部防护挡板(10)相连接;所述的曲轴打磨修整棒结构(8)安装在下部支撑横板(3)的上表面右侧位置;所述的可固定油壶的气缸推进杆顶杆结构(9)安装在上部支撑横板(1)的上表面右侧位置;所述的后部防护挡板(10)螺钉连接在上部支撑横板(1)的上表面后部位置;所述的手推柄(11)螺栓连接在支撑柱(2)的外侧中间位置;所述的防滑套(12)套接在手推柄(11)的外表面中间位置;所述的升降控制开关(13)和清理吸尘控制开关(14)分别从上到下依次镶嵌在左侧前部设置的支撑柱(2)的正表面;所述的第一固定座(15)螺栓连接在上部支撑横板(1)的上表面左侧位置;所述的升降气缸(16)分别螺栓连接在第一固定座(15)和第二固定座(18)的上表面;所述的移动滑槽(17)开设在上部支撑横板(1)的内部右侧位置;所述的第二固定座(18)滑动卡接在移动滑槽(17)的内部;所述的磁铁条(19)胶接在后部防护挡板(10)的正表面上部中间位置;所述的可夹紧的曲轴固定卡座结构(6)包括下部固定座(61),上部固定座(62),内凹槽(63),防磨垫(64),卡块(65)和弹簧卡扣(66),所述的上部固定座(62)轴接在下部固定座(61)的上部;所述的内凹槽(63)分别开设在下部固定座(61)和上部固定座(62)的内侧上部位置;所述的防磨垫(64)胶接在内凹槽(63)内;所述的卡块(65)焊接在下部固定座(61)的右侧中间位置;所述的弹簧卡扣(66)轴接在上部固定座(62)的右侧中间位置,所述的曲轴打磨修整棒结构(8)包括废渣收集盒(81),固定插管(82),手握柄(83),连接杆(84),锉刀板(85),不锈钢弯条(86)和清理刷毛(87),所述的固定插管(82)胶接在废渣收集盒(81)的内部左侧上部位置;所述的手握柄(83)活动插接在固定插管(82)的内部上侧位置;所述的连接杆(84)轴接在手握柄(83)的正表面左上侧;所述的锉刀板(85)胶接在连接杆(84)的正表面左侧位置;所述的不锈钢弯条(86)镶嵌在手握柄(83)的上表面中间位置;所述的清理刷毛(87)胶接在不锈钢弯条(86)的外表面。
2.如权利要求1所述的自带清理功能的曲轴抛光支撑装置,其特征在于,所述的可过滤吸附的废屑清理罩结构(7)包括储存箱(71),观察条(72),防护盖(73),吸尘泵(74),导尘吸管(75),清洗吸附罩(76)和磁性过滤网板(77),所述的观察条(72)纵向镶嵌在储存箱(71)的正表面左侧位置;所述的防护盖(73)扣接在储存箱(71)的上端;所述的吸尘泵(74)螺钉连接在防护盖(73)的内部上表面中间位置;所述的导尘吸管(75)一端螺钉连接在清洗吸附罩(76)的左侧,另一端贯穿防护盖(73)与吸尘泵(74)螺纹连接;所述的磁性过滤网板(77)螺钉连接在清洗吸附罩(76)的右侧。
3.如权利要求1所述的自带清理功能的曲轴抛光支撑装置,其特征在于,所述的可固定油壶的气缸推进杆顶杆结构(9)包括支撑座(91),不锈钢卡环(92),顶紧丝杠杆(93),手摇轮(94),贯穿通孔(95),轴承座(96)和滚珠轴承(97),所述的不锈钢卡环(92)螺钉连接在支撑座(91)的右侧上部位置;所述的顶紧丝杠杆(93)螺纹连接在贯穿通孔(95)内;所述的顶紧丝杠杆(93)一端螺栓连接在手摇轮(94)的左侧中间位置,另一端插接在滚珠轴承(97)的内圈;所述的滚珠轴承(97)镶嵌在轴承座(96)的内部。
4.如权利要求3所述的自带清理功能的曲轴抛光支撑装置,其特征在于,所述的顶紧丝杠杆(93)与滚珠轴承(97)的内圈过盈配合设置;所述的轴承座(96)螺栓连接在右侧设置的升降气缸(16)的右侧下部位置。
5.如权利要求1所述的自带清理功能的曲轴抛光支撑装置,其特征在于,所述的弹簧卡扣(66)与卡块(65)卡接设置;所述的卡块(65)具体采用长方形的不锈钢块;所述的下部固定座(61)螺栓连接在升降气缸(16)输出端的上表面。
6.如权利要求2所述的自带清理功能的曲轴抛光支撑装置,其特征在于,所述的储存箱(71)粘接在下部支撑横板(3)的上表面左侧位置;所述的导尘吸管(75)具体采用PVC波纹管;所述的导尘吸管(75)设置在上部支撑横板(1)的后部。
7.如权利要求2所述的自带清理功能的曲轴抛光支撑装置,其特征在于,所述的清洗吸附罩(76)镶嵌在后部防护挡板(10)的内部中间位置;所述的后部防护挡板(10)具体采用弧形的PVC塑料罩;所述的观察条(72)采用厚度设置在三毫米至五毫米的长方形的钢化玻璃条。
8.如权利要求1所述的自带清理功能的曲轴抛光支撑装置,其特征在于,所述的不锈钢弯条(86)采用直径设置在二毫米至四毫米的不锈钢钢筋条;所述的不锈钢弯条(86)的上部设置为弧形;所述的废渣收集盒(81)具体采用上部开口的PVC塑料盒;所述的废渣收集盒(81)设置在下部支撑横板(3)的上表面右侧位置。
9.如权利要求1所述的自带清理功能的曲轴抛光支撑装置,其特征在于,所述的移动轮(4)具体采用带有刹车片的橡胶万向轮;所述的防滑套(12)具体采用圆柱形的硅胶套。
CN201910389014.XA 2019-05-10 2019-05-10 一种自带清理功能的曲轴抛光支撑装置 Active CN109968179B (zh)

Priority Applications (1)

Application Number Priority Date Filing Date Title
CN201910389014.XA CN109968179B (zh) 2019-05-10 2019-05-10 一种自带清理功能的曲轴抛光支撑装置

Applications Claiming Priority (1)

Application Number Priority Date Filing Date Title
CN201910389014.XA CN109968179B (zh) 2019-05-10 2019-05-10 一种自带清理功能的曲轴抛光支撑装置

Publications (2)

Publication Number Publication Date
CN109968179A CN109968179A (zh) 2019-07-05
CN109968179B true CN109968179B (zh) 2020-07-28

Family

ID=67073393

Family Applications (1)

Application Number Title Priority Date Filing Date
CN201910389014.XA Active CN109968179B (zh) 2019-05-10 2019-05-10 一种自带清理功能的曲轴抛光支撑装置

Country Status (1)

Country Link
CN (1) CN109968179B (zh)

Families Citing this family (5)

* Cited by examiner, † Cited by third party
Publication number Priority date Publication date Assignee Title
CN112537011A (zh) * 2020-11-22 2021-03-23 山东八零特种电缆有限公司 一种用于电缆生产的塑料挤压模具
CN113352175B (zh) * 2021-07-15 2024-06-18 湖州杭佳弹簧有限公司 弹簧加工用去毛刺装置
CN114367917B (zh) * 2022-01-26 2023-01-10 江苏邦德智造科技有限公司 一种曲轴主轴颈抛光装置
CN116900909B (zh) * 2023-09-08 2024-02-02 华能太原东山燃机热电有限责任公司 一种光伏电缆端头抛光装置
CN118163017B (zh) * 2024-05-13 2024-08-16 卡撒钢绳(江苏)有限公司 一种车床用工件内孔抛光设备

Citations (3)

* Cited by examiner, † Cited by third party
Publication number Priority date Publication date Assignee Title
JPH10166268A (ja) * 1996-12-10 1998-06-23 Miyazaki Oki Electric Co Ltd バックグラインダーチャックテーブルの洗浄装置
KR20030053395A (ko) * 2001-12-22 2003-06-28 주식회사 포스코 강판 탈지 설비의 스와프 제거장치
DE202010006092U1 (de) * 2010-04-25 2010-07-22 Mai, Verena Schleifeinrichtung zur Oberflächenbearbeitung von Körpern aus geschäumten Kunststoffen oder verpressten Faserstoffen

Family Cites Families (7)

* Cited by examiner, † Cited by third party
Publication number Priority date Publication date Assignee Title
JP5154777B2 (ja) * 2005-09-29 2013-02-27 Hoya株式会社 研磨ブラシ、研磨方法、研磨装置及び磁気ディスク用ガラス基板の製造方法、並びに磁気ディスクの製造方法
CN105415175A (zh) * 2014-09-04 2016-03-23 青岛淄柴博洋柴油机股份有限公司 曲轴磨床随动中心架
CN204565851U (zh) * 2015-04-24 2015-08-19 浙江海洋学院 一种工地混凝土钢筋除锈收集一体装置
CN205184431U (zh) * 2015-12-01 2016-04-27 天津中屹铭科技有限公司 基于曲轴加工的磨削中心
CN206662988U (zh) * 2017-04-26 2017-11-24 四川阳光机械有限公司 一种曲轴抛光机
CN107877278B (zh) * 2017-11-09 2020-06-23 中北大学 一种发动机曲轴曲柄销加工的通用夹具
CN109719611B (zh) * 2019-01-17 2020-04-17 天长市恒鑫机电设备有限公司 一种拉丝模研磨加工用除尘装置

Patent Citations (3)

* Cited by examiner, † Cited by third party
Publication number Priority date Publication date Assignee Title
JPH10166268A (ja) * 1996-12-10 1998-06-23 Miyazaki Oki Electric Co Ltd バックグラインダーチャックテーブルの洗浄装置
KR20030053395A (ko) * 2001-12-22 2003-06-28 주식회사 포스코 강판 탈지 설비의 스와프 제거장치
DE202010006092U1 (de) * 2010-04-25 2010-07-22 Mai, Verena Schleifeinrichtung zur Oberflächenbearbeitung von Körpern aus geschäumten Kunststoffen oder verpressten Faserstoffen

Also Published As

Publication number Publication date
CN109968179A (zh) 2019-07-05

Similar Documents

Publication Publication Date Title
CN109968179B (zh) 一种自带清理功能的曲轴抛光支撑装置
CN113732923B (zh) 一种金属波纹管外壁除锈打磨机械
CN109590866B (zh) 一种可除尘的抛光机
CN211053387U (zh) 一种用于管道打磨机床
CN217493767U (zh) 制动器配件打磨装置
CN113857949A (zh) 一种减速机齿轮轴制造精加工设备
CN216657432U (zh) 一种道岔盖板用磨耗机
CN210849597U (zh) 一种后车架中横梁左右连接板加工用打磨装置
CN211163367U (zh) 一种风吸式除尘砂轮机
JP2007268630A (ja) ロール研磨装置およびロール研磨方法
CN222289676U (zh) 金属构件打磨柜
CN209970429U (zh) 一种铝模板抛光机上的上料装置
CN215281271U (zh) 一种用于玩具注塑件的磨边装置
CN217493623U (zh) 一种用于金属材料打磨的无尘式磨床
CN223762980U (zh) 一种砂光机粉尘回收结构
CN218226012U (zh) 一种汽车零件加工用磨床
CN222154929U (zh) 一种全自动钢材平面磨床
CN218801274U (zh) 一种蜡烛加工打磨装置
CN218312452U (zh) 一种防止粉尘逸散的改进型磨簧机
CN222449552U (zh) 一种用于钢结构加工的打磨装置
CN218312616U (zh) 一种油底壳生产用打磨车床
CN221936259U (zh) 一种玻璃生产用高速双边机
CN218785405U (zh) 一种镀锌板表面处理装置
CN211053329U (zh) 一种衣柜加工用的表面毛糙物打磨装置
CN222971734U (zh) 一种毛边打磨设备

Legal Events

Date Code Title Description
PB01 Publication
PB01 Publication
SE01 Entry into force of request for substantive examination
SE01 Entry into force of request for substantive examination
GR01 Patent grant
GR01 Patent grant
OL01 Intention to license declared
OL01 Intention to license declared
EE01 Entry into force of recordation of patent licensing contract
EE01 Entry into force of recordation of patent licensing contract

Application publication date: 20190705

Contract record no.: X2025980042761

Denomination of invention: A crankshaft polishing support device with self-cleaning function

Granted publication date: 20200728

License type: Open License

Record date: 20251216

PE01 Entry into force of the registration of the contract for pledge of patent right
PE01 Entry into force of the registration of the contract for pledge of patent right

Denomination of invention: A crankshaft polishing support device with self-cleaning function

Granted publication date: 20200728

Pledgee: Qilu bank Limited by Share Ltd. Binzhou branch

Pledgor: BINZHOU LUDE CRANKSHAFT Co.,Ltd.

Registration number: Y2025980061650