CN109847615B - 一种饲料粉碎搅拌装置 - Google Patents

一种饲料粉碎搅拌装置 Download PDF

Info

Publication number
CN109847615B
CN109847615B CN201910251332.XA CN201910251332A CN109847615B CN 109847615 B CN109847615 B CN 109847615B CN 201910251332 A CN201910251332 A CN 201910251332A CN 109847615 B CN109847615 B CN 109847615B
Authority
CN
China
Prior art keywords
crushing
shaft
stirring
crushing box
box
Prior art date
Legal status (The legal status is an assumption and is not a legal conclusion. Google has not performed a legal analysis and makes no representation as to the accuracy of the status listed.)
Active
Application number
CN201910251332.XA
Other languages
English (en)
Other versions
CN109847615A (zh
Inventor
张会连
Current Assignee (The listed assignees may be inaccurate. Google has not performed a legal analysis and makes no representation or warranty as to the accuracy of the list.)
Yutian Wanfang Selenium Pigeon Industry Co ltd
Original Assignee
Chongqing Today Feed Co ltd
Priority date (The priority date is an assumption and is not a legal conclusion. Google has not performed a legal analysis and makes no representation as to the accuracy of the date listed.)
Filing date
Publication date
Application filed by Chongqing Today Feed Co ltd filed Critical Chongqing Today Feed Co ltd
Priority to CN201910251332.XA priority Critical patent/CN109847615B/zh
Publication of CN109847615A publication Critical patent/CN109847615A/zh
Application granted granted Critical
Publication of CN109847615B publication Critical patent/CN109847615B/zh
Active legal-status Critical Current
Anticipated expiration legal-status Critical

Links

Images

Landscapes

  • Crushing And Pulverization Processes (AREA)
  • Apparatuses For Bulk Treatment Of Fruits And Vegetables And Apparatuses For Preparing Feeds (AREA)

Abstract

本发明公开了一种饲料粉碎搅拌装置,通过设置粉碎搅拌装置,并通过粉碎搅拌装置与搅拌轴和粉碎轴的转换连接,可用一个装置完成搅拌和粉碎,并可以在搅拌过程中对秸秆进行再次粉碎,通过吸料装置可以对粉碎中的秸秆进行吸出,并通过观察吸出的秸秆确定现在的粉碎程度,在加入其他物料与粉碎后的秸秆进行搅拌时,同样可将物料吸出进行观察,以确定混合状况从而决定搅拌的快慢以及其余物料的加入时间。

Description

一种饲料粉碎搅拌装置
技术领域
本发明涉及饲料混合技术领域,具体为一种饲料粉碎搅拌装置。
背景技术
秸秆饲料,主要是指以甜高粱、玉米、芦苇、棉花等秸秆粉碎加工而成的纤维饲料,是饲养动物的主要饲料之一,目前在我国,秸秆收获后当饲料也是秸秆的主要用途之一,目前在秸秆制作饲料的过程中,往往先需要对秸秆进行粉碎,然后将粉碎后的秸秆与其他物质进行混合搅拌均匀在进行发酵;公告号为CN208387838U的实用新型专利公开了一种利用植物秸秆加工饲料装置,将秸秆的粉碎和混合一体设置进行,提高了装置的混料效果;公开号为CN107712979A的发明专利公开了一种家禽养殖饲料的筛选混合装置,通过设置滤网兜和搅拌装置,能够均匀快速的筛选饲料并在搅拌下混合饲料;通过摆动方式提高物料的筛选效率并促进了物料的混合,提高了加工效率;公开号为CN108906302A的发明专利申请公开了一种畜牧养殖用粉碎搅拌一体机,可满足对粉碎后的物料的分级筛选需求,通过在壳体左侧的下端固定安装鼓泡器,可对搅拌仓内部进行鼓泡处理;但现有技术中的混合搅拌装置均不能对物料的粉碎和搅拌程度进行观察从而调整粉碎或搅拌的速率和调整加入物料的步骤,且粉碎和搅拌装置均设置为两个不同的装置,即使可同时进行粉碎搅拌也需要同时启动两个装置,造成了资源的浪费。
发明内容
针对现有技术的不足,本发明提供了一种饲料粉碎搅拌装置;可对秸秆的粉碎过程和秸秆与其他物料的搅拌过程进行观察从而调整粉碎和搅拌方式,以及可用同一种装置进行粉碎和搅拌。
为实现上述目的,本发明提供如下技术方案:
一种饲料粉碎搅拌装置,包括粉碎箱、初级粉碎装置、粉碎搅拌装置、吸料装置;初级粉碎装置包括电机Ⅰ、粉碎轴Ⅰ、粗粉碎刀片;电机Ⅰ设置在粉碎箱的侧壁上,电机Ⅰ的输出轴通过侧壁上的通孔与粉碎轴Ⅰ连接,粗粉碎刀片均匀设置在粉碎轴Ⅰ上,粉碎轴Ⅰ设置在初级粉碎箱中,初级粉碎箱的底板和粉碎箱的侧壁铰接,可绕侧壁转动,初级粉碎箱的顶部设置有进料口。
进一步地,粉碎搅拌装置设置在粉碎箱内,粉碎搅拌装置为空心圆环状,空心圆环的内壁上设置有多个连接杆,连接杆上设置有多个圆环状刀片,圆环的外部设置有多个圆环状刀片,圆环外部的两个圆环状刀片之间连接有支撑杆,支撑杆的一端与圆环外壁连接,支撑杆的另一端和翻起搅拌板连接。
进一步地,空心圆环内壁的连接杆中间与连接管Ⅰ垂直连接,连接管Ⅰ与搅拌轴对应设置,搅拌轴与粉碎箱的底板平行且横穿于粉碎箱中,搅拌轴的另一端穿过粉碎箱侧壁上的孔与粉碎箱外的搅拌电机的输出轴连接,搅拌电机设置在滑动小车上,可随着滑动小车的移动接近或远离粉碎箱。
进一步地,空心圆环外壁朝向粉碎箱顶端的方向连接有连接管Ⅱ,连接管Ⅱ与粉碎轴Ⅱ对应设置,粉碎轴Ⅱ与粉碎箱的顶板相垂直,且穿过粉碎箱的顶板上的孔与粉碎箱外部的粉碎电机连接,粉碎电机可上下移动接近或远离粉碎箱。
进一步地,粉碎轴Ⅱ和搅拌轴均为空心轴,粉碎轴Ⅱ和搅拌轴的半径相等,轴上沿轴向设置有三个通孔,三个通孔,凸块Ⅰ、凸块Ⅱ和凸块Ⅲ分别卡接在三个通孔上,凸块可在通孔中上下移动,三个凸块在空心轴内的部分由连杆连接,凸块Ⅱ的底端与空心轴的底壁由弹簧连接,连接管Ⅰ和连接管Ⅱ均设置有空心管道,空心管道的直径大于粉碎轴Ⅱ的直径而小于粉碎轴的底壁到凸块顶部的距离,空心管道内还设置有沿径向设置的卡槽,卡槽的宽度大于粉碎轴的底壁到凸块顶部的距离,当凸块Ⅰ到达卡槽时,凸块Ⅱ不会进入连接管。
进一步地,粉碎箱的底部设置有抽料管,抽料管上设置有多个抽料孔,抽料管与粉碎箱外部的料箱连接,料箱通过风罩与抽风机连接。
进一步地,粉碎箱内还设置有多个其他物料腔,其他物料包括尿素、氨水、氨基酸、猪胃液。
与现有技术相比,本发明提供了一种饲料粉碎搅拌装置,具备以下有益效果:
本发明通过设置粉碎搅拌装置,并通过粉碎搅拌装置与搅拌轴和粉碎轴的转换连接,可用一个装置完成搅拌和粉碎,并可以在搅拌过程中对秸秆进行再次粉碎,通过吸料装置可以对粉碎中的秸秆进行吸出,并通过观察吸出的秸秆确定现在的粉碎程度,在加入其他物料与粉碎后的秸秆进行搅拌时,同样可将物料吸出进行观察,以确定混合状况从而决定搅拌的快慢以及其余物料的加入时间。
附图说明
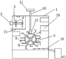
图1为本发明结构示意图。
图2为本发明粉碎搅拌装置结构示意图。
图3为本发明搅拌轴和连接管示意图。
图4为本发明卡槽示意图。
图中:1-粉碎箱、2-电机Ⅰ、3-粉碎轴Ⅰ、4-粗粉碎刀片、5-粉碎搅拌装置、6-连接杆、7-刀片、8-支撑杆、9-翻起搅拌板、10-粉碎轴Ⅱ、11-粉碎电机、12-连接管Ⅰ、13-连接管Ⅱ、14-搅拌轴、15-搅拌电机、16-凸块(Ⅰ、Ⅱ、Ⅲ)、17-空心管道、18-卡槽、19-抽料管、20-物料腔、21-底板。
具体实施方式
下面将结合本发明实施例中的附图,对本发明实施例中的技术方案进行清楚、完整地描述,显然,所描述的实施例仅仅是本发明一部分实施例,而不是全部的实施例。基于本发明中的实施例,本领域普通技术人员在没有做出创造性劳动前提下所获得的所有其他实施例,都属于本发明保护的范围。
参考图1-4:一种饲料粉碎搅拌装置,包括粉碎箱1、初级粉碎装置、粉碎搅拌装置5、吸料装置;初级粉碎装置包括电机Ⅰ(2)、粉碎轴Ⅰ(3)、粗粉碎刀片4;电机Ⅰ(2)设置在粉碎箱1的侧壁上,电机Ⅰ(2)的输出轴通过侧壁上的通孔与粉碎轴Ⅰ(3)连接,粗粉碎刀片4均匀设置在粉碎轴Ⅰ(3)上,粉碎轴Ⅰ(3)设置在初级粉碎箱中,初级粉碎箱的底板21和粉碎箱1的侧壁铰接,可绕侧壁转动,初级粉碎箱的顶部设置有进料口,粉碎搅拌装置5设置在粉碎箱内,粉碎搅拌装置5为空心圆环状,空心圆环的内壁上设置有多个连接杆6,连接杆6上设置有多个圆环状刀片,圆环的外部设置有多个圆环状刀片7,圆环外部的两个圆环状刀片7之间连接有支撑杆8,支撑杆8的一端与圆环外壁连接,支撑杆8的另一端和翻起搅拌板9连接,空心圆环内壁的连接杆中间与连接管Ⅰ(12)垂直连接,连接管Ⅰ(12)与搅拌轴14对应设置,搅拌轴14与粉碎箱1的底板平行且横穿于粉碎箱1中,搅拌轴14的另一端穿过粉碎箱1侧壁上的孔与粉碎箱1外的搅拌电机的输出轴连接,搅拌电机15设置在滑动小车上,可随着滑动小车的移动接近或远离粉碎箱1,空心圆环外壁朝向粉碎箱1顶端的方向连接有连接管Ⅱ(13),连接管Ⅱ(13)与粉碎轴Ⅱ(10)对应设置,粉碎轴Ⅱ(13)与粉碎箱1的顶板相垂直,且穿过粉碎箱1的顶板上的孔与粉碎箱1外部的粉碎电机11连接,粉碎电机11可上下移动接近或远离粉碎箱1,粉碎轴Ⅱ(10)和搅拌轴14均为空心轴,粉碎轴Ⅱ(10)和搅拌轴14的半径相等,轴上沿轴向设置有三个通孔,三个通孔,凸块Ⅰ(16)、凸块Ⅱ(16)和凸块Ⅲ(16)分别卡接在三个通孔上,凸块16可在通孔中上下移动,三个凸块16在空心轴内的部分由连杆连接,凸块Ⅱ(16)的底端与空心轴的底壁由弹簧连接,连接管Ⅰ(12)和连接管Ⅱ(13)均设置有空心管道17,空心管道17的直径大于粉碎轴Ⅱ(10)的直径而小于粉碎轴Ⅱ(10)的底壁到凸块16顶部的距离,空心管道17内还设置有沿径向设置的卡槽18,卡槽18的宽度大于粉碎轴Ⅱ(10)的底壁到凸块顶部的距离,当凸块Ⅰ(16)到达卡槽时,凸块Ⅱ(16)不会进入连接管,粉碎箱1的底部设置有抽料管19,抽料管19上设置有多个抽料孔,抽料管19与粉碎箱1外部的料箱连接,料箱通过风罩与抽风机连接,粉碎箱1内还设置有多个其他物料腔20,其他物料包括尿素、氨水、氨基酸、猪胃液。
本发明的工作过程为:将秸秆在初级粉碎箱中进行初级粉碎,在初级粉碎后将初级粉碎箱的底板向下转动使秸秆落入粉碎箱,移动粉碎电机使粉碎轴Ⅱ与连接管Ⅱ连接,在连接时,先按下粉碎轴Ⅱ上的凸块Ⅱ从而使凸块Ⅲ被完全压入粉碎轴内,然后推动粉碎轴Ⅱ进入连接管Ⅱ,当凸块Ⅲ到达卡槽时,松开凸块Ⅱ使凸块Ⅲ弹起卡住,然后由电机带动连接管Ⅱ转动从而带动搅拌粉碎装置转动对秸秆进行粉碎,粉碎一段时间后启动风机,将秸秆吸入料箱观察粉碎程度,在粉碎到一定程度后,停止粉碎,将搅拌轴通入连接管Ⅰ,然后继续按下粉碎轴Ⅱ上的凸块Ⅱ使凸块Ⅲ缩入粉碎轴Ⅱ,然后将粉碎轴Ⅱ抽出,开始搅拌,加入其他物料并将底层的物料翻起进行混合,混合一定时间后可将混合物吸入料箱进行观察。

Claims (4)

1.一种饲料粉碎搅拌装置,包括粉碎箱、初级粉碎装置、粉碎搅拌装置、吸料装置;初级粉碎装置包括电机Ⅰ、粉碎轴Ⅰ、粗粉碎刀片;电机Ⅰ设置在粉碎箱的侧壁上,电机Ⅰ的输出轴通过侧壁上的通孔与粉碎轴Ⅰ连接,粗粉碎刀片均匀设置在粉碎轴Ⅰ上,粉碎轴Ⅰ设置在初级粉碎箱中,初级粉碎箱的底板和粉碎箱的侧壁铰接,可绕侧壁转动,初级粉碎箱的顶部设置有进料口,粉碎搅拌装置设置在粉碎箱内,粉碎搅拌装置为空心圆环状,空心圆环的内壁上设置有多个连接杆,连接杆上设置有多个圆环状刀片,圆环的外部设置有多个圆环状刀片,圆环外部的两个圆环状刀片之间连接有支撑杆,支撑杆的一端与圆环外壁连接,支撑杆的另一端和翻起搅拌板连接,空心圆环内壁的连接杆中间与连接管Ⅰ垂直连接,连接管Ⅰ与搅拌轴对应设置,搅拌轴与粉碎箱的底板平行且横穿于粉碎箱中,搅拌轴的另一端穿过粉碎箱侧壁上的孔与粉碎箱外的搅拌电机的输出轴连接,搅拌电机设置在滑动小车上,可随着滑动小车的移动接近或远离粉碎箱,空心圆环外壁朝向粉碎箱顶端的方向连接有连接管Ⅱ,连接管Ⅱ与粉碎轴Ⅱ对应设置,粉碎轴Ⅱ与粉碎箱的顶板相垂直,且穿过粉碎箱的顶板上的孔与粉碎箱外部的粉碎电机连接,粉碎电机可上下移动接近或远离粉碎箱。
2.根据权利要求1所述的一种饲料粉碎搅拌装置,其特征在于:粉碎轴Ⅱ和搅拌轴均为空心轴,粉碎轴Ⅱ和搅拌轴的半径相等,轴上沿轴向设置有三个通孔,三个通孔,凸块Ⅰ、凸块Ⅱ和凸块Ⅲ分别卡接在三个通孔上,凸块可在通孔中上下移动,三个凸块在空心轴内的部分由连杆连接,凸块Ⅱ的底端与空心轴的底壁由弹簧连接,连接管Ⅰ和连接管Ⅱ均设置有空心管道,空心管道的直径大于粉碎轴Ⅱ的直径而小于粉碎轴的底壁到凸块顶部的距离,空心管道内还设置有沿径向设置的卡槽,卡槽的宽度大于粉碎轴的底壁到凸块顶部的距离,当凸块Ⅰ到达卡槽时,凸块Ⅱ不会进入连接管。
3.根据权利要求1或2所述的一种饲料粉碎搅拌装置,其特征在于:粉碎箱的底部设置有抽料管,抽料管上设置有多个抽料孔,抽料管与粉碎箱外部的料箱连接,料箱通过风罩与抽风机连接。
4.根据权利要求1所述的一种饲料粉碎搅拌装置,其特征在于:粉碎箱内还设置有多个其他物料腔,其他物料包括尿素、氨水、氨基酸、猪胃液。
CN201910251332.XA 2019-03-29 2019-03-29 一种饲料粉碎搅拌装置 Active CN109847615B (zh)

Priority Applications (1)

Application Number Priority Date Filing Date Title
CN201910251332.XA CN109847615B (zh) 2019-03-29 2019-03-29 一种饲料粉碎搅拌装置

Applications Claiming Priority (1)

Application Number Priority Date Filing Date Title
CN201910251332.XA CN109847615B (zh) 2019-03-29 2019-03-29 一种饲料粉碎搅拌装置

Publications (2)

Publication Number Publication Date
CN109847615A CN109847615A (zh) 2019-06-07
CN109847615B true CN109847615B (zh) 2021-05-18

Family

ID=66902563

Family Applications (1)

Application Number Title Priority Date Filing Date
CN201910251332.XA Active CN109847615B (zh) 2019-03-29 2019-03-29 一种饲料粉碎搅拌装置

Country Status (1)

Country Link
CN (1) CN109847615B (zh)

Families Citing this family (1)

* Cited by examiner, † Cited by third party
Publication number Priority date Publication date Assignee Title
CN114797650A (zh) * 2022-06-24 2022-07-29 盐城栖岭农业科技有限公司 一种可快速均匀混合的动物饲料混合设备

Citations (16)

* Cited by examiner, † Cited by third party
Publication number Priority date Publication date Assignee Title
EP0362345A4 (en) * 1988-03-28 1991-06-05 Roberts, Steven Coloured stearates
CN1253512A (zh) * 1997-04-28 2000-05-17 花王株式会社 混合装置
EP0712657B1 (en) * 1994-11-18 2001-10-10 The Yokohama Rubber Co., Ltd. Raw material mixing method and apparatus
CN202289900U (zh) * 2011-10-18 2012-07-04 江苏浩特隆搅拌设备有限公司 打浆用搅拌器
CN103432953A (zh) * 2013-09-02 2013-12-11 无锡恒诚硅业有限公司 一种斜桨式桨化搅拌器叶片
CN105536586A (zh) * 2016-02-02 2016-05-04 福建贝迪药业有限公司 一种混合型饲料添加剂自动化混料设备
CN105597602A (zh) * 2016-01-27 2016-05-25 太仓权阡机械自动化有限公司 一种粉碎搅拌一体机
WO2016165917A1 (de) * 2015-04-17 2016-10-20 Bühler AG Vorrichtung und verfahren zum mischen, insbesondere zum dispergieren
CN206371486U (zh) * 2016-12-19 2017-08-04 驻马店大地饲料有限公司 一种教槽料生产装置
CN206415059U (zh) * 2017-01-18 2017-08-18 吉林省农业科学院 一种复合型秸秆生物饲料混合装置
CN206577680U (zh) * 2017-03-03 2017-10-24 河北天元药业有限公司 一种带有粉碎功能的兽药加工混合机
CN107752810A (zh) * 2016-08-22 2018-03-06 松下知识产权经营株式会社 混合器单元和手持搅拌器
CN207076515U (zh) * 2017-06-07 2018-03-09 天津市晨辉饲料有限公司 一种具有预粉碎功能的饲料搅拌粉碎机
CN107930456A (zh) * 2018-01-14 2018-04-20 杭州跟策科技有限公司 设粉碎型叶片的搅拌机
CN208465789U (zh) * 2018-05-24 2019-02-05 中山市联企科创化工有限公司 一种无机化学原料搅拌装置
CN208583388U (zh) * 2018-04-28 2019-03-08 武汉东湖学院 饲料粉碎搅拌一体设备

Patent Citations (16)

* Cited by examiner, † Cited by third party
Publication number Priority date Publication date Assignee Title
EP0362345A4 (en) * 1988-03-28 1991-06-05 Roberts, Steven Coloured stearates
EP0712657B1 (en) * 1994-11-18 2001-10-10 The Yokohama Rubber Co., Ltd. Raw material mixing method and apparatus
CN1253512A (zh) * 1997-04-28 2000-05-17 花王株式会社 混合装置
CN202289900U (zh) * 2011-10-18 2012-07-04 江苏浩特隆搅拌设备有限公司 打浆用搅拌器
CN103432953A (zh) * 2013-09-02 2013-12-11 无锡恒诚硅业有限公司 一种斜桨式桨化搅拌器叶片
WO2016165917A1 (de) * 2015-04-17 2016-10-20 Bühler AG Vorrichtung und verfahren zum mischen, insbesondere zum dispergieren
CN105597602A (zh) * 2016-01-27 2016-05-25 太仓权阡机械自动化有限公司 一种粉碎搅拌一体机
CN105536586A (zh) * 2016-02-02 2016-05-04 福建贝迪药业有限公司 一种混合型饲料添加剂自动化混料设备
CN107752810A (zh) * 2016-08-22 2018-03-06 松下知识产权经营株式会社 混合器单元和手持搅拌器
CN206371486U (zh) * 2016-12-19 2017-08-04 驻马店大地饲料有限公司 一种教槽料生产装置
CN206415059U (zh) * 2017-01-18 2017-08-18 吉林省农业科学院 一种复合型秸秆生物饲料混合装置
CN206577680U (zh) * 2017-03-03 2017-10-24 河北天元药业有限公司 一种带有粉碎功能的兽药加工混合机
CN207076515U (zh) * 2017-06-07 2018-03-09 天津市晨辉饲料有限公司 一种具有预粉碎功能的饲料搅拌粉碎机
CN107930456A (zh) * 2018-01-14 2018-04-20 杭州跟策科技有限公司 设粉碎型叶片的搅拌机
CN208583388U (zh) * 2018-04-28 2019-03-08 武汉东湖学院 饲料粉碎搅拌一体设备
CN208465789U (zh) * 2018-05-24 2019-02-05 中山市联企科创化工有限公司 一种无机化学原料搅拌装置

Also Published As

Publication number Publication date
CN109847615A (zh) 2019-06-07

Similar Documents

Publication Publication Date Title
CN108380323A (zh) 一种改进的百叶窗余料处理的进料装置
CN106391246B (zh) 一种带有均匀撒料装置的尿素粉碎装置
CN109059430A (zh) 一种微生物制剂离心节能干燥装置
CN108212441B (zh) 一种大黄鱼水产饲料筛分装置
CN206483416U (zh) 一种多功能饲料搅拌装置
CN107307457A (zh) 一种猪饲料粉碎混合装置
CN208542311U (zh) 一种饲料粉碎装置
CN206181861U (zh) 一种生物饲料粉碎机
CN109847615B (zh) 一种饲料粉碎搅拌装置
CN108079886A (zh) 一种石斑鱼的水产饲料搅拌装置
CN206661020U (zh) 一种防止饲料粘壁的混合机
CN216296148U (zh) 一种中草药复合肉牛饲料用混合装置
CN205392265U (zh) 农业种植土壤粉碎搅拌装置
CN205815511U (zh) 一种食用菌原料搅拌机
CN214974669U (zh) 一种羊用饲料粉碎装置
CN111871545B (zh) 一种饲料用高效加工设备
CN209121256U (zh) 一种用于红象草的饲料的深加工装置
CN108834588A (zh) 一种秸秆粉碎搅拌装置
CN210079753U (zh) 一种饲料生产用材料粉碎机
CN208599575U (zh) 一种生物质搅拌装置
CN208205681U (zh) 一种方便清洁的粮食烘干设备
CN215428766U (zh) 一种青贮玉米加工用粉碎混合制备装置
CN221514306U (zh) 一种有机肥加工用粉料混合装置
CN222518405U (zh) 生物肥料混合搅拌机构
CN217657193U (zh) 一种秸秆粉碎装置

Legal Events

Date Code Title Description
PB01 Publication
PB01 Publication
SE01 Entry into force of request for substantive examination
SE01 Entry into force of request for substantive examination
TA01 Transfer of patent application right
TA01 Transfer of patent application right

Effective date of registration: 20210506

Address after: 405200 Hujia lane, Liangshan street, Liangping District, Chongqing

Applicant after: CHONGQING TODAY FEED Co.,Ltd.

Address before: Yuelu District City, Hunan province 410083 Changsha Lushan Road No. 932

Applicant before: Zhang Huilian

GR01 Patent grant
GR01 Patent grant
TR01 Transfer of patent right
TR01 Transfer of patent right

Effective date of registration: 20250604

Address after: Room 501, No. 85, Xiaguang Dongli, Haicang District, Xiamen City, Fujian Province

Patentee after: Xiamen reliable intellectual property service Co.,Ltd.

Country or region after: China

Address before: 405200 Hujia lane, Liangshan street, Liangping District, Chongqing

Patentee before: CHONGQING TODAY FEED Co.,Ltd.

Country or region before: China

TR01 Transfer of patent right
TR01 Transfer of patent right

Effective date of registration: 20250819

Address after: 848000 Xinjiang Uygur Autonomous Region, Hotan Prefecture, Yutian County, Xianbaibazha Town, Yingbostan Village, Selenium Pigeon Breeding Base

Patentee after: Yutian Wanfang Selenium Pigeon Industry Co.,Ltd.

Country or region after: China

Address before: Room 501, No. 85, Xiaguang Dongli, Haicang District, Xiamen City, Fujian Province

Patentee before: Xiamen reliable intellectual property service Co.,Ltd.

Country or region before: China