CN109653107B - Water-permeable energy-absorbing asphalt pavement structure and laying method thereof - Google Patents

Water-permeable energy-absorbing asphalt pavement structure and laying method thereof Download PDF

Info

Publication number
CN109653107B
CN109653107B CN201811622074.3A CN201811622074A CN109653107B CN 109653107 B CN109653107 B CN 109653107B CN 201811622074 A CN201811622074 A CN 201811622074A CN 109653107 B CN109653107 B CN 109653107B
Authority
CN
China
Prior art keywords
layer
pavement
asphalt pavement
drainage ditch
asphalt
Prior art date
Legal status (The legal status is an assumption and is not a legal conclusion. Google has not performed a legal analysis and makes no representation as to the accuracy of the status listed.)
Expired - Fee Related
Application number
CN201811622074.3A
Other languages
Chinese (zh)
Other versions
CN109653107A (en
Inventor
马庆伟
贺欣
邱业绩
李艳
张娟
杨晨光
郭平
Current Assignee (The listed assignees may be inaccurate. Google has not performed a legal analysis and makes no representation or warranty as to the accuracy of the list.)
Changan University
Original Assignee
Changan University
Priority date (The priority date is an assumption and is not a legal conclusion. Google has not performed a legal analysis and makes no representation as to the accuracy of the date listed.)
Filing date
Publication date
Application filed by Changan University filed Critical Changan University
Priority to CN201811622074.3A priority Critical patent/CN109653107B/en
Publication of CN109653107A publication Critical patent/CN109653107A/en
Application granted granted Critical
Publication of CN109653107B publication Critical patent/CN109653107B/en
Expired - Fee Related legal-status Critical Current
Anticipated expiration legal-status Critical

Links

Images

Classifications

    • EFIXED CONSTRUCTIONS
    • E01CONSTRUCTION OF ROADS, RAILWAYS, OR BRIDGES
    • E01FADDITIONAL WORK, SUCH AS EQUIPPING ROADS OR THE CONSTRUCTION OF PLATFORMS, HELICOPTER LANDING STAGES, SIGNS, SNOW FENCES, OR THE LIKE
    • E01F5/00Draining the sub-base, i.e. subgrade or ground-work, e.g. embankment of roads or of the ballastway of railways or draining-off road surface or ballastway drainage by trenches, culverts, or conduits or other specially adapted means
    • EFIXED CONSTRUCTIONS
    • E01CONSTRUCTION OF ROADS, RAILWAYS, OR BRIDGES
    • E01CCONSTRUCTION OF, OR SURFACES FOR, ROADS, SPORTS GROUNDS, OR THE LIKE; MACHINES OR AUXILIARY TOOLS FOR CONSTRUCTION OR REPAIR
    • E01C11/00Details of pavings
    • E01C11/22Gutters; Kerbs ; Surface drainage of streets, roads or like traffic areas
    • E01C11/224Surface drainage of streets
    • E01C11/225Paving specially adapted for through-the-surfacing drainage, e.g. perforated, porous; Preformed paving elements comprising, or adapted to form, passageways for carrying off drainage
    • EFIXED CONSTRUCTIONS
    • E01CONSTRUCTION OF ROADS, RAILWAYS, OR BRIDGES
    • E01CCONSTRUCTION OF, OR SURFACES FOR, ROADS, SPORTS GROUNDS, OR THE LIKE; MACHINES OR AUXILIARY TOOLS FOR CONSTRUCTION OR REPAIR
    • E01C7/00Coherent pavings made in situ
    • E01C7/08Coherent pavings made in situ made of road-metal and binders
    • E01C7/18Coherent pavings made in situ made of road-metal and binders of road-metal and bituminous binders
    • YGENERAL TAGGING OF NEW TECHNOLOGICAL DEVELOPMENTS; GENERAL TAGGING OF CROSS-SECTIONAL TECHNOLOGIES SPANNING OVER SEVERAL SECTIONS OF THE IPC; TECHNICAL SUBJECTS COVERED BY FORMER USPC CROSS-REFERENCE ART COLLECTIONS [XRACs] AND DIGESTS
    • Y02TECHNOLOGIES OR APPLICATIONS FOR MITIGATION OR ADAPTATION AGAINST CLIMATE CHANGE
    • Y02ATECHNOLOGIES FOR ADAPTATION TO CLIMATE CHANGE
    • Y02A30/00Adapting or protecting infrastructure or their operation
    • Y02A30/60Planning or developing urban green infrastructure

Landscapes

  • Engineering & Computer Science (AREA)
  • Architecture (AREA)
  • Civil Engineering (AREA)
  • Structural Engineering (AREA)
  • Road Paving Structures (AREA)

Abstract

本发明公开了一种透水吸能型沥青路面结构,由下自上依次包括:路面基层、不透水层、过滤层、支架和沥青路面层;路面基层中设置有排水沟,排水沟的顶部设置有透水孔板盖;不透水层为水平倾斜设置,且不透水层的最低端与排水沟的顶部连接,最高端与支架的端部连接;支架包含水平顶板和竖直支撑板,竖直支撑板与透水孔板盖连接。还公开了上述透水吸能型沥青路面结构的铺设方法。本发明的透水吸能型沥青路面结构通过设置支架,对过滤层的流动性进行限制,提高了路面透水性,增强了路面整体强度。并且,在沥青路面层中嵌入钢丝网,提高了路面强度;在沥青路面层中插入漏水管,可使渗透到沥青路面上的水流更快速的向下流动,提高路面的透水性。

Figure 201811622074

The invention discloses a water-permeable and energy-absorbing asphalt pavement structure, which comprises from bottom to top: a pavement base, an impermeable layer, a filter layer, a support and an asphalt pavement layer; a drainage ditch is arranged in the pavement base, and the top of the drainage ditch is arranged There is a permeable orifice cover; the impermeable layer is horizontally inclined, and the lowest end of the impermeable layer is connected to the top of the drainage ditch, and the highest end is connected to the end of the bracket; the bracket includes a horizontal top plate and a vertical support plate, and the vertical support The plate is connected with the permeable orifice cover. Also disclosed is a method for laying the above water-permeable and energy-absorbing asphalt pavement structure. The water-permeable and energy-absorbing asphalt pavement structure of the present invention restricts the fluidity of the filter layer by arranging brackets, improves the water permeability of the pavement, and enhances the overall strength of the pavement. In addition, the steel wire mesh is embedded in the asphalt pavement layer to improve the strength of the pavement; the water leakage pipe is inserted into the asphalt pavement layer, so that the water that penetrates into the asphalt pavement can flow downward more quickly and improve the water permeability of the pavement.

Figure 201811622074

Description

Water-permeable energy-absorbing asphalt pavement structure and laying method thereof
Technical Field
The invention relates to the technical field of asphalt pavements, in particular to a water-permeable energy-absorbing asphalt pavement structure and a paving method thereof.
Background
Asphalt pavement refers to various types of pavement that are made by incorporating into mineral materials a road asphalt material. The asphalt binder improves the capability of the paving aggregate to resist damage of traveling vehicles and natural factors to the pavement, and enables the pavement to be smooth, less in dust, impermeable and durable. Accordingly, asphalt pavement is one of the most widely used high-grade pavements in road construction. The asphalt structure layer of asphalt pavement belongs to the category of flexible pavement, but the base layer of the asphalt pavement can also adopt rigid cement concrete or semi-rigid hydraulic material besides flexible material.
Therefore, current bituminous paving structural strength is lower, and easy wearing and tearing destroy, antiskid effect is also relatively poor, and the tone is more single, and rivers flow is followed easily to the filter layer among the bituminous paving, leads to the unstable problem in road surface.
Disclosure of Invention
Aiming at the problems in the prior art, the invention aims to provide a water-permeable energy-absorbing asphalt pavement structure and a paving method thereof, which can improve the strength of an asphalt pavement, enhance the deceleration effect of a vehicle and greatly shorten the braking distance of the vehicle; meanwhile, various colored pavements with different colors can be paved, and the appearance is attractive and elegant.
In order to achieve the purpose, the invention is realized by adopting the following technical scheme.
The first technical scheme is as follows:
the utility model provides a permeable energy-absorbing type bituminous pavement structure, includes from last in proper order by down: the pavement comprises a pavement base layer, a waterproof layer, a filter layer, a support and an asphalt pavement layer; a drainage ditch is arranged in the pavement base layer, and a permeable pore plate cover is arranged at the top of the drainage ditch; the impermeable layer is horizontally and obliquely arranged, the lowest end of the impermeable layer is connected with the top of the drainage ditch, and the highest end of the impermeable layer is connected with the end part of the bracket; the support contains horizontal roof and vertical support plate, vertical support plate with the porous plate lid is connected.
The first technical scheme of the invention is characterized by further improvement:
and the horizontal top plate and the vertical supporting plate of the support are respectively provided with a filtering hole.
Furthermore, a water leakage pipe is vertically arranged in the asphalt pavement layer, and the bottom end of the water leakage pipe is connected with the horizontal top plate of the support.
Furthermore, the top end of the water leakage pipe is provided with a filter screen
Furthermore, the top of leaking water pipe is ascending loudspeaker form opening, the filter screen set up in loudspeaker form open-ended tip.
Furthermore, the water leakage pipes are multiple and are evenly arranged in the asphalt pavement layer.
And a steel wire mesh is arranged in the asphalt pavement layer.
The water-permeable energy-absorbing asphalt pavement structure further comprises an adhesive layer and an asphalt wear-resistant layer which are sequentially arranged on the asphalt pavement layer.
Furthermore, color ceramic particles are embedded in the asphalt wear-resistant layer.
The second technical scheme is as follows:
a method for paving a water-permeable energy-absorbing asphalt pavement structure comprises the following steps:
step 1, firstly, digging a drainage ditch in a pavement base layer, and covering the top of the drainage ditch with a permeable pore plate cover;
step 2, paving a waterproof layer inclined towards the drainage ditch on the pavement base layers on the two sides of the drainage ditch, wherein the lowest end of the waterproof layer is connected with the top of the drainage ditch;
step 3, placing a support above the drainage ditch, wherein two ends of a horizontal top plate of the support are respectively connected with the highest ends of the impermeable layers on two sides of the drainage ditch, and a vertical supporting plate of the support is placed on the permeable pore plate cover; and filter layers are filled between the bracket and the impermeable layer and between the bracket and the drainage ditch;
step 4, paving an asphalt pavement layer on the upper layer of the support, and vertically inserting a water leakage pipe into the asphalt pavement layer to enable the bottom end of the water leakage pipe to be propped against a horizontal top plate of the support;
and 5, finally, sequentially paving an adhesive layer and an asphalt wear-resistant layer on the asphalt pavement layer.
Compared with the prior art, the invention has the beneficial effects that:
according to the water-permeable energy-absorbing asphalt pavement structure, the support is arranged, so that the flowability of the filter layer can be limited, the filter layer is prevented from flowing along with water flow, the water permeability of the pavement is improved, and the overall strength of the pavement is enhanced. Moreover, a layer of steel wire mesh is embedded in the asphalt pavement layer, so that the strength of the asphalt pavement can be improved; insert the weeping pipe in the bituminous paving layer, can make the rivers that permeate on the bituminous paving faster downward flow to impurity in the rivers filters under the effect of filter screen, improves the water permeability on road surface.
In addition, inlay colored ceramic granule on the bituminous wearing layer, its skid resistance is superior to ordinary bituminous paving and cement road surface far away, can effectively strengthen the vehicle deceleration effect and shorten the braking distance of vehicle greatly to have the effect that reduces the probability of sideslipping and remind the speed reduction, effectively prevent and reduce the traffic accident, be adapted to long-term wearing and tearing, improve the holistic life in road surface, and can pave the colored road surface of various different colours, elegant appearance.
Drawings
In order to more clearly illustrate the embodiments of the present invention or the technical solutions in the prior art, the drawings used in the description of the embodiments or the prior art will be briefly described below, it is obvious that the drawings in the following description are only some embodiments of the present invention, and for those skilled in the art, other drawings can be obtained according to the drawings without creative efforts.
FIG. 1 is a schematic structural view of a water-permeable energy-absorbing type asphalt pavement structure of the present invention;
FIG. 2 is an enlarged schematic view of the structure at A in FIG. 1;
FIG. 3 is a schematic structural view of a bracket in a water-permeable and energy-absorbing asphalt pavement structure according to the present invention;
FIG. 4 is a schematic structural diagram of a steel wire mesh in a water-permeable and energy-absorbing asphalt pavement structure of the present invention;
FIG. 5 is a schematic top perspective view of an asphalt pavement layer in the water-permeable and energy-absorbing asphalt pavement structure of the present invention;
FIG. 6 is a schematic bottom perspective view of the asphalt pavement layer of FIG. 5;
fig. 7 is an enlarged view of the screen of fig. 5 with the screen removed.
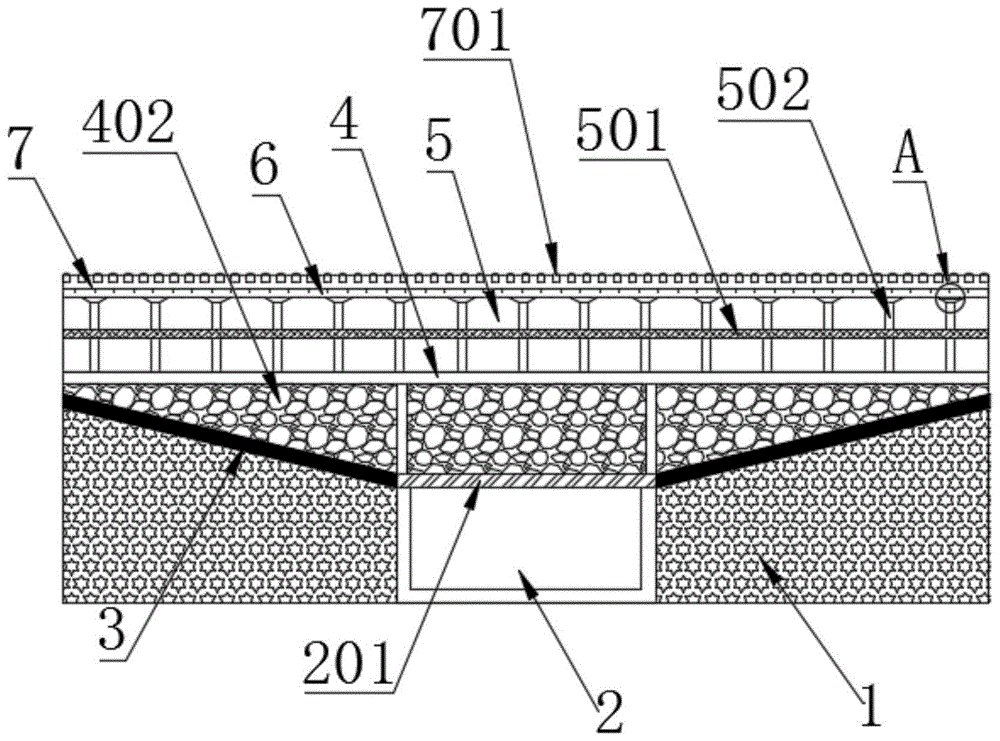
In the above fig. 1-7: 1 a base layer; 2, drainage ditches; 201 porous plate cover; 3, a water-impermeable layer; 4, supporting the bracket; 401, filtering holes; 402 a filter layer; 5, an asphalt pavement layer; 501, steel wire mesh; 502 water leakage pipe; 5021 filtering net; 6 an adhesive layer; 7, an asphalt wear-resistant layer; 701 colored ceramic particles.
Detailed Description
The technical solutions in the embodiments of the present invention will be clearly and completely described below with reference to the drawings in the embodiments of the present invention, and it is obvious that the described embodiments are only a part of the embodiments of the present invention, and not all of the embodiments. All other embodiments, which can be derived by a person skilled in the art from the embodiments given herein without making any creative effort, shall fall within the protection scope of the present invention.
In the description of the present invention, "a plurality" means two or more unless otherwise specified; the terms "upper", "lower", "left", "right", "inner", "outer", "front", "rear", "head", "tail", and the like, indicate orientations or positional relationships based on the orientations or positional relationships shown in the drawings, are only for convenience in describing and simplifying the description, and do not indicate or imply that the device or element referred to must have a particular orientation, be constructed in a particular orientation, and be operated, and thus, should not be construed as limiting the invention. Furthermore, the terms "first," "second," "third," and the like are used for descriptive purposes only and are not to be construed as indicating or implying relative importance.
In the description of the present invention, it is to be noted that, unless otherwise explicitly specified or limited, the terms "connected" and "connected" are to be interpreted broadly, e.g., as being fixed or detachable or integrally connected; can be mechanically or electrically connected; may be directly connected or indirectly connected through an intermediate. The specific meanings of the above terms in the present invention can be understood in specific cases to those skilled in the art.
FIG. 1 is a schematic structural view of a water-permeable energy-absorbing asphalt pavement structure of the present invention; referring to fig. 1, an embodiment of the present invention provides a water permeable and energy absorbing asphalt pavement structure, which sequentially comprises from bottom to top: the pavement comprises a pavement base layer 1, a waterproof layer 3, a filter layer 402, a support 4 and an asphalt pavement layer 5; a drainage ditch 2 is arranged in the pavement base layer 1, a permeable pore plate cover 201 is arranged at the top of the drainage ditch 2, permeable pores are arranged on the permeable pore plate cover 201, and water flow can flow into the drainage ditch 2 through the permeable pores; the impermeable layer 3 is horizontally and obliquely arranged towards the drainage ditch 2, the lowest end of the impermeable layer 3 is connected with the top of the drainage ditch 2, and the highest end is connected with the end part of the bracket 4; the support 4 comprises a horizontal top plate and a vertical support plate, which is connected with a permeable orifice plate cover 201.
Wherein, impervious bed 3 adopts tarpaulin, waterproof glue and cement to make jointly, and is the same with the waterproof technology of building among the prior art, and impervious bed 3's length sets for along with the length of escape canal 2, and the rivers of being convenient for can flow to the top of escape canal 2 along this impervious bed 3 of slope form to flow into escape canal 2 along the orifice plate that permeates water.
Referring to fig. 3, the horizontal top plate and the vertical support plate of the bracket 4 are respectively provided with filter holes 401, and the bracket 4 may be made of ABS plastic so that water permeating into the road surface may flow downward through the filter holes 401, permeate through the filter layer 402 on the lower side of the bracket 4, and then flow into the drainage ditch 2 through the water permeable holes on the water permeable cover plate.
9.5-19 mm of gravels are filled between the bracket 4 and the impermeable layer 3 and between the brackets and the permeable pore plates to form a filter layer 402 of the asphalt pavement structure, the filter layer 402 improves the water permeability of the pavement structure, but the gravels easily flow along with water flow to cause the pavement to sink; in the asphalt pavement structure, the support 4 can limit the fluidity of the filter layer 402, so that the filter layer 402 is prevented from flowing along with water flow, the asphalt pavement structure is supported, and the overall strength of the pavement is enhanced.
Further, referring to fig. 1, 5 and 6, a plurality of water leakage pipes 502 are vertically arranged in the asphalt pavement layer 5, the plurality of water leakage pipes 502 are uniformly arranged in the asphalt pavement layer 5, and the bottom end of each water leakage pipe 502 is connected with the horizontal top plate of the support 4, so that water flowing into the asphalt pavement can rapidly flow downwards through the water leakage pipes 502 and flow into the drainage ditch 2. In addition, referring to fig. 2, 5 and 7, the top of leaking water pipe 502 is ascending loudspeaker form opening, and loudspeaker form open-ended tip is provided with filter screen 5021, and filter screen 5021 can carry out the prefilter to the impurity in aquatic, prevents that impurity in the rivers from blockking up the leaking water pipe, and influence road surface structure's water permeability.
Further, referring to fig. 1, 4 and 5, a steel wire mesh 501 is horizontally arranged in the asphalt pavement layer 5, the steel wire mesh 501 can be made of transversely and longitudinally staggered steel bars, and the steel wire mesh 501 can improve the strength of the asphalt pavement.
Further, referring to fig. 1, the water-permeable and energy-absorbing asphalt pavement structure provided by the embodiment of the invention further includes an adhesive layer 6 and an asphalt wear-resistant layer 7 which are sequentially disposed on the asphalt pavement layer 5. The adhesive layer 6 adopts polyurethane color sand adhesive, and the asphalt wear-resistant layer 7 can be bonded on the adhesive layer 6; the asphalt wear-resistant layer 7 contains mineral powder, cement and asphalt, wherein the mineral powder: cement: asphalt 13: 18: 27; moreover, the colored ceramic particles 701 are embedded in the asphalt wear-resistant layer 7, so that the vehicle deceleration effect can be effectively enhanced, the braking distance of a vehicle can be greatly shortened, the functions of reducing the sideslip probability and reminding deceleration can be realized, traffic accidents can be effectively prevented and reduced, and meanwhile, colored pavements with various colors can be paved through the colored ceramic particles 701, so that the asphalt wear-resistant layer is attractive and elegant.
The paving method of the water-permeable energy-absorbing asphalt pavement structure provided by the embodiment of the invention comprises the following steps:
step 1, firstly, a drainage ditch 2 is dug in a pavement base layer 1, and a permeable pore plate cover 201 is covered on the top of the drainage ditch 2.
Step 2, paving a waterproof layer 3 which inclines towards the drainage ditch 2 on the pavement base layer 1 at the two sides of the drainage ditch 2, wherein the lowest end of the waterproof layer 3 is connected with the top of the drainage ditch 2; the waterproof layer 3 is made of waterproof cloth, waterproof glue and cement, and is the same as a waterproof process of a building in the prior art, and the length of the waterproof layer 3 is set along with the length of the drainage ditch 2.
Step 3, placing a support 4 above the drainage ditch 2, wherein two ends of a horizontal top plate of the support 4 are respectively connected with the highest ends of the impermeable layers 3 on two sides of the drainage ditch 2, and a vertical supporting plate of the support 4 is placed on the permeable pore plate cover 201; and gravel is filled between the support 4 and the impermeable layer 3 and between the support 4 and the drainage ditch 2, constituting a filter layer 402 of a pavement structure.
And 4, paving an asphalt pavement layer 5 on the upper layer of the support 4, and vertically inserting a water leakage pipe 502 into the asphalt pavement layer 5 to enable the bottom end of the water leakage pipe 502 to be propped against a horizontal top plate of the support 4.
Step 5, finally, sequentially paving an adhesive layer 6 and an asphalt wear-resistant layer 7 on the asphalt pavement layer 5; the adhesive layer 6 adopts polyurethane color sand adhesive, the asphalt wear-resistant layer 7 contains mineral powder, cement and asphalt, and the mineral powder: cement: asphalt 13: 18: 27; and color ceramic particles 701 are embedded in the asphalt wear-resistant layer 7.
When the asphalt pavement layer 5 is paved, the asphalt pavement can be paved twice, a layer of steel wire mesh 501 is horizontally embedded in the middle of the twice paving, and the strength of the asphalt pavement can be improved due to the embedding of the steel wire mesh 501.
It should be noted that the water-permeable and energy-absorbing asphalt pavement structure provided by the embodiment of the invention is only a section of pavement structure, the whole pavement can be formed by splicing the water-permeable and energy-absorbing composite rubber asphalt pavement structure provided by the invention section by section, and the arrangement density of the structure in the whole pavement can be determined according to the actual condition of the section of pavement design.
The above description is only for the specific embodiments of the present invention, but the scope of the present invention is not limited thereto, and any person skilled in the art can easily conceive of the changes or substitutions within the technical scope of the present invention, and all the changes or substitutions should be covered within the scope of the present invention. Therefore, the protection scope of the present invention shall be subject to the protection scope of the appended claims.

Claims (1)

1. The utility model provides a permeable energy-absorbing type bituminous pavement structure which characterized in that includes from last in proper order down: the asphalt pavement comprises a pavement base layer, a waterproof layer, a filter layer, a support, an asphalt pavement layer, an adhesive layer and an asphalt wear-resistant layer;
a drainage ditch is arranged in the pavement base layer, and a permeable pore plate cover is arranged at the top of the drainage ditch;
a water leakage pipe is vertically arranged in the asphalt pavement layer, and the bottom end of the water leakage pipe is connected with a horizontal top plate of the bracket; a filter screen is arranged at the top end of the water leakage pipe; the top end of the water leakage pipe is an upward horn-shaped opening, and the filter screen is arranged at the end part of the horn-shaped opening; the number of the water leakage pipes is multiple, and the water leakage pipes are uniformly arranged in the asphalt pavement layer;
a steel wire mesh is arranged in the asphalt pavement layer; colored ceramic particles are embedded in the asphalt wear-resistant layer;
the impermeable layer is horizontally and obliquely arranged, the lowest end of the impermeable layer is connected with the top of the drainage ditch, and the highest end of the impermeable layer is connected with the end part of the bracket;
the support comprises a horizontal top plate and a vertical supporting plate, and the vertical supporting plate is connected with the permeable pore plate cover; the horizontal top plate and the vertical supporting plate of the bracket are respectively provided with a filtering hole;
the paving method of the water-permeable energy-absorbing asphalt pavement structure comprises the following steps:
step 1, firstly, digging a drainage ditch in a pavement base layer, and covering the top of the drainage ditch with a permeable pore plate cover;
step 2, paving a waterproof layer inclined towards the drainage ditch on the pavement base layers on the two sides of the drainage ditch, wherein the lowest end of the waterproof layer is connected with the top of the drainage ditch;
step 3, placing a support above the drainage ditch, wherein two ends of a horizontal top plate of the support are respectively connected with the highest ends of the impermeable layers on two sides of the drainage ditch, and a vertical supporting plate of the support is placed on the permeable pore plate cover; macadam is filled between the support and the impermeable layer and between the support and the drainage ditch to form a filter layer;
step 4, paving an asphalt pavement layer on the upper layer of the support, and vertically inserting a water leakage pipe into the asphalt pavement layer to enable the bottom end of the water leakage pipe to be propped against a horizontal top plate of the support;
and 5, finally, sequentially paving an adhesive layer and an asphalt wear-resistant layer on the asphalt pavement layer.
CN201811622074.3A 2018-12-28 2018-12-28 Water-permeable energy-absorbing asphalt pavement structure and laying method thereof Expired - Fee Related CN109653107B (en)

Priority Applications (1)

Application Number Priority Date Filing Date Title
CN201811622074.3A CN109653107B (en) 2018-12-28 2018-12-28 Water-permeable energy-absorbing asphalt pavement structure and laying method thereof

Applications Claiming Priority (1)

Application Number Priority Date Filing Date Title
CN201811622074.3A CN109653107B (en) 2018-12-28 2018-12-28 Water-permeable energy-absorbing asphalt pavement structure and laying method thereof

Publications (2)

Publication Number Publication Date
CN109653107A CN109653107A (en) 2019-04-19
CN109653107B true CN109653107B (en) 2022-03-01

Family

ID=66117991

Family Applications (1)

Application Number Title Priority Date Filing Date
CN201811622074.3A Expired - Fee Related CN109653107B (en) 2018-12-28 2018-12-28 Water-permeable energy-absorbing asphalt pavement structure and laying method thereof

Country Status (1)

Country Link
CN (1) CN109653107B (en)

Families Citing this family (2)

* Cited by examiner, † Cited by third party
Publication number Priority date Publication date Assignee Title
CN113186778B (en) * 2021-05-07 2022-11-08 贵州省遵义公路管理局 Road surface rainwater concealed type permeation structure and construction process
CN114263081A (en) * 2021-12-30 2022-04-01 南通学帆工程材料科技有限公司 Preparation method of polymer modified asphalt material

Citations (7)

* Cited by examiner, † Cited by third party
Publication number Priority date Publication date Assignee Title
DE202010003569U1 (en) * 2009-10-14 2011-02-24 Purus Arzberg Gmbh Base layer, base plate, base plate arrangement and sandwich structure
CN202766945U (en) * 2012-08-10 2013-03-06 吉林省中力通信工程有限公司 Water containing road surface capable of solving waterlogging
CN104652214A (en) * 2015-01-19 2015-05-27 薛志东 Paving method of water-permeable pavement
CN205276088U (en) * 2016-01-05 2016-06-01 刘淑艳 Modular permeable pavement structure
CN205443839U (en) * 2015-12-25 2016-08-10 天津珂赛思道路工程有限公司 Colored anti -skid surface of fluorescence
CN206784099U (en) * 2017-02-06 2017-12-22 南京优品盛源工程技术有限公司 It is easy to the bituminous paving of draining
CN207391972U (en) * 2017-10-27 2018-05-22 天津轨道交通集团工程建设有限公司 A kind of infiltration road surface with built-in steelframe collet

Patent Citations (7)

* Cited by examiner, † Cited by third party
Publication number Priority date Publication date Assignee Title
DE202010003569U1 (en) * 2009-10-14 2011-02-24 Purus Arzberg Gmbh Base layer, base plate, base plate arrangement and sandwich structure
CN202766945U (en) * 2012-08-10 2013-03-06 吉林省中力通信工程有限公司 Water containing road surface capable of solving waterlogging
CN104652214A (en) * 2015-01-19 2015-05-27 薛志东 Paving method of water-permeable pavement
CN205443839U (en) * 2015-12-25 2016-08-10 天津珂赛思道路工程有限公司 Colored anti -skid surface of fluorescence
CN205276088U (en) * 2016-01-05 2016-06-01 刘淑艳 Modular permeable pavement structure
CN206784099U (en) * 2017-02-06 2017-12-22 南京优品盛源工程技术有限公司 It is easy to the bituminous paving of draining
CN207391972U (en) * 2017-10-27 2018-05-22 天津轨道交通集团工程建设有限公司 A kind of infiltration road surface with built-in steelframe collet

Also Published As

Publication number Publication date
CN109653107A (en) 2019-04-19

Similar Documents

Publication Publication Date Title
CN209039905U (en) A kind of asphalt paving convenient for construction
CN109629369B (en) Water permeable pavement structure based on construction waste crushed materials and paving method thereof
CN203890829U (en) Drainage facility of porous asphalt pavement
CN105239485B (en) Water drainage curb and the asphalt roads with discharge structure
CN107386047B (en) A kind of permeable brick pavement structure and construction method thereof
CN201485768U (en) Road drainage system
CN109653107B (en) Water-permeable energy-absorbing asphalt pavement structure and laying method thereof
CN103174079B (en) A kind of roadway rainwater collection system for preventing surface gathered water
CN207176440U (en) A kind of discharge structure for the water-permeable pavement of pavement half
CN108239905B (en) Water accumulation preventing road and construction method thereof
CN218621638U (en) Municipal administration road that permeates water
CN207749382U (en) A drainage pavement structure for sponge city
CN201080590Y (en) New water seepage floor tiles
CN109423939A (en) Ecological garden all-purpose road
CN209759936U (en) Permeable pavement structure based on building rubbish crushed aggregates
CN203346758U (en) Pervious sidewalk structure
CN105803888A (en) Sponge type road paving structure
CN212582321U (en) Garden road structure of permeating water
CN216006482U (en) Anti-blocking structure of colored pervious concrete
CN218345840U (en) Water-stable gravel pavement structure
CN217104534U (en) Brick structure of mating formation permeates water suitable for high ground water level region
CN215164279U (en) Novel water permeable and draining pavement structure applied to sponge city
CN202989722U (en) Permeable road kerb
CN213295953U (en) Concrete road surface structure permeates water
CN208685362U (en) The arragement construction of city non-motorized lane

Legal Events

Date Code Title Description
PB01 Publication
PB01 Publication
SE01 Entry into force of request for substantive examination
SE01 Entry into force of request for substantive examination
CB02 Change of applicant information
CB02 Change of applicant information

Address after: No.60, Gaoxin 6th Road, Xi'an, Shaanxi 710065

Applicant after: Xi'an Highway Research Institute Co.,Ltd.

Address before: No.60, Gaoxin 6th Road, Xi'an, Shaanxi 710065

Applicant before: XI'AN HIGHWAY INSTITUTE

GR01 Patent grant
GR01 Patent grant
CF01 Termination of patent right due to non-payment of annual fee
CF01 Termination of patent right due to non-payment of annual fee

Granted publication date: 20220301