CN109578888B - Agricultural illuminating lamp convenient to change LED lamp - Google Patents

Agricultural illuminating lamp convenient to change LED lamp Download PDF

Info

Publication number
CN109578888B
CN109578888B CN201811463052.7A CN201811463052A CN109578888B CN 109578888 B CN109578888 B CN 109578888B CN 201811463052 A CN201811463052 A CN 201811463052A CN 109578888 B CN109578888 B CN 109578888B
Authority
CN
China
Prior art keywords
block
groove
lamp
reflector
grooves
Prior art date
Legal status (The legal status is an assumption and is not a legal conclusion. Google has not performed a legal analysis and makes no representation as to the accuracy of the status listed.)
Active
Application number
CN201811463052.7A
Other languages
Chinese (zh)
Other versions
CN109578888A (en
Inventor
谭启龙
Current Assignee (The listed assignees may be inaccurate. Google has not performed a legal analysis and makes no representation or warranty as to the accuracy of the list.)
Cea Electric Co ltd
Original Assignee
Cea Electric Co ltd
Priority date (The priority date is an assumption and is not a legal conclusion. Google has not performed a legal analysis and makes no representation as to the accuracy of the date listed.)
Filing date
Publication date
Application filed by Cea Electric Co ltd filed Critical Cea Electric Co ltd
Priority to CN201811463052.7A priority Critical patent/CN109578888B/en
Publication of CN109578888A publication Critical patent/CN109578888A/en
Application granted granted Critical
Publication of CN109578888B publication Critical patent/CN109578888B/en
Active legal-status Critical Current
Anticipated expiration legal-status Critical

Links

Images

Classifications

    • FMECHANICAL ENGINEERING; LIGHTING; HEATING; WEAPONS; BLASTING
    • F21LIGHTING
    • F21SNON-PORTABLE LIGHTING DEVICES; SYSTEMS THEREOF; VEHICLE LIGHTING DEVICES SPECIALLY ADAPTED FOR VEHICLE EXTERIORS
    • F21S8/00Lighting devices intended for fixed installation
    • F21S8/08Lighting devices intended for fixed installation with a standard
    • FMECHANICAL ENGINEERING; LIGHTING; HEATING; WEAPONS; BLASTING
    • F21LIGHTING
    • F21VFUNCTIONAL FEATURES OR DETAILS OF LIGHTING DEVICES OR SYSTEMS THEREOF; STRUCTURAL COMBINATIONS OF LIGHTING DEVICES WITH OTHER ARTICLES, NOT OTHERWISE PROVIDED FOR
    • F21V19/00Fastening of light sources or lamp holders
    • F21V19/001Fastening of light sources or lamp holders the light sources being semiconductors devices, e.g. LEDs
    • FMECHANICAL ENGINEERING; LIGHTING; HEATING; WEAPONS; BLASTING
    • F21LIGHTING
    • F21VFUNCTIONAL FEATURES OR DETAILS OF LIGHTING DEVICES OR SYSTEMS THEREOF; STRUCTURAL COMBINATIONS OF LIGHTING DEVICES WITH OTHER ARTICLES, NOT OTHERWISE PROVIDED FOR
    • F21V21/00Supporting, suspending, or attaching arrangements for lighting devices; Hand grips
    • F21V21/40Hand grips
    • FMECHANICAL ENGINEERING; LIGHTING; HEATING; WEAPONS; BLASTING
    • F21LIGHTING
    • F21VFUNCTIONAL FEATURES OR DETAILS OF LIGHTING DEVICES OR SYSTEMS THEREOF; STRUCTURAL COMBINATIONS OF LIGHTING DEVICES WITH OTHER ARTICLES, NOT OTHERWISE PROVIDED FOR
    • F21V7/00Reflectors for light sources
    • F21V7/04Optical design
    • FMECHANICAL ENGINEERING; LIGHTING; HEATING; WEAPONS; BLASTING
    • F21LIGHTING
    • F21YINDEXING SCHEME ASSOCIATED WITH SUBCLASSES F21K, F21L, F21S and F21V, RELATING TO THE FORM OR THE KIND OF THE LIGHT SOURCES OR OF THE COLOUR OF THE LIGHT EMITTED
    • F21Y2115/00Light-generating elements of semiconductor light sources
    • F21Y2115/10Light-emitting diodes [LED]

Landscapes

  • Engineering & Computer Science (AREA)
  • General Engineering & Computer Science (AREA)
  • Fastening Of Light Sources Or Lamp Holders (AREA)
  • Non-Portable Lighting Devices Or Systems Thereof (AREA)

Abstract

本发明公开了一种便于更换LED灯的农业照明灯,包括安装在灯罩内部的灯板,灯板的顶部开设有多个均匀分布的安装槽,安装槽的内底部开设有两个连接槽,两个连接槽的内部均插接有连接块,两个连接块的顶部共同固定连接有LED灯,安装槽两个相对的内侧壁均开设有第一滑槽,两个第一滑槽的内部均滑动连接有第一滑块,两个第一滑块相靠近的一端均固定连接有垫片,两个垫片相靠近的侧壁分别与LED灯的两个侧壁相抵,第一滑块远离垫片的侧壁与第一滑槽的内侧壁之间共同固定连接有复位弹簧,安装槽两个相对的内侧壁顶端均开设有T型的第二滑槽,两个第二滑槽的内部均滑动连接有第二滑块。本发明能够便于更换农业照明灯中的LED灯。

Figure 201811463052

The invention discloses an agricultural lighting lamp for easy replacement of LED lamps, comprising a lamp board installed inside a lampshade, a plurality of evenly distributed installation grooves are opened on the top of the lamp board, and two connection grooves are opened at the inner bottom of the installation groove. A connecting block is inserted into the interior of the two connecting grooves, the tops of the two connecting blocks are fixedly connected with LED lights, and two opposite inner side walls of the installation groove are provided with first sliding grooves, and the interiors of the two first sliding grooves are A first slider is slidably connected to each other, and a gasket is fixedly connected to the close ends of the two first sliders. A return spring is fixedly connected between the side wall away from the gasket and the inner side wall of the first chute, and the top ends of the two opposite inner side walls of the installation slot are both provided with a T-shaped second chute. A second sliding block is slidably connected inside. The invention can facilitate the replacement of the LED lamp in the agricultural lighting lamp.

Figure 201811463052

Description

Agricultural illuminating lamp convenient to change LED lamp
Technical Field
The invention relates to the technical field of agricultural illuminating lamps, in particular to an agricultural illuminating lamp convenient for replacing an LED lamp.
Background
With the development of agricultural science and technology, agricultural production also faces more and more challenges, for example, the requirement for illumination in agricultural production, and the new generation of LED agricultural illuminating lamp not only is energy-saving and environment-friendly, but also has adjustable brightness and light quality.
Through retrieval, chinese patent application No. 201711372444.8 discloses an LED agricultural lighting lamp, including slide bar, support column, control panel, control button, base, dead lever, connecting rod, lamp shade, piston rod, pneumatic cylinder, electric wire netting, lamp plate, firing pin, first spring, notch, second spring, reflector, gasket, electro-magnet, fixture block, bayonet socket, LED lamp and iron rod. In the above patent, when the device is installed, the second spring is firstly squeezed to move the second spring and the gasket to one side, then the clamping block at the bottom of the LED lamp is inserted into the bayonet, after the clamping block is inserted, the second spring is loosened to squeeze the LED lamp by the second spring and the gasket, so as to fix the LED lamp preliminarily, at this time, the reflector is closed again to insert the iron rod at the bottom of the reflector into the lamp panel, the electromagnet is installed inside the lamp panel, the electromagnet is turned on through the control button of the control panel to generate magnetism, so that the inserted iron rod can be adsorbed, the reflector is fixed at the top of the notch, and meanwhile, the reflector can also press the LED lamp, so as to further fix the LED lamp inside the notch, the device uses the above method for installing the LED lamp to change the problem that the traditional LED lamp is welded on the lamp panel and is not convenient to detach and replace, foretell gasket and second spring set up in pairs, when the LED lamp is installed to needs, need artifical two gaskets to make the motion of keeping away from mutually simultaneously just can insert the inside of bayonet socket with the fixture block on the LED lamp, when dismantling the LED lamp, will make two gaskets do the motion of keeping away from mutually again and just can dismantle the LED lamp, and this kind of mode operation is more troublesome.
Disclosure of Invention
The invention aims to solve the problem that an LED lamp in an agricultural illuminating lamp in the prior art is troublesome to replace, and provides the agricultural illuminating lamp convenient for replacing the LED lamp.
In order to achieve the purpose, the invention adopts the following technical scheme:
an agricultural illuminating lamp convenient for replacing an LED lamp comprises a lamp panel arranged in a lampshade, wherein a plurality of uniformly distributed mounting grooves are formed in the top of the lamp panel, two connecting grooves are formed in the inner bottom of each mounting groove, connecting blocks are inserted into the two connecting grooves, the top parts of the two connecting blocks are fixedly connected with the LED lamp together, first sliding grooves are formed in two opposite inner side walls of each mounting groove, first sliding blocks are connected into the two first sliding grooves in a sliding mode, a gasket is fixedly connected to one end, close to the two first sliding blocks, of each first sliding groove, the side walls, close to the two gaskets are abutted to the two side walls of the LED lamp respectively, a reset spring is fixedly connected between the side wall, far away from the gasket, of each first sliding block and the inner side wall of each first sliding groove together, and T-shaped second sliding grooves are formed in the top ends of the two, two equal sliding connection in inside of second spout has the second slider, two the bottom that the second slider is close to the lateral wall mutually all is connected with the connecting rod through the hinge rotation, two the bottom of connecting rod is rotated with the top of two gaskets through the hinge respectively and is connected, the top of lamp plate is rotated through the hinge and is connected with the reflector corresponding with the mounting groove, the bottom of reflector offsets with the top of two second sliders and the top of LED lamp respectively, the recess corresponding with the reflector has been seted up at the top of lamp plate, the inside of recess is pegged graft and is had the fixed block, the one end and the reflector fixed connection of fixed block, the top of lamp plate is provided with the stop gear corresponding with the fixed block.
Preferably, stop gear includes the supporting shoe, supporting shoe and lamp plate fixed connection, the supporting shoe is kept away from the lateral wall of fixed block and has been seted up the transmission groove, the inside in transmission groove is provided with the stopper, the one end of stopper runs through the transmission groove and extends to the outside in transmission groove, the other end fixedly connected with fixed plate of stopper, the fixed plate is close to the spacing spring of common fixedly connected with between the lateral wall of fixed block and the inside wall in transmission groove, the bottom of stopper contacts with the top of fixed block.
Preferably, the top of the fixing plate is provided with an operation groove.
Preferably, the bottom end of the connecting block is set as two symmetrically arranged inclined planes.
Preferably, the top of the fixing block is fixedly connected with a handle.
Preferably, the handle and the fixing block are integrally formed.
Compared with the prior art, the invention provides an agricultural illuminating lamp convenient for replacing an LED lamp, which has the following beneficial effects:
1. the agricultural illuminating lamp convenient for replacing the LED lamp is characterized in that the limiting mechanism is arranged, when the LED lamp needs to be replaced, the limiting block moves away from the fixed block through the operation groove, the limiting spring stretches, when the limiting block is thoroughly separated from the fixed block, the fixed block and the reflecting cover move away from the first sliding block through the handle, under the action of the elastic force of the reset spring, the two first sliding blocks drive the two gaskets to be separated from the LED lamp, the two connecting rods drive the two second sliding blocks to move upwards, the top ends of the two second sliding blocks extend to the outer part of the second sliding groove, at the moment, people can easily take out the old LED lamp from the inner part of the mounting groove, and insert the two connecting blocks on the new LED lamp into the inner parts of the two connecting grooves respectively, at the moment, the fixed block and the reflecting cover move gradually close to the mounting groove through the handle, and the bottom of the reflecting cover is contacted with, and the reflector makes two second sliders move downwards, two connecting rods drive two gaskets to do the motion of being close to each other, the reset spring is stretched, when the reflector thoroughly covers the mounting groove, two gaskets press from both sides of the LED lamp tightly, and the reflector compresses tightly the LED lamp from the top of the LED lamp, at this moment, the fixed plate is loosened, under the effect of limiting spring elasticity, the motion of being close to the fixed block is done to the stopper, and the stopper is spacing to the fixed block, thereby reach the effect of being convenient for install and dismantle the LED lamp.
2. This agricultural lighting lamp convenient to change LED lamp, through setting up the inclined plane, the inclined plane plays the guide effect, and two connecting blocks of being convenient for insert the inside of two spread grooves to be convenient for install the LED lamp.
The parts which are not involved in the device are the same as or can be realized by adopting the prior art, and the invention can facilitate the replacement of the LED lamp in the agricultural illuminating lamp.
Drawings
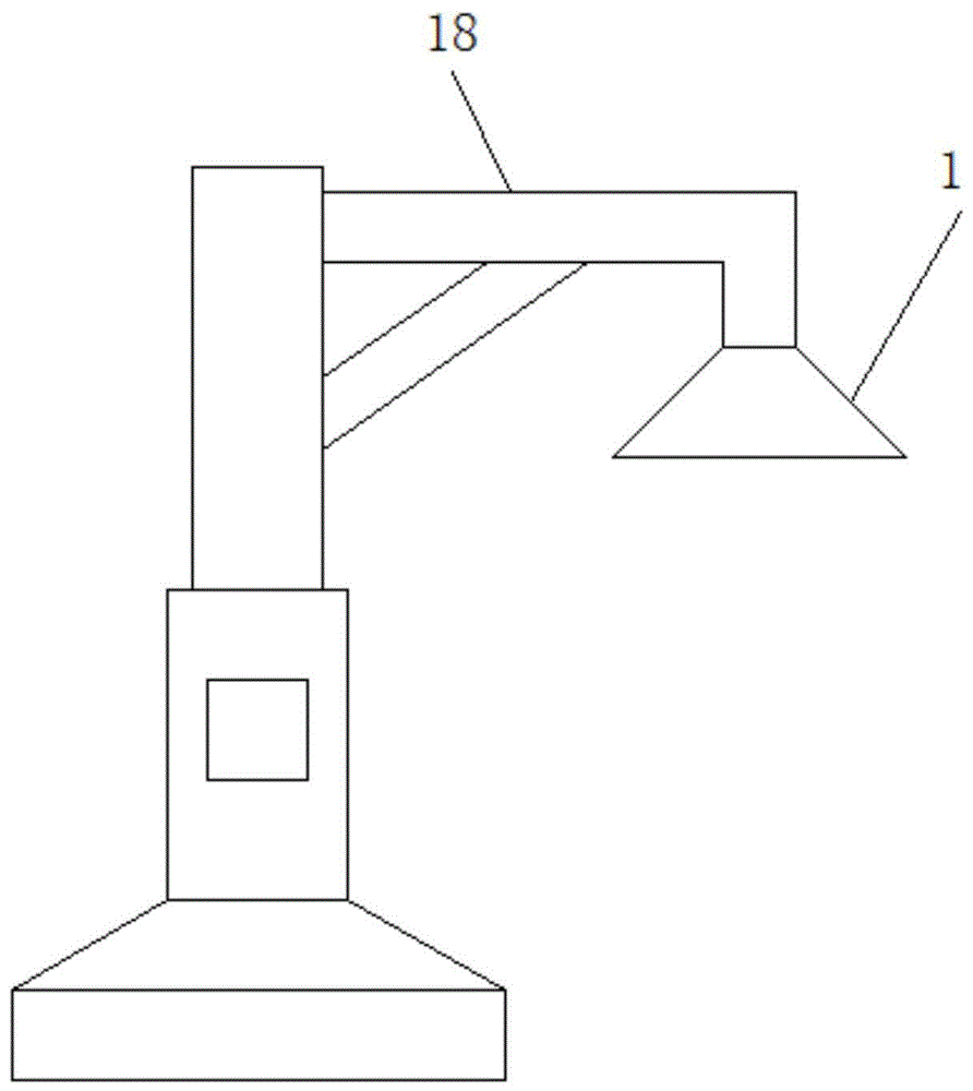
FIG. 1 is a schematic structural view of an agricultural illuminating lamp with an LED lamp being easily replaced according to the present invention;
FIG. 2 is a schematic view of a connection structure between an LED lamp and a lamp panel of an agricultural illuminating lamp convenient for replacing the LED lamp, which is provided by the invention;
FIG. 3 is a top view of FIG. 2;
fig. 4 is a schematic structural view of a portion a in fig. 3.
In the figure: 1 lamp shade, 2 lamp plates, 3 connecting blocks, 4 LED lamps, 5 first sliders, 6 gaskets, 7 reset springs, 8 second sliders, 9 connecting rods, 10 reflectors, 11 grooves, 12 fixing blocks, 13 supporting blocks, 14 limiting blocks, 15 fixing plates, 16 limiting springs, 17 handles and 18 connecting rods.
Detailed Description
The technical solutions in the embodiments of the present invention will be clearly and completely described below with reference to the drawings in the embodiments of the present invention, and it is obvious that the described embodiments are only a part of the embodiments of the present invention, and not all of the embodiments.
In the description of the present invention, it is to be understood that the terms "upper", "lower", "front", "rear", "left", "right", "top", "bottom", "inner", "outer", and the like, indicate orientations or positional relationships based on the orientations or positional relationships shown in the drawings, are merely for convenience in describing the present invention and simplifying the description, and do not indicate or imply that the device or element being referred to must have a particular orientation, be constructed and operated in a particular orientation, and thus, should not be construed as limiting the present invention.
Referring to fig. 1-4, an agricultural illuminating lamp convenient for replacing an LED lamp comprises a lamp panel 2 installed inside a lampshade 1, the lampshade 1 is fixedly connected with a connecting rod 18, the top of the lamp panel 2 is provided with a plurality of uniformly distributed mounting grooves, the inner bottom of the mounting groove is provided with two connecting grooves, the inside of the two connecting grooves is respectively inserted with a connecting block 3, the top of the two connecting blocks 3 is commonly and fixedly connected with an LED lamp 4, two opposite inner side walls of the mounting groove are respectively provided with a first sliding groove, the inside of the two first sliding grooves is respectively and slidably connected with a first sliding block 5, one end of the two first sliding blocks 5 close to each other is respectively and fixedly connected with a gasket 6, the side walls of the two gaskets 6 close to each other are respectively abutted against the two side walls of the LED lamp 4, a reset spring 7 is commonly and fixedly connected between the side wall of the first sliding groove 5 far from the gasket 6 and the, the equal sliding connection in inside of two second spouts has second slider 8, second slider 8's width is greater than the vertical direction open-ended width of second spout, the bottom that two second sliders 8 are close to the lateral wall mutually all is connected with connecting rod 9 through the hinge rotation, the bottom of two connecting rod 9 is connected through the hinge rotation of the top of hinge and two gaskets 6 respectively, the top of lamp plate 2 is connected with the reflector 10 corresponding with the mounting groove through the hinge rotation, the bottom of reflector 10 offsets with the top of two second sliders 8 and the top of LED lamp 4 respectively, recess 11 corresponding with reflector 10 has been seted up at the top of lamp plate 2, fixed block 12 has been pegged graft to the inside of recess 11, the one end and the reflector 10 fixed connection of fixed block 12, the top of lamp plate 2 is provided with the stop gear corresponding with fixed block 12.
Stop gear includes supporting shoe 13, supporting shoe 13 and 2 fixed connection of lamp plate, the transmission groove has been seted up to the lateral wall that fixed block 12 was kept away from to supporting shoe 13, the inside in transmission groove is provided with stopper 14, the outside that the transmission groove and extend to the transmission groove is run through to stopper 14's one end, stopper 14's other end fixedly connected with fixed plate 15, common fixedly connected with spacing spring 16 between fixed plate 15 is close to the lateral wall of fixed block 12 and the inside wall in transmission groove, stopper 14's bottom contacts with the top of fixed block 12, stop gear is used for spacing fixed block 12.
The top of the fixed plate 15 is provided with an operation groove, and the fixed plate 15 is convenient for people to operate by the operation groove.
Establish to the inclined plane that two symmetries set up for the bottom of connecting block 3, the inclined plane plays the guide effect, is convenient for insert the inside of spread groove with connecting block 3.
The top of the fixed block 12 is fixedly connected with a handle 17, the handle 17 and the fixed block 12 are integrally formed, and the handle 17 is convenient for people to operate the fixed block 12 and the reflector 10.
In the invention, when the LED lamp 4 needs to be replaced, the limiting block 14 moves away from the fixed block 12 through the operating groove, the limiting spring 16 stretches, when the limiting block 14 is completely separated from the fixed block 12, the fixed block 12 and the reflecting cover 10 move away from the first sliding blocks 5 through the handle 17, under the action of the elastic force of the return spring 7, the two first sliding blocks 5 drive the two gaskets 6 to be separated from the LED lamp 4, the two connecting rods 9 drive the two second sliding blocks 8 to move upwards, the top ends of the two second sliding blocks 8 extend to the outer parts of the second sliding grooves, at the moment, people can easily take out the old LED lamp 4 from the inner part of the mounting groove, and insert the two connecting blocks 3 on the new LED lamp 4 into the inner parts of the two connecting grooves respectively, at the moment, the fixed block 12 and the reflecting cover 10 move gradually close to the mounting groove through the handle 17, the bottom of the reflecting cover 10 is contacted with the top parts of the two second, and the reflector 10 makes two second sliders 8 move downwards, two connecting rods 9 drive two gaskets 6 to do the motion that is close to mutually, reset spring 7 is tensile, when the reflector 10 thoroughly covers the mounting groove, two gaskets 6 press from both sides tight LED lamp 4 from the both sides of LED lamp 4, and reflector 10 compresses tightly LED lamp 4 from the top of LED lamp 4, at this moment, loosen fixed plate 15, under the effect of spacing spring 16 elasticity, stopper 14 does the motion that is close to fixed block 12, and stopper 14 carries on spacingly to fixed block 12, thereby reach the effect of being convenient for install and dismantle LED lamp 4, through setting up the inclined plane, the inclined plane plays the guide effect, be convenient for two connecting blocks 3 insert the inside of two spread grooves, thereby be convenient for install LED lamp 4.
The above description is only for the preferred embodiment of the present invention, but the scope of the present invention is not limited thereto, and any person skilled in the art should be considered to be within the technical scope of the present invention, and the technical solutions and the inventive concepts thereof according to the present invention should be equivalent or changed within the scope of the present invention.

Claims (4)

1.一种便于更换LED灯的农业照明灯,包括安装在灯罩(1)内部的灯板(2),其特征在于,所述灯板(2)的顶部开设有多个均匀分布的安装槽,所述安装槽的内底部开设有两个连接槽,两个所述连接槽的内部均插接有连接块(3),两个所述连接块(3)的顶部共同固定连接有LED灯(4),所述安装槽两个相对的内侧壁均开设有第一滑槽,两个所述第一滑槽的内部均滑动连接有第一滑块(5),两个所述第一滑块(5)相靠近的一端均固定连接有垫片(6),两个所述垫片(6)相靠近的侧壁分别与LED灯(4)的两个侧壁相抵,所述第一滑块(5)远离垫片(6)的侧壁与第一滑槽的内侧壁之间共同固定连接有复位弹簧(7),所述安装槽两个相对的内侧壁顶端均开设有T型的第二滑槽,两个所述第二滑槽的内部均滑动连接有第二滑块(8),两个所述第二滑块(8)相靠近侧壁的底端均通过铰链转动连接有连杆(9),两个所述连杆(9)的底端分别通过铰链与两个垫片(6)的顶端转动连接,所述灯板(2)的顶部通过铰链转动连接有与安装槽相对应的反光罩(10),所述反光罩(10)的底部分别与两个第二滑块(8)的顶部和LED灯(4)的顶部相抵,所述灯板(2)的顶部开设有与反光罩(10)相对应的凹槽(11),所述凹槽(11)的内部插接有固定块(12),所述固定块(12)的一端与反光罩(10)固定连接,所述灯板(2)的顶部设置有与固定块(12)相对应的限位机构;所述限位机构包括支撑块(13),所述支撑块(13)与灯板(2)固定连接,所述支撑块(13)远离固定块(12)的侧壁开设有传动槽,所述传动槽的内部设置有限位块(14),所述限位块(14)的一端贯穿传动槽并延伸至传动槽的外部,所述限位块(14)的另一端固定连接有固定板(15),所述固定板(15)靠近固定块(12)的侧壁与传动槽的内侧壁之间共同固定连接有限位弹簧(16),所述限位块(14)的底部与固定块(12)的顶部相接触;所述固定块(12)的顶部固定连接有把手(17);1. An agricultural lighting lamp for easy replacement of LED lamps, comprising a lamp board (2) installed inside a lampshade (1), characterized in that a plurality of evenly distributed installation slots are opened on the top of the lamp board (2) , the inner bottom of the installation groove is provided with two connection grooves, the interior of the two connection grooves are inserted with connection blocks (3), and the tops of the two connection blocks (3) are fixedly connected with LED lights. (4), the two opposite inner side walls of the installation groove are both provided with first sliding grooves, and the interiors of the two first sliding grooves are slidably connected with a first sliding block (5), and the two first sliding grooves are slidably connected to each other. A gasket (6) is fixedly connected to one end of the slider (5) that is close to each other, and the adjacent side walls of the two gaskets (6) are respectively abutted against the two side walls of the LED lamp (4). A return spring (7) is fixedly connected between the side wall of the slider (5) away from the washer (6) and the inner side wall of the first chute, and the top ends of the two opposite inner side walls of the mounting groove are provided with T A type of second chute, the interior of the two second chute is slidably connected with a second slider (8), and the bottom ends of the two second sliders (8) close to the side wall are connected by hinges A connecting rod (9) is rotatably connected, the bottom ends of the two connecting rods (9) are respectively connected with the top ends of the two gaskets (6) through hinges, and the top of the lamp board (2) is connected through hinges. There is a reflector (10) corresponding to the installation groove, and the bottom of the reflector (10) is in contact with the tops of the two second sliders (8) and the tops of the LED lights (4), respectively, and the light boards ( 2) A groove (11) corresponding to the reflector (10) is provided on the top of the groove (11), a fixing block (12) is inserted into the interior of the groove (11), and one end of the fixing block (12) is connected to the reflector (10). The cover (10) is fixedly connected, the top of the lamp board (2) is provided with a limit mechanism corresponding to the fixing block (12); the limit mechanism includes a support block (13), the support block (13) It is fixedly connected with the lamp board (2), the side wall of the support block (13) away from the fixing block (12) is provided with a transmission groove, and a limit block (14) is arranged inside the transmission groove, and the limit block ( One end of 14) penetrates the transmission groove and extends to the outside of the transmission groove, and the other end of the limit block (14) is fixedly connected with a fixing plate (15), and the fixing plate (15) is close to the side of the fixing block (12). A limit spring (16) is fixedly connected between the wall and the inner side wall of the transmission groove, and the bottom of the limit block (14) is in contact with the top of the fixed block (12); the top of the fixed block (12) is fixed A handle (17) is connected; 当需要更换LED灯(4)时,通过操作槽使限位块(14 )做远离固定块(12)的运动,限位弹簧(16)拉伸,当限位块(14)彻底与固定块(12)分离时,通过把手(17)使固定块(12)和反光罩(10)做远离第一滑块(5)的运动,在复位弹簧(7)弹力的作用下,两个第一滑块(5)带动两个垫片(6)均与LED灯(4)分离,且两个连杆(9)带动两个第二滑块(8)向上运动,两个第二滑块(8)的顶端延伸至第二滑槽的外部,此时,人们便可以轻易地将旧的LED灯(4)从安装槽的内部取出,且将新的LED灯(4)上的两个连接块(3)分别插入两个连接槽的内部,此时,通过把手(17)使固定块(12)和反光罩(10)做逐渐靠近安装槽的运动,反光罩(10)的底部与两个第二滑块(8)的顶部相接触,且反光罩(10)使两个第二滑块(8)向下运动,两个连杆(9)带动两个垫片(6)做相靠近的运动,复位弹簧(7)拉伸,当反光罩(10)彻底覆盖安装槽时,两个垫片(6)从LED灯(4)的两侧夹紧LED灯(4),且反光罩(10)从LED灯(4)的顶部压紧LED灯(4),此时,松开固定板(15),在限位弹簧(16)弹力的作用下,限位块(14)做靠近固定块(12)的运动,且限位块(14)对固定块(12)进行限位,从而达到便于安装与拆卸LED灯(4)的效果,通过设置斜面,斜面起导向作用,便于两个连接块(3)插入两个连接槽的内部,从而便于安装LED灯(4)。When the LED light (4) needs to be replaced, the limit block (14) is moved away from the fixed block (12) through the operating groove, and the limit spring (16) is stretched. When the limit block (14) is completely connected to the fixed block (12) When separating, the fixed block (12) and the reflector (10) are moved away from the first slider (5) through the handle (17). Under the action of the elastic force of the return spring (7), the two first The slider (5) drives the two gaskets (6) to separate from the LED light (4), and the two connecting rods (9) drive the two second sliders (8) to move upward, and the two second sliders ( 8) The top end extends to the outside of the second chute, at this time, people can easily take out the old LED light (4) from the inside of the mounting groove, and connect the two connections on the new LED light (4). The blocks (3) are inserted into the two connecting grooves respectively. At this time, the fixing block (12) and the reflector (10) are gradually moved closer to the installation grooves by the handle (17), and the bottom of the reflector (10) is connected to the two connecting grooves. The tops of the second sliders (8) are in contact, and the reflector (10) makes the two second sliders (8) move downward, and the two connecting rods (9) drive the two gaskets (6) to move in contact with each other. The movement of approaching, the return spring (7) is stretched, and when the reflector (10) completely covers the mounting groove, the two spacers (6) clamp the LED light (4) from both sides of the LED light (4), and reflect The cover (10) presses the LED light (4) from the top of the LED light (4). At this time, the fixing plate (15) is released. Under the action of the elastic force of the limit spring (16), the limit block (14) will The movement close to the fixed block (12), and the limit block (14) limits the fixed block (12), so as to achieve the effect of facilitating the installation and disassembly of the LED light (4). The two connection blocks (3) are inserted into the inside of the two connection slots, thereby facilitating the installation of the LED lights (4). 2.根据权利要求1所述的一种便于更换LED灯的农业照明灯,其特征在于,所述固定板(15)的顶部开设有操作槽。2 . The agricultural lighting lamp for easy replacement of LED lamps according to claim 1 , characterized in that an operation slot is provided on the top of the fixing plate ( 15 ). 3 . 3.根据权利要求1所述的一种便于更换LED灯的农业照明灯,其特征在于,所述连接块(3)的底端设为两个对称设置的斜面。3 . The agricultural lighting lamp of claim 1 , wherein the bottom end of the connecting block ( 3 ) is set as two symmetrically arranged inclined surfaces. 4 . 4.根据权利要求1所述的一种便于更换LED灯的农业照明灯,其特征在于,所述把手(17)与固定块(12)一体成型。4 . The agricultural lighting lamp for easy replacement of LED lamps according to claim 1 , wherein the handle ( 17 ) and the fixing block ( 12 ) are integrally formed. 5 .
CN201811463052.7A 2018-12-03 2018-12-03 Agricultural illuminating lamp convenient to change LED lamp Active CN109578888B (en)

Priority Applications (1)

Application Number Priority Date Filing Date Title
CN201811463052.7A CN109578888B (en) 2018-12-03 2018-12-03 Agricultural illuminating lamp convenient to change LED lamp

Applications Claiming Priority (1)

Application Number Priority Date Filing Date Title
CN201811463052.7A CN109578888B (en) 2018-12-03 2018-12-03 Agricultural illuminating lamp convenient to change LED lamp

Publications (2)

Publication Number Publication Date
CN109578888A CN109578888A (en) 2019-04-05
CN109578888B true CN109578888B (en) 2021-03-26

Family

ID=65926841

Family Applications (1)

Application Number Title Priority Date Filing Date
CN201811463052.7A Active CN109578888B (en) 2018-12-03 2018-12-03 Agricultural illuminating lamp convenient to change LED lamp

Country Status (1)

Country Link
CN (1) CN109578888B (en)

Families Citing this family (1)

* Cited by examiner, † Cited by third party
Publication number Priority date Publication date Assignee Title
CN110966578B (en) * 2019-12-12 2022-05-27 深圳市捷士达实业有限公司 An LED lamp holder that is easy to install and pneumatically prevents falling off

Citations (7)

* Cited by examiner, † Cited by third party
Publication number Priority date Publication date Assignee Title
CN201781714U (en) * 2010-04-30 2011-03-30 比亚迪股份有限公司 Slide portable information terminal
JP2012043706A (en) * 2010-08-20 2012-03-01 Toshiba Lighting & Technology Corp Light-emitting device and lighting system
CN103511908A (en) * 2012-06-19 2014-01-15 海洋王照明科技股份有限公司 Underground lamp
CN108224304A (en) * 2017-12-19 2018-06-29 佛山市南海区联合广东新光源产业创新中心 LED agricultural headlamps
CN108622818A (en) * 2018-07-12 2018-10-09 浙江威步机器人技术有限公司 A kind of unmanned plane Portable lifting platform
CN108692229A (en) * 2018-06-11 2018-10-23 浙江朗科照明有限公司 A kind of LED lamp being conveniently replaceable lamp cap
CN208173326U (en) * 2018-04-27 2018-11-30 徐先平 A kind of resistor coating machine is dialled from head mounting mechanism

Patent Citations (7)

* Cited by examiner, † Cited by third party
Publication number Priority date Publication date Assignee Title
CN201781714U (en) * 2010-04-30 2011-03-30 比亚迪股份有限公司 Slide portable information terminal
JP2012043706A (en) * 2010-08-20 2012-03-01 Toshiba Lighting & Technology Corp Light-emitting device and lighting system
CN103511908A (en) * 2012-06-19 2014-01-15 海洋王照明科技股份有限公司 Underground lamp
CN108224304A (en) * 2017-12-19 2018-06-29 佛山市南海区联合广东新光源产业创新中心 LED agricultural headlamps
CN208173326U (en) * 2018-04-27 2018-11-30 徐先平 A kind of resistor coating machine is dialled from head mounting mechanism
CN108692229A (en) * 2018-06-11 2018-10-23 浙江朗科照明有限公司 A kind of LED lamp being conveniently replaceable lamp cap
CN108622818A (en) * 2018-07-12 2018-10-09 浙江威步机器人技术有限公司 A kind of unmanned plane Portable lifting platform

Also Published As

Publication number Publication date
CN109578888A (en) 2019-04-05

Similar Documents

Publication Publication Date Title
CN110385567B (en) Automatic assembly mechanism for torsion spring of downlight
CN208750493U (en) A kind of easy-to-dismount spliced Projecting Lamp
CN109578888B (en) Agricultural illuminating lamp convenient to change LED lamp
CN218480503U (en) track light fixture
CN209245873U (en) An anti-glare LED downlight
CN208269068U (en) A kind of LED illumination lamp of ease of assembly
CN207661443U (en) A kind of embedded LED bulb lamp
CN213240776U (en) Portable studio of built-in light
CN215929327U (en) Lighting device with adjustable brightness
CN207661551U (en) A kind of blades changeable projection lamp
CN117366518B (en) 4D wisdom classroom is with teaching lamp
CN216619748U (en) Intelligent panel lamp power supply
CN218327684U (en) LED flood light for easy adjustment of light angle
CN217816601U (en) LED lamp bracket convenient to mount
CN220038326U (en) Explosion-proof solid-state safety lighting lamp
CN221301213U (en) Wall washer lamp with adjustable light source angle
CN219693068U (en) Panel light
CN219995124U (en) Trunk lamp easy to assemble
CN220491515U (en) Sign guide board convenient to install
CN220249816U (en) Line lamp's installation strutting arrangement
CN222798839U (en) A quick connection device for LED lamps
CN217952054U (en) Intelligent LED lamp convenient to maintain and replace
CN213065709U (en) Lamp sealing structure
CN218721178U (en) Shell structure for LED eye-protection lamp
CN221763396U (en) A mounting structure for special-shaped building LED lamps

Legal Events

Date Code Title Description
PB01 Publication
PB01 Publication
SE01 Entry into force of request for substantive examination
SE01 Entry into force of request for substantive examination
GR01 Patent grant
GR01 Patent grant
OL01 Intention to license declared
OL01 Intention to license declared
PE01 Entry into force of the registration of the contract for pledge of patent right
PE01 Entry into force of the registration of the contract for pledge of patent right

Denomination of invention: A convenient agricultural lighting lamp for replacing LED lights

Granted publication date: 20210326

Pledgee: Industrial and Commercial Bank of China Limited Fuyang Yingzhou Branch

Pledgor: CEA ELECTRIC CO.,LTD.

Registration number: Y2025980035465