CN109329175B - 一种绿色低碳高效工业化生态养殖池塘结构 - Google Patents
一种绿色低碳高效工业化生态养殖池塘结构 Download PDFInfo
- Publication number
- CN109329175B CN109329175B CN201811456426.2A CN201811456426A CN109329175B CN 109329175 B CN109329175 B CN 109329175B CN 201811456426 A CN201811456426 A CN 201811456426A CN 109329175 B CN109329175 B CN 109329175B
- Authority
- CN
- China
- Prior art keywords
- pond
- water
- culture
- water outlet
- sewage
- Prior art date
- Legal status (The legal status is an assumption and is not a legal conclusion. Google has not performed a legal analysis and makes no representation as to the accuracy of the status listed.)
- Active
Links
- 229910052799 carbon Inorganic materials 0.000 title claims abstract description 12
- 238000009360 aquaculture Methods 0.000 title claims description 23
- 244000144974 aquaculture Species 0.000 title claims description 23
- XLYOFNOQVPJJNP-UHFFFAOYSA-N water Substances O XLYOFNOQVPJJNP-UHFFFAOYSA-N 0.000 claims abstract description 252
- 239000010865 sewage Substances 0.000 claims abstract description 88
- 238000000746 purification Methods 0.000 claims abstract description 48
- 241000251468 Actinopterygii Species 0.000 claims abstract description 30
- 238000005276 aerator Methods 0.000 claims abstract description 13
- QVGXLLKOCUKJST-UHFFFAOYSA-N atomic oxygen Chemical compound [O] QVGXLLKOCUKJST-UHFFFAOYSA-N 0.000 claims description 45
- 229910052760 oxygen Inorganic materials 0.000 claims description 45
- 239000001301 oxygen Substances 0.000 claims description 45
- 230000000903 blocking effect Effects 0.000 claims description 17
- 238000005273 aeration Methods 0.000 claims description 10
- 229910000831 Steel Inorganic materials 0.000 claims description 6
- 239000010959 steel Substances 0.000 claims description 6
- 238000004519 manufacturing process Methods 0.000 claims description 3
- 210000001503 joint Anatomy 0.000 claims description 2
- OKTJSMMVPCPJKN-UHFFFAOYSA-N Carbon Chemical compound [C] OKTJSMMVPCPJKN-UHFFFAOYSA-N 0.000 claims 1
- 238000009395 breeding Methods 0.000 abstract description 8
- 230000001488 breeding effect Effects 0.000 abstract description 8
- 238000006213 oxygenation reaction Methods 0.000 abstract description 7
- 238000005265 energy consumption Methods 0.000 abstract description 5
- 230000008901 benefit Effects 0.000 abstract description 3
- 239000002910 solid waste Substances 0.000 description 11
- 230000006872 improvement Effects 0.000 description 6
- 238000000034 method Methods 0.000 description 6
- 239000013505 freshwater Substances 0.000 description 5
- 239000007787 solid Substances 0.000 description 5
- 239000013589 supplement Substances 0.000 description 5
- 229920001971 elastomer Polymers 0.000 description 4
- 239000007788 liquid Substances 0.000 description 4
- 239000000203 mixture Substances 0.000 description 4
- 239000004677 Nylon Substances 0.000 description 3
- OAICVXFJPJFONN-UHFFFAOYSA-N Phosphorus Chemical compound [P] OAICVXFJPJFONN-UHFFFAOYSA-N 0.000 description 3
- XKMRRTOUMJRJIA-UHFFFAOYSA-N ammonia nh3 Chemical compound N.N XKMRRTOUMJRJIA-UHFFFAOYSA-N 0.000 description 3
- 239000012535 impurity Substances 0.000 description 3
- 229920001778 nylon Polymers 0.000 description 3
- 229910052698 phosphorus Inorganic materials 0.000 description 3
- 239000011574 phosphorus Substances 0.000 description 3
- 230000008569 process Effects 0.000 description 3
- 239000010802 sludge Substances 0.000 description 3
- 230000004083 survival effect Effects 0.000 description 3
- 239000002351 wastewater Substances 0.000 description 3
- 241001465754 Metazoa Species 0.000 description 2
- 238000010521 absorption reaction Methods 0.000 description 2
- 230000008859 change Effects 0.000 description 2
- 238000005516 engineering process Methods 0.000 description 2
- 239000008267 milk Substances 0.000 description 2
- 210000004080 milk Anatomy 0.000 description 2
- 235000013336 milk Nutrition 0.000 description 2
- 229920006395 saturated elastomer Polymers 0.000 description 2
- 239000002699 waste material Substances 0.000 description 2
- 230000009286 beneficial effect Effects 0.000 description 1
- 239000012141 concentrate Substances 0.000 description 1
- 230000007547 defect Effects 0.000 description 1
- 230000006866 deterioration Effects 0.000 description 1
- 238000007599 discharging Methods 0.000 description 1
- 230000007613 environmental effect Effects 0.000 description 1
- 239000003344 environmental pollutant Substances 0.000 description 1
- 238000012851 eutrophication Methods 0.000 description 1
- 230000002349 favourable effect Effects 0.000 description 1
- 210000003608 fece Anatomy 0.000 description 1
- 239000011152 fibreglass Substances 0.000 description 1
- 239000007789 gas Substances 0.000 description 1
- 238000009434 installation Methods 0.000 description 1
- -1 low culture density Substances 0.000 description 1
- 238000012986 modification Methods 0.000 description 1
- 230000004048 modification Effects 0.000 description 1
- 231100000719 pollutant Toxicity 0.000 description 1
- 238000005086 pumping Methods 0.000 description 1
- 229910001220 stainless steel Inorganic materials 0.000 description 1
- 239000010935 stainless steel Substances 0.000 description 1
- 230000003068 static effect Effects 0.000 description 1
- 239000000126 substance Substances 0.000 description 1
- 230000001131 transforming effect Effects 0.000 description 1
Images
Classifications
-
- A—HUMAN NECESSITIES
- A01—AGRICULTURE; FORESTRY; ANIMAL HUSBANDRY; HUNTING; TRAPPING; FISHING
- A01K—ANIMAL HUSBANDRY; AVICULTURE; APICULTURE; PISCICULTURE; FISHING; REARING OR BREEDING ANIMALS, NOT OTHERWISE PROVIDED FOR; NEW BREEDS OF ANIMALS
- A01K63/00—Receptacles for live fish, e.g. aquaria; Terraria
-
- A—HUMAN NECESSITIES
- A01—AGRICULTURE; FORESTRY; ANIMAL HUSBANDRY; HUNTING; TRAPPING; FISHING
- A01K—ANIMAL HUSBANDRY; AVICULTURE; APICULTURE; PISCICULTURE; FISHING; REARING OR BREEDING ANIMALS, NOT OTHERWISE PROVIDED FOR; NEW BREEDS OF ANIMALS
- A01K63/00—Receptacles for live fish, e.g. aquaria; Terraria
- A01K63/04—Arrangements for treating water specially adapted to receptacles for live fish
-
- A—HUMAN NECESSITIES
- A01—AGRICULTURE; FORESTRY; ANIMAL HUSBANDRY; HUNTING; TRAPPING; FISHING
- A01K—ANIMAL HUSBANDRY; AVICULTURE; APICULTURE; PISCICULTURE; FISHING; REARING OR BREEDING ANIMALS, NOT OTHERWISE PROVIDED FOR; NEW BREEDS OF ANIMALS
- A01K63/00—Receptacles for live fish, e.g. aquaria; Terraria
- A01K63/04—Arrangements for treating water specially adapted to receptacles for live fish
- A01K63/042—Introducing gases into the water, e.g. aerators, air pumps
Landscapes
- Life Sciences & Earth Sciences (AREA)
- Environmental Sciences (AREA)
- Marine Sciences & Fisheries (AREA)
- Animal Husbandry (AREA)
- Biodiversity & Conservation Biology (AREA)
- Farming Of Fish And Shellfish (AREA)
Abstract
本发明公开了一种绿色低碳高效工业化生态养殖池塘结构,池塘分设成生态净化区和养殖区,所述养殖区包含2~10个集中并列布置的正方形养殖池和1个设于养殖池边侧的集污池,所述养殖池一对角线两端的池角上分设进水口和出水口,进水口设气提增氧推水曝气机,另一对角线两端的池角处布设底增氧设备,池底部中心位置设漏斗形状A排污口,A排污口管道连通至集污池。本发明的养殖池塘结构的水体更换净化系统、集排污系统、增氧系统,能有效保证养殖池水质环境,大幅减少能耗,提高池塘工业化生态养殖系统的运行效率,增加养殖鱼类产量和质量,实现池塘的生态养殖,具有较高的社会效益、经济效益和生态效益。
Description
技术领域
本发明涉及水产养殖领域,具体涉及一种绿色低碳高效工业化生态养殖池塘结构。
背景技术
普通水产养殖池塘没有污染物收集处理系统,养殖废水随意排放,是淡水渔业点源污染、面源污染的重要来源。近几年,流水槽式池塘工业化生态养殖已成为渔业创新发展的一种新模式,它以循环经济理念为指导,通过对传统养殖池塘的改造,科学布局养鱼与养水的空间与功能,综合运用新型养殖设施与工业化技术,从而实现高效生态养殖。但是,实践发现,现有池塘流水槽式工业化养殖或工厂化养殖出现了一系列问题,严重影响其进一步推广及大规模应用,主要有以下问题: 池塘流水槽式工业化养殖时,由于养殖量大,流水槽内水体流速较高,大量固体废物(生物排泄物、残饵等废弃物质)的集污排污率低。目前
池塘流水槽式工业化养殖系统对养殖池中大量固体废弃物的集污率只有15-30%,剩下部分全部进入生态净化区,导致生态净化区净化负担过重,最终导致池塘水质整体恶化,严重污染; ② 工厂化养殖集污率达85%,但养殖槽水体交换和集污都从一个管道直通集污池处理,水体净化处理难度大,能耗高; 新鲜水源通过管道送入养殖池内,能耗高、水体交换率低,养殖池内溶解氧补充慢,养殖密度不达标。综上所述,现有两种主要的池塘工业化养殖模式均存在技术缺陷,不能适应日益扩大的养殖产业的发展和绿色环保需求,迫切需要一种低碳高效的工业化生态养殖技术,提高养殖产量和质量,降低能耗,保障工业化养殖池塘水质
和自然环境不受污染。
发明内容
本发明的目的就是为了解决上述问题,提供一种绿色低碳高效工业化生态养殖池塘结构,提高池塘工业化生态养殖产量和质量,降低能耗,保护生态环境。
为实现本发明的上述目的,技术方案如下:
一种绿色低碳高效工业化生态养殖池塘结构,池塘分设成生态净化区和养殖区,所述养殖区面积占池塘总面积的5%-10%,设于池塘左侧边中部,包含2~10个集中并列布置的方形养殖池和1个设于池塘边侧的集污池,养殖池最右侧连设一导流墙,导流墙距池塘右边留有缺口,养殖池与导流墙将生态净化区分割成水体通过缺口连通的两个区域,所述养殖池一对角线两端的池角位置分设进水口和出水口,进水口处设气提增氧推水曝气机,另一对角线两端的池角处布设底增氧设备,池底部中心位置设漏斗形状A排污口,A排污口管道连通至集污池的吸污口,吸污口安装有吸污泵;所述进水口、出水口、A排污口内层设拦鱼软网,外层设拦鱼格栅。
本发明生态净化区的两个区域水体通过缺口连通,促使池塘内生态净化区水体流动,提高池塘水体自净能力;进水口的气提增氧推水曝气机将生态净化区的水送入养殖池,增氧水体在养殖池内缓慢旋转,养殖池中产生的85%固体废物(鱼类排泄物、残饵、动植物残骸等)在旋转中集中从池底中心的A排污口抽到集污池,集中处理,净化水质效率高,减少生态净化区的污染,过程中底增氧设备还可间隙性输送氧气,提升水体含氧量,增加养殖密度。生态净化区一侧新鲜水源不间断从养殖池进水口进入,养殖池内水体(含高氨氮、磷等元素)从出水口排出,再进入生态净化区重新进行净化,从而实现养殖池水体循环更换,确
保养殖池中水质质量。
本发明进一步改进方案是,养殖区每个养殖池的进水口设于同一侧池壁上且方向一致。进水口方向一致,与进水口方向相反的出水口方向也一致,这样促使水体在生态净化区大面积流动,提高水体自净能力。
本发明更进一步改进方案是,所述养殖池四角内壁为圆弧壁,有利于池内水体旋转流动,避免水体在直角处产生紊流现象;养殖池底壁中心位置低、四周高,底部斜面与水平方向夹角为5°~10°,利于将池内固体废物集中至底部中心位置,便于排出。
本发明更进一步改进方案是,所述底增氧设备为724NM超级纳米复氧曝气装置,包含工业制氧机和管路,工业制氧机放置在池塘边的生产操作平台上,与养殖区池壁上布设的抽水管、出水管连通,每个养殖池池角上部设吸水口,下部设出水口,吸水口连通吸水管,出水口连通出水管,组成底增氧系统。池内水体通过吸水管进入超级纳米复氧曝气装置内,形成超饱和的高浓度富氧气液混合体(牛奶水),气液混合体中气泡直径为50nm-3μm,DO值可达到40 .3ml/l,再通过出水口向池内水体运行方向喷入养殖池中。此设备可间歇性地补充高溶氧水,池内水体溶氧增加,溶氧分布均匀,能提高水体自净能力,改善水质环境,增加
养殖成活率和养殖密度,解决了工厂化养殖换水率低、水体溶氧补充慢、养殖密度低、水质恶化等问题。
本发明更进一步改进方案是,所述进水口是在池角处的池壁中上部开设一缺口,进水口池壁外侧设有进水槽,进水槽的高度与进水口池壁一致,气提增氧推水曝气机安装在进水槽内。进水槽有利于水体向上进入池内,同时可阻止池塘生态净化区底部淤泥等固体杂物进入养殖池。
本发明更进一步改进方案是所述进水槽内安装角钢升降支架,气提增氧推水曝气机放置于升降支架上,气提增氧推水曝气机上方、升降支架外边与进水口顶部之间连接有倾斜的导流板。升降支架可调节气提增氧推水曝气机在水中的深度,水体经导流板进入养殖池,推动养殖池中水体旋转运动。
本发明更进一步改进方案是,所述出水口设于养殖池的池角底部下方,包括相通的A出水槽和B出水槽,A出水槽在养殖池池壁内侧,B出水槽在池壁外侧,B出水槽底壁低于A出水槽底壁,B出水槽上方除养殖池一边外,其余三面砌设高于养殖池底壁、低于养殖池池壁的墙围。B出水槽墙围高于养殖池底面,有效防止池塘生态净化区底部淤泥等固体杂物堵塞出口,低于养殖池池壁有利于出水口排水。
本发明更进一步改进方案是,所述B出水槽与A出水槽的落差部呈漏斗状,B排污口管道连通至集污池的吸污口。B集污口能有效对养殖池水体中剩余未处理的15%可沉淀固体废物进行二次收集,保证养殖池中产生的固体废物全部集中处理,不向生态净化区排放,提高池塘生态净化区水质净化效率。
本发明更进一步改进方案是,每个养殖池的A排污口连接排污分管,排污分管上设控制阀门,排污分管连接在排污主管上,排污主管通至集污池的吸污口。通过分管道控制阀门,实现单个养殖池排污和多个养殖池同时排污。
本发明更进一步改进方案是,在出水口处的池壁中上部开设有捕鱼口,捕鱼口上安装活动式挡水板,挡水板外侧对接一个网箱,网箱是在B出水槽上表面布设拦鱼格栅,环绕四周布设围栏。捕鱼作业步骤如下:打开出水口处的活动式橡胶挡水板→ 在养殖池中撒鱼网并将鱼赶至捕鱼网箱→ 集中捕捞。捕鱼操作方便,捕鱼作业劳动强度低,起捕率达100%。
本发明进一步改进方案是,所述养殖池进水口和出水口的池壁外侧都布置有承台,承台上布置有间距相等的立柱,目的是在池壁和立柱上架设人行道,便于养殖区中每个养殖池的日常管理。
与现有技术相比,本发明有益效果是:
(1)养殖池水体更换净化系统。养殖池进水口采用气提增氧推水曝气机将生态净化区一侧的新鲜水源不间断地推送入养殖池,养殖池内水体(含高氨氮、磷等元素)在旋转流动过程中从出水口排出,再进入生态净化区进行净化,从而实现养殖池水体循环更换。进水槽安装的升降支架可以上下自动调节气提增氧推水曝气机在水中的位置,提高推水曝气系统的工作效率。
(2)养殖池集排污系统。该系统能有效地收集养殖生物的排泄物和残剩的饲料等固体废物,收集率达到98%以上,高效降低了生态净化区的净化压力,使整个养殖系统能完整形成生态养殖和废水净化生物链,从根本上解决了水产养殖水体富营养化和面、点源污染等问题。
(3)养殖池底增氧系统。该系统能够实现全池静态深层增氧,使养殖池内的水质和溶氧量提高,养殖成活率可达至95%以上,显著提高养殖密度和产量。
下面结合附图对本发明进行详细说明。
附图说明
图1是池塘结构平面布置图;
图2是养殖池结构立体图;
图3是养殖池结构俯视图;
图4是养殖池A-A剖面图;
图5是养殖池B-B剖面图;
图6是养殖池C-C剖面图;
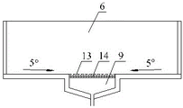
附图标记说明:1、池塘;2、生态净化区;3、养殖区;4、导流墙;5、集污池;6、养殖池;7、进水口;7-1、进水槽;7-2、角钢升降支架;7-3、导流板;7-4、气提增氧推水曝气机;8、出水口;8-1、A出水槽;8-2、B出水槽;9、A排污口;10、B排污口;11、捕鱼口;12、底增氧设备;13、尼龙拦鱼软网;14、拦鱼格栅;15、活动式橡胶挡水板;16、墙围;17、网箱;18、承台;19、立柱。
具体实施方式
如图1所示,本发明池塘1内分设生态净化区2和养殖区3,养殖区3面积占池塘1总面积的5% -10%,设于池塘1左侧边中部,包含2个集中并列布置的方形养殖池6(图示2所示)和1个设于池塘1边侧的集污池5,养殖池6最右侧连设一导流墙4,导流墙4距池塘1右边留有一个5~10m缺口,养殖池6与导流墙4将生态净化区2分割成两个区域,两个区域水体通过缺口连通,促使池塘1内生态净化区2水体流动,提高池塘1水体自净能力。
所述养殖池6形状为方形,池壁为混凝土结构,边长范围为8~15m,养殖池6设置有进水口7、出水口8、A排污口9和捕鱼口10,四个池角内壁为圆弧壁,有利于池内水体旋转流动,避免水体在池角处产生紊流现象;所述进水口7和出水口8分设于养殖池的一对角线两端的池角位置,进水口7处设气提增氧推水曝气机7-4,另一对角线两端的池角处布设底增氧设备12,池底部中心位置设漏斗形状A排污口9,A排污口9管道连通至集污池5的吸污口,吸污口安装有吸污泵;养殖池水体循环方式:进水口7采用气提增氧推水曝气机7-4将生态
净化区2一侧的新鲜水源不间断地推送入养殖池6,养殖池6内水体(含高氨氮、磷等元素)在旋转流动过程中从出水口8排出,再进入生态净化区2进行净化,从而实现养殖池6水体循环更换,确保养殖池6中水质质量。
其中,所述进水口7是在池角处的池壁中上部开设一个缺口,宽度3~5m,高度1.4m,该缺口处池壁高度仅0 .8~1m,缺口内层安装尼龙拦鱼软网13,外层安装不锈钢拦鱼格栅14,阻止养殖池6中鱼类进入生态净化区2;进水口7池壁外侧设计有矩形进水槽7-1,槽壁的混凝土墙体高度与进水口7处池壁高度一致,进水槽7-1内安装有角钢升降支架7-2,气提增氧推水曝气机7-4放置在角钢升降支架7-2上,气提增氧推水曝气机7-4上方、角钢升降支架7-2上固定安装一个倾斜导流板7-3。布设进水槽7-1的作用:便于安装升降支架7-2和气提式增氧推水曝气机7-4,还可阻止池塘生态净化区2底部淤泥等固体杂物进入养殖池6。安装升降支架2的作用:根据池塘1水位深度,上下自动调节气提增氧推水曝气机7-4在水中的位置,保证气提增氧推水曝气机7-4在水中的深度,提高推水曝气系统的工作效率,增加水体溶氧率,促进养殖池6中水体旋转运动。
其中,所述A排污口9,布置在养殖池6底部中心位置,方形养殖池6的池底中心位置低,底部斜面与水平方向夹角为5°,A排污口呈漏斗形状,池中旋转流动水体能将固体废物集中至底部中心位置的A排污口9,其上端布置有尼龙拦鱼软网13和玻璃钢拦鱼格栅14,用于阻止鱼类进入排污管道;A排污口9下部连接排污分管,排污分管与排污主管连接,两者之间设置有控制阀门;排污主管通至集污池5的吸污口,其端头安装有吸污泵,利用吸污泵快速吸取养殖池底部的粪便污水。每个养殖池6排污管道布置相同,组成一个排污系统,鱼类粪便进行集中统一处理。该集排污系统优点: 养殖池6水体在缓慢旋转过程中,将85%的固体废物(鱼类排泄物、残饵、动植物残骸等)集中在池底中心的A排污口,集中抽到集污池5处理,净化养殖池6水质效率高,减少固体废物污染养殖池6和生态净化区2。通过管道控制阀门,可以实现单个养殖池排污和多个养殖池同时排污。
其中,所述的出水口8,位于养殖池进水口7对角线的另一个池角处,在池角处池壁内侧池底向下布挖一个A出水槽8-1(与池底部落差0 .5m),在池壁外侧对应位置也挖一个B出水槽8-2(与池底部落差1m),A出水槽8-1与B出水槽8-2完全连通,A出水槽上方均安装有拦鱼软网13和拦鱼格栅14,池中水体经池角底部内侧A出水槽8-1和外侧B出水槽8-2排出;外侧B出水槽8-2上部除养殖池一边外,其余三面砌设的墙围16是养殖池6池壁高度的三分之一,能有效阻止池塘生态净化区2底部淤泥等固体杂物进入或堵塞出水口8;池壁外侧B出水槽8-2底部横剖面呈漏斗型,底部设置有B排污口10,B排污口10下部安装排污管道,连通至集污池5。设计漏斗型槽底作用如下: 对养殖池水体中剩余未处理的15%固体可沉淀废物进行二次收集,集中全部处理,保证养殖池中产生的固体废物不向生态净化区排放,提高池塘生态区水质净化效率; 漏斗型槽底进一步降低水体离开养殖池的流速,便于随水流出的可沉淀物沉积在漏斗型槽底,被排入集污池内。
其中,所述底增氧设备12为724NM超级纳米复氧曝气装置,包含工业制氧机和管路;724NM超级纳米复氧曝气装置放置在池塘边的生产操作平台,与养殖区的吸水主管和出水主管连接,吸水主管和出水主管布置在养殖区一侧;每个养殖池的一对角线两端池角处设置为底增氧管路安装点,两池角在同一条对角线上,池角处弧形墙体上部设置一个吸水口,下部设置一个出水口,吸水分管的两端分别与吸水口和吸水主管连接,出水分管的两端分别与出水口和出水主管连接,从而组成一个底增氧系统。该装置优点:池内水体通过进水管进入超级纳米复氧曝气装置内,形成超饱和的高浓度富氧气液混合体(牛奶水),气液混合体中气泡直径为50nm-3μm,DO值可达到40 .3ml/l,再通过出水孔向池内水体运行方向喷入养殖池中。此设备可间歇性地补充高溶氧水体,池内水体溶氧增加,溶氧分布均匀,能提高水体自净能力,改善水质环境,增加养殖成活率和养殖密度,解决了工厂化养殖换水率低、水体溶氧补充慢、养殖密度低、水质恶化等问题。
其中,所述的捕鱼口11,是在出水口8的池壁中上部开一个缺口,缺口宽度为1~1.5m,高度为1~1 .5m,缺口安装一个活动式橡胶挡水板15。挡水板外侧布置一个捕鱼网箱17,网箱17设置于B出水槽8-2上方,B出水槽8-2上表面布置拦鱼格栅,环绕漏斗型水槽的槽壁布置围栏。捕鱼作业步骤如下:打开出水口的活动式橡胶挡水板→ 在养殖池中撒鱼网并将鱼赶至捕鱼网箱→ 集中捕捞。捕鱼操作方便,捕鱼作业劳动强度低,起捕率达100%。
本发明所述养殖池进水口7和出水口8的池壁外侧都布置有承台18,承台18上布置有间距相等的立柱19,目的是在池壁和立柱上架设人行道,便于养殖区中每个养殖池的日常管理。
尽管上文对本发明作了详细说明,但本发明不限于此,本技术领域的技术人员可以根据本发明的原理进行修改,因此,凡按照本发明的原理进行的各种修改都应当理解为落入本发明的保护范围。
Claims (5)
1.一种绿色低碳高效工业化生态养殖池塘结构,池塘(1)分设成生态净化区(2)和养殖区(3),其特征在于:所述养殖区(3)面积占池塘(1)总面积的5%-10%,设于池塘(1)左侧边中部,包含2~10个集中并列布置的方形养殖池(6)和1个设于池塘边侧的集污池(5),养殖池(6)最右侧连设一导流墙(4),导流墙(4)距池塘右边留有缺口,养殖池(6)与导流墙(4)将生态净化区(2)分割成水体通过缺口连通的两个区域,所述养殖池(6)一对角线两端的池角位置分设进水口(7)和出水口(8),进水口(7)处设气提增氧推水曝气机(7-4),另一对角线两端的池角处布设底增氧设备(12),池底部中心位置设漏斗形状A排污口(9),A排污口(9)管道连通至集污池(5)的吸污口,吸污口安装有吸污泵;所述进水口(7)、出水口(8)、A排污口(9)内层设拦鱼软网(13),外层设拦鱼格栅(14);所述进水口(7)是在池角处的池壁中上部开设一缺口,进水口池壁外侧设有进水槽(7-1),进水槽(7-1)的高度与进水口(7)池壁一致,气提增氧推水曝气机(7-4)安装在进水槽(7-1)内,所述进水槽(7-1)内安装角钢升降支架(7-2),气提增氧推水曝气机(7-4)放置于升降支架(7-2)上,气提增氧推水曝气机(7-4)上方、升降支架(7-2)外边与进水口(7)顶部之间连接有倾斜的导流板(7-3);
所述养殖池(6)四角内壁为圆弧壁;养殖池(6)底壁中心位置低、四周高,底部斜面与水平方向夹角为5°~10°;
所述出水口(8)设于养殖池的池角底部下方,包括相通的A出水槽(8-1)和B出水槽(8-2),A出水槽(8-1)在养殖池(6)池壁内侧,B出水槽(8-2)在池壁外侧,B出水槽(8-2)底壁低于A出水槽(8-1)底壁,B出水槽(8-2)上方除养殖池一边外,其余三面砌设高于养殖池底壁、低于养殖池池壁的墙围(16);
所述B出水槽(8-2)与A出水槽(8-1)的落差部呈漏斗状,B排污口(10)管道连通至集污池(5)的吸污口。
2.根据权利要求1所述的一种绿色低碳高效工业化生态养殖池塘结构,其特征在于:养殖区每个养殖池(6)的进水口(7)设于同一侧池壁上。
3.根据权利要求1所述的一种绿色低碳高效工业化生态养殖池塘结构,其特征在于:所述底增氧设备(12)为724NM超级纳米复氧曝气装置,包含工业制氧机和管路,工业制氧机放置在池塘边的生产操作平台上,与养殖区池壁上布设的吸水管、出水管连通,每个养殖池池角上部设吸水口,下部设出水口,吸水口连通吸水管,出水口连通出水管,组成底增氧系统。
4.根据权利要求1所述的一种绿色低碳高效工业化生态养殖池塘结构,其特征在于:每个养殖池(6)的A排污口(9)连接排污分管,排污分管上设控制阀门,排污分管连接在排污主管上,排污主管通至集污池的吸污口。
5.根据权利要求3所述的一种绿色低碳高效工业化生态养殖池塘结构,其特征在于:在出水口处的池壁中上部开设有捕鱼口(11),捕鱼口上安装活动式挡水板(15),挡水板(15)外侧对接一个网箱(17),网箱(17)是在B出水槽(8-2)上表面布设拦鱼格栅,环绕四周布设围栏。
Priority Applications (1)
| Application Number | Priority Date | Filing Date | Title |
|---|---|---|---|
| CN201811456426.2A CN109329175B (zh) | 2018-11-30 | 2018-11-30 | 一种绿色低碳高效工业化生态养殖池塘结构 |
Applications Claiming Priority (1)
| Application Number | Priority Date | Filing Date | Title |
|---|---|---|---|
| CN201811456426.2A CN109329175B (zh) | 2018-11-30 | 2018-11-30 | 一种绿色低碳高效工业化生态养殖池塘结构 |
Publications (2)
| Publication Number | Publication Date |
|---|---|
| CN109329175A CN109329175A (zh) | 2019-02-15 |
| CN109329175B true CN109329175B (zh) | 2021-11-09 |
Family
ID=65319065
Family Applications (1)
| Application Number | Title | Priority Date | Filing Date |
|---|---|---|---|
| CN201811456426.2A Active CN109329175B (zh) | 2018-11-30 | 2018-11-30 | 一种绿色低碳高效工业化生态养殖池塘结构 |
Country Status (1)
| Country | Link |
|---|---|
| CN (1) | CN109329175B (zh) |
Families Citing this family (14)
| Publication number | Priority date | Publication date | Assignee | Title |
|---|---|---|---|---|
| CN109924151B (zh) * | 2019-03-20 | 2021-03-09 | 陈子锐 | 一种连续浓缩排污的对虾养殖装置及方法 |
| CN110250086B (zh) * | 2019-07-18 | 2022-02-15 | 淮阴师范学院 | 一种池塘水槽循环水生态养殖水处理装置 |
| CN110565788B (zh) * | 2019-09-29 | 2024-07-09 | 唐海波 | 池塘换水装置 |
| CN111109184A (zh) * | 2020-02-24 | 2020-05-08 | 上海能正渔业科技开发有限公司 | 一种廊道式养殖系统 |
| CN111109183A (zh) * | 2020-02-24 | 2020-05-08 | 上海能正渔业科技开发有限公司 | 一种斜底内循环养殖系统 |
| CN112136748A (zh) * | 2020-09-09 | 2020-12-29 | 韩轶晶 | 一种新型池塘工程化循环水养殖系统 |
| CN112106725A (zh) * | 2020-09-22 | 2020-12-22 | 华中农业大学 | 一种生态养殖箱的底部集中排污装置及方法 |
| CN112568170A (zh) * | 2020-12-10 | 2021-03-30 | 上海海洋大学 | 米虾高密度养殖系统和方法 |
| CN113142118A (zh) * | 2021-03-08 | 2021-07-23 | 广西壮族自治区水产科学研究院 | 一种基于物联网的越冬保温的罗非鱼养殖系统 |
| CN112889738A (zh) * | 2021-03-22 | 2021-06-04 | 重庆市恺煜生态农业开发有限公司 | 一种智慧水循环系统 |
| CN112806309A (zh) * | 2021-03-22 | 2021-05-18 | 重庆市恺煜生态农业开发有限公司 | 养殖池系统 |
| CN112806308A (zh) * | 2021-03-22 | 2021-05-18 | 重庆市恺煜生态农业开发有限公司 | 新型养殖池 |
| CN114403062B (zh) * | 2022-01-14 | 2022-11-01 | 中国水产科学研究院渔业机械仪器研究所 | 一种海参养殖池的双通道排污装置及其工作方法 |
| CN116267790A (zh) * | 2023-02-15 | 2023-06-23 | 江西省水产科学研究所(江西省鄱阳湖渔业研究中心、江西省渔业资源生态环境监测中心) | 一种用于龟鳖养殖的水循环处理系统及方法 |
Citations (8)
| Publication number | Priority date | Publication date | Assignee | Title |
|---|---|---|---|---|
| FR2225088A1 (zh) * | 1973-04-16 | 1974-11-08 | Sweeney Maxwell | |
| CN2565815Y (zh) * | 2002-08-15 | 2003-08-13 | 严奉前 | 池水环流增氧机 |
| KR100974956B1 (ko) * | 2009-05-28 | 2010-08-09 | 양준혁 | 축제식 전복 양식장 및 그 전복집 |
| CN103461263A (zh) * | 2013-09-27 | 2013-12-25 | 中国水产科学研究院渔业机械仪器研究所 | 一种池塘异位生态水处理设施 |
| CN103548737A (zh) * | 2013-11-05 | 2014-02-05 | 通威股份有限公司 | 一种低碳、环保养鱼方法 |
| CN103583446A (zh) * | 2013-03-22 | 2014-02-19 | 江苏畜牧兽医职业技术学院 | 一种循环微流水养鱼池塘 |
| CN106719246A (zh) * | 2016-12-06 | 2017-05-31 | 中国水产科学研究院渔业机械仪器研究所 | 基于气提循环的工厂化对虾养殖系统和方法 |
| CN107410148A (zh) * | 2017-08-15 | 2017-12-01 | 六安市华润科技养殖有限公司 | 池塘循环流水养殖结构 |
Family Cites Families (2)
| Publication number | Priority date | Publication date | Assignee | Title |
|---|---|---|---|---|
| CN201195703Y (zh) * | 2008-04-01 | 2009-02-18 | 中山大学 | 感潮河流用生态浮床 |
| CN207784015U (zh) * | 2017-12-29 | 2018-08-31 | 星光农机股份有限公司 | 模块化养鱼跑道、池塘内循环水养殖系统 |
-
2018
- 2018-11-30 CN CN201811456426.2A patent/CN109329175B/zh active Active
Patent Citations (8)
| Publication number | Priority date | Publication date | Assignee | Title |
|---|---|---|---|---|
| FR2225088A1 (zh) * | 1973-04-16 | 1974-11-08 | Sweeney Maxwell | |
| CN2565815Y (zh) * | 2002-08-15 | 2003-08-13 | 严奉前 | 池水环流增氧机 |
| KR100974956B1 (ko) * | 2009-05-28 | 2010-08-09 | 양준혁 | 축제식 전복 양식장 및 그 전복집 |
| CN103583446A (zh) * | 2013-03-22 | 2014-02-19 | 江苏畜牧兽医职业技术学院 | 一种循环微流水养鱼池塘 |
| CN103461263A (zh) * | 2013-09-27 | 2013-12-25 | 中国水产科学研究院渔业机械仪器研究所 | 一种池塘异位生态水处理设施 |
| CN103548737A (zh) * | 2013-11-05 | 2014-02-05 | 通威股份有限公司 | 一种低碳、环保养鱼方法 |
| CN106719246A (zh) * | 2016-12-06 | 2017-05-31 | 中国水产科学研究院渔业机械仪器研究所 | 基于气提循环的工厂化对虾养殖系统和方法 |
| CN107410148A (zh) * | 2017-08-15 | 2017-12-01 | 六安市华润科技养殖有限公司 | 池塘循环流水养殖结构 |
Also Published As
| Publication number | Publication date |
|---|---|
| CN109329175A (zh) | 2019-02-15 |
Similar Documents
| Publication | Publication Date | Title |
|---|---|---|
| CN109329175B (zh) | 一种绿色低碳高效工业化生态养殖池塘结构 | |
| CN100537462C (zh) | 无水源水域的水质净化方法及其设施 | |
| CN103141428B (zh) | 一种内循环鱼池及循环水处理工艺 | |
| CN103461263B (zh) | 一种池塘异位生态水处理设施 | |
| CN106259137B (zh) | 一种跑道式高密度封闭水产养殖系统及养殖水产的方法 | |
| CN105668950B (zh) | 漂浮式综合水处理设备、水处理方法及该设备的反洗方法 | |
| CN110228903B (zh) | 水产养殖尾水净化与循环利用方法 | |
| CN104082211B (zh) | 平位三渠道循环水养鱼方法 | |
| CN101215069A (zh) | 一种工厂化养鱼废水生态处理循环利用系统 | |
| CN103238554A (zh) | 生态型封闭式循环水养鱼方法 | |
| CN105906173A (zh) | 一种黑臭河水的修复方法及其装置 | |
| CN103548757B (zh) | 一种养殖池塘底质处理系统 | |
| CN106719246A (zh) | 基于气提循环的工厂化对虾养殖系统和方法 | |
| CN106719256A (zh) | 跑道式高密度鱼菜共生系统 | |
| CN114766422A (zh) | 一种南美白对虾养殖自动化循环供水系统的使用方法 | |
| CN115191395B (zh) | 一种淡水池塘循环水养殖装置及系统 | |
| CN208956738U (zh) | 一种循环水养鱼工厂 | |
| CN206354218U (zh) | 跑道式高密度鱼菜共生系统 | |
| CN204742224U (zh) | 一种生态养殖系统 | |
| CN113979603A (zh) | 一种填料可替换双层种植套筒活水式模块化人工湿地装置 | |
| CN114057358A (zh) | 一种无动力污水处理装置及方法 | |
| CN108585187A (zh) | 农村户用污水处理装置及方法 | |
| CN207811495U (zh) | 一种简易鱼池污水处理系统 | |
| CN105010213A (zh) | 一种生态养殖系统 | |
| CN1752033A (zh) | 一种高效人工湿地处理生活污水的方法 |
Legal Events
| Date | Code | Title | Description |
|---|---|---|---|
| PB01 | Publication | ||
| PB01 | Publication | ||
| SE01 | Entry into force of request for substantive examination | ||
| SE01 | Entry into force of request for substantive examination | ||
| GR01 | Patent grant | ||
| GR01 | Patent grant |