CN109100280B - Multifunctional soil property testing system - Google Patents

Multifunctional soil property testing system Download PDF

Info

Publication number
CN109100280B
CN109100280B CN201811024477.8A CN201811024477A CN109100280B CN 109100280 B CN109100280 B CN 109100280B CN 201811024477 A CN201811024477 A CN 201811024477A CN 109100280 B CN109100280 B CN 109100280B
Authority
CN
China
Prior art keywords
cylinder
fixed cylinder
fixedly connected
pipe
support frame
Prior art date
Legal status (The legal status is an assumption and is not a legal conclusion. Google has not performed a legal analysis and makes no representation as to the accuracy of the status listed.)
Expired - Fee Related
Application number
CN201811024477.8A
Other languages
Chinese (zh)
Other versions
CN109100280A (en
Inventor
李明东
潘耀森
薛凯喜
易进翔
王升福
朱丽萍
Current Assignee (The listed assignees may be inaccurate. Google has not performed a legal analysis and makes no representation or warranty as to the accuracy of the list.)
Yintai Building Materials Co ltd
Original Assignee
East China Institute of Technology
Priority date (The priority date is an assumption and is not a legal conclusion. Google has not performed a legal analysis and makes no representation as to the accuracy of the date listed.)
Filing date
Publication date
Application filed by East China Institute of Technology filed Critical East China Institute of Technology
Priority to CN201811024477.8A priority Critical patent/CN109100280B/en
Publication of CN109100280A publication Critical patent/CN109100280A/en
Application granted granted Critical
Publication of CN109100280B publication Critical patent/CN109100280B/en
Expired - Fee Related legal-status Critical Current
Anticipated expiration legal-status Critical

Links

Images

Classifications

    • GPHYSICS
    • G01MEASURING; TESTING
    • G01NINVESTIGATING OR ANALYSING MATERIALS BY DETERMINING THEIR CHEMICAL OR PHYSICAL PROPERTIES
    • G01N15/00Investigating characteristics of particles; Investigating permeability, pore-volume or surface-area of porous materials
    • G01N15/08Investigating permeability, pore-volume, or surface area of porous materials
    • GPHYSICS
    • G01MEASURING; TESTING
    • G01NINVESTIGATING OR ANALYSING MATERIALS BY DETERMINING THEIR CHEMICAL OR PHYSICAL PROPERTIES
    • G01N15/00Investigating characteristics of particles; Investigating permeability, pore-volume or surface-area of porous materials
    • G01N15/08Investigating permeability, pore-volume, or surface area of porous materials
    • G01N15/0806Details, e.g. sample holders, mounting samples for testing

Landscapes

  • Chemical & Material Sciences (AREA)
  • Dispersion Chemistry (AREA)
  • Physics & Mathematics (AREA)
  • Health & Medical Sciences (AREA)
  • Life Sciences & Earth Sciences (AREA)
  • Analytical Chemistry (AREA)
  • Biochemistry (AREA)
  • General Health & Medical Sciences (AREA)
  • General Physics & Mathematics (AREA)
  • Immunology (AREA)
  • Pathology (AREA)
  • Investigation Of Foundation Soil And Reinforcement Of Foundation Soil By Compacting Or Drainage (AREA)

Abstract

本发明公开了一种多功能土性测试系统,固定筒左侧壁固定连接支撑架,支撑架下部焊接有加强筋,固定筒内部套设有分离筒,支撑架下部设置有驱动电机,驱动电机下部转动连接主动轴,主动轴下端轴承转动连接支撑架底部;主动轴中部滚动连接同步带左侧,同步带右侧滚动连接从动轴,从动轴上部穿过固定筒底部并与之轴承转动连接,其中,从动轴上端固定连接分离筒底部;所述分离筒上部设置有保持架。该系统通过旋转的分离筒使得多余的水液通过出水微管排出到固定筒内,利用循环泵抽吸固定筒内的水液重新排入分离筒内,对土料进行二次浸润,防止底部土料对水液吸收不充分,导致土料吸水性检测误差增大,节约了水源同时还提高了土料吸水性测试的准确性。

Figure 201811024477

The invention discloses a multi-functional soil property testing system. The left side wall of a fixed cylinder is fixedly connected to a support frame, the lower part of the support frame is welded with reinforcing ribs, the inside of the fixed cylinder is sleeved with a separation cylinder, and the lower part of the support frame is provided with a drive motor, and the drive motor The lower part is rotatably connected to the driving shaft, and the lower bearing of the driving shaft is rotatably connected to the bottom of the support frame; the middle part of the driving shaft is rollingly connected to the left side of the synchronous belt, and the right side of the synchronous belt is rollingly connected to the driven shaft, and the upper part of the driven shaft passes through the bottom of the fixed cylinder and rotates with the bearing. The upper end of the driven shaft is fixedly connected to the bottom of the separation cylinder; the upper part of the separation cylinder is provided with a retainer. The system uses the rotating separation cylinder to discharge the excess water into the fixed cylinder through the water outlet micropipe, and uses the circulating pump to suck the water in the fixed cylinder and re-discharge it into the separation cylinder to perform secondary infiltration of the soil to prevent the bottom The soil material does not fully absorb water and liquid, which leads to an increase in the detection error of soil water absorption, which saves water sources and improves the accuracy of soil water absorption testing.

Figure 201811024477

Description

Multifunctional soil property testing system
Technical Field
The invention relates to a test system, in particular to a multifunctional soil property test system.
Background
The freezing method is one of the commonly used methods in mine shaft sinking, subway construction and other projects. With the wide application of the freezing method, the engineering problems brought by the freezing method are increased continuously, for example, after the frozen wall is thawed, the accidents such as deformation, even breakage and the like of a well wall or a tunnel lining are easy to occur. Soil property test of soil is required before construction.
The soil property refers to properties of drying dampness and being fertile, and also includes physicochemical properties of soil, the most common property of the soil is water absorption of the soil, the water absorption of the soil is often required to be tested when the soil property of the soil is detected, and the water absorption affects the bearing strength of the soil.
The problem that soil absorbs water too much and is saturated or bottom soil absorbs water insufficiently often exists among the present soil water absorption testing arrangement, leads to soil property test result to have great error.
Disclosure of Invention
The present invention is directed to a multifunctional soil property testing system, so as to solve the problems set forth in the background art.
In order to achieve the purpose, the invention provides the following technical scheme:
a multifunctional soil property testing system comprises a fixed cylinder, a separating cylinder, a driving motor, a driven shaft and a circulating pump, wherein the left side wall of the fixed cylinder is fixedly connected with a support frame, reinforcing ribs are welded at the lower part of the support frame, the separating cylinder is sleeved inside the fixed cylinder, the driving motor is arranged at the lower part of the support frame, the lower part of the driving motor is rotatably connected with a driving shaft, and a bearing at the lower end of the driving shaft is rotatably connected with the bottom of the; the middle part of the driving shaft is connected with the left side of the synchronous belt in a rolling way, the right side of the synchronous belt is connected with the driven shaft in a rolling way, the upper part of the driven shaft penetrates through the bottom of the fixed cylinder and is connected with a bearing of the fixed cylinder in a rotating way, and the upper end of the driven shaft is fixedly connected with the bottom of the separation cylinder; the upper part of the separation cylinder is provided with a retainer, the middle part of the retainer is fixedly connected with a rotating shaft, the rotating shaft penetrates through the upper end of the fixed cylinder and is rotatably connected with a bearing of the fixed cylinder, the upper end of the rotating shaft is fixedly connected with a rotating wheel, and the lower part of the rotating wheel is provided with a pointer;
the left side of the upper end of the fixed cylinder is fixedly connected with a feed hopper, the feed hopper is fixedly connected with the fixed cylinder and communicated with the inside of the fixed cylinder, a plurality of water outlet micro-pipes are circumferentially distributed on the side wall of the separation cylinder at equal intervals, a through pipe is arranged at the eccentric position of the bottom of the separation cylinder, the upper end of the through pipe is communicated with the inside of the separation cylinder, and the lower end of the through pipe is hermetically attached; the lower part of the through pipe is provided with a discharge pipe, and the lower end of the discharge pipe is provided with a sealing cover.
As a further scheme of the invention: the right side of the bottom of the fixed cylinder is communicated with the liquid guide pipe, the liquid guide pipe is fixedly connected with the outer wall of the fixed cylinder, the upper end of the liquid guide pipe is communicated with the right side of the circulating pump, the lower end of the circulating pump is fixedly connected with the base, the base is fixedly connected with the upper end of the fixed cylinder through bolts, and the left side of the circulating pump is communicated with the upper.
As a still further scheme of the invention: the lower end of the liquid guide pipe is communicated with a drainage pipe, and the middle part of the drainage pipe is provided with a rotary valve.
As a still further scheme of the invention: the right side of the bottom of the fixed cylinder is communicated with a reservoir, the bottom of the reservoir is provided with a sedimentation tank, and the bottom of the sedimentation tank is fixedly connected with the bottom of the support frame.
As a still further scheme of the invention: and a liquid discharging valve is arranged at the bottom of the reservoir.
As a still further scheme of the invention: the left side of the driving motor is fixedly connected with a motor base, and the motor base is fixedly connected with a support frame through bolts.
As a still further scheme of the invention: the driving motor is connected with the power supply and the switch through wires.
Compared with the prior art, the invention has the beneficial effects that: according to the system, redundant water liquid is discharged into the fixed cylinder through the water outlet micro-pipe through the rotating separating cylinder, the water liquid in the fixed cylinder is pumped by the circulating pump to be discharged into the separating cylinder again, soil is soaked for the second time, the situation that soil at the bottom cannot absorb the water liquid sufficiently is prevented, the soil water absorption detection error is increased, a water source is saved, and meanwhile, the accuracy of soil water absorption testing is improved.
Drawings
Fig. 1 is a schematic structural diagram of a multifunctional soil property testing system.
FIG. 2 is a top view of a holder in the multi-functional soil testing system.
FIG. 3 is a top view of a separation cylinder and a water outlet micro-pipe in the multifunctional soil property testing system.
FIG. 4 is a top view of a wheel in the multi-function soil testing system.
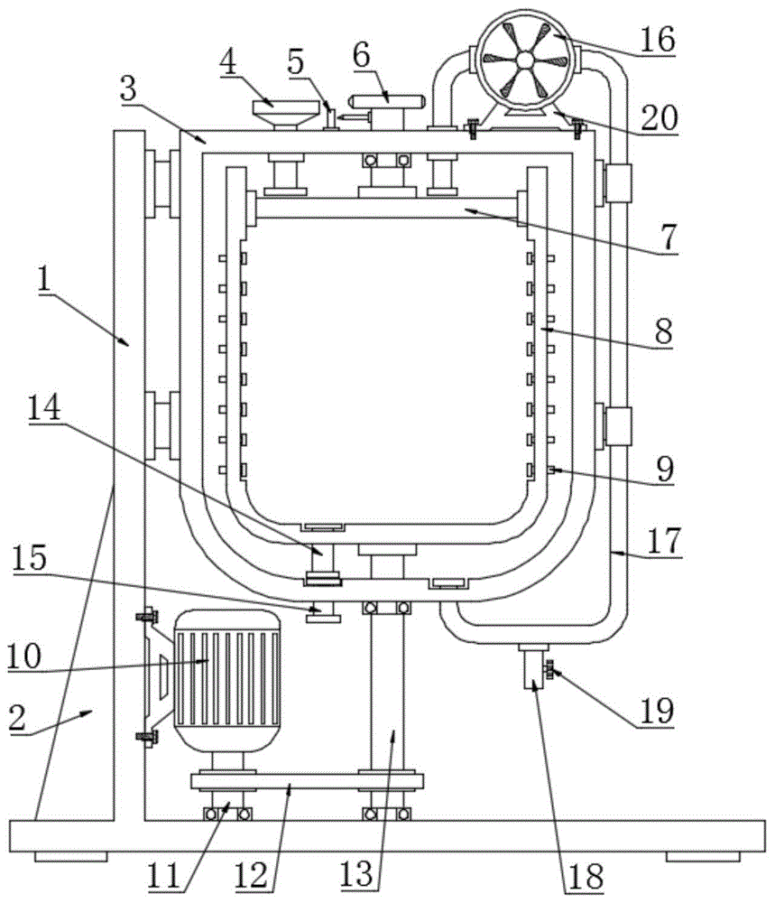
In the figure: 1-a support frame; 2-reinforcing ribs; 3-fixing the cylinder; 4-a feed hopper; 5-upright column; 6-rotating wheel; 7-a cage; 8-a separation cylinder; 9-water outlet microtubes; 10-a drive motor; 11-a drive shaft; 12-a synchronous belt; 13-a driven shaft; 14-a through pipe; 15-a discharge pipe; 16-a circulation pump; 17-a catheter; 18-a drain pipe; 19-a stopcock; 20-a base; 21-pointer.
Detailed Description
The technical solutions in the embodiments of the present invention will be clearly and completely described below with reference to the drawings in the embodiments of the present invention, and it is obvious that the described embodiments are only a part of the embodiments of the present invention, and not all of the embodiments. All other embodiments, which can be derived by a person skilled in the art from the embodiments given herein without making any creative effort, shall fall within the protection scope of the present invention.
Example 1
Referring to fig. 1-4, in an embodiment of the present invention, a multifunctional soil property testing system includes a fixed cylinder 3, a separation cylinder 8, a driving motor 10, a driven shaft 13 and a circulating pump 16; the left side wall of the fixed cylinder 3 is fixedly connected with a support frame 1, a reinforcing rib 2 is welded on the lower portion of the support frame 1, the bottom of the support frame 1 is horizontal, a separation cylinder 8 is sleeved inside the fixed cylinder 3, a driving motor 10 is arranged on the lower portion of the support frame 1, a motor base is fixedly connected to the left side of the driving motor 10, the motor base is fixedly connected with the support frame 1 through bolts, the lower portion of the driving motor 10 is rotatably connected with a driving shaft 11, a bearing at the lower end of the driving shaft 11 is rotatably connected with the bottom of the support frame 1, a lead of the driving motor 10 is connected with; the middle part of the driving shaft 11 is connected with the left side of a synchronous belt 12 in a rolling way, the right side of the synchronous belt 12 is connected with a driven shaft 13 in a rolling way, a bearing at the lower end of the driven shaft 13 is connected with the bottom of the support frame 1 in a rotating way, and the upper part of the driven shaft 13 penetrates through the bottom of the fixed cylinder 3 and is connected with the bearing in a rotating way, wherein the upper end of the driven shaft 13 is fixedly connected with the bottom of the separation cylinder 8, the driven shaft 11 which rotates drives the; the separating cylinder 8 upper portion is provided with holder 7, and holder 7 edge fixed connection separating cylinder 8 inner wall, holder 7 middle part fixed connection pivot, the pivot passes the fixed cylinder 3 upper end and rotates with its bearing and be connected, and pivot upper end fixed connection runner 6, 6 lower parts of runner are provided with pointer 21, pointer 21 fixed connection is in pivot upper portion, keeps separating cylinder 8 firm through pivot and driven shaft 13.
A feed hopper 4 is fixedly connected to the left side of the upper end of the fixed cylinder 3, the feed hopper 4 is fixedly connected with the fixed cylinder 3 and communicated with the inside of the fixed cylinder, a plurality of water outlet micro-tubes 9 are circumferentially distributed on the side wall of the separation cylinder 8 at equal intervals, a through pipe 14 is arranged at the eccentric position of the bottom of the separation cylinder 8, the upper end of the through pipe 14 is communicated with the inside of the separation cylinder 8, the lower end of the through pipe 14 is hermetically attached to the bottom of the fixed cylinder 3, soil materials and water liquids are respectively added into the separation cylinder 8 through the feed hopper 4, the water liquids are absorbed by the soil materials, the rotating separation cylinder 8 enables the surplus water liquids to be discharged into the fixed cylinder 3 through the water outlet micro-tubes 9, and it; the lower part of the through pipe 14 is provided with a discharge pipe 15, the discharge pipe 15 is fixedly connected with the bottom of the fixed barrel 3, the lower end of the discharge pipe 15 is provided with a sealing cover, the rotating wheel 6 is rotated to drive the rotating shaft and the separating barrel 8 to rotate along with the rotating shaft, when the pointer 21 on the rotating shaft is aligned with the upright post 5, the through pipe 14 is just communicated with the discharge pipe 15, and the sealing cover is opened at the moment to discharge soil infiltrated in the separating barrel 8.
The right side of the bottom of the fixed cylinder 3 is communicated with a liquid guide pipe 17, the liquid guide pipe 17 is fixedly connected with the outer wall of the fixed cylinder 3, the upper end of the liquid guide pipe 17 is communicated with the right side of a circulating pump 16, the lower end of the circulating pump 16 is fixedly connected with a base 20, the base 20 is fixedly connected with the upper end of the fixed cylinder 3 through a bolt, the left side of the circulating pump 16 is communicated with the upper part of the inside of the separating cylinder 8, the lower end of the liquid guide pipe 17 is communicated with a drainage pipe 18, a rotary valve 19 is arranged in the middle of the drainage pipe 18, separated water liquid enters the fixed cylinder 3, the water in the fixed cylinder 3 is pumped by the circulating pump 16 and is drained into the separating cylinder 8 again, soil is subjected to secondary infiltration, insufficient absorption of the soil at the bottom to.
Example 2
Referring to fig. 1-4, in an embodiment of the present invention, a multifunctional soil property testing system includes a fixed cylinder 3, a separation cylinder 8, a driving motor 10, a driven shaft 13 and a circulating pump 16; the left side wall of the fixed cylinder 3 is fixedly connected with a support frame 1, a reinforcing rib 2 is welded on the lower portion of the support frame 1, the bottom of the support frame 1 is horizontal, a separation cylinder 8 is sleeved inside the fixed cylinder 3, a driving motor 10 is arranged on the lower portion of the support frame 1, a motor base is fixedly connected to the left side of the driving motor 10, the motor base is fixedly connected with the support frame 1 through bolts, the lower portion of the driving motor 10 is rotatably connected with a driving shaft 11, a bearing at the lower end of the driving shaft 11 is rotatably connected with the bottom of the support frame 1, a lead of the driving motor 10 is connected with; the middle part of the driving shaft 11 is connected with the left side of a synchronous belt 12 in a rolling way, the right side of the synchronous belt 12 is connected with a driven shaft 13 in a rolling way, a bearing at the lower end of the driven shaft 13 is connected with the bottom of the support frame 1 in a rotating way, and the upper part of the driven shaft 13 penetrates through the bottom of the fixed cylinder 3 and is connected with the bearing in a rotating way, wherein the upper end of the driven shaft 13 is fixedly connected with the bottom of the separation cylinder 8, the driven shaft 11 which rotates drives the; the separating cylinder 8 upper portion is provided with holder 7, and holder 7 edge fixed connection separating cylinder 8 inner wall, holder 7 middle part fixed connection pivot, the pivot passes the fixed cylinder 3 upper end and rotates with its bearing and be connected, and pivot upper end fixed connection runner 6, 6 lower parts of runner are provided with pointer 21, pointer 21 fixed connection is in pivot upper portion, keeps separating cylinder 8 firm through pivot and driven shaft 13.
A feed hopper 4 is fixedly connected to the left side of the upper end of the fixed cylinder 3, the feed hopper 4 is fixedly connected with the fixed cylinder 3 and communicated with the inside of the fixed cylinder, a plurality of water outlet micro-tubes 9 are circumferentially distributed on the side wall of the separation cylinder 8 at equal intervals, a through pipe 14 is arranged at the eccentric position of the bottom of the separation cylinder 8, the upper end of the through pipe 14 is communicated with the inside of the separation cylinder 8, the lower end of the through pipe 14 is hermetically attached to the bottom of the fixed cylinder 3, soil materials and water liquids are respectively added into the separation cylinder 8 through the feed hopper 4, the water liquids are absorbed by the soil materials, the rotating separation cylinder 8 enables the surplus water liquids to be discharged into the fixed cylinder 3 through the water outlet micro-tubes 9, and it; the lower part of the through pipe 14 is provided with a discharge pipe 15, the discharge pipe 15 is fixedly connected with the bottom of the fixed barrel 3, the lower end of the discharge pipe 15 is provided with a sealing cover, the rotating wheel 6 is rotated to drive the rotating shaft and the separating barrel 8 to rotate along with the rotating shaft, when the pointer 21 on the rotating shaft is aligned with the upright post 5, the through pipe 14 is just communicated with the discharge pipe 15, and the sealing cover is opened at the moment to discharge soil infiltrated in the separating barrel 8.
3 bottom right sides of solid fixed cylinder intercommunication cistern, the cistern bottom is provided with the sedimentation tank, sedimentation tank bottom and 1 bottom fixed connection of support frame, and the cistern bottom is provided with the bleeder valve, inside water liquid after the separation got into solid fixed cylinder 3, water liquid in the solid fixed cylinder 3 got into the cistern, wherein muddy part deposits and falls into the sedimentation tank, open the bleeder valve and emit the clear water on cistern upper strata and add once more in the knockout drum 8, prevent that bottom soil material from absorbing water liquid inadequately, lead to soil material hydroscopicity detection error increase.
The working principle of the invention is as follows: when the switch is opened to enable the driving motor 10 to work by electrifying to drive the driving shaft 11 to rotate, the rotating driving shaft 11 drives the driven shaft 13 to rotate by utilizing the synchronous belt 12, the driven shaft 13 drives the separating cylinder 8 to rotate, the separating cylinder 8 is kept stable by the rotating shaft and the driven shaft 13, soil materials and water liquids are respectively added into the separating cylinder 8 by the feed hopper 4, wherein the water liquids are absorbed by the soil materials, the rotating separating cylinder 8 enables the redundant water liquids to be discharged into the fixed cylinder 3 through the water outlet micro-pipe 9, it should be noted that the water outlet micro-pipe 9 only allows the water liquids to pass through, the soil materials cannot pass through, the rotating wheel 6 drives the rotating shaft and the separating cylinder 8 to rotate along with the rotating, when the pointer 21 on the rotating shaft is aligned with the upright post 5, the through pipe 14 is just communicated with the discharging pipe 15, at the moment, the sealing cover is opened to discharge the soaked soil materials in the separating cylinder, the siphunculus 14 communicates discharging pipe 15 just, it can be discharged with the soil material of being soaked in the cylinder 8 to open sealed lid this moment, water liquid after the separation gets into inside the solid fixed cylinder 3, pump the water liquid in the solid fixed cylinder 3 through circulating pump 16 and discharge again in the cylinder 8, carry out the secondary infiltration to the soil material, prevent that bottom soil material from absorbing the water liquid inadequately, lead to soil material hydroscopicity detection error increase, open the water liquid that the rotary valve 19 can be discharged the solid fixed cylinder 3 after the test finishes, or utilize the cistern to receive the water liquid in the solid fixed cylinder, wherein muddy part deposits and falls into the sedimentation tank, open the bleeder valve and discharge the clear water on the cistern upper strata and add again in the cylinder 8.
It should be particularly noted that, driving motor and circulating pump are prior art's application in this application, utilize rotatory knockout drum to discharge unnecessary moisture in the soil material after will infiltrating, and the discharged aqueous solution adds again and carries out the secondary infiltration to the soil material in the knockout drum, prevents that bottom soil material from absorbing the aqueous solution inadequately, leads to soil material hydroscopicity detection error to increase to the innovation point of this application, and it has effectively solved the big problem of hydroscopicity test error in the soil property detects.
It will be evident to those skilled in the art that the invention is not limited to the details of the foregoing illustrative embodiments, and that the present invention may be embodied in other specific forms without departing from the spirit or essential attributes thereof. The present embodiments are therefore to be considered in all respects as illustrative and not restrictive, the scope of the invention being indicated by the appended claims rather than by the foregoing description, and all changes which come within the meaning and range of equivalency of the claims are therefore intended to be embraced therein. Any reference sign in a claim should not be construed as limiting the claim concerned.
Furthermore, it should be understood that although the present description refers to embodiments, not every embodiment may contain only a single embodiment, and such description is for clarity only, and those skilled in the art should integrate the description, and the embodiments may be combined as appropriate to form other embodiments understood by those skilled in the art.

Claims (4)

1. A multifunctional soil property testing system comprises a fixed cylinder (3), a separating cylinder (8), a driving motor (10), a driven shaft (13) and a circulating pump (16), and is characterized in that the left side wall of the fixed cylinder (3) is fixedly connected with a support frame (1), reinforcing ribs (2) are welded on the lower portion of the support frame (1), the separating cylinder (8) is sleeved inside the fixed cylinder (3), the driving motor (10) is arranged on the lower portion of the support frame (1), the lower portion of the driving motor (10) is rotatably connected with a driving shaft (11), and a bearing at the lower end of the driving shaft (11) is rotatably connected with the bottom of the support frame (; the middle part of the driving shaft (11) is connected with the left side of a synchronous belt (12) in a rolling mode, the right side of the synchronous belt (12) is connected with a driven shaft (13) in a rolling mode, the upper part of the driven shaft (13) penetrates through the bottom of the fixed cylinder (3) and is in rotary connection with a bearing of the fixed cylinder, and the upper end of the driven shaft (13) is fixedly connected with the bottom of the separation cylinder (8); a retainer (7) is arranged at the upper part of the separation barrel (8), the middle part of the retainer (7) is fixedly connected with a rotating shaft, the rotating shaft penetrates through the upper end of the fixed barrel (3) and is rotatably connected with a bearing of the fixed barrel, the upper end of the rotating shaft is fixedly connected with a rotating wheel (6), and a pointer (21) is arranged at the lower part of the rotating wheel (6);
the left side of the upper end of the fixed cylinder (3) is fixedly connected with a feed hopper (4), the feed hopper (4) is fixedly connected with the fixed cylinder (3) and communicated with the interior of the fixed cylinder, a plurality of water outlet micro-pipes (9) are circumferentially distributed on the side wall of the separation cylinder (8) at equal intervals, a through pipe (14) is arranged at the eccentric position of the bottom of the separation cylinder (8), the upper end of the through pipe (14) is communicated with the interior of the separation cylinder (8), and the lower end of the through pipe (14) is hermetically attached to; a discharge pipe (15) is arranged at the lower part of the through pipe (14), and a sealing cover is arranged at the lower end of the discharge pipe (15); fixed cylinder (3) bottom right side intercommunication liquid guide pipe (17), liquid guide pipe (17) fixed connection fixed cylinder (3) outer wall, liquid guide pipe (17) upper end intercommunication circulating pump (16) right side, circulating pump (16) lower extreme fixed connection base (20), base (20) bolt fixed connection fixed cylinder (3) upper end, and circulating pump (16) left side intercommunication knockout drum (8) inside top.
2. The multifunctional soil property testing system of claim 1, wherein the lower end of the liquid guide pipe (17) is communicated with a drainage pipe (18), and a cock (19) is arranged in the middle of the drainage pipe (18).
3. The multifunctional soil property testing system of claim 1, wherein a motor base is fixedly connected to the left side of the driving motor (10), and the motor base is fixedly connected with the support frame (1) through bolts.
4. The multifunctional soil property testing system according to any one of claims 1-3, wherein the driving motor (10) is connected with a power supply and a switch through wires.
CN201811024477.8A 2018-09-04 2018-09-04 Multifunctional soil property testing system Expired - Fee Related CN109100280B (en)

Priority Applications (1)

Application Number Priority Date Filing Date Title
CN201811024477.8A CN109100280B (en) 2018-09-04 2018-09-04 Multifunctional soil property testing system

Applications Claiming Priority (1)

Application Number Priority Date Filing Date Title
CN201811024477.8A CN109100280B (en) 2018-09-04 2018-09-04 Multifunctional soil property testing system

Publications (2)

Publication Number Publication Date
CN109100280A CN109100280A (en) 2018-12-28
CN109100280B true CN109100280B (en) 2021-01-29

Family

ID=64865043

Family Applications (1)

Application Number Title Priority Date Filing Date
CN201811024477.8A Expired - Fee Related CN109100280B (en) 2018-09-04 2018-09-04 Multifunctional soil property testing system

Country Status (1)

Country Link
CN (1) CN109100280B (en)

Citations (26)

* Cited by examiner, † Cited by third party
Publication number Priority date Publication date Assignee Title
CN2150553Y (en) * 1993-03-17 1993-12-22 雷廷武 Device for measuring flow of water in soil
CN1311061A (en) * 2001-02-13 2001-09-05 黄敏彦 Centrifugal Sludge Water Separator
JP3629002B2 (en) * 2001-12-26 2005-03-16 株式会社熊谷組 Permeability test equipment
CN1598533A (en) * 2004-08-09 2005-03-23 中国科学院遗传与发育生物学研究所 Automatic investigation system of rock-soil saturation infiltration
CN202748295U (en) * 2012-07-04 2013-02-20 河海大学 Intelligent test system for permeability characteristics of earth material
CN103091372A (en) * 2013-02-07 2013-05-08 浙江大学 On-board seepage flow and outflow concentration real-time monitoring device and method of geotechnical centrifuge
CN203209190U (en) * 2013-03-05 2013-09-25 侯金杰 Mud sand separator
CN104089867A (en) * 2014-07-15 2014-10-08 安徽理工大学 Rock and earth mass water absorption test device
CN204064771U (en) * 2014-08-29 2014-12-31 重庆建工新型建材有限公司 A kind of concrete mix aggregate separated device
CN204228377U (en) * 2014-10-14 2015-03-25 河海大学 A kind of multifunction experiment apparatus of hydrogeological parameter synthesis measuring
CN204479445U (en) * 2015-01-06 2015-07-15 清华大学 Seepage flow and solute migration measuring equipment in geotechnical centrifugal model test
CN105987869A (en) * 2016-07-06 2016-10-05 天津大学 Saturated soft soil centrifugal seepage drum
CN106018242A (en) * 2016-07-06 2016-10-12 天津大学 Saturated soft soil centrifugal infiltration device
CN205808884U (en) * 2016-07-06 2016-12-14 天津大学 A kind of saturated soft soil is centrifuged seepage flow cylinder
CN205879629U (en) * 2016-06-24 2017-01-11 山西省交通科学研究院 Quick even device of rotation type soil sample moisture content
CN106404613A (en) * 2016-10-27 2017-02-15 上海理工大学 Apparatus for simulating circulatory permeation of acidic solution
CN106706411A (en) * 2016-11-18 2017-05-24 天津大学 Minitype centrifuge experimental apparatus oriented to three-dimensional printed geotechnical model and research method thereof
CN106769752A (en) * 2016-11-29 2017-05-31 中国石油大学(北京) Rotatable imbibition experimental provision
CN107116061A (en) * 2017-04-11 2017-09-01 河海大学 Clean the root washing machine of plant root soil
CN206832801U (en) * 2017-05-27 2018-01-02 中铁时代建筑设计院有限公司 The measurement apparatus of water content in a kind of soil sample
CN107621390A (en) * 2017-11-07 2018-01-23 贵州师范大学 An integrated device for water and soil separation and mixing and collection in runoff pools and its operating method
CN207067042U (en) * 2017-08-14 2018-03-02 西南大学 Soil constituent measurement apparatus
CN107917866A (en) * 2016-10-11 2018-04-17 湖南湘仪实验室仪器开发有限公司 A kind of centrifuge method and apparatus for measuring plant hydraulic conductivity
CN207300996U (en) * 2017-10-20 2018-05-01 河南海瑞正检测技术有限公司 A kind of Soil K+adsorption case and soil testing assemblies
CN108037055A (en) * 2017-11-15 2018-05-15 同济大学 Soil sample original state improves and permeance property test system
CN207528604U (en) * 2017-12-11 2018-06-22 广西壮族自治区水利科学研究院 One kind is planted raw eco-concrete device for determining permeation coefficient

Family Cites Families (3)

* Cited by examiner, † Cited by third party
Publication number Priority date Publication date Assignee Title
CN203803662U (en) * 2014-05-12 2014-09-03 李吉田 Water circulation type centrifugal washing machine
CN206315932U (en) * 2016-12-27 2017-07-11 中国科学院地理科学与资源研究所 Water and soil separation and moisture collection measurement and data transmission system based on centrifuge
CN206832611U (en) * 2017-05-27 2018-01-02 中铁时代建筑设计院有限公司 A kind of soil's water content determines device

Patent Citations (26)

* Cited by examiner, † Cited by third party
Publication number Priority date Publication date Assignee Title
CN2150553Y (en) * 1993-03-17 1993-12-22 雷廷武 Device for measuring flow of water in soil
CN1311061A (en) * 2001-02-13 2001-09-05 黄敏彦 Centrifugal Sludge Water Separator
JP3629002B2 (en) * 2001-12-26 2005-03-16 株式会社熊谷組 Permeability test equipment
CN1598533A (en) * 2004-08-09 2005-03-23 中国科学院遗传与发育生物学研究所 Automatic investigation system of rock-soil saturation infiltration
CN202748295U (en) * 2012-07-04 2013-02-20 河海大学 Intelligent test system for permeability characteristics of earth material
CN103091372A (en) * 2013-02-07 2013-05-08 浙江大学 On-board seepage flow and outflow concentration real-time monitoring device and method of geotechnical centrifuge
CN203209190U (en) * 2013-03-05 2013-09-25 侯金杰 Mud sand separator
CN104089867A (en) * 2014-07-15 2014-10-08 安徽理工大学 Rock and earth mass water absorption test device
CN204064771U (en) * 2014-08-29 2014-12-31 重庆建工新型建材有限公司 A kind of concrete mix aggregate separated device
CN204228377U (en) * 2014-10-14 2015-03-25 河海大学 A kind of multifunction experiment apparatus of hydrogeological parameter synthesis measuring
CN204479445U (en) * 2015-01-06 2015-07-15 清华大学 Seepage flow and solute migration measuring equipment in geotechnical centrifugal model test
CN205879629U (en) * 2016-06-24 2017-01-11 山西省交通科学研究院 Quick even device of rotation type soil sample moisture content
CN106018242A (en) * 2016-07-06 2016-10-12 天津大学 Saturated soft soil centrifugal infiltration device
CN105987869A (en) * 2016-07-06 2016-10-05 天津大学 Saturated soft soil centrifugal seepage drum
CN205808884U (en) * 2016-07-06 2016-12-14 天津大学 A kind of saturated soft soil is centrifuged seepage flow cylinder
CN107917866A (en) * 2016-10-11 2018-04-17 湖南湘仪实验室仪器开发有限公司 A kind of centrifuge method and apparatus for measuring plant hydraulic conductivity
CN106404613A (en) * 2016-10-27 2017-02-15 上海理工大学 Apparatus for simulating circulatory permeation of acidic solution
CN106706411A (en) * 2016-11-18 2017-05-24 天津大学 Minitype centrifuge experimental apparatus oriented to three-dimensional printed geotechnical model and research method thereof
CN106769752A (en) * 2016-11-29 2017-05-31 中国石油大学(北京) Rotatable imbibition experimental provision
CN107116061A (en) * 2017-04-11 2017-09-01 河海大学 Clean the root washing machine of plant root soil
CN206832801U (en) * 2017-05-27 2018-01-02 中铁时代建筑设计院有限公司 The measurement apparatus of water content in a kind of soil sample
CN207067042U (en) * 2017-08-14 2018-03-02 西南大学 Soil constituent measurement apparatus
CN207300996U (en) * 2017-10-20 2018-05-01 河南海瑞正检测技术有限公司 A kind of Soil K+adsorption case and soil testing assemblies
CN107621390A (en) * 2017-11-07 2018-01-23 贵州师范大学 An integrated device for water and soil separation and mixing and collection in runoff pools and its operating method
CN108037055A (en) * 2017-11-15 2018-05-15 同济大学 Soil sample original state improves and permeance property test system
CN207528604U (en) * 2017-12-11 2018-06-22 广西壮族自治区水利科学研究院 One kind is planted raw eco-concrete device for determining permeation coefficient

Non-Patent Citations (1)

* Cited by examiner, † Cited by third party
Title
膨润土吸水率检测装置的改进;武春光;《中国矿业》;20090731;389-390 *

Also Published As

Publication number Publication date
CN109100280A (en) 2018-12-28

Similar Documents

Publication Publication Date Title
CN103254873B (en) Continuous liftable formula track quick oil absorption material surface of water oil suction device
RU2015141228A (en) DEVICE FOR COLLECTING OIL
CN109100280B (en) Multifunctional soil property testing system
CN207392182U (en) A kind of composite foundation stabilization equipment
CN103572791A (en) Grab bucket, continuous wall hydraulic grab bucket grooving machine and grab bucket operation method
CN206860104U (en) A kind of drilling bit of rotary-digging drilling rig for cutting steel strand wires
CN104847371A (en) V-head pipe-jacking tunneling machine
CN106269302B (en) A kind of experiment cell centrifugation extraction machine
CN202478704U (en) Horizontal centrifugal biogas residue solid-liquid separator
US9752403B1 (en) Well remediation method and apparatus
CN211091707U (en) Electronic milk disinfection aging machine and waterproof stirring mechanism thereof
JP6314048B2 (en) Drainage pipe
CN203497139U (en) Amphibious platform for mining vertical pump
CN109287199A (en) A kind of urban ecological environment improvement roadside greening tree planting equipment
CN215763270U (en) Outer cavity manger plate ring in rotary drum and seal assembly
CN105850324A (en) Electric screw fertilizer apparatus
CN203486485U (en) Large dip angle sludge spiral conveyor
CN206874308U (en) A kind of coal mine gob slip casting filling device
CN207722968U (en) A kind of centrifuge convenient for discharging
CN206203196U (en) Turnover panel door
CN219862818U (en) Underpass railway bed grouting device
CN203081503U (en) Underground air leak blocking and draining device of coal mines
CN205710963U (en) A kind of crust breaking end device of antiseized bag
CN206076389U (en) Superelevation liquid flow energy storage battery barrier film produces oil extraction device
CN207537378U (en) For albumen, the centrifugation desalting column of peptide fragment

Legal Events

Date Code Title Description
PB01 Publication
PB01 Publication
SE01 Entry into force of request for substantive examination
SE01 Entry into force of request for substantive examination
GR01 Patent grant
GR01 Patent grant
TR01 Transfer of patent right
TR01 Transfer of patent right

Effective date of registration: 20210816

Address after: 330224 room 923, office building, Zifeng building, Greenland new metropolis, Ziyang Avenue, Nanchang high tech Industrial Development Zone, Nanchang City, Jiangxi Province

Patentee after: Yintai building materials Co.,Ltd.

Address before: 330013 No. 418, Guanglan Avenue, Jingkai District, Nanchang City, Jiangxi Province

Patentee before: EAST CHINA INSTITUTE OF TECHNOLOGY

CF01 Termination of patent right due to non-payment of annual fee
CF01 Termination of patent right due to non-payment of annual fee

Granted publication date: 20210129

Termination date: 20210904