CN109089984B - Breed pond and eat ship with feeding - Google Patents

Breed pond and eat ship with feeding Download PDF

Info

Publication number
CN109089984B
CN109089984B CN201810761077.9A CN201810761077A CN109089984B CN 109089984 B CN109089984 B CN 109089984B CN 201810761077 A CN201810761077 A CN 201810761077A CN 109089984 B CN109089984 B CN 109089984B
Authority
CN
China
Prior art keywords
support
plate
box
bracket
rack
Prior art date
Legal status (The legal status is an assumption and is not a legal conclusion. Google has not performed a legal analysis and makes no representation as to the accuracy of the status listed.)
Expired - Fee Related
Application number
CN201810761077.9A
Other languages
Chinese (zh)
Other versions
CN109089984A (en
Inventor
谢政
Current Assignee (The listed assignees may be inaccurate. Google has not performed a legal analysis and makes no representation or warranty as to the accuracy of the list.)
Nantong Haixin Information Technology Co ltd
Original Assignee
Nantong Haixin Information Technology Co ltd
Priority date (The priority date is an assumption and is not a legal conclusion. Google has not performed a legal analysis and makes no representation as to the accuracy of the date listed.)
Filing date
Publication date
Application filed by Nantong Haixin Information Technology Co ltd filed Critical Nantong Haixin Information Technology Co ltd
Priority to CN201810761077.9A priority Critical patent/CN109089984B/en
Publication of CN109089984A publication Critical patent/CN109089984A/en
Application granted granted Critical
Publication of CN109089984B publication Critical patent/CN109089984B/en
Expired - Fee Related legal-status Critical Current
Anticipated expiration legal-status Critical

Links

Images

Classifications

    • AHUMAN NECESSITIES
    • A01AGRICULTURE; FORESTRY; ANIMAL HUSBANDRY; HUNTING; TRAPPING; FISHING
    • A01KANIMAL HUSBANDRY; AVICULTURE; APICULTURE; PISCICULTURE; FISHING; REARING OR BREEDING ANIMALS, NOT OTHERWISE PROVIDED FOR; NEW BREEDS OF ANIMALS
    • A01K61/00Culture of aquatic animals
    • A01K61/80Feeding devices
    • BPERFORMING OPERATIONS; TRANSPORTING
    • B63SHIPS OR OTHER WATERBORNE VESSELS; RELATED EQUIPMENT
    • B63BSHIPS OR OTHER WATERBORNE VESSELS; EQUIPMENT FOR SHIPPING 
    • B63B35/00Vessels or similar floating structures specially adapted for specific purposes and not otherwise provided for
    • YGENERAL TAGGING OF NEW TECHNOLOGICAL DEVELOPMENTS; GENERAL TAGGING OF CROSS-SECTIONAL TECHNOLOGIES SPANNING OVER SEVERAL SECTIONS OF THE IPC; TECHNICAL SUBJECTS COVERED BY FORMER USPC CROSS-REFERENCE ART COLLECTIONS [XRACs] AND DIGESTS
    • Y02TECHNOLOGIES OR APPLICATIONS FOR MITIGATION OR ADAPTATION AGAINST CLIMATE CHANGE
    • Y02ATECHNOLOGIES FOR ADAPTATION TO CLIMATE CHANGE
    • Y02A40/00Adaptation technologies in agriculture, forestry, livestock or agroalimentary production
    • Y02A40/80Adaptation technologies in agriculture, forestry, livestock or agroalimentary production in fisheries management
    • Y02A40/81Aquaculture, e.g. of fish

Landscapes

  • Life Sciences & Earth Sciences (AREA)
  • Environmental Sciences (AREA)
  • Chemical & Material Sciences (AREA)
  • Engineering & Computer Science (AREA)
  • Combustion & Propulsion (AREA)
  • Mechanical Engineering (AREA)
  • Ocean & Marine Engineering (AREA)
  • Marine Sciences & Fisheries (AREA)
  • Zoology (AREA)
  • Animal Husbandry (AREA)
  • Biodiversity & Conservation Biology (AREA)
  • Apparatuses For Bulk Treatment Of Fruits And Vegetables And Apparatuses For Preparing Feeds (AREA)

Abstract

本发明涉及一种喂食船,尤其涉及一种养殖鱼塘用喂食船。本发明的目的是提供一种生产效率高、喂食全面的养殖鱼塘用喂食船。技术方案为:一种养殖鱼塘用喂食船,包括有船体、饲料箱、固定座、第一固定板、支座、第一滑块、齿条、第二固定板、第一支架、扇形齿轮、第二支架等;船体顶部右侧设置有饲料箱,船体顶部左侧设置有固定座,固定座顶部设置有第一固定板,第一固定板顶部左侧设置有支座,支座前侧设置有第一滑块,第一滑块前侧设置有齿条。本发明通过控制第一安装板和第一顶块的上下运动进而带动第二顶块的上下运动对下料箱进行击打,能很好的使得下料箱内的饲料从出料口流出,不会堆积而在下料箱内。

Figure 201810761077

The invention relates to a feeding boat, in particular to a feeding boat for breeding fish ponds. The purpose of the present invention is to provide a feeding boat for fish ponds with high production efficiency and comprehensive feeding. The technical scheme is: a feeding boat for aquaculture fish pond, comprising a hull, a feed box, a fixed seat, a first fixed plate, a support, a first slider, a rack, a second fixed plate, a first bracket, and a sector gear The right side of the hull is provided with a feed box, the left side of the top of the hull is provided with a fixed seat, the top of the fixed seat is provided with a first fixing plate, the left side of the top of the first fixed plate is provided with a support, and the front side of the support is provided A first sliding block is provided, and a rack is provided on the front side of the first sliding block. By controlling the up and down movement of the first mounting plate and the first top block, the present invention drives the up and down movement of the second top block to hit the unloading box, so that the feed in the unloading box can flow out from the discharge port very well. Will not accumulate in the unloading box.

Figure 201810761077

Description

Breed pond and eat ship with feeding
Technical Field
The invention relates to a feeding boat, in particular to a feeding boat for a culture fishpond.
Background
Aquaculture is the production activity of breeding, cultivating and harvesting aquatic animals and plants under artificial control. Generally comprises the whole process of cultivating aquatic products from seedlings under artificial feeding management. In a broad sense, this may also include the proliferation of aquatic resources.
Aquaculture has modes of rough culture, intensive culture, high-density intensive culture and the like. The rough culture is to put seedlings in medium and small natural waters and to culture aquatic products such as fish in lakes and reservoirs, shellfish in shallow seas and the like by completely relying on natural baits. Intensive culture is to culture aquatic products such as pond fish culture, net cage fish culture, fence culture and the like in a small water body by using bait casting and fertilizing methods. The high-density intensive culture adopts methods of flowing water, controlling temperature, increasing oxygen, feeding high-quality baits and the like to carry out high-density culture in a small water body so as to obtain high yield, such as flowing water high-density fish culture, shrimp culture and the like.
Most of the feeding in the fish ponds of today is a machine with a feed throwing device installed in a fixed position, which makes the farmed fish come together frequently. Leading to that the aquatic products in many places can not be fed well and the feeding is not comprehensive enough.
Disclosure of Invention
In order to overcome the defect that most of the feeding of the fish ponds in the prior art is to install a feed throwing machine at a fixed position, so that the farmed fish can come together frequently. The invention aims to provide a feeding boat for a culture fishpond, which has high production efficiency and comprehensive feeding.
The technical scheme is as follows: a feeding boat for a culture fishpond comprises a boat body, a feed box, a fixed seat, a first fixed plate, a support, a first sliding block, a rack, a second fixed plate, a first support, a sector gear, a second support, a rotary motor, a rotary disk, a third support, a cylinder, a fourth support, a blanking box, a lifting rod, a connecting rod and a stop block, wherein the feed box is arranged on the right side of the top of the boat body, the fixed seat is arranged on the left side of the top of the boat body, the first fixed plate is arranged on the top of the fixed seat, the support is arranged on the left side of the top of the first fixed plate, the first sliding block is arranged on the front side of the support, the rack is arranged on the front side of the first sliding block, the second support is arranged in the middle of the left side of the support, the rotary motor is arranged on the second support, the rotary disk is arranged on an output, sector gear and rack mutually support, first fixed plate top is provided with the third support, third support top is provided with the cylinder, the left end of cylinder and sector gear's eccentric position articulate together, the rack top is provided with the lifter, the top of third support is provided with the fourth support, fourth support top and support top are provided with the workbin, open workbin left side bottom has the discharge gate, open bottom left side of the workbin has first aperture, the lifter top passes first aperture and is provided with the connecting rod, the connecting rod left end is provided with the dog.
As the improvement of above-mentioned scheme, still including first mounting panel, first kicking block, a slide rail, the second slider, the second mounting panel, first spring and second kicking block, first mounting panel setting is in lifter right side bottom, first mounting panel top right side is provided with first kicking block, the slide rail setting is in the middle of the workbin outer bottom, the slide rail right side is provided with the second slider, second slider right side is provided with the second mounting panel, be provided with the second kicking block in the middle of the second mounting panel top, second mounting panel top bilateral symmetry is provided with first spring.
As the improvement of above-mentioned scheme, still including the third mounting panel, the mount pad, first motor, the pinion, the bearing frame, the pivot, gear wheel and stirring vane, the third mounting panel sets up in the outer right side bottom of workbin, third mounting panel top is provided with the mount pad, be provided with first motor on the mount pad, be provided with the pinion on the output shaft of first motor, workbin right side wall bottom is provided with the bearing frame, be provided with the pivot on the bearing frame, the pivot right side is provided with the gear wheel, gear wheel and pinion mutually support, the pivot left side is provided with stirring vane.
As an improvement of the scheme, the automatic blanking device further comprises a hinged component, a cover plate and a second spring, wherein the cover plate is hinged to the top end of the left side of the blanking box through the hinged component, the second spring is arranged on the left side of the bottom of the cover plate, and the bottom end of the second spring is arranged in the middle of the left wall inside the blanking box.
As an improvement of the scheme, the stirring device further comprises a baffle plate, the baffle plate is arranged on the right side of the bottom of the cover plate, and the stirring blade is provided with a second small hole.
When the device is needed to feed in a fish pond, firstly, the feed in the feed box is manually added into the feed box, then the air cylinder is manually started to start working, when the air cylinder contracts, the fan-shaped gear is driven to rotate clockwise, the fan-shaped gear rotates clockwise to drive the rack to move upwards, the rack moves upwards to drive the lifting rod to ascend, the lifting rod drives the connecting rod to ascend, the connecting rod drives the stop block to ascend, when the stop block ascends to a certain position, the discharge port is opened, the feed in the feed box can flow out from the discharge port, when the air cylinder extends, the fan-shaped gear rotates anticlockwise, the rack rotates anticlockwise to drive the rack to move downwards, the rack moves downwards to drive the lifting rod to descend, the lifting rod descends to drive the connecting rod, the connecting rod descends to drive the stop block to descend, when the stop block descends to a certain position, the discharge port is closed, the feed in the feed box, thus closing the outlet. And then the rotating motor is manually started to work, the rotating motor works to drive the rotating disc to rotate, and the feed falling from the discharge port just falls on the rotating disc, so that the rotating disc can well spray the feed into the fishpond, and the feeding of the culture fishpond can be well realized. When the feeding is finished, the rotating motor and the air cylinder only need to be stopped manually.
Because still including first mounting panel, first kicking block, a slide rail, the second slider, the second mounting panel, first spring and second kicking block, first mounting panel setting is in lifter right side bottom, first mounting panel top right side is provided with first kicking block, the slide rail setting is in the middle of the workbin bottom outside, the slide rail right side is provided with the second slider, second slider right side is provided with the second mounting panel, be provided with the second kicking block in the middle of the second mounting panel top, second mounting panel top bilateral symmetry is provided with first spring. When the lifting rod rises, the first mounting plate is driven to move upwards, the first mounting plate moves upwards to drive the first ejecting block to move upwards, the first ejecting block moves upwards to extrude the second mounting plate to move upwards, the second mounting plate moves upwards to drive the second ejecting block to move upwards, the second ejecting block moves upwards to knock down the feed box, so that the feed in the feed box can better flow out, and the first spring is compressed at the moment. When the lifting rod descends, the first mounting plate is driven to move downwards, the first mounting plate moves downwards to drive the first ejection block to move downwards, the first ejection block moves downwards to keep away from the second mounting plate, the first spring extends at the moment, the first spring extends to drive the second mounting plate to move downwards, the second mounting plate moves downwards to drive the second ejection block to move downwards, and the second ejection block moves downwards to keep away from the blanking box. The feed in the feed discharging box can flow out due to the up-and-down movement.
Because still including the third mounting panel, the mount pad, first motor, the pinion, the bearing frame, the apparatus further comprises a rotating shaft, gear wheel and stirring vane, the third mounting panel sets up right side bottom outside the blanking box, third mounting panel top is provided with the mount pad, be provided with first motor on the mount pad, be provided with the pinion on the output shaft of first motor, blanking box right side wall bottom is provided with the bearing frame, be provided with the pivot on the bearing frame, the pivot right side is provided with the gear wheel, gear wheel and pinion mutually support, the pivot left side is provided with stirring vane. When needs began work, at first the manual work opens first motor, and first motor work drives the pinion rotatory, and the pinion rotation drives the gear wheel rotatory, and the gear wheel rotation drives the pivot rotation, and the pivot rotation drives stirring vane rotatory, and stirring vane is rotatory just can be fine stir the fodder and mix, also can not make the fodder accumulate.
Because still including articulated part, apron and second spring, the apron is articulated to be connected on blanking box left side top through articulated part, and apron bottom left side is provided with the second spring, and second spring bottom sets up in the middle of the inside left wall of blanking box. Only need artifically when needs add the fodder open the apron can, the second spring is stretched this moment, add after the fodder artifical apron with good lid can, the shrink of second spring this moment just can be fine hold the apron. The apron can be fine prevent that the fodder from splashing at the stirring in-process, also can be fine prevent that the fodder is drenched by the rainwater in the rainy day.
Because still including the baffle, the baffle setting is in apron bottom right side, and it has the second aperture to open on the stirring blade. The second small holes on the baffle and the stirring blade can ensure that the stirring is more uniform.
According to the invention, the first mounting plate and the first top block are controlled to move up and down to drive the second top block to move up and down to hit the blanking box, so that the feed in the blanking box can well flow out of the discharge port and can not be accumulated in the blanking box, the stirring blade is driven to work well by controlling the first motor, the stirring blade works well to stir the feed in the blanking box uniformly, and the cover plate is designed to achieve the effects of preventing the feed from splashing in the stirring process and preventing the feed from being wetted by rainwater in rainy days.
Drawings
Fig. 1 is a schematic front view of the present invention.
Fig. 2 is a first front view structural diagram of the present invention a.
Fig. 3 is a second front view structural diagram of the present invention a.
Fig. 4 is a third schematic view of the present invention a.
Fig. 5 is a first partial schematic front view structure of the present invention.
Fig. 6 is a second partial schematic front view structure of the present invention.
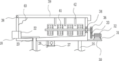
Number designation in the figures: 1. the ship comprises a ship body, 2 parts of a feed box, 3 parts of a fixed seat, 4 parts of a first fixed plate, 5 parts of a support, 6 parts of a first sliding block, 7 parts of a rack, 8 parts of a second fixed plate, 9 parts of a first bracket, 10 parts of a sector gear, 11 parts of a second bracket, 12 parts of a rotating motor, 13 parts of a rotating disk, 14 parts of a third bracket, 15 parts of a cylinder, 16 parts of a fourth bracket, 17 parts of a blanking box, 18 parts of a discharge hole, 19 parts of a lifting rod, 20 parts of a first small hole, 21 parts of a connecting rod, 22 parts of a stop block, 23 parts of a first mounting plate, 24 parts of a first jacking block, 25 parts of a sliding rail, 26 parts of a second sliding block, 27 parts of a second mounting plate, 28 parts of a first spring, 29 parts of a second jacking block, 30 parts of a third mounting plate, 31 parts of a mounting seat, 32 parts of a first motor, 33 parts of a small gear, 34 parts of a bearing seat, 35 parts of a rotating shaft, 36, 41. second aperture, 42 baffle.
Detailed Description
The above-described scheme is further illustrated below with reference to specific examples. It should be understood that these examples are for illustrative purposes and are not intended to limit the scope of the present application. The conditions used in the examples may be further adjusted according to the conditions of the particular manufacturer, and the conditions not specified are generally the conditions in routine experiments.
Example 1
A feeding boat for a culture fishpond is shown in figures 1-6 and comprises a boat body 1, a feed box 2, a fixed seat 3, a first fixed plate 4, a support 5, a first sliding block 6, a rack 7, a second fixed plate 8, a first support 9, a sector gear 10, a second support 11, a rotary motor 12, a rotary disk 13, a third support 14, an air cylinder 15, a fourth support 16, a blanking box 17, a lifting rod 19, a connecting rod 21 and a stop block 22, wherein the right side of the top of the boat body 1 is provided with the feed box 2, the left side of the top of the boat body 1 is provided with the fixed seat 3, the top of the fixed seat 3 is provided with the first fixed plate 4, the left side of the top of the first fixed plate 4 is provided with the support 5, the front side of the support 5 is provided with the first sliding block 6, the front side of the first sliding block 6 is provided with the rack 7, the middle of the left side of the support 5 is, the bottom of the right side of the support 5 is provided with a second fixing plate 8, the left side of the top of the second fixing plate 8 is provided with a first support 9, the top of the first support 9 is hinged to a sector gear 10, the sector gear 10 is matched with the rack 7, the top of the first fixing plate 4 is provided with a third support 14, the top of the third support 14 is provided with a cylinder 15, the left end of the cylinder 15 is hinged to the eccentric position of the sector gear 10, the top end of the rack 7 is provided with a lifting rod 19, the top end of the third support 14 is provided with a fourth support 16, the top end of the fourth support 16 and the top end of the support 5 are provided with a blanking box 17, the bottom of the left side of the blanking box 17 is provided with a discharge hole 18, the left side of the bottom of the blanking box 17 is provided with a first.
Example 2
A feeding boat for a culture fishpond is shown in figures 1-6 and comprises a boat body 1, a feed box 2, a fixed seat 3, a first fixed plate 4, a support 5, a first sliding block 6, a rack 7, a second fixed plate 8, a first support 9, a sector gear 10, a second support 11, a rotary motor 12, a rotary disk 13, a third support 14, an air cylinder 15, a fourth support 16, a blanking box 17, a lifting rod 19, a connecting rod 21 and a stop block 22, wherein the right side of the top of the boat body 1 is provided with the feed box 2, the left side of the top of the boat body 1 is provided with the fixed seat 3, the top of the fixed seat 3 is provided with the first fixed plate 4, the left side of the top of the first fixed plate 4 is provided with the support 5, the front side of the support 5 is provided with the first sliding block 6, the front side of the first sliding block 6 is provided with the rack 7, the middle of the left side of the support 5 is, the bottom of the right side of the support 5 is provided with a second fixing plate 8, the left side of the top of the second fixing plate 8 is provided with a first support 9, the top of the first support 9 is hinged to a sector gear 10, the sector gear 10 is matched with the rack 7, the top of the first fixing plate 4 is provided with a third support 14, the top of the third support 14 is provided with a cylinder 15, the left end of the cylinder 15 is hinged to the eccentric position of the sector gear 10, the top end of the rack 7 is provided with a lifting rod 19, the top end of the third support 14 is provided with a fourth support 16, the top end of the fourth support 16 and the top end of the support 5 are provided with a blanking box 17, the bottom of the left side of the blanking box 17 is provided with a discharge hole 18, the left side of the bottom of the blanking box 17 is provided with a first.
Still including first mounting panel 23, first kicking block 24, slide rail 25, second slider 26, second mounting panel 27, first spring 28 and second kicking block 29, first mounting panel 23 sets up in 19 right sides bottoms of lifter, 23 top right sides of first mounting panel are provided with first kicking block 24, slide rail 25 sets up in the middle of the outer bottom of workbin 17, slide rail 25 right side is provided with second slider 26, 26 right sides of second slider are provided with second mounting panel 27, be provided with second kicking block 29 in the middle of 27 tops of second mounting panel, 27 top bilateral symmetry of second mounting panel is provided with first spring 28.
Example 3
A feeding boat for a culture fishpond is shown in figures 1-6 and comprises a boat body 1, a feed box 2, a fixed seat 3, a first fixed plate 4, a support 5, a first sliding block 6, a rack 7, a second fixed plate 8, a first support 9, a sector gear 10, a second support 11, a rotary motor 12, a rotary disk 13, a third support 14, an air cylinder 15, a fourth support 16, a blanking box 17, a lifting rod 19, a connecting rod 21 and a stop block 22, wherein the right side of the top of the boat body 1 is provided with the feed box 2, the left side of the top of the boat body 1 is provided with the fixed seat 3, the top of the fixed seat 3 is provided with the first fixed plate 4, the left side of the top of the first fixed plate 4 is provided with the support 5, the front side of the support 5 is provided with the first sliding block 6, the front side of the first sliding block 6 is provided with the rack 7, the middle of the left side of the support 5 is, the bottom of the right side of the support 5 is provided with a second fixing plate 8, the left side of the top of the second fixing plate 8 is provided with a first support 9, the top of the first support 9 is hinged to a sector gear 10, the sector gear 10 is matched with the rack 7, the top of the first fixing plate 4 is provided with a third support 14, the top of the third support 14 is provided with a cylinder 15, the left end of the cylinder 15 is hinged to the eccentric position of the sector gear 10, the top end of the rack 7 is provided with a lifting rod 19, the top end of the third support 14 is provided with a fourth support 16, the top end of the fourth support 16 and the top end of the support 5 are provided with a blanking box 17, the bottom of the left side of the blanking box 17 is provided with a discharge hole 18, the left side of the bottom of the blanking box 17 is provided with a first.
Still including first mounting panel 23, first kicking block 24, slide rail 25, second slider 26, second mounting panel 27, first spring 28 and second kicking block 29, first mounting panel 23 sets up in 19 right sides bottoms of lifter, 23 top right sides of first mounting panel are provided with first kicking block 24, slide rail 25 sets up in the middle of the outer bottom of workbin 17, slide rail 25 right side is provided with second slider 26, 26 right sides of second slider are provided with second mounting panel 27, be provided with second kicking block 29 in the middle of 27 tops of second mounting panel, 27 top bilateral symmetry of second mounting panel is provided with first spring 28.
Still including third mounting panel 30, mount pad 31, first motor 32, pinion 33, bearing frame 34, pivot 35, gear wheel 36 and stirring vane 37, third mounting panel 30 sets up the outer right side bottom of workbin 17, third mounting panel 30 top is provided with mount pad 31, be provided with first motor 32 on the mount pad 31, be provided with pinion 33 on first motor 32's the output shaft, workbin 17 right wall bottom is provided with bearing frame 34, be provided with pivot 35 on the bearing frame 34, pivot 35 right side is provided with gear wheel 36, gear wheel 36 and pinion 33 mutually support, pivot 35 left side is provided with stirring vane 37.
Example 4
A feeding boat for a culture fishpond is shown in figures 1-6 and comprises a boat body 1, a feed box 2, a fixed seat 3, a first fixed plate 4, a support 5, a first sliding block 6, a rack 7, a second fixed plate 8, a first support 9, a sector gear 10, a second support 11, a rotary motor 12, a rotary disk 13, a third support 14, an air cylinder 15, a fourth support 16, a blanking box 17, a lifting rod 19, a connecting rod 21 and a stop block 22, wherein the right side of the top of the boat body 1 is provided with the feed box 2, the left side of the top of the boat body 1 is provided with the fixed seat 3, the top of the fixed seat 3 is provided with the first fixed plate 4, the left side of the top of the first fixed plate 4 is provided with the support 5, the front side of the support 5 is provided with the first sliding block 6, the front side of the first sliding block 6 is provided with the rack 7, the middle of the left side of the support 5 is, the bottom of the right side of the support 5 is provided with a second fixing plate 8, the left side of the top of the second fixing plate 8 is provided with a first support 9, the top of the first support 9 is hinged to a sector gear 10, the sector gear 10 is matched with the rack 7, the top of the first fixing plate 4 is provided with a third support 14, the top of the third support 14 is provided with a cylinder 15, the left end of the cylinder 15 is hinged to the eccentric position of the sector gear 10, the top end of the rack 7 is provided with a lifting rod 19, the top end of the third support 14 is provided with a fourth support 16, the top end of the fourth support 16 and the top end of the support 5 are provided with a blanking box 17, the bottom of the left side of the blanking box 17 is provided with a discharge hole 18, the left side of the bottom of the blanking box 17 is provided with a first.
Still including first mounting panel 23, first kicking block 24, slide rail 25, second slider 26, second mounting panel 27, first spring 28 and second kicking block 29, first mounting panel 23 sets up in 19 right sides bottoms of lifter, 23 top right sides of first mounting panel are provided with first kicking block 24, slide rail 25 sets up in the middle of the outer bottom of workbin 17, slide rail 25 right side is provided with second slider 26, 26 right sides of second slider are provided with second mounting panel 27, be provided with second kicking block 29 in the middle of 27 tops of second mounting panel, 27 top bilateral symmetry of second mounting panel is provided with first spring 28.
Still including third mounting panel 30, mount pad 31, first motor 32, pinion 33, bearing frame 34, pivot 35, gear wheel 36 and stirring vane 37, third mounting panel 30 sets up the outer right side bottom of workbin 17, third mounting panel 30 top is provided with mount pad 31, be provided with first motor 32 on the mount pad 31, be provided with pinion 33 on first motor 32's the output shaft, workbin 17 right wall bottom is provided with bearing frame 34, be provided with pivot 35 on the bearing frame 34, pivot 35 right side is provided with gear wheel 36, gear wheel 36 and pinion 33 mutually support, pivot 35 left side is provided with stirring vane 37.
The automatic blanking device further comprises a hinge component 38, a cover plate 39 and a second spring 40, wherein the cover plate 39 is hinged to the top end of the left side of the blanking box 17 through the hinge component 38, the second spring 40 is arranged on the left side of the bottom of the cover plate 39, and the bottom end of the second spring 40 is arranged in the middle of the left wall in the blanking box 17.
Example 5
A feeding boat for a culture fishpond is shown in figures 1-6 and comprises a boat body 1, a feed box 2, a fixed seat 3, a first fixed plate 4, a support 5, a first sliding block 6, a rack 7, a second fixed plate 8, a first support 9, a sector gear 10, a second support 11, a rotary motor 12, a rotary disk 13, a third support 14, an air cylinder 15, a fourth support 16, a blanking box 17, a lifting rod 19, a connecting rod 21 and a stop block 22, wherein the right side of the top of the boat body 1 is provided with the feed box 2, the left side of the top of the boat body 1 is provided with the fixed seat 3, the top of the fixed seat 3 is provided with the first fixed plate 4, the left side of the top of the first fixed plate 4 is provided with the support 5, the front side of the support 5 is provided with the first sliding block 6, the front side of the first sliding block 6 is provided with the rack 7, the middle of the left side of the support 5 is, the bottom of the right side of the support 5 is provided with a second fixing plate 8, the left side of the top of the second fixing plate 8 is provided with a first support 9, the top of the first support 9 is hinged to a sector gear 10, the sector gear 10 is matched with the rack 7, the top of the first fixing plate 4 is provided with a third support 14, the top of the third support 14 is provided with a cylinder 15, the left end of the cylinder 15 is hinged to the eccentric position of the sector gear 10, the top end of the rack 7 is provided with a lifting rod 19, the top end of the third support 14 is provided with a fourth support 16, the top end of the fourth support 16 and the top end of the support 5 are provided with a blanking box 17, the bottom of the left side of the blanking box 17 is provided with a discharge hole 18, the left side of the bottom of the blanking box 17 is provided with a first.
Still including first mounting panel 23, first kicking block 24, slide rail 25, second slider 26, second mounting panel 27, first spring 28 and second kicking block 29, first mounting panel 23 sets up in 19 right sides bottoms of lifter, 23 top right sides of first mounting panel are provided with first kicking block 24, slide rail 25 sets up in the middle of the outer bottom of workbin 17, slide rail 25 right side is provided with second slider 26, 26 right sides of second slider are provided with second mounting panel 27, be provided with second kicking block 29 in the middle of 27 tops of second mounting panel, 27 top bilateral symmetry of second mounting panel is provided with first spring 28.
Still including third mounting panel 30, mount pad 31, first motor 32, pinion 33, bearing frame 34, pivot 35, gear wheel 36 and stirring vane 37, third mounting panel 30 sets up the outer right side bottom of workbin 17, third mounting panel 30 top is provided with mount pad 31, be provided with first motor 32 on the mount pad 31, be provided with pinion 33 on first motor 32's the output shaft, workbin 17 right wall bottom is provided with bearing frame 34, be provided with pivot 35 on the bearing frame 34, pivot 35 right side is provided with gear wheel 36, gear wheel 36 and pinion 33 mutually support, pivot 35 left side is provided with stirring vane 37.
The automatic blanking device further comprises a hinge component 38, a cover plate 39 and a second spring 40, wherein the cover plate 39 is hinged to the top end of the left side of the blanking box 17 through the hinge component 38, the second spring 40 is arranged on the left side of the bottom of the cover plate 39, and the bottom end of the second spring 40 is arranged in the middle of the left wall in the blanking box 17.
The stirring device also comprises a baffle 42, the baffle 42 is arranged at the right side of the bottom of the cover plate 39, and the stirring blade 37 is provided with a second small hole 41.
When the device is needed to feed in a fish pond, firstly, the feed in the feed box 2 is manually added into the feed box 17, then the air cylinder 15 is manually started to start working, when the air cylinder 15 contracts, the fan-shaped gear 10 is driven to rotate clockwise, the fan-shaped gear 10 rotates clockwise to drive the rack 7 to move upwards, the rack 7 moves upwards to drive the lifting rod 19 to lift, the lifting rod 19 lifts to drive the connecting rod 21 to lift, the connecting rod 21 lifts to drive the stop block 22 to lift, when the stop block 22 lifts to a certain position, the discharge hole 18 is opened, the feed in the feed box 17 can flow out from the discharge hole 18, when the air cylinder 15 extends, the fan-shaped gear 10 rotates anticlockwise to drive the rack 7 to move downwards, the rack 7 moves downwards to drive the lifting rod 19 to descend, the lifting rod 19 descends to drive the connecting rod 21 to descend, the connecting rod 21 descends to drive the, when the stopper 22 is lowered to a certain position, the discharge hole 18 is closed, and the fodder in the feed box 17 cannot flow out of the discharge hole 18, so that the discharge hole 18 is closed. Then the rotating motor 12 is manually started to work, the rotating motor 12 works to drive the rotating disc 13 to rotate, and the feed falling from the discharge hole 18 just falls on the rotating disc 13, so that the rotating disc 13 can well spray the feed into the fish pond, and the feeding of the cultured fish pond can be well realized. When the feeding is finished, the rotary motor 12 and the air cylinder 15 only need to be stopped manually.
Because still including first mounting panel 23, first kicking block 24, slide rail 25, second slider 26, second mounting panel 27, first spring 28 and second kicking block 29, first mounting panel 23 sets up in 19 right sides bottoms of lifter, 23 top right sides of first mounting panel are provided with first kicking block 24, slide rail 25 sets up in the middle of the outer bottom of workbin 17 down, slide rail 25 right side is provided with second slider 26, 26 right sides of second slider are provided with second mounting panel 27, be provided with second kicking block 29 in the middle of 27 tops of second mounting panel, 27 top bilateral symmetry of second mounting panel is provided with first spring 28. When the lifting rod 19 rises, the first mounting plate 23 is driven to move upwards, the first mounting plate 23 moves upwards to drive the first ejecting block 24 to move upwards, the first ejecting block 24 moves upwards to extrude the second mounting plate 27 to move upwards, the second mounting plate 27 moves upwards to drive the second ejecting block 29 to move upwards, the second ejecting block 29 moves upwards to knock down the feed box 17, so that feed in the feed box can better flow out, and at the moment, the first spring 28 is compressed. When the lifting rod 19 descends, the first mounting plate 23 is driven to move downwards, the first mounting plate 23 moves downwards to drive the first ejection block 24 to move downwards, the first ejection block 24 moves downwards to be far away from the second mounting plate 27, the first spring 28 extends at the moment, the first spring 28 extends to drive the second mounting plate 27 to move downwards, the second mounting plate 27 moves downwards to drive the second ejection block 29 to move downwards, and the second ejection block 29 moves downwards to be far away from the blanking box 17. Such up-and-down movement enables the feed in the lower bin 17 to flow out well.
Because still including third mounting panel 30, mount pad 31, first motor 32, pinion 33, bearing frame 34, pivot 35, gear wheel 36 and stirring vane 37, third mounting panel 30 sets up the outer right side bottom of blanking box 17, third mounting panel 30 top is provided with mount pad 31, be provided with first motor 32 on the mount pad 31, be provided with pinion 33 on the output shaft of first motor 32, blanking box 17 right wall bottom is provided with bearing frame 34, be provided with pivot 35 on the bearing frame 34, pivot 35 right side is provided with gear wheel 36, gear wheel 36 and pinion 33 mutually support, pivot 35 left side is provided with stirring vane 37. When needs begin to work, at first the manual work opens first motor 32, and first motor 32 work drives pinion 33 rotatory, and pinion 33 is rotatory to drive gear wheel 36 rotatory, and gear wheel 36 is rotatory to drive pivot 35 rotatory, and the pivot 35 is rotatory to drive stirring vane 37 rotatory, and stirring vane 37 is rotatory just can be fine stir the fodder and mix, also can not make the fodder accumulate.
Because the hinge component 38, the cover plate 39 and the second spring 40 are further included, the cover plate 39 is hinged and connected to the top end of the left side of the lower box 17 through the hinge component 38, the second spring 40 is arranged on the left side of the bottom of the cover plate 39, and the bottom end of the second spring 40 is arranged in the middle of the left wall in the lower box 17. When the feed is required to be added, the cover plate 39 is manually turned over, the second spring 40 is stretched, the cover plate 39 is manually covered after the feed is added, and the cover plate 39 can be well pulled by the contraction of the second spring 40. The cover plate 39 can well prevent the feed from splashing in the stirring process and can also well prevent the feed from being wetted by rainwater in rainy days.
Because the stirring device also comprises a baffle 42, the baffle 42 is arranged at the right side of the bottom of the cover plate 39, and the stirring blade 37 is provided with a second small hole 41. The baffle 42 and the second small holes 41 on the stirring vanes 37 can make the stirring more uniform.
The above-mentioned embodiments are merely preferred embodiments of the present invention, which are not intended to limit the scope of the present invention, and therefore, all equivalent changes made by the contents of the claims of the present invention should be included in the claims of the present invention.

Claims (1)

1.一种养殖鱼塘用喂食船,其特征在于,包括有船体、饲料箱、固定座、第一固定板、支座、第一滑块、齿条、第二固定板、第一支架、扇形齿轮、第二支架、旋转电机、旋转盘、第三支架、气缸、第四支架、下料箱、升降杆、连接杆和挡块,船体顶部右侧设置有饲料箱,船体顶部左侧设置有固定座,固定座顶部设置有第一固定板,第一固定板顶部左侧设置有支座,支座前侧设置有第一滑块,第一滑块前侧设置有齿条,支座左侧中间设置有第二支架,第二支架上设置有旋转电机,旋转电机的输出轴上设置有旋转盘,支座右侧底部设置有第二固定板,第二固定板顶部左侧设置有第一支架,第一支架顶部铰接连接有扇形齿轮,扇形齿轮与齿条相互配合,第一固定板顶部设置有第三支架,第三支架顶部设置有气缸,气缸的左端和扇形齿轮的偏心位置铰接在一起,齿条顶端设置有升降杆,第三支架的顶端设置有第四支架,第四支架顶端和支座顶端设置有下料箱,下料箱左侧底部开有出料口,下料箱底部左侧开有第一小孔,升降杆顶端穿过第一小孔设置有连接杆,连接杆左端设置有挡块;还包括有第一安装板、第一顶块、滑轨、第二滑块、第二安装板、第一弹簧和第二顶块,第一安装板设置在升降杆右侧底部,第一安装板顶部右侧设置有第一顶块,滑轨设置在下料箱外底部中间,滑轨右侧设置有第二滑块,第二滑块右侧设置有第二安装板,第二安装板顶部中间设置有第二顶块,第二安装板顶部左右对称设置有第一弹簧;还包括有第三安装板、安装座、第一电机、小齿轮、轴承座、转轴、大齿轮和搅拌叶片,第三安装板设置在下料箱外右侧底部,第三安装板顶部设置有安装座,安装座上设置有第一电机,第一电机的输出轴上设置有小齿轮,下料箱右壁底部设置有轴承座,轴承座上设置有转轴,转轴右侧设置有大齿轮,大齿轮和小齿轮相互配合,转轴左侧设置有搅拌叶片;还包括有铰接部件、盖板和第二弹簧,盖板通过铰接部件铰接连接在下料箱左侧顶端,盖板底部左侧设置有第二弹簧,第二弹簧底端设置在下料箱内部左壁中间;还包括有挡板,挡板设置在盖板底部右侧,搅拌叶片上开有第二小孔。1. a feeding boat for cultivating fish ponds, is characterized in that, comprises a hull, a feed box, a fixed seat, the first fixed plate, a support, the first sliding block, a rack, the second fixed plate, the first bracket, Sector gear, second bracket, rotating motor, rotating disk, third bracket, cylinder, fourth bracket, feeding box, lifting rod, connecting rod and stopper, the right side of the hull top is provided with a feed box, and the left side of the hull top is provided There is a fixing seat, a first fixing plate is arranged on the top of the fixing seat, a support is arranged on the left side of the top of the first fixing plate, a first sliding block is arranged on the front side of the bearing, a rack is arranged on the front side of the first sliding block, and the bearing A second bracket is arranged in the middle of the left side, a rotating motor is arranged on the second bracket, a rotating disc is arranged on the output shaft of the rotating motor, a second fixing plate is arranged at the bottom of the right side of the bearing, and a second fixing plate is arranged on the left side of the top of the second fixing plate. The first bracket, the top of the first bracket is hingedly connected with a sector gear, the sector gear and the rack cooperate with each other, the top of the first fixing plate is provided with a third bracket, the top of the third bracket is provided with a cylinder, the left end of the cylinder and the eccentric position of the sector gear Hinged together, the top of the rack is provided with a lifting rod, the top of the third support is provided with a fourth support, the top of the fourth support and the top of the support are provided with a feeding box, and a discharge port is opened at the bottom of the left side of the feeding box, and the bottom of the bottom of the feeding box is opened. A first small hole is opened on the left side of the bottom of the material box, the top of the lifting rod is provided with a connecting rod through the first small hole, and the left end of the connecting rod is provided with a stopper; it also includes a first mounting plate, a first top block, a slide rail, The second sliding block, the second mounting plate, the first spring and the second top block. The first mounting plate is set at the bottom of the right side of the lift rod, the first top block is set on the right side of the top of the first mounting plate, and the slide rail is set at the bottom of the blanking rod. In the middle of the outer bottom of the box, a second slider is arranged on the right side of the slide rail, a second installation plate is arranged on the right side of the second slider, a second top block is arranged in the middle of the top of the second installation plate, and the top of the second installation plate is arranged symmetrically on the left and right sides There is a first spring; it also includes a third mounting plate, a mounting seat, a first motor, a pinion, a bearing seat, a rotating shaft, a large gear and a stirring blade. A mounting seat is arranged on the top of the plate, a first motor is arranged on the mounting seat, a pinion is arranged on the output shaft of the first motor, a bearing seat is arranged at the bottom of the right wall of the unloading box, a rotating shaft is arranged on the bearing seat, and the right side of the rotating shaft is arranged There is a large gear, the large gear and the pinion cooperate with each other, and a stirring blade is arranged on the left side of the rotating shaft; it also includes a hinge part, a cover plate and a second spring, the cover plate is hingedly connected to the top left side of the unloading box through the hinge part, and the bottom of the cover plate is hinged A second spring is arranged on the left side, and the bottom end of the second spring is arranged in the middle of the left wall inside the unloading box; it also includes a baffle plate, the baffle plate is arranged on the right side of the bottom of the cover plate, and a second small hole is opened on the stirring blade.
CN201810761077.9A 2018-07-12 2018-07-12 Breed pond and eat ship with feeding Expired - Fee Related CN109089984B (en)

Priority Applications (1)

Application Number Priority Date Filing Date Title
CN201810761077.9A CN109089984B (en) 2018-07-12 2018-07-12 Breed pond and eat ship with feeding

Applications Claiming Priority (1)

Application Number Priority Date Filing Date Title
CN201810761077.9A CN109089984B (en) 2018-07-12 2018-07-12 Breed pond and eat ship with feeding

Publications (2)

Publication Number Publication Date
CN109089984A CN109089984A (en) 2018-12-28
CN109089984B true CN109089984B (en) 2021-02-19

Family

ID=64846065

Family Applications (1)

Application Number Title Priority Date Filing Date
CN201810761077.9A Expired - Fee Related CN109089984B (en) 2018-07-12 2018-07-12 Breed pond and eat ship with feeding

Country Status (1)

Country Link
CN (1) CN109089984B (en)

Families Citing this family (6)

* Cited by examiner, † Cited by third party
Publication number Priority date Publication date Assignee Title
CN111955401B (en) * 2020-09-02 2022-01-04 莘县富民饲料有限公司 Aquaculture full-automatic feeding equipment
CN112042584A (en) * 2020-09-30 2020-12-08 厦门海洋职业技术学院 A feeding device for cold water fish breeding pond
CN112237167B (en) * 2020-11-10 2022-04-05 赵亚华 A kind of shrimp breeding pond for aquaculture and method for collecting and discharging shrimp shells
CN113907029A (en) * 2021-10-19 2022-01-11 淮北市三石磊牧业有限公司 A fermented pig manure feeding and feeding equipment for carp breeding and its working method
CN114600828B (en) * 2022-03-31 2023-05-05 九江星祥水产养殖有限公司 Water quality blending device for culter ilishaeformis cultivation
CN117546811A (en) * 2023-12-19 2024-02-13 武汉瑞纳捷半导体有限公司 An automatic feeding method and device for an unmanned shrimp feeding boat

Citations (8)

* Cited by examiner, † Cited by third party
Publication number Priority date Publication date Assignee Title
CN101536680A (en) * 2009-04-12 2009-09-23 金坛市希望科研仪器有限公司 Marine fishpond blowing-throwing type bait casting machine
CN204634744U (en) * 2015-05-12 2015-09-16 陈马骏 A kind of Long-distance Control pet grain delivery device
CN206324024U (en) * 2016-12-22 2017-07-14 广东上上生物科技有限公司 A kind of aquatic feeds feed device
CN106983232A (en) * 2017-05-11 2017-07-28 湖州娇斯登鞋业有限公司 A kind of quick punch device of shoemaking
CN107042438A (en) * 2017-06-06 2017-08-15 程新锋 A kind of quick deburring equipment of hardware parts
CN107096962A (en) * 2017-06-13 2017-08-29 李建云 A kind of quick intercept unit of hardware parts
CN107282169A (en) * 2017-06-27 2017-10-24 刘冰 A kind of road construction is with large-scale stone disintegrating apparatus
CN108243983A (en) * 2018-02-23 2018-07-06 郑文平 A kind of Novel pet device for feeding

Patent Citations (8)

* Cited by examiner, † Cited by third party
Publication number Priority date Publication date Assignee Title
CN101536680A (en) * 2009-04-12 2009-09-23 金坛市希望科研仪器有限公司 Marine fishpond blowing-throwing type bait casting machine
CN204634744U (en) * 2015-05-12 2015-09-16 陈马骏 A kind of Long-distance Control pet grain delivery device
CN206324024U (en) * 2016-12-22 2017-07-14 广东上上生物科技有限公司 A kind of aquatic feeds feed device
CN106983232A (en) * 2017-05-11 2017-07-28 湖州娇斯登鞋业有限公司 A kind of quick punch device of shoemaking
CN107042438A (en) * 2017-06-06 2017-08-15 程新锋 A kind of quick deburring equipment of hardware parts
CN107096962A (en) * 2017-06-13 2017-08-29 李建云 A kind of quick intercept unit of hardware parts
CN107282169A (en) * 2017-06-27 2017-10-24 刘冰 A kind of road construction is with large-scale stone disintegrating apparatus
CN108243983A (en) * 2018-02-23 2018-07-06 郑文平 A kind of Novel pet device for feeding

Also Published As

Publication number Publication date
CN109089984A (en) 2018-12-28

Similar Documents

Publication Publication Date Title
CN109089984B (en) Breed pond and eat ship with feeding
CN205611495U (en) Raise pigs and use pig feed mixing device
CN112471026A (en) Multifunctional mariculture net cage
CN111903588A (en) Aquaculture feeding method
CN112471035A (en) Feeding device for aquaculture
CN108323466B (en) Feed delivery device for aquaculture
CN210143586U (en) Shrimp breeding device that can throw material automatically
CN114097686A (en) Aquaculture eats device with feeding
CN215736438U (en) Shrimp is bred with distributed material device of throwing
CN114793986A (en) Crayfish is bred and throws feeding device with fodder
CN112715456B (en) Prawn feeding device based on centrifugal technology
CN207040504U (en) A kind of livestock-raising feed mixing device
CN212487999U (en) Automatic feeding device for aquaculture industry
CN221554395U (en) Automatic feed supply device for freshwater aquaculture
CN219939355U (en) Automatic stirring feeding device for culture pond
CN108142340B (en) Young fish formula feed ingestion domestication device
CN214677168U (en) Feeding device for goldfish culture
CN108849680B (en) Aquaculture eats equipment with feeding
CN2431718Y (en) Automatic feeding device for fish
CN222564760U (en) Feeder for aquaculture
CN223653017U (en) Breed fodder device of throwing something and feeding
CN114698581A (en) Feeding device for crayfish paddy field cultivation
CN108419734B (en) Rural fish grass feeding device for aquaculture
CN209806860U (en) Water temperature control circulating pool with oxygenation device
CN220799623U (en) Automatic feeding machine for aquaculture

Legal Events

Date Code Title Description
PB01 Publication
PB01 Publication
SE01 Entry into force of request for substantive examination
SE01 Entry into force of request for substantive examination
TA01 Transfer of patent application right

Effective date of registration: 20210120

Address after: 226600 No. 8, Xiao Xing Avenue, Chengdong Town, Haian County, Nantong, Jiangsu

Applicant after: NANTONG HAIXIN INFORMATION TECHNOLOGY Co.,Ltd.

Address before: 518101 room 317, building a, Tongfu building, Jingbei new village, Xixiang street, Bao'an District, Shenzhen City, Guangdong Province

Applicant before: Xie Zheng

TA01 Transfer of patent application right
GR01 Patent grant
GR01 Patent grant
CF01 Termination of patent right due to non-payment of annual fee

Granted publication date: 20210219

CF01 Termination of patent right due to non-payment of annual fee