CN109044704B - A kind of multifunctional nursing bed for obstetrics and gynecology - Google Patents
A kind of multifunctional nursing bed for obstetrics and gynecology Download PDFInfo
- Publication number
- CN109044704B CN109044704B CN201811027800.7A CN201811027800A CN109044704B CN 109044704 B CN109044704 B CN 109044704B CN 201811027800 A CN201811027800 A CN 201811027800A CN 109044704 B CN109044704 B CN 109044704B
- Authority
- CN
- China
- Prior art keywords
- fixed
- gear
- rotating shaft
- bed board
- connecting rod
- Prior art date
- Legal status (The legal status is an assumption and is not a legal conclusion. Google has not performed a legal analysis and makes no representation as to the accuracy of the status listed.)
- Expired - Fee Related
Links
Images
Classifications
-
- A—HUMAN NECESSITIES
- A61—MEDICAL OR VETERINARY SCIENCE; HYGIENE
- A61G—TRANSPORT, PERSONAL CONVEYANCES, OR ACCOMMODATION SPECIALLY ADAPTED FOR PATIENTS OR DISABLED PERSONS; OPERATING TABLES OR CHAIRS; CHAIRS FOR DENTISTRY; FUNERAL DEVICES
- A61G13/00—Operating tables; Auxiliary appliances therefor
- A61G13/0018—Physician's examining tables
-
- A—HUMAN NECESSITIES
- A61—MEDICAL OR VETERINARY SCIENCE; HYGIENE
- A61G—TRANSPORT, PERSONAL CONVEYANCES, OR ACCOMMODATION SPECIALLY ADAPTED FOR PATIENTS OR DISABLED PERSONS; OPERATING TABLES OR CHAIRS; CHAIRS FOR DENTISTRY; FUNERAL DEVICES
- A61G13/00—Operating tables; Auxiliary appliances therefor
- A61G13/02—Adjustable operating tables; Controls therefor
- A61G13/08—Adjustable operating tables; Controls therefor the table being divided into different adjustable sections
-
- A—HUMAN NECESSITIES
- A61—MEDICAL OR VETERINARY SCIENCE; HYGIENE
- A61G—TRANSPORT, PERSONAL CONVEYANCES, OR ACCOMMODATION SPECIALLY ADAPTED FOR PATIENTS OR DISABLED PERSONS; OPERATING TABLES OR CHAIRS; CHAIRS FOR DENTISTRY; FUNERAL DEVICES
- A61G13/00—Operating tables; Auxiliary appliances therefor
- A61G13/10—Parts, details or accessories
-
- A—HUMAN NECESSITIES
- A61—MEDICAL OR VETERINARY SCIENCE; HYGIENE
- A61G—TRANSPORT, PERSONAL CONVEYANCES, OR ACCOMMODATION SPECIALLY ADAPTED FOR PATIENTS OR DISABLED PERSONS; OPERATING TABLES OR CHAIRS; CHAIRS FOR DENTISTRY; FUNERAL DEVICES
- A61G13/00—Operating tables; Auxiliary appliances therefor
- A61G13/10—Parts, details or accessories
- A61G13/102—Fluid drainage means for collecting bodily fluids from the operating table, e.g. for blood, urine
Landscapes
- Health & Medical Sciences (AREA)
- Engineering & Computer Science (AREA)
- Biomedical Technology (AREA)
- Life Sciences & Earth Sciences (AREA)
- Animal Behavior & Ethology (AREA)
- General Health & Medical Sciences (AREA)
- Public Health (AREA)
- Veterinary Medicine (AREA)
- Invalid Beds And Related Equipment (AREA)
- Accommodation For Nursing Or Treatment Tables (AREA)
Abstract
本发明涉及医疗用具技术领域,尤其是一种妇产科用多功能护理床,包括活动床板、转换装置和腿部支撑装置,所述固定床板左端设置有第一开口槽,所述第一开口槽前后两端的固定床板上插接有第一连接柱,所述第一连接柱上套接有活动床板且活动床板右端与固定床板相适应。本发明结构设计合理,通过转换装置、辅助装置和腿部支撑装置的相互配合,实现了逆时针转动转轮时,推杆向右推动腿部支撑装置逆时针向上转动135度,第二支撑板由水平向左顺时针转动180度至水平向右,此时第一支撑板与第二支撑板互呈90度,同时左端拉动活动床板由竖直向上至水平向左,满足妇产科中常用的膀胱截石位,功能齐全且移动方便,具有良好的推广前景。
The invention relates to the technical field of medical appliances, in particular to a multifunctional nursing bed for obstetrics and gynecology, which comprises a movable bed board, a conversion device and a leg support device. The left end of the fixed bed board is provided with a first opening slot, the first opening is The fixed bed boards at the front and rear ends of the slot are inserted with first connecting columns, the first connecting columns are sleeved with a movable bed board and the right end of the movable bed board is adapted to the fixed bed board. The structure of the present invention is reasonable in design. Through the mutual cooperation of the conversion device, the auxiliary device and the leg support device, when the runner is rotated counterclockwise, the push rod pushes the leg support device to the right to rotate 135 degrees counterclockwise upward, and the second support plate Rotate 180 degrees clockwise from horizontal to left to horizontal to right. At this time, the first support plate and the second support plate are at 90 degrees to each other. At the same time, the left end pulls the movable bed plate from vertical upward to horizontal to left, which is commonly used in obstetrics and gynecology. The bladder lithotomy position is fully functional and easy to move, and has a good promotion prospect.
Description
技术领域technical field
本发明涉及医疗用具技术领域,尤其是一种妇产科用多功能护理床。The invention relates to the technical field of medical appliances, in particular to a multifunctional nursing bed for obstetrics and gynecology.
背景技术Background technique
妇科检查床用于给妇女患者检查身体用,检查过程中通常需要充分暴露术野,来便与医生检查,通常情况下需要用到膀胱截石位即两腿分开呈90度,两腿放置于托盘架上,膝关节弯曲90度,两腿外展呈90度,但通常医院的检查床都是裸床,病患在检查身体时,医疗工具都需要单独取放,导致检查时间的延长;另外现在的妇产科临床检查都会给行动不便的孕妇带来很大困扰,因此使用不方便,有待改善。The gynecological examination bed is used to examine the body of female patients. During the examination, it is usually necessary to fully expose the surgical field for examination with the doctor. Usually, the lithotomy position of the bladder is used, that is, the legs are separated at 90 degrees, and the legs are placed in the lithotomy position. On the tray frame, the knee joint is bent at 90 degrees, and the legs are abducted at 90 degrees. However, the examination beds in hospitals are usually bare beds. When the patient is examining the body, the medical tools need to be picked and placed separately, which will prolong the examination time; In addition, the current clinical examination of obstetrics and gynecology will bring great trouble to pregnant women with limited mobility, so it is inconvenient to use and needs to be improved.
公告号为CN106109157B的一种妇科诊疗辅助装置,对此作出了努力,在使用时先将座板降到最低位置,同时调节座板到合适角度,方便病人坐到座板上,通过诊疗时的需要可以通过靠背角度调节装置将靠背调到合适角度,通过座板下部的升降装置将座板调到适当高度,病人脚部可以放到脚部支架内,不但方便医务人员对妇科病人进行诊疗,而且让妇科病人在诊疗过程中更加舒适,在对妇科病人阴道进行清洗消毒时,冲洗出来的废液用收集桶进行收集。在妇科检查过程中多用于平卧位或者膀胱截石位等体位,平卧位一般病床既能实现,而膀胱截石位需要特定装置,上述装置不能满足需求且对于行动不便的患者来说,有待改善。Announcement No. CN106109157B is an auxiliary device for gynecological diagnosis and treatment, which has made great efforts to reduce the seat plate to the lowest position and adjust the seat plate to a suitable angle at the same time, so as to facilitate the patient to sit on the seat plate and pass the diagnosis and treatment. It is necessary to adjust the backrest to an appropriate angle through the backrest angle adjustment device, and to adjust the seat plate to an appropriate height through the lifting device at the lower part of the seat plate. Moreover, it makes gynecological patients more comfortable in the process of diagnosis and treatment. When the vagina of gynecological patients is cleaned and disinfected, the waste liquid washed out is collected in a collection bucket. In the process of gynecological examination, it is mostly used in the supine position or the bladder lithotomy position. The supine position can be achieved by general hospital beds, but the bladder lithotomy position requires specific devices. The above devices cannot meet the needs and are difficult for patients with mobility. needs to be improved.
发明内容SUMMARY OF THE INVENTION
本发明的目的是为了克服上述技术缺点提供一种妇产科用多功能护理床,本发明结构设计合理,通过转换装置、辅助装置和腿部支撑装置的相互配合,实现了逆时针转动转轮时,推杆向右推动腿部支撑装置逆时针向上转动135度,第二支撑板由水平向左顺时针转动180度至水平向右,此时第一支撑板与第二支撑板互呈90度,同时左端拉动活动床板由竖直向上至水平向左,满足妇产科中常用的膀胱截石位,功能齐全且移动方便。The purpose of the present invention is to provide a multifunctional nursing bed for obstetrics and gynecology in order to overcome the above-mentioned technical shortcomings. When the push rod pushes the leg support device to the right to rotate 135 degrees counterclockwise, the second support plate rotates 180 degrees clockwise from the horizontal to the left to the horizontal to the right. At this time, the first support plate and the second support plate are 90 degrees away At the same time, the left end pulls the movable bed board from vertical upward to horizontal to left, which meets the bladder lithotomy position commonly used in obstetrics and gynecology, with complete functions and convenient movement.
本发明解决技术问题采用的技术方案为:一种妇产科用多功能护理床,包括活动床板、固定床板、辅助装置、固定箱、转换装置和腿部支撑装置,所述固定床板左端设置有第一开口槽,所述第一开口槽前后两端的固定床板上插接有第一连接柱,所述第一连接柱上套接有活动床板且活动床板右端与固定床板相适应,所述固定床板右端中间设置有第三开口槽,所述第三开口槽呈半圆状且前后两侧分别设置有第二开口槽且第二开口槽内插接有第二连接柱,所述固定床板下端中间固接有固定箱,所述固定箱上端开口,底部中间横向设置有第四滑槽,所述固定箱前后两端中间从上到下分别设置有第二通孔和第二通槽且左右两端中间从上到下分别设置有第三通槽和第一通孔,所述第一通孔内插接有转换装置,所述转换装置由第一转轴、第二滑块、第三滑槽、齿条、第二转轴、第二齿轮、推杆、U型架、第四开口槽、第三连杆、第四连杆和转轮组成,所述第四滑槽内卡接有第二滑块且第二滑块中间设置有第三滑槽,所述第三滑槽由上下两个水平通槽和中间一个斜槽相连而成且两两互成135度,所述第三滑槽内插接有第一转轴且第一转轴的前后两端均穿出第二通槽与车轮固接,所述第二通孔内插接有第二转轴,所述第二转轴的中间固接有第二齿轮,通过转动转轮来带动车轮的上升和下降,所述第二齿轮与固接在第二滑块上端的齿条相啮合,所述第二滑块左右两端中间均固接有推杆,所述推杆的另一端均穿出第一通孔与U型架下端固接且U型架的上端均设置有两个第四开口槽,所述左侧第四开口槽内均铰接有第三连杆且第三连杆的另一端铰接在活动床板下端,所述右侧第四开口槽内均铰接有第四连杆且第四连杆的另一端铰接在腿部支撑装置左上端,所述腿部支撑装置由第一支撑板、第三转轴、第三齿轮、第四齿轮、第四转轴、第二支撑板、绑带和卡环组成,所述第二开口槽内的第二连接柱上均固接有第一支撑板,所述第一支撑板内部中空,中下端插接有第三转轴,所述第二连接柱与第三转轴中间套接有皮带且皮带前后两端的第三转轴上均固接有第三齿轮,所述第三转轴下端设置有第四转轴,所述第四转轴一端固接有第四齿轮与第三齿轮相啮合,另一端穿出第一支撑板与第二支撑板固接,所述第一连接板前端面的中间固接有绑带,后端面的中间固接有卡环,方便腿部的固定,所述固定床板前后两端均设置有纵向的第一通槽,所述第一通槽的中下端设置有第一滑槽且第一滑槽的右上端固接有第三连接柱,所述第三连接柱上铰接有辅助装置,所述辅助装置由第一连杆、第二连杆、支撑垫、第二滑槽、第一滑杆、铰接座、第一滑块和第一齿轮组成,所述第一滑块上部卡接在第一滑槽内且第一滑块右上端固接有铰接座,所述铰接座的中心与第三连接柱位于同一水平面上,所述铰接座后端铰接有第二连杆且第二连杆的另一端铰接在支撑垫右下端,所述支撑垫下端中间向左设置有第二滑槽且第二滑槽内卡接有第一滑杆,所述第三连接柱上套接有第一连杆且第一连杆的另一端套接在第一滑杆上,所述第一滑块下端固接有齿条且伸出第一通槽与固接在第二转轴上的第一齿轮啮合,所述第一齿轮设置有两个且分别位于第二齿轮前后两侧,所述第三通槽左下端固接有挡板,所述挡板位于第二齿轮右端且底部高于第二滑块,所述第三通槽内内部插接有废液盒,所述废液盒拉出后正对第三开口槽。The technical scheme adopted by the present invention to solve the technical problem is as follows: a multifunctional nursing bed for obstetrics and gynecology, comprising a movable bed board, a fixed bed board, an auxiliary device, a fixed box, a conversion device and a leg support device, and the left end of the fixed bed board is provided with a A first opening slot, a first connecting column is inserted into the fixed bed at the front and rear ends of the first opening slot, a movable bed is sleeved on the first connecting column, and the right end of the movable bed is adapted to the fixed bed. A third opening slot is arranged in the middle of the right end of the bed plate, the third opening slot is semi-circular and a second opening slot is respectively provided on the front and rear sides, and a second connecting column is inserted into the second opening slot, and the middle of the lower end of the fixed bed plate is in the middle. A fixed box is fixedly connected, the upper end of the fixed box is open, the middle of the bottom is horizontally provided with a fourth chute, and the middle of the front and rear ends of the fixed box is respectively provided with a second through hole and a second through groove from top to bottom, and the left and right two A third through slot and a first through hole are respectively set in the middle of the end from top to bottom, and a conversion device is inserted into the first through hole, and the conversion device is composed of a first rotating shaft, a second sliding block, and a third sliding groove. , a rack, a second rotating shaft, a second gear, a push rod, a U-shaped frame, a fourth opening slot, a third connecting rod, a fourth connecting rod and a runner, and the fourth chute is clamped with a second There is a third chute in the middle of the slider and the second slider. The third chute is formed by connecting the upper and lower horizontal through grooves and a chute in the middle, and the two are at 135 degrees to each other. A first rotating shaft is inserted inside, and the front and rear ends of the first rotating shaft pass through a second through slot to be fixedly connected to the wheel, a second rotating shaft is inserted into the second through hole, and the middle of the second rotating shaft is fixedly connected There is a second gear, which drives the wheel to rise and fall by rotating the runner. The second gear meshes with the rack fixed on the upper end of the second slider, and the middle of the left and right ends of the second slider is fixed. There is a push rod, and the other end of the push rod passes through a first through hole and is fixedly connected to the lower end of the U-shaped frame, and the upper end of the U-shaped frame is provided with two fourth opening slots, and the fourth opening slot on the left side is inside A third link is hinged and the other end of the third link is hinged to the lower end of the movable bed board, and a fourth link is hinged in the fourth opening slot on the right side, and the other end of the fourth link is hinged to the leg support At the upper left end of the device, the leg support device is composed of a first support plate, a third shaft, a third gear, a fourth gear, a fourth shaft, a second support plate, a strap and a snap ring. The second open slot A first support plate is fixed on the second connecting column inside, the first support plate is hollow inside, a third rotating shaft is inserted at the middle and lower ends, and a belt is sleeved between the second connecting column and the third rotating shaft. The third rotating shaft at the front and rear ends of the belt is fixedly connected with a third gear, the lower end of the third rotating shaft is provided with a fourth rotating shaft, and one end of the fourth rotating shaft is fixedly connected with a fourth gear that meshes with the third gear, and the other end passes through the third gear. The first support plate is fixedly connected with the second support plate. The middle of the front end surface of the first connecting plate is fixed with a strap, and the middle of the rear end surface is fixed with a snap ring, which is convenient for the fixing of the legs. Both ends are provided with longitudinal first through grooves, the middle and lower ends of the first through grooves are provided with a first chute, and the upper right end of the first chute is fixed with a third connecting column, which is on the third connecting column. An auxiliary device is hinged, the auxiliary device The device is composed of a first connecting rod, a second connecting rod, a support pad, a second chute, a first sliding rod, a hinge seat, a first sliding block and a first gear, and the upper part of the first sliding block is clamped on the first A hinge seat is fixed in the chute and at the upper right end of the first sliding block, the center of the hinge seat and the third connecting column are on the same horizontal plane, the rear end of the hinge seat is hinged with a second connecting rod, and the second connecting rod is hinged. The other end is hinged to the lower right end of the support pad, the middle of the lower end of the support pad is provided with a second chute to the left, a first sliding rod is clamped in the second chute, and a first connecting rod is sleeved on the third connecting column. The other end of the first connecting rod is sleeved on the first sliding rod, the lower end of the first sliding block is fixed with a rack and extends out of the first through slot to engage with the first gear fixed on the second rotating shaft , the first gear is provided with two and located on the front and rear sides of the second gear respectively, the lower left end of the third through slot is fixed with a baffle plate, the baffle plate is located at the right end of the second gear and the bottom is higher than the second sliding plate A waste liquid box is inserted into the third through groove, and the waste liquid box faces the third opening groove after being pulled out.
进一步的,所述第二滑槽的最低点和最高点分别与第二通槽的最低点和最高点平齐,且当第一转轴位于第二通槽最高点时,车轮底部脱离地面且高于固定箱底部,实现了对车轮上下移动距离的限定。Further, the lowest point and the highest point of the second chute are flush with the lowest point and the highest point of the second through groove respectively, and when the first shaft is located at the highest point of the second through groove, the bottom of the wheel is off the ground and is high. At the bottom of the fixed box, the limitation of the up and down movement distance of the wheel is realized.
进一步的,所述第四连杆长度为第三连杆的2/3且第三齿轮与第四齿轮的传动比为4:3,实现了当逆时针转动转轮时,推杆向右推动腿部支撑装置中的第一支撑板向上逆时针转动135度,第二支撑板由水平向左顺时针转动180度至水平向右,此时第一支撑板与第二支撑板互呈90度,同时左端拉动活动床板由竖直向上至水平向左,形成膀胱截石位。Further, the length of the fourth connecting rod is 2/3 of the third connecting rod and the transmission ratio of the third gear and the fourth gear is 4:3, so that when the wheel is rotated counterclockwise, the push rod pushes to the right. The first support plate in the leg support device is rotated 135 degrees counterclockwise, and the second support plate is rotated 180 degrees clockwise from horizontal to left to horizontal to right. At this time, the first support plate and the second support plate are at 90 degrees to each other. , and at the same time, the left end pulls the movable bed board from vertical upward to horizontal to left to form the bladder lithotomy position.
进一步的,所述第二转轴前端伸出第二通孔与转轮固接,方便转动操作。Further, the front end of the second rotating shaft protrudes out of the second through hole and is fixedly connected to the rotating wheel, so as to facilitate the rotating operation.
进一步的,所述第三开口槽槽口与两个第二开口槽中心呈90度角,满足膀胱截石位中两腿分开呈90度的要求。Further, the notch of the third opening slot and the center of the two second opening slots form an angle of 90 degrees, which meets the requirement that the legs are separated by 90 degrees in the bladder lithotomy position.
本发明所具有的有益效果是:本发明结构设计合理,通过转换装置、辅助装置和腿部支撑装置的相互配合,实现了逆时针转动转轮时,推杆向右推动腿部支撑装置逆时针向上转动135度,第二支撑板由水平向左顺时针转动180度至水平向右,此时第一支撑板与第二支撑板互呈90度,同时左端拉动活动床板由竖直向上至水平向左,满足妇产科中常用的膀胱截石位,功能齐全且移动方便,具有良好的推广前景。The beneficial effects of the present invention are: the structure of the present invention is reasonably designed, and through the mutual cooperation of the conversion device, the auxiliary device and the leg support device, when the runner is rotated counterclockwise, the push rod pushes the leg support device to the right counterclockwise. Rotate up 135 degrees, the second support plate rotates 180 degrees clockwise from the horizontal to the left to the horizontal to the right, at this time the first support plate and the second support plate are at 90 degrees to each other, and the left end pulls the movable bed plate from vertical to horizontal. To the left, it satisfies the bladder lithotomy position commonly used in obstetrics and gynecology, has complete functions and is easy to move, and has a good promotion prospect.
附图说明Description of drawings
附图1为本发明的伸展结构示意图。Figure 1 is a schematic diagram of the stretching structure of the present invention.
附图2为本发明的收缩的结构示意图。Figure 2 is a schematic structural diagram of the shrinkage of the present invention.
附图3为本发明转换装置的结构示意图。FIG. 3 is a schematic structural diagram of the conversion device of the present invention.
附图4为本发明固定箱的内部结构示意图。4 is a schematic diagram of the internal structure of the fixed box of the present invention.
附图5为本发明固定箱的结构示意图。FIG. 5 is a schematic structural diagram of the fixing box of the present invention.
附图6为本发明固定床板的结构示意图。FIG. 6 is a schematic structural diagram of the fixed bed board of the present invention.
附图7为本发明辅助装置的后视图。Figure 7 is a rear view of the auxiliary device of the present invention.
附图8为本发明腿部支撑装置的结构示意图。FIG. 8 is a schematic structural diagram of the leg support device of the present invention.
具体实施方式Detailed ways
下面结合附图1~8对本发明做以下详细说明。The present invention will be described in detail below in conjunction with accompanying drawings 1-8.
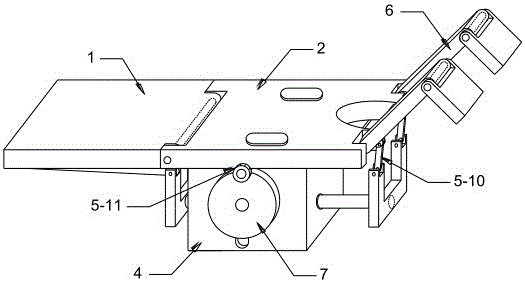
如图1~8所示,本发明包括活动床板1、固定床板2、辅助装置、固定箱4、转换装置和腿部支撑装置,所述固定床板2左端设置有第一开口槽2-1,所述第一开口槽2-1前后两端的固定床板2上插接有第一连接柱2-2,所述第一连接柱2-2上套接有活动床板1且活动床板1右端与固定床板2相适应,所述固定床板2右端中间设置有第三开口槽2-4,所述第三开口槽2-4呈半圆状且前后两侧分别设置有第二开口槽2-3且第二开口槽2-3内插接有第二连接柱2-5,所述固定床板2下端中间固接有固定箱4,所述固定箱4上端开口,底部中间横向设置有第四滑槽4-5,所述固定箱4前后两端中间从上到下分别设置有第二通孔4-3和第二通槽4-1且左右两端中间从上到下分别设置有第三通槽4-4和第一通孔4-2,所述第一通孔4-2内插接有转换装置,所述转换装置由第一转轴5、第二滑块5-1、第三滑槽5-2、齿条5-3、第二转轴5-4、第二齿轮5-5、推杆5-6、U型架5-7、第四开口槽5-8、第三连杆5-9、第四连杆5-10和转轮5-11组成,所述第四滑槽4-5内卡接有第二滑块5-1且第二滑块5-1中间设置有第三滑槽5-2,所述第三滑槽5-2由上下两个水平通槽和中间一个斜槽相连而成且两两互成135度,所述第三滑槽5-2内插接有第一转轴5且第一转轴5的前后两端均穿出第二通槽4-1与车轮8固接,所述第二通孔4-3内插接有第二转轴5-4,所述第二转轴5-4的中间固接有第二齿轮5-5,通过转动转轮5-11来带动车轮8的上升和下降,所述第二齿轮5-5与固接在第二滑块5-1上端的齿条5-3相啮合,所述第二滑块5-1左右两端中间均固接有推杆5-6,所述推杆5-6的另一端均穿出第一通孔4-2与U型架5-7下端固接且U型架5-7的上端均设置有两个第四开口槽5-8,所述左侧第四开口槽5-8内均铰接有第三连杆5-9且第三连杆5-9的另一端铰接在活动床板1下端,所述右侧第四开口槽5-8内均铰接有第四连杆5-10且第四连杆5-10的另一端铰接在腿部支撑装置左上端,所述腿部支撑装置由第一支撑板6、第三转轴6-1、皮带6-2、第三齿轮6-3、第四齿轮6-4、第四转轴6-5、第二支撑板6-6、绑带6-7和卡环6-8组成,所述第二开口槽2-3内的第二连接柱2-5上均固接有第一支撑板6,所述第一支撑板6内部中空,中下端插接有第三转轴6-1,所述第二连接柱2-5与第三转轴6-1中间套接有皮带6-2且皮带6-2前后两端的第三转轴6-1上均固接有第三齿轮6-3,所述第三转轴6-1下端设置有第四转轴6-5,所述第四转轴6-5一端固接有第四齿轮6-4与第三齿轮6-3相啮合,另一端穿出第一支撑板6与第二支撑板6-6固接,所述第一连接板前端面的中间固接有绑带6-7,后端面的中间固接有卡环6-8,方便腿部的固定,所述固定床板2前后两端均设置有纵向的第一通槽2-6,所述第一通槽2-6的中下端设置有第一滑槽2-7且第一滑槽2-7的右上端固接有第三连接柱2-8,所述第三连接柱2-8上铰接有辅助装置,所述辅助装置由第一连杆3、第二连杆3-1、支撑垫3-2、第二滑槽3-3、第一滑杆3-4、铰接座3-5、第一滑块3-6和第一齿轮3-7组成,所述第一滑块3-6上部卡接在第一滑槽2-7内且第一滑块3-6右上端固接有铰接座3-5,所述铰接座3-5的中心与第三连接柱2-8位于同一水平面上,所述铰接座3-5后端铰接有第二连杆3-1且第二连杆3-1的另一端铰接在支撑垫3-2右下端,所述支撑垫3-2下端中间向左设置有第二滑槽3-3且第二滑槽3-3内卡接有第一滑杆3-4,所述第三连接柱2-8上套接有第一连杆3且第一连杆3的另一端套接在第一滑杆3-4上,所述第一滑块3-6下端固接有齿条5-3且伸出第一通槽2-6与固接在第二转轴5-4上的第一齿轮3-7啮合,所述第一齿轮3-7设置有两个且分别位于第二齿轮5-5前后两侧,所述第三通槽4-4左下端固接有挡板7,所述挡板7位于第二齿轮5-5右端且底部高于第二滑块5-1顶部,所述第三通槽4-4内内部插接有废液盒7-1,所述废液盒7-1拉出后正对第三开口槽2-4,方便收集废液。As shown in Figures 1 to 8, the present invention includes a
本实施例中,所述第二滑槽3-3的最低点和最高点分别与第二通槽4-1的最低点和最高点平齐,且当第一转轴5位于第二通槽4-1最高点时,车轮8底部脱离地面且高于固定箱4底部,实现了对车轮8上下移动距离的限定。In this embodiment, the lowest point and the highest point of the second chute 3-3 are flush with the lowest point and the highest point of the second through groove 4-1, and when the
本实施例中,所述第四连杆5-10长度为第三连杆5-9的2/3且第三齿轮6-3与第四齿轮6-4的传动比为4:3,实现了当逆时针转动转轮5-11时,推杆5-6向右推动腿部支撑装置中的第一支撑板6向上逆时针转动135度,第二支撑板6-6由水平向左顺时针转动180度至水平向右,此时第一支撑板6与第二支撑板6-6互呈90度,同时左端拉动活动床板1由竖直向上至水平向左,形成膀胱截石位。In this embodiment, the length of the fourth connecting rod 5-10 is 2/3 of that of the third connecting rod 5-9, and the transmission ratio of the third gear 6-3 and the fourth gear 6-4 is 4:3, so as to realize When the wheel 5-11 is turned counterclockwise, the push rod 5-6 pushes the
本实施例中,所述第二转轴5-4前端伸出第二通孔4-3与转轮5-11固接,方便转动操作。In this embodiment, the front end of the second rotating shaft 5-4 protrudes out of the second through hole 4-3 and is fixedly connected to the rotating wheel 5-11, which is convenient for rotating operation.
本实施例中,所述第三开口槽2-4槽口与两个第二开口槽2-3中心呈90度角,满足膀胱截石位中两腿分开呈90度的要求。In this embodiment, the notch of the third open groove 2-4 and the center of the two second open grooves 2-3 form an angle of 90 degrees, which meets the requirement that the legs are separated by 90 degrees in the bladder lithotomy position.
使用时,当顺时针转动转轮5-11时,推杆5-6向左运动推动活动床板1由水平顺时针转动90度竖直向上,同时拉动腿部辅助装置中的第一支撑板6顺时针转动135度竖直向下,第二支撑板6-6逆时针转动180度水平向右,第一滑块3-6水平向右带动支撑垫3-2向上运动形成轮椅,当逆时针转动转轮5-11时,推杆5-6向右推动腿部支撑装置逆时针向上转动活135度,第二支撑板6-6由水平向左顺时针转动180度至水平向右,此时第一支撑板6与第二支撑板6-6互呈90度,同时左端拉动活动床板1由竖直向上至水平向左,满足妇产科中常用的膀胱截石位。When in use, when the runner 5-11 is turned clockwise, the push rod 5-6 moves to the left to push the
Claims (5)
Priority Applications (3)
| Application Number | Priority Date | Filing Date | Title |
|---|---|---|---|
| CN201811027800.7A CN109044704B (en) | 2018-09-04 | 2018-09-04 | A kind of multifunctional nursing bed for obstetrics and gynecology |
| CN202011207500.4A CN112315724A (en) | 2018-09-04 | 2018-09-04 | Nursing bed with adjustable linkage structure's gesture |
| CN202011207521.6A CN112315725A (en) | 2018-09-04 | 2018-09-04 | Nursing bed posture adjusting device |
Applications Claiming Priority (1)
| Application Number | Priority Date | Filing Date | Title |
|---|---|---|---|
| CN201811027800.7A CN109044704B (en) | 2018-09-04 | 2018-09-04 | A kind of multifunctional nursing bed for obstetrics and gynecology |
Related Child Applications (2)
| Application Number | Title | Priority Date | Filing Date |
|---|---|---|---|
| CN202011207500.4A Division CN112315724A (en) | 2018-09-04 | 2018-09-04 | Nursing bed with adjustable linkage structure's gesture |
| CN202011207521.6A Division CN112315725A (en) | 2018-09-04 | 2018-09-04 | Nursing bed posture adjusting device |
Publications (2)
| Publication Number | Publication Date |
|---|---|
| CN109044704A CN109044704A (en) | 2018-12-21 |
| CN109044704B true CN109044704B (en) | 2020-12-22 |
Family
ID=64759701
Family Applications (3)
| Application Number | Title | Priority Date | Filing Date |
|---|---|---|---|
| CN202011207521.6A Withdrawn CN112315725A (en) | 2018-09-04 | 2018-09-04 | Nursing bed posture adjusting device |
| CN201811027800.7A Expired - Fee Related CN109044704B (en) | 2018-09-04 | 2018-09-04 | A kind of multifunctional nursing bed for obstetrics and gynecology |
| CN202011207500.4A Withdrawn CN112315724A (en) | 2018-09-04 | 2018-09-04 | Nursing bed with adjustable linkage structure's gesture |
Family Applications Before (1)
| Application Number | Title | Priority Date | Filing Date |
|---|---|---|---|
| CN202011207521.6A Withdrawn CN112315725A (en) | 2018-09-04 | 2018-09-04 | Nursing bed posture adjusting device |
Family Applications After (1)
| Application Number | Title | Priority Date | Filing Date |
|---|---|---|---|
| CN202011207500.4A Withdrawn CN112315724A (en) | 2018-09-04 | 2018-09-04 | Nursing bed with adjustable linkage structure's gesture |
Country Status (1)
| Country | Link |
|---|---|
| CN (3) | CN112315725A (en) |
Families Citing this family (12)
| Publication number | Priority date | Publication date | Assignee | Title |
|---|---|---|---|---|
| CN109512627B (en) * | 2019-01-22 | 2021-02-02 | 葛茂华 | Gynecological disease diagnosis and treatment device |
| CN109745200B (en) * | 2019-02-18 | 2020-12-22 | 曹静玲 | Novel gynecological examination bed convenient for patient to go up and down and doctor's examination |
| CN109907923A (en) * | 2019-04-09 | 2019-06-21 | 张菁 | A kind of gynecologial examination is with multi-purpose bed |
| CN110522594A (en) * | 2019-05-29 | 2019-12-03 | 孔祥芹 | A kind of gynaecology's Multifunctional back-rest chair |
| CN110151473A (en) * | 2019-06-24 | 2019-08-23 | 舒新军 | A kind of department of general surgery's trauma operation medical device |
| CN110934713B (en) * | 2019-12-31 | 2020-11-13 | 中国人民解放军总医院 | An oral examination device |
| CN112426288B (en) * | 2020-12-31 | 2022-06-14 | 黑龙江省医院 | A multifunctional nursing support device |
| CN112869770B (en) * | 2021-02-22 | 2022-11-01 | 青岛市妇女儿童医院 | An adjustable auxiliary device for ultrasound diagnosis in obstetrics and gynecology |
| CN114028131B (en) * | 2021-10-26 | 2024-05-24 | 南京喵渔安信息技术有限公司 | Gynaecology and obstetrics is with outdoor delivery bed of quick expansion formula |
| CN114028107B (en) * | 2021-12-22 | 2022-12-09 | 青岛市妇女儿童医院 | Auxiliary limb supporting device for obstetrics and gynecology department |
| CN114344043A (en) * | 2022-01-12 | 2022-04-15 | 青岛大学附属医院 | An external reproductive examination instrument |
| CN119353564B (en) * | 2024-12-24 | 2025-07-18 | 西昌学院 | Novel height increasing frame for computer |
Citations (4)
| Publication number | Priority date | Publication date | Assignee | Title |
|---|---|---|---|---|
| RU2053749C1 (en) * | 1993-08-11 | 1996-02-10 | Баклашкин Эрнст Александрович | Obstetrical chair |
| CN206499616U (en) * | 2016-11-21 | 2017-09-19 | 苏州大学 | Sitting type obstetric table |
| CN107485493A (en) * | 2017-09-12 | 2017-12-19 | 王国锋 | A kind of Multifunctional nerve surgical bed of convenient operation |
| CN206950329U (en) * | 2017-02-15 | 2018-02-02 | 郭进贤 | A kind of orthopaedics therapy chair |
Family Cites Families (1)
| Publication number | Priority date | Publication date | Assignee | Title |
|---|---|---|---|---|
| US8464720B1 (en) * | 2012-01-10 | 2013-06-18 | Alessio Pigazzi | Method of securing a patient onto an operating table when the patient is in the trendelenburg position and apparatus therefor including a kit |
-
2018
- 2018-09-04 CN CN202011207521.6A patent/CN112315725A/en not_active Withdrawn
- 2018-09-04 CN CN201811027800.7A patent/CN109044704B/en not_active Expired - Fee Related
- 2018-09-04 CN CN202011207500.4A patent/CN112315724A/en not_active Withdrawn
Patent Citations (4)
| Publication number | Priority date | Publication date | Assignee | Title |
|---|---|---|---|---|
| RU2053749C1 (en) * | 1993-08-11 | 1996-02-10 | Баклашкин Эрнст Александрович | Obstetrical chair |
| CN206499616U (en) * | 2016-11-21 | 2017-09-19 | 苏州大学 | Sitting type obstetric table |
| CN206950329U (en) * | 2017-02-15 | 2018-02-02 | 郭进贤 | A kind of orthopaedics therapy chair |
| CN107485493A (en) * | 2017-09-12 | 2017-12-19 | 王国锋 | A kind of Multifunctional nerve surgical bed of convenient operation |
Also Published As
| Publication number | Publication date |
|---|---|
| CN112315725A (en) | 2021-02-05 |
| CN112315724A (en) | 2021-02-05 |
| CN109044704A (en) | 2018-12-21 |
Similar Documents
| Publication | Publication Date | Title |
|---|---|---|
| CN109044704B (en) | A kind of multifunctional nursing bed for obstetrics and gynecology | |
| CN108158772A (en) | A kind of gynemetrics's examination bed | |
| CN209770795U (en) | Device for gynecological examination | |
| CN202179649U (en) | Sickbed with built-in urine collecting device | |
| CN216676308U (en) | An adjustable midwifery device for obstetrics and gynecology medical use | |
| CN210096144U (en) | Uropoiesis surgery is with nursing bed | |
| CN213964211U (en) | Novel gynaecology uses arm-chair structure | |
| CN209107944U (en) | A medical examination bed for obstetrics and gynecology | |
| CN209695661U (en) | Dressing change support for rehabilitation nursing | |
| CN211512889U (en) | Gynaecology's nursing is with portable washing car | |
| CN211884375U (en) | A toilet assembly suitable for a hospital bed | |
| CN222238051U (en) | Special nursing bed of gynaecology | |
| CN221450995U (en) | Sick bed nursing frame for health examination | |
| CN215938134U (en) | Gynaecology and obstetrics's obstetrical examination support equipment | |
| CN219743162U (en) | A kind of monitoring treatment bed | |
| CN212699548U (en) | Obstetrical surgery equipment | |
| CN208464545U (en) | A kind of infant's bowel lavage bed | |
| CN221229582U (en) | Hip protection pad convenient to adjust | |
| CN219595427U (en) | Vulva disinfection device | |
| CN222172579U (en) | Gynecological vagina ultrasonic examination bed | |
| CN217472310U (en) | Childbirth auxiliary device of clinical usefulness of gynaecology and obstetrics | |
| CN221638200U (en) | Commodity shelf for medical science | |
| CN221206017U (en) | A clinical medical gynecological reproductive rehabilitation nursing device | |
| CN220877115U (en) | Combined sickbed convenient to move | |
| CN221130313U (en) | Delivery assisting device |
Legal Events
| Date | Code | Title | Description |
|---|---|---|---|
| PB01 | Publication | ||
| PB01 | Publication | ||
| SE01 | Entry into force of request for substantive examination | ||
| SE01 | Entry into force of request for substantive examination | ||
| CB03 | Change of inventor or designer information | ||
| CB03 | Change of inventor or designer information |
Inventor after: Li Yanqin Inventor after: Ma Sufang Inventor after: Xi Rongrong Inventor before: Ma Sufang Inventor before: Xi Rongrong |
|
| TA01 | Transfer of patent application right | ||
| TA01 | Transfer of patent application right |
Effective date of registration: 20201202 Address after: 272200 Jinxiang County People's Hospital, 43 Jin Lu, Jinxiang County, Shandong, Jining Applicant after: Li Yanqin Address before: 266300 Jiaozhou people's Hospital, 88 North Guangzhou Road, Qingdao, Shandong, Jiaozhou Applicant before: Ma Sufang |
|
| GR01 | Patent grant | ||
| GR01 | Patent grant | ||
| CF01 | Termination of patent right due to non-payment of annual fee |
Granted publication date: 20201222 |
