CN109009913B - Postpartum shank massage device for pregnant woman in obstetrics and gynecology department - Google Patents
Postpartum shank massage device for pregnant woman in obstetrics and gynecology department Download PDFInfo
- Publication number
- CN109009913B CN109009913B CN201810644200.9A CN201810644200A CN109009913B CN 109009913 B CN109009913 B CN 109009913B CN 201810644200 A CN201810644200 A CN 201810644200A CN 109009913 B CN109009913 B CN 109009913B
- Authority
- CN
- China
- Prior art keywords
- plate
- rod
- spring
- massage
- pregnant woman
- Prior art date
- Legal status (The legal status is an assumption and is not a legal conclusion. Google has not performed a legal analysis and makes no representation as to the accuracy of the status listed.)
- Expired - Fee Related
Links
- 244000309466 calf Species 0.000 claims abstract 10
- 238000009434 installation Methods 0.000 claims description 2
- 230000017531 blood circulation Effects 0.000 abstract description 3
- 210000002414 leg Anatomy 0.000 description 36
- 210000001699 lower leg Anatomy 0.000 description 30
- 230000009471 action Effects 0.000 description 5
- 238000011144 upstream manufacturing Methods 0.000 description 5
- 230000000694 effects Effects 0.000 description 4
- 244000309464 bull Species 0.000 description 3
- 230000006872 improvement Effects 0.000 description 3
- 230000008439 repair process Effects 0.000 description 2
- 239000011435 rock Substances 0.000 description 2
- 230000008719 thickening Effects 0.000 description 2
- 208000027418 Wounds and injury Diseases 0.000 description 1
- 230000002146 bilateral effect Effects 0.000 description 1
- 230000006835 compression Effects 0.000 description 1
- 238000007906 compression Methods 0.000 description 1
- 230000006378 damage Effects 0.000 description 1
- 230000007547 defect Effects 0.000 description 1
- 230000036541 health Effects 0.000 description 1
- 208000014674 injury Diseases 0.000 description 1
- 230000000284 resting effect Effects 0.000 description 1
Images
Classifications
-
- A—HUMAN NECESSITIES
- A61—MEDICAL OR VETERINARY SCIENCE; HYGIENE
- A61H—PHYSICAL THERAPY APPARATUS, e.g. DEVICES FOR LOCATING OR STIMULATING REFLEX POINTS IN THE BODY; ARTIFICIAL RESPIRATION; MASSAGE; BATHING DEVICES FOR SPECIAL THERAPEUTIC OR HYGIENIC PURPOSES OR SPECIFIC PARTS OF THE BODY
- A61H7/00—Devices for suction-kneading massage; Devices for massaging the skin by rubbing or brushing not otherwise provided for
-
- A—HUMAN NECESSITIES
- A61—MEDICAL OR VETERINARY SCIENCE; HYGIENE
- A61H—PHYSICAL THERAPY APPARATUS, e.g. DEVICES FOR LOCATING OR STIMULATING REFLEX POINTS IN THE BODY; ARTIFICIAL RESPIRATION; MASSAGE; BATHING DEVICES FOR SPECIAL THERAPEUTIC OR HYGIENIC PURPOSES OR SPECIFIC PARTS OF THE BODY
- A61H1/00—Apparatus for passive exercising; Vibrating apparatus; Chiropractic devices, e.g. body impacting devices, external devices for briefly extending or aligning unbroken bones
- A61H1/02—Stretching or bending or torsioning apparatus for exercising
- A61H1/0237—Stretching or bending or torsioning apparatus for exercising for the lower limbs
-
- A—HUMAN NECESSITIES
- A61—MEDICAL OR VETERINARY SCIENCE; HYGIENE
- A61H—PHYSICAL THERAPY APPARATUS, e.g. DEVICES FOR LOCATING OR STIMULATING REFLEX POINTS IN THE BODY; ARTIFICIAL RESPIRATION; MASSAGE; BATHING DEVICES FOR SPECIAL THERAPEUTIC OR HYGIENIC PURPOSES OR SPECIFIC PARTS OF THE BODY
- A61H15/00—Massage by means of rollers, balls, e.g. inflatable, chains, or roller chains
-
- A—HUMAN NECESSITIES
- A61—MEDICAL OR VETERINARY SCIENCE; HYGIENE
- A61H—PHYSICAL THERAPY APPARATUS, e.g. DEVICES FOR LOCATING OR STIMULATING REFLEX POINTS IN THE BODY; ARTIFICIAL RESPIRATION; MASSAGE; BATHING DEVICES FOR SPECIAL THERAPEUTIC OR HYGIENIC PURPOSES OR SPECIFIC PARTS OF THE BODY
- A61H15/00—Massage by means of rollers, balls, e.g. inflatable, chains, or roller chains
- A61H2015/0007—Massage by means of rollers, balls, e.g. inflatable, chains, or roller chains with balls or rollers rotating about their own axis
- A61H2015/0014—Massage by means of rollers, balls, e.g. inflatable, chains, or roller chains with balls or rollers rotating about their own axis cylinder-like, i.e. rollers
-
- A—HUMAN NECESSITIES
- A61—MEDICAL OR VETERINARY SCIENCE; HYGIENE
- A61H—PHYSICAL THERAPY APPARATUS, e.g. DEVICES FOR LOCATING OR STIMULATING REFLEX POINTS IN THE BODY; ARTIFICIAL RESPIRATION; MASSAGE; BATHING DEVICES FOR SPECIAL THERAPEUTIC OR HYGIENIC PURPOSES OR SPECIFIC PARTS OF THE BODY
- A61H2201/00—Characteristics of apparatus not provided for in the preceding codes
- A61H2201/01—Constructive details
- A61H2201/0119—Support for the device
- A61H2201/0138—Support for the device incorporated in furniture
- A61H2201/0149—Seat or chair
-
- A—HUMAN NECESSITIES
- A61—MEDICAL OR VETERINARY SCIENCE; HYGIENE
- A61H—PHYSICAL THERAPY APPARATUS, e.g. DEVICES FOR LOCATING OR STIMULATING REFLEX POINTS IN THE BODY; ARTIFICIAL RESPIRATION; MASSAGE; BATHING DEVICES FOR SPECIAL THERAPEUTIC OR HYGIENIC PURPOSES OR SPECIFIC PARTS OF THE BODY
- A61H2201/00—Characteristics of apparatus not provided for in the preceding codes
- A61H2201/12—Driving means
- A61H2201/1253—Driving means driven by a human being, e.g. hand driven
- A61H2201/1261—Driving means driven by a human being, e.g. hand driven combined with active exercising of the patient
- A61H2201/1269—Passive exercise driven by movement of healthy limbs
- A61H2201/1276—Passive exercise driven by movement of healthy limbs by the other leg or arm
-
- A—HUMAN NECESSITIES
- A61—MEDICAL OR VETERINARY SCIENCE; HYGIENE
- A61H—PHYSICAL THERAPY APPARATUS, e.g. DEVICES FOR LOCATING OR STIMULATING REFLEX POINTS IN THE BODY; ARTIFICIAL RESPIRATION; MASSAGE; BATHING DEVICES FOR SPECIAL THERAPEUTIC OR HYGIENIC PURPOSES OR SPECIFIC PARTS OF THE BODY
- A61H2205/00—Devices for specific parts of the body
- A61H2205/08—Trunk
- A61H2205/081—Back
-
- A—HUMAN NECESSITIES
- A61—MEDICAL OR VETERINARY SCIENCE; HYGIENE
- A61H—PHYSICAL THERAPY APPARATUS, e.g. DEVICES FOR LOCATING OR STIMULATING REFLEX POINTS IN THE BODY; ARTIFICIAL RESPIRATION; MASSAGE; BATHING DEVICES FOR SPECIAL THERAPEUTIC OR HYGIENIC PURPOSES OR SPECIFIC PARTS OF THE BODY
- A61H2205/00—Devices for specific parts of the body
- A61H2205/10—Leg
- A61H2205/106—Leg for the lower legs
Landscapes
- Health & Medical Sciences (AREA)
- Epidemiology (AREA)
- Pain & Pain Management (AREA)
- Physical Education & Sports Medicine (AREA)
- Rehabilitation Therapy (AREA)
- Life Sciences & Earth Sciences (AREA)
- Animal Behavior & Ethology (AREA)
- General Health & Medical Sciences (AREA)
- Public Health (AREA)
- Veterinary Medicine (AREA)
- Dermatology (AREA)
- Percussion Or Vibration Massage (AREA)
- Massaging Devices (AREA)
Abstract
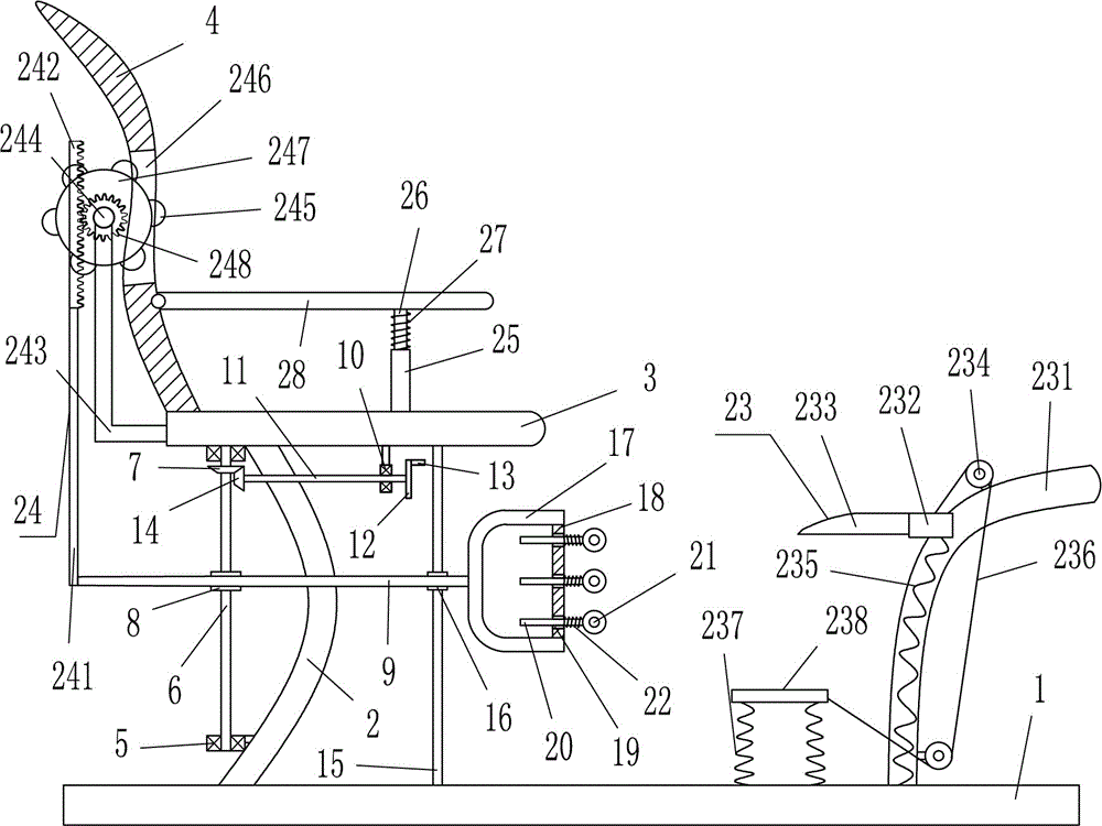
本发明涉及一种按摩装置,尤其涉及一种妇产科孕妇产后小腿按摩装置。本发明的目的是提供一种能够对孕妇小腿按摩均匀,并且还能对小腿进行锻炼的妇产科孕妇产后小腿按摩装置。技术方案:一种妇产科孕妇产后小腿按摩装置,包括有底板、支腿、座板、靠板、第一轴承座、丝杆、第一锥齿轮、螺母、横杆、第二轴承座、转杆、转盘、摇杆等;底板顶部左侧安装有支腿,支腿顶部安装有座板,座板顶部左侧安装有靠板。本发明通过按摩轮的作用,能对孕妇的小腿进行按摩,进而无需人手动对小腿进行按摩,同时,还能使按摩力度均匀,通过锻炼装置,则能使孕妇对按摩后的小腿进行锻炼,进一步的促进血液循环。
The invention relates to a massage device, in particular to a postpartum calf massage device for pregnant women in obstetrics and gynecology. The purpose of the present invention is to provide a postpartum calf massage device for pregnant women in obstetrics and gynecology, which can massage the calf of pregnant women evenly and exercise the calf. Technical scheme: a postpartum calf massage device for pregnant women in obstetrics and gynecology, comprising a bottom plate, outriggers, a seat plate, a backing plate, a first bearing seat, a screw rod, a first bevel gear, a nut, a horizontal rod, a second bearing seat, Rods, turntables, rockers, etc.; legs are installed on the left side of the top of the bottom plate, a seat plate is installed on the top of the legs, and a backing plate is installed on the left side of the top of the seat plate. Through the function of the massage wheel, the invention can massage the calf of pregnant women, so that there is no need to manually massage the calf, and at the same time, the massage force can be uniform, and through the exercise device, the pregnant woman can exercise the massaged calf. Further promote blood circulation.
Description
Claims (3)
Priority Applications (1)
| Application Number | Priority Date | Filing Date | Title |
|---|---|---|---|
| CN201810644200.9A CN109009913B (en) | 2018-06-21 | 2018-06-21 | Postpartum shank massage device for pregnant woman in obstetrics and gynecology department |
Applications Claiming Priority (1)
| Application Number | Priority Date | Filing Date | Title |
|---|---|---|---|
| CN201810644200.9A CN109009913B (en) | 2018-06-21 | 2018-06-21 | Postpartum shank massage device for pregnant woman in obstetrics and gynecology department |
Publications (2)
| Publication Number | Publication Date |
|---|---|
| CN109009913A CN109009913A (en) | 2018-12-18 |
| CN109009913B true CN109009913B (en) | 2021-03-19 |
Family
ID=64610251
Family Applications (1)
| Application Number | Title | Priority Date | Filing Date |
|---|---|---|---|
| CN201810644200.9A Expired - Fee Related CN109009913B (en) | 2018-06-21 | 2018-06-21 | Postpartum shank massage device for pregnant woman in obstetrics and gynecology department |
Country Status (1)
| Country | Link |
|---|---|
| CN (1) | CN109009913B (en) |
Families Citing this family (14)
| Publication number | Priority date | Publication date | Assignee | Title |
|---|---|---|---|---|
| CN109718017B (en) * | 2019-01-25 | 2020-08-11 | 鹤壁市人民医院 | Back massage wheelchair |
| CN109718018B (en) * | 2019-01-25 | 2020-08-11 | 李志永 | Neck massage wheelchair |
| CN109846686B (en) * | 2019-03-06 | 2020-11-06 | 浙江工业职业技术学院 | A mechanical intelligent massage bed |
| CN109998864B (en) * | 2019-05-05 | 2021-06-15 | 烟台大学 | A kind of auxiliary sports device after long-distance running |
| CN110251381B (en) * | 2019-06-25 | 2021-09-14 | 重庆医科大学附属永川医院 | Pregnant woman postpartum care rehabilitation device |
| WO2021077702A1 (en) * | 2019-10-21 | 2021-04-29 | 上海贝氪若宝健康科技有限公司 | Rolling massage mechanism and massage device |
| CN111759701A (en) * | 2020-07-11 | 2020-10-13 | 巴照环 | Postoperative care device with infusion support for general surgery department |
| CN112353662A (en) * | 2020-10-11 | 2021-02-12 | 彭祖祥 | Sliding type massage physiotherapy bed for medical care |
| CN112168645A (en) * | 2020-10-28 | 2021-01-05 | 霍普(南京)生命科学研究院有限公司 | Home furnishing and old-age maintaining massage leisure device based on 5G Internet of things |
| CN112914945A (en) * | 2021-04-08 | 2021-06-08 | 温州智荣健康科技有限公司 | Massage assembly, massage mechanism and massage chair |
| CN114100068A (en) * | 2021-10-18 | 2022-03-01 | 温州大学 | Tie device for physical training |
| CN114028131B (en) * | 2021-10-26 | 2024-05-24 | 南京喵渔安信息技术有限公司 | Gynaecology and obstetrics is with outdoor delivery bed of quick expansion formula |
| CN114392065B (en) * | 2022-02-23 | 2023-12-01 | 丰都县妇幼保健院 | Multifunctional wheelchair convenient for pregnant women to sit on |
| CN115531808B (en) * | 2022-04-24 | 2024-07-05 | 南京林清阳网络科技有限公司 | Prenatal nursing equipment for pregnant women |
Citations (6)
| Publication number | Priority date | Publication date | Assignee | Title |
|---|---|---|---|---|
| CN101472547A (en) * | 2006-06-22 | 2009-07-01 | 路易信研发有限公司 | Device for treating, in particular massaging, the connective tissue of the skin |
| CN202113300U (en) * | 2011-05-06 | 2012-01-18 | 缪为民 | Three-dimensional (3D) massaging machine core adapted to shape of body surface of human body |
| CN202723693U (en) * | 2012-08-01 | 2013-02-13 | 深圳市浪尖设计有限公司 | Foot bath basin capable of massaging legs |
| CN106539672A (en) * | 2016-12-07 | 2017-03-29 | 安吉富和家具有限公司 | A kind of thing to sit on multi-mode message structure |
| JP2017070661A (en) * | 2015-10-09 | 2017-04-13 | 日立マクセル株式会社 | Beauty instrument |
| CN206642293U (en) * | 2017-04-12 | 2017-11-17 | 宫锡和 | A kind of patient hand's device for healing and training for Neurology |
Family Cites Families (6)
| Publication number | Priority date | Publication date | Assignee | Title |
|---|---|---|---|---|
| CN201076207Y (en) * | 2007-08-02 | 2008-06-25 | 石殿来 | Sports fitness massage chair |
| JP5906514B2 (en) * | 2011-10-13 | 2016-04-20 | ジョンソンヘルスケア株式会社 | Massage machine |
| CN203577243U (en) * | 2013-11-04 | 2014-05-07 | 王建国 | Stepper |
| CN105078696A (en) * | 2014-04-16 | 2015-11-25 | 宁波秉航电子科技有限公司 | Massage chair with curved guide rail |
| CN106621223B (en) * | 2017-01-11 | 2018-10-09 | 泉州舒得乐鞋服贸易有限公司 | A kind of sport lift pressing-leg device |
| CN107811827A (en) * | 2017-11-28 | 2018-03-20 | 金莹莹 | A kind of leg massage chair for gynecologic patient |
-
2018
- 2018-06-21 CN CN201810644200.9A patent/CN109009913B/en not_active Expired - Fee Related
Patent Citations (6)
| Publication number | Priority date | Publication date | Assignee | Title |
|---|---|---|---|---|
| CN101472547A (en) * | 2006-06-22 | 2009-07-01 | 路易信研发有限公司 | Device for treating, in particular massaging, the connective tissue of the skin |
| CN202113300U (en) * | 2011-05-06 | 2012-01-18 | 缪为民 | Three-dimensional (3D) massaging machine core adapted to shape of body surface of human body |
| CN202723693U (en) * | 2012-08-01 | 2013-02-13 | 深圳市浪尖设计有限公司 | Foot bath basin capable of massaging legs |
| JP2017070661A (en) * | 2015-10-09 | 2017-04-13 | 日立マクセル株式会社 | Beauty instrument |
| CN106539672A (en) * | 2016-12-07 | 2017-03-29 | 安吉富和家具有限公司 | A kind of thing to sit on multi-mode message structure |
| CN206642293U (en) * | 2017-04-12 | 2017-11-17 | 宫锡和 | A kind of patient hand's device for healing and training for Neurology |
Also Published As
| Publication number | Publication date |
|---|---|
| CN109009913A (en) | 2018-12-18 |
Similar Documents
| Publication | Publication Date | Title |
|---|---|---|
| CN109009913B (en) | Postpartum shank massage device for pregnant woman in obstetrics and gynecology department | |
| CN100579500C (en) | A multifunctional massage machine | |
| CN109248056A (en) | A kind of orthopaedics leg rehabilitation exercise device | |
| CN109620678B (en) | Massage chair | |
| CN110604680A (en) | An obstetrics and gynecology pregnant woman calf massage device | |
| CN204698942U (en) | Multi-position nursing massage chair | |
| CN108186286A (en) | A kind of device for healing and training coordinated for neurology department's limbs | |
| CN112057313B (en) | Leg massage device for gynecology | |
| CN111374880B (en) | Pendulum lower limb massage mechanism | |
| CN105641872A (en) | Critical patient exercise device | |
| CN112790965A (en) | A kind of leg massage device for rehabilitation physiotherapy department | |
| CN112402164A (en) | A gastroenterology adjuvant therapy device | |
| CN209548318U (en) | Massage chair for medical care | |
| CN208809022U (en) | A medical massage bed | |
| CN109009918A (en) | A kind of massage mechanism and massage armchair of human body back | |
| CN206080973U (en) | Massage chair | |
| CN219538717U (en) | Leg muscle recovery nursing device | |
| CN110353967B (en) | Massage armchair with neck massage function | |
| CN206979939U (en) | A kind of Anti-addiction sport health chair | |
| CN211461070U (en) | Multifunctional knee joint rehabilitation exercise massage chair | |
| CN108888912A (en) | A kind of health and fitness facilities that sitting posture is kicked one's legs obliquely and its application method | |
| CN111419674B (en) | Leg massage equipment | |
| CN210872890U (en) | An exercise care device for cardiovascular patients | |
| CN209059925U (en) | A massage mechanism and massage chair | |
| CN222487987U (en) | An auxiliary treatment device for upper and lower limb lymphedema |
Legal Events
| Date | Code | Title | Description |
|---|---|---|---|
| PB01 | Publication | ||
| PB01 | Publication | ||
| SE01 | Entry into force of request for substantive examination | ||
| SE01 | Entry into force of request for substantive examination | ||
| CB03 | Change of inventor or designer information |
Inventor after: Sun Rong Inventor after: Wang Lijing Inventor after: Wang Furong Inventor after: Liu Honghua Inventor before: Liu Honghua |
|
| CB03 | Change of inventor or designer information | ||
| TA01 | Transfer of patent application right |
Effective date of registration: 20210218 Address after: 266000 Shandong province Qingdao City, Jiaozhou Road No. 1 Applicant after: Qingdao Municipal Hospital (Qingdao Institute of clinical medicine, Qingdao Medical Imaging Center) Address before: 511011 Department of Obstetrics and Gynecology, Changshui maternal and child hospital, 20th floor, Herun Plaza, 2 Danan Road, Yuexiu District, Guangzhou City, Guangdong Province Applicant before: Liu Honghua |
|
| TA01 | Transfer of patent application right | ||
| GR01 | Patent grant | ||
| GR01 | Patent grant | ||
| CF01 | Termination of patent right due to non-payment of annual fee |
Granted publication date: 20210319 Termination date: 20210621 |
|
| CF01 | Termination of patent right due to non-payment of annual fee |
