CN108879463B - A cable rack for power cable maintenance - Google Patents
A cable rack for power cable maintenance Download PDFInfo
- Publication number
- CN108879463B CN108879463B CN201810839767.1A CN201810839767A CN108879463B CN 108879463 B CN108879463 B CN 108879463B CN 201810839767 A CN201810839767 A CN 201810839767A CN 108879463 B CN108879463 B CN 108879463B
- Authority
- CN
- China
- Prior art keywords
- fixedly connected
- power cable
- lead screw
- cable
- fixing
- Prior art date
- Legal status (The legal status is an assumption and is not a legal conclusion. Google has not performed a legal analysis and makes no representation as to the accuracy of the status listed.)
- Active
Links
Images
Classifications
-
- H—ELECTRICITY
- H02—GENERATION; CONVERSION OR DISTRIBUTION OF ELECTRIC POWER
- H02G—INSTALLATION OF ELECTRIC CABLES OR LINES, OR OF COMBINED OPTICAL AND ELECTRIC CABLES OR LINES
- H02G1/00—Methods or apparatus specially adapted for installing, maintaining, repairing or dismantling electric cables or lines
Landscapes
- Laying Of Electric Cables Or Lines Outside (AREA)
- Transmission Devices (AREA)
Abstract
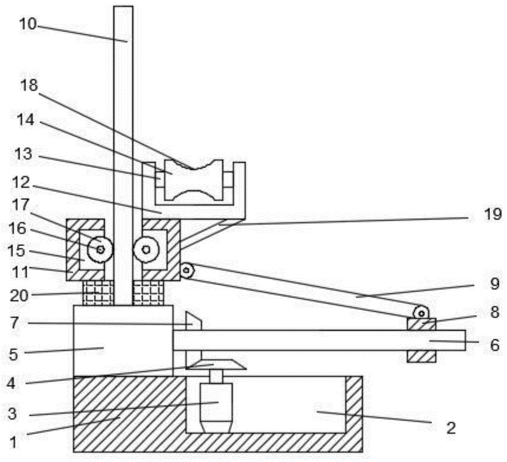
本发明公开了一种电力电缆维修用电缆架,包括底座,底座的上表面右侧开设有第一凹槽,第一凹槽的底面左侧固定连接有步进电机,步进电机的输出端固定连接有主动齿轮,底座的上表面左侧固定连接有固定座,固定座的右侧面转动连接有丝杠,丝杠的表面左侧固定套接有从动齿轮,丝杠的表面右端螺接有螺母,螺母的上表面铰接有连接杆的一端,固定座的上表面固定连接有固定杆,固定杆的表面滑动套接有滑动环,滑动环的上表面右侧固定连接有固定爪,固定爪的内侧面横向转动连接有第一转轴,第一转轴的表面固定套接有支撑轮,通过给底座加装固定杆、滑动环、丝杠和连接杆,实现了固定爪可以将电缆举高的效果,达到了方便电缆维修人员维修的目的。
The invention discloses a cable stand for power cable maintenance, comprising a base, a first groove is formed on the right side of the upper surface of the base, a stepper motor is fixedly connected to the left side of the bottom surface of the first groove, and an output end of the stepper motor is provided. A driving gear is fixedly connected, a fixed seat is fixedly connected to the left side of the upper surface of the base, a lead screw is rotatably connected to the right side of the fixed seat, a driven gear is fixedly sleeved on the left side of the surface of the lead screw, and the right end of the surface of the lead screw is screwed. A nut is connected, the upper surface of the nut is hinged with one end of the connecting rod, the upper surface of the fixing seat is fixedly connected with a fixing rod, the surface of the fixing rod is slidably sleeved with a sliding ring, and the right side of the upper surface of the sliding ring is fixedly connected with a fixing claw. The inner side of the fixing claw is connected with a first rotating shaft laterally, and the surface of the first rotating shaft is fixedly sleeved with a support wheel. The high effect achieves the purpose of facilitating the maintenance of the cable maintenance personnel.
Description
技术领域technical field
本发明涉及电缆技术领域,具体为一种电力电缆维修用电缆架。The invention relates to the technical field of cables, in particular to a cable rack for power cable maintenance.
背景技术Background technique
目前,在现场进行电缆维修施工或处理电缆事故时,往往需要将电缆的土层剖开,将电缆从地面支起,然后进行电缆头的制作,在制作大量的电缆头的过程中,按照传统的做法,不论是新建工程还是处理电缆维修故障,都是采取就地取材的方式,就是在施工现场找一些支撑物将电缆支撑起来,一些作业现场需要将电缆支撑起来的高度调整得较高或较低,就地取材的方式不能满足对电缆撑起的高度不同的需求。At present, when carrying out cable maintenance construction or dealing with cable accidents on site, it is often necessary to cut the soil layer of the cable, support the cable from the ground, and then make the cable head. In the process of making a large number of cable heads, according to the traditional Whether it is a new construction project or dealing with cable maintenance failures, the method is to use local materials, that is, to find some supports at the construction site to support the cables, and some job sites need to adjust the height of the cables to be supported higher or higher. It is relatively low, and the method of obtaining materials locally cannot meet the different requirements for the height of the cable support.
发明内容SUMMARY OF THE INVENTION
本发明的目的在于提供一种电力电缆维修用电缆架,以解决上述背景技术中提出的问题。The purpose of the present invention is to provide a cable holder for power cable maintenance, so as to solve the problems raised in the above-mentioned background art.
为实现上述目的,本发明提供如下技术方案:一种电力电缆维修用电缆架,包括底座,所述底座的上表面右侧开设有第一凹槽,所述第一凹槽的底面左侧固定连接有步进电机,所述步进电机的输出端固定连接有主动齿轮,所述底座的上表面左侧固定连接有固定座,所述固定座的右侧面转动连接有丝杠,所述丝杠的表面左侧固定套接有从动齿轮,且从动齿轮与主动齿轮啮合,所述丝杠的表面右端螺接有螺母,所述螺母的上表面铰接有连接杆的一端,所述固定座的上表面固定连接有固定杆,所述固定杆的表面滑动套接有滑动环,且滑动环的右侧面下部与连接杆的另一端相铰接,所述滑动环的上表面右侧固定连接有固定爪,所述固定爪的内侧面横向转动连接有第一转轴,所述第一转轴的表面固定套接有支撑轮。In order to achieve the above purpose, the present invention provides the following technical solutions: a cable rack for power cable maintenance, comprising a base, a first groove is opened on the right side of the upper surface of the base, and the left side of the bottom surface of the first groove is fixed A stepper motor is connected, the output end of the stepper motor is fixedly connected with a driving gear, the left side of the upper surface of the base is fixedly connected with a fixing seat, and the right side of the fixing seat is rotatably connected with a lead screw, the A driven gear is fixedly sleeved on the left side of the surface of the lead screw, and the driven gear is meshed with the driving gear. The right end of the surface of the lead screw is screwed with a nut, and the upper surface of the nut is hinged with one end of a connecting rod. The upper surface of the fixing seat is fixedly connected with a fixing rod, the surface of the fixing rod is slidably sleeved with a sliding ring, and the lower part of the right side of the sliding ring is hinged with the other end of the connecting rod, and the upper surface of the sliding ring is on the right side A fixing claw is fixedly connected, the inner side surface of the fixing claw is laterally connected with a first rotating shaft, and the surface of the first rotating shaft is fixedly sleeved with a support wheel.
优选的,所述滑动环的内环面左右两侧均开设有第二凹槽,两个所述第二凹槽的的内侧面垂直转动连接有第二转轴,两个所述第二转轴的表面均固定套接有滚轮,且滚轮的内侧面与固定杆滑动连接。Preferably, the left and right sides of the inner ring surface of the sliding ring are provided with second grooves, the inner sides of the two second grooves are vertically rotatably connected with a second rotating shaft, and the two second rotating shafts are The surfaces are fixedly sleeved with rollers, and the inner side surface of the rollers is slidably connected with the fixing rod.
优选的,所述支撑轮的表面开设有弧面槽。Preferably, an arc groove is formed on the surface of the support wheel.
优选的,所述固定爪的下表面右侧固定连接有承重杆的一端,I且承重杆的另一端与滑动环的右侧面固定连接。Preferably, one end of the load-bearing rod is fixedly connected to the right side of the lower surface of the fixing claw, and the other end of the load-bearing rod is fixedly connected to the right side of the sliding ring.
优选的,所述固定杆的表面下部固定套接有限位环。Preferably, the lower part of the surface of the fixing rod is fixedly sleeved with a limiting ring.
优选的,所述连接杆的长度值比固定杆的长度值小。Preferably, the length value of the connecting rod is smaller than the length value of the fixing rod.
与现有技术相比,本发明的有益效果是:通过给底座加装固定杆、滑动环、丝杠和连接杆,实现了固定爪可以将电缆举高的效果,达到了方便电缆维修人员维修的目的。Compared with the prior art, the beneficial effect of the present invention is: by adding a fixing rod, a sliding ring, a lead screw and a connecting rod to the base, the effect that the fixing claw can lift the cable is realized, and the maintenance of the cable maintenance personnel is convenient. the goal of.
附图说明Description of drawings
图1为本发明结构示意图。Figure 1 is a schematic structural diagram of the present invention.
图中:1底座、2第一凹槽、3步进电机、4主动齿轮、5固定座、6丝杠、7从动齿轮、8螺母、9连接杆、10固定杆、11滑动环、12固定爪、13第一转轴、14支撑轮、15第二凹槽、16第二转轴、17滚轮、18弧面槽、19承重杆、20限位环。In the picture: 1 base, 2 first groove, 3 stepper motor, 4 driving gear, 5 fixing seat, 6 lead screw, 7 driven gear, 8 nut, 9 connecting rod, 10 fixing rod, 11 sliding ring, 12 Fixed claw, 13 first shaft, 14 support wheel, 15 second groove, 16 second shaft, 17 roller, 18 arc groove, 19 load-bearing rod, 20 limit ring.
具体实施方式Detailed ways
下面将结合本发明实施例中的附图,对本发明实施例中的技术方案进行清楚、完整地描述,显然,所描述的实施例仅仅是本发明一部分实施例,而不是全部的实施例。基于本发明中的实施例,本领域普通技术人员在没有做出创造性劳动前提下所获得的所有其他实施例,都属于本发明保护的范围。The technical solutions in the embodiments of the present invention will be clearly and completely described below with reference to the accompanying drawings in the embodiments of the present invention. Obviously, the described embodiments are only a part of the embodiments of the present invention, but not all of the embodiments. Based on the embodiments of the present invention, all other embodiments obtained by those of ordinary skill in the art without creative efforts shall fall within the protection scope of the present invention.
请参阅图1,本发明提供一种技术方案:一种电力电缆维修用电缆架,包括底座1,底座1的上表面右侧开设有第一凹槽2,第一凹槽2的底面左侧固定连接有步进电机3,步进电机3的输出端固定连接有主动齿轮4,底座1的上表面左侧固定连接有固定座5,固定座5的右侧面转动连接有丝杠6,丝杠6的表面左侧固定套接有从动齿轮7,且从动齿轮7与主动齿轮4啮合,丝杠6的表面右端螺接有螺母8,螺母8的上表面铰接有连接杆9的一端,固定座5的上表面固定连接有固定杆10,固定杆10的表面滑动套接有滑动环11,且滑动环11的右侧面下部与连接杆9的另一端相铰接,滑动环11的上表面右侧固定连接有固定爪12,固定爪12的内侧面横向转动连接有第一转轴13,第一转轴13的表面固定套接有支撑轮14。Please refer to FIG. 1 , the present invention provides a technical solution: a cable rack for power cable maintenance, comprising a
步进电机4与外部电源电连接。The stepping
固定爪12设置在滑动环11的上表面右侧,以防支撑轮14支撑电缆时,电缆的重量将本装置向左倾倒,伤到使用者。The
具体而言,为了使滑动环11在固定杆10上滑动时,减小滑动环11与固定杆10之间的摩擦力,滑动环11的内环面左右两侧均开设有第二凹槽15,两个第二凹槽15的的内侧面垂直转动连接有第二转轴16,两个第二转轴16的表面均固定套接有滚轮17,且滚轮17的内侧面与固定杆10滑动连接。Specifically, in order to reduce the frictional force between the sliding ring 11 and the
具体而言,为了使电缆在支撑轮14的表面被拖动时,支撑轮14不会将电缆的表面磨损,支撑轮14的表面开设有弧面槽18。Specifically, in order to prevent the surface of the cable from being worn by the
具体而言,为了使支撑轮14在支撑电缆时,电缆的重量不会将固定爪12的右端压坏,固定爪12的下表面右侧固定连接有承重杆19的一端,I且承重杆19的另一端与滑动环11的右侧面固定连接。Specifically, in order to prevent the weight of the cable from crushing the right end of the
具体而言,为了使连接杆9的左端高于右端,使滑动环11在最底点向上升时,滑动环11与连接杆9之间不会出现力的死点,使连接杆9不能将滑动环11顶起,固定杆10的表面下部固定套接有限位环20。Specifically, in order to make the left end of the connecting
具体而言,为了防止连接杆9在将滑动环11顶起时,连接杆9将滑动环11顶出固定杆10,使滑动环11从固定杆10上脱落,连接杆9的长度值比固定杆10的长度值小。Specifically, in order to prevent the connecting
工作原理:本发明为一种电力电缆维修用电缆架,使用时,将电缆架在支撑轮14上,步进电机3正转带动主动齿轮4转动,主动齿轮4通过从动齿轮7带动丝杠6转动,丝杠6转动使螺母8在丝杠6上向左移动,使连接杆9将滑动环11顶起,滑动环11带动固定爪12和支撑轮14将电缆举高,当需要将电缆举高的高度降低时,步进电机3反转带动主动齿轮4反转,主动齿轮4通过从动齿轮7带动丝杠6反转,使螺母8在丝杠6上向右移动即可。Working principle: The present invention is a cable rack for power cable maintenance. When in use, the cable rack is placed on the
尽管已经示出和描述了本发明的实施例,对于本领域的普通技术人员而言,可以理解在不脱离本发明的原理和精神的情况下可以对这些实施例进行多种变化、修改、替换和变型,本发明的范围由所附权利要求及其等同物限定。Although embodiments of the present invention have been shown and described, it will be understood by those skilled in the art that various changes, modifications, and substitutions can be made in these embodiments without departing from the principle and spirit of the invention and modifications, the scope of the present invention is defined by the appended claims and their equivalents.
Claims (6)
Priority Applications (1)
| Application Number | Priority Date | Filing Date | Title |
|---|---|---|---|
| CN201810839767.1A CN108879463B (en) | 2018-07-27 | 2018-07-27 | A cable rack for power cable maintenance |
Applications Claiming Priority (1)
| Application Number | Priority Date | Filing Date | Title |
|---|---|---|---|
| CN201810839767.1A CN108879463B (en) | 2018-07-27 | 2018-07-27 | A cable rack for power cable maintenance |
Publications (2)
| Publication Number | Publication Date |
|---|---|
| CN108879463A CN108879463A (en) | 2018-11-23 |
| CN108879463B true CN108879463B (en) | 2020-01-21 |
Family
ID=64306073
Family Applications (1)
| Application Number | Title | Priority Date | Filing Date |
|---|---|---|---|
| CN201810839767.1A Active CN108879463B (en) | 2018-07-27 | 2018-07-27 | A cable rack for power cable maintenance |
Country Status (1)
| Country | Link |
|---|---|
| CN (1) | CN108879463B (en) |
Families Citing this family (1)
| Publication number | Priority date | Publication date | Assignee | Title |
|---|---|---|---|---|
| CN115000879B (en) * | 2022-08-03 | 2022-11-11 | 国网山东省电力公司高青县供电公司 | Power transmission line inspection robot based on image learning and inspection method |
Family Cites Families (7)
| Publication number | Priority date | Publication date | Assignee | Title |
|---|---|---|---|---|
| CN101770010B (en) * | 2008-12-30 | 2013-12-18 | 中国船舶重工集团公司七五○试验场 | GPS antenna positioning deviation adjusting device |
| CN202721425U (en) * | 2012-06-05 | 2013-02-06 | 浙江省电力公司紧水滩水力发电厂 | A portable fast lifting cable pay-off frame |
| CN205190958U (en) * | 2015-10-16 | 2016-04-27 | 桑辉 | Glass steel cable support |
| CN205616330U (en) * | 2016-03-17 | 2016-10-05 | 河北省电力勘测设计研究院 | Cable wire rack |
| CN206789971U (en) * | 2017-05-19 | 2017-12-22 | 国网江苏省电力公司泰州供电公司 | A kind of cable trough |
| CN207314782U (en) * | 2017-09-07 | 2018-05-04 | 薛帅欣 | An easy-to-adjust scaffold for power equipment maintenance |
| CN207584587U (en) * | 2017-11-15 | 2018-07-06 | 西安思源学院 | A kind of garden lawn lamp of automatic lifting |
-
2018
- 2018-07-27 CN CN201810839767.1A patent/CN108879463B/en active Active
Also Published As
| Publication number | Publication date |
|---|---|
| CN108879463A (en) | 2018-11-23 |
Similar Documents
| Publication | Publication Date | Title |
|---|---|---|
| CN210052310U (en) | Teaching aid for mathematical education | |
| CN201647933U (en) | Manual lifting platform | |
| CN206093386U (en) | Adjustable brace equipment for chemical industry | |
| CN211694091U (en) | Industrial upper frame type display | |
| CN207925066U (en) | A kind of display and demonstration plate for being moved easily and positioning | |
| CN204358382U (en) | Display bracket | |
| CN210966758U (en) | Steel bar cutting equipment for building engineering | |
| CN201837644U (en) | Movable test platform | |
| CN108879463B (en) | A cable rack for power cable maintenance | |
| CN110883719A (en) | Big gyro wheel frame adjusting device is used in restoration of poling top | |
| CN210884998U (en) | Combined main beam of crane | |
| CN209769846U (en) | A height-adjustable support table for animation display | |
| CN211169594U (en) | Portable mobile crane | |
| CN212172313U (en) | A new type of transport vehicle for hoisting steel | |
| CN211510916U (en) | An easy-to-use big data platform | |
| CN210706573U (en) | Archives arrangement is tensile to be spread out device | |
| CN108042213A (en) | A kind of gastrointestinal surgery auxiliary frame | |
| CN209501729U (en) | A kind of one-dimensional cell magnetic force distortion instrument cell glass slide turnover device | |
| CN219311419U (en) | Root cutting device for grass raw material | |
| CN211198135U (en) | Draw gear for electric power construction | |
| CN111747318A (en) | A vertical lift construction equipment hoisting device | |
| CN218311526U (en) | Automatic cleaning device for placement plate of laser drilling machine | |
| CN217756332U (en) | Civil engineering building pay-off | |
| CN108637948A (en) | A kind of electrical engineering positioning installation apparatus | |
| CN218647599U (en) | Product promotion display device |
Legal Events
| Date | Code | Title | Description |
|---|---|---|---|
| PB01 | Publication | ||
| PB01 | Publication | ||
| SE01 | Entry into force of request for substantive examination | ||
| SE01 | Entry into force of request for substantive examination | ||
| GR01 | Patent grant | ||
| GR01 | Patent grant |
