CN108770704B - Fragrant pig feeding bar - Google Patents
Fragrant pig feeding bar Download PDFInfo
- Publication number
- CN108770704B CN108770704B CN201810469574.1A CN201810469574A CN108770704B CN 108770704 B CN108770704 B CN 108770704B CN 201810469574 A CN201810469574 A CN 201810469574A CN 108770704 B CN108770704 B CN 108770704B
- Authority
- CN
- China
- Prior art keywords
- conveyor belt
- channel
- fragrant
- transition
- fragrant pig
- Prior art date
- Legal status (The legal status is an assumption and is not a legal conclusion. Google has not performed a legal analysis and makes no representation as to the accuracy of the status listed.)
- Active
Links
Images
Classifications
-
- A—HUMAN NECESSITIES
- A01—AGRICULTURE; FORESTRY; ANIMAL HUSBANDRY; HUNTING; TRAPPING; FISHING
- A01K—ANIMAL HUSBANDRY; AVICULTURE; APICULTURE; PISCICULTURE; FISHING; REARING OR BREEDING ANIMALS, NOT OTHERWISE PROVIDED FOR; NEW BREEDS OF ANIMALS
- A01K1/00—Housing animals; Equipment therefor
- A01K1/10—Feed racks
Landscapes
- Life Sciences & Earth Sciences (AREA)
- Environmental Sciences (AREA)
- Zoology (AREA)
- Animal Husbandry (AREA)
- Biodiversity & Conservation Biology (AREA)
- Feeding And Watering For Cattle Raising And Animal Husbandry (AREA)
- Fodder In General (AREA)
Abstract
本发明属于畜牧养殖的技术领域,具体公开了香猪饲养栏,包括主围栏和若干饲料盒,主围栏包括四个侧壁,主围栏上连通有过渡通道,过渡通道的宽度为40‑80cm,过渡通道的一端连通有进食通道,进食通道的内设有用于运输饲料盒的运输单元;还包括位于进食通道和主围栏之间的驱赶机构,驱赶机构包括若干支架,支架上设有第一传送带装置,第一传送带装置包括第一传送带,第一传送带的长度方向与过渡通道的长度方向平行,第一传送带竖直设置,第一传送带上设有若干隔板,隔板的长度为25‑60cm,相邻两个隔板的间距为60‑110cm,过渡通道和进食通道靠近第一传送带的一端均设有开口且隔板能够伸入到过渡通道和进食通道中。本发明的目的是解决香猪争抢食物的问题。
The invention belongs to the technical field of animal husbandry and specifically discloses a fragrant pig breeding pen, comprising a main fence and several feed boxes. The main fence includes four side walls, and a transition channel is communicated with the main fence, and the width of the transition channel is 40-80cm. One end of the transition channel is connected with a feeding channel, and a transport unit for transporting the feed box is arranged in the feeding channel; it also includes a driving mechanism located between the feeding channel and the main fence, the driving mechanism includes a number of brackets, and the bracket is provided with a first conveyor belt Device, the first conveyor belt device includes a first conveyor belt, the length direction of the first conveyor belt is parallel to the length direction of the transition channel, the first conveyor belt is arranged vertically, and the first conveyor belt is provided with a number of partitions, and the length of the partitions is 25-60cm , the distance between two adjacent partitions is 60-110 cm, the transition channel and the feeding channel are provided with openings at one end of the first conveyor belt, and the partition can extend into the transition channel and the feeding channel. The purpose of the present invention is to solve the problem of fragrant pigs competing for food.
Description
技术领域technical field
本发明属于畜牧养殖的技术领域,具体公开了一种香猪饲养栏。The invention belongs to the technical field of animal husbandry and specifically discloses a fragrant pig feeding bar.
背景技术Background technique
香猪,又名“迷你猪”,以体小早熟,肉味鲜,闻名全国。香猪以从江香猪、剑白香猪,和广西的巴马香猪最为著名,另还有环江香猪、藏香猪等品种,都属矮小猪种。香猪体格短小,6月龄公猪平均体重14.2公斤,体长65厘米,体高33厘米,胸围55厘米;母猪8月龄体重30公斤,体长70厘米,体高47厘米,胸围73厘米。育肥香猪屠宰率为63.6%,瘦肉率达52.2%。成年香猪体重大约为30--45公斤不等。Fragrant pig, also known as "mini pig", is famous all over the country for its small body, early maturity and fresh meat. The most famous fragrant pigs are Congjiang fragrant pigs, Jianbai fragrant pigs, and Bama fragrant pigs in Guangxi. The fragrant pigs are short and short. The average 6-month-old boar weighs 14.2 kg, with a body length of 65 cm, a body height of 33 cm, and a chest circumference of 55 cm; the 8-month-old sow weighs 30 kg, with a body length of 70 cm, a body height of 47 cm, and a chest circumference of 73 cm. The slaughter rate of fattening pigs was 63.6%, and the lean meat rate was 52.2%. An adult fragrant pig weighs about 30--45 kg.
由于香猪的体格短小、成年期短,所以香猪的喂养时间很短。为了保证香猪的瘦肉率,饲养员会严格控制香猪的饲料量。但是香猪在进食的时候,常常会发生争抢食物的情况,一些天生体弱的香猪经常争抢不到食物,导致其发育越来越差,而一些强壮的香猪争抢到的食物多,发育越来越好,所以最后会有一些香猪的体重低、发育差,一些香猪体重高、瘦肉率低。现在需要一种能够使所有香猪单独进食的饲养栏。Due to their short stature and short adulthood, the fragrant pigs are fed for a short period of time. In order to ensure the lean meat rate of the fragrant pigs, the breeder will strictly control the feed amount of the fragrant pigs. However, when fragrant pigs are eating, they often compete for food. Some frail fragrant pigs often cannot compete for food, resulting in their development getting worse and worse, while some strong fragrant pigs compete for food. More and more, the development is getting better and better, so in the end there will be some fragrant pigs with low body weight and poor development, and some fragrant pigs with high weight and low lean meat rate. There is now a need for a barn that allows all pigs to eat individually.
公告号为CN107347695A的中国专利,公开了一种畜类养殖用喂食饮水装置,包括食槽和水槽,所述食槽前方左右两侧和后方左右两侧均设有方形柱,所述方形柱为下端开口的空心结构,支撑柱套接在所述方形柱内,所述支撑柱下端与所述水槽固定连接,所述支撑柱和所述方形柱上均设有固定孔,所述食槽上方设有顶棚,所述食槽左右两端均设有水箱,所述水箱内部左右两侧均设有紫外线杀菌器,所述水箱底部设有出水孔,所述出水孔上设有滤水器,所述出水孔与水管上端固定连接,所述水管向下延伸进入所述水槽内,所述食槽上从左至右分别设有灭蚊驱虫装置、蜂鸣器和蓝牙音箱,所述水槽前方设有隔板,所述隔板从左至右均匀分布,所述相邻隔板之间设有红外线感应器,所述红外线感应器通过导线与所述蓝牙音箱相连接,所述隔板上设有栅栏门体。该方案虽然实现了香猪单独进食,但是需要饲养员将香猪分别赶入到不同的栅栏中,香猪太多会导致饲养员驱赶香猪的时间过长,十分不方便。且设置过多的栅栏还会占用更多的空间。The Chinese patent with the publication number of CN107347695A discloses a feeding and drinking device for livestock breeding, which includes a trough and a water trough. Square columns are provided on the left and right sides of the front and rear of the trough, and the square column is the lower end. The open hollow structure, the support column is sleeved in the square column, the lower end of the support column is fixedly connected with the water tank, the support column and the square column are provided with fixing holes, and the upper part of the food trough is provided. There is a ceiling, water tanks are provided on the left and right ends of the trough, and ultraviolet sterilizers are provided on the left and right sides of the water tank. The water outlet is fixedly connected with the upper end of the water pipe. The water pipe extends downward into the water tank. The food tank is provided with a mosquito and insect repellent device, a buzzer and a Bluetooth speaker from left to right. The front of the water tank is There are partitions, which are evenly distributed from left to right, and an infrared sensor is arranged between the adjacent partitions. The infrared sensor is connected to the Bluetooth speaker through a wire. Features a fence gate body. Although this solution enables the fragrant pigs to eat alone, the breeder needs to drive the fragrant pigs into different fences. Too many fragrant pigs will cause the breeder to take too long to drive the fragrant pigs, which is very inconvenient. And setting too many fences will take up more space.
发明内容SUMMARY OF THE INVENTION
本发明的目的在于提供一种香猪饲养栏,以解决香猪单独进食的问题。The purpose of the present invention is to provide a fragrant pig feeding bar to solve the problem of fragrant pigs eating alone.
为了达到上述目的,本发明的基础方案为:香猪饲养栏,包括主围栏和若干饲料盒,所述主围栏包括四个侧壁,所述主围栏的其中一个侧壁上连通有过渡通道,过渡通道的宽度为40-80cm,过渡通道远离主围栏的一端连通有进食通道,进食通道的内沿其长度方向设有用于运输饲料盒的运输单元;还包括位于进食通道和主围栏之间的驱赶机构,所述驱赶机构包括若干支架,支架上设有第一传送带装置,第一传送带装置包括第一传送带,第一传送带的长度方向与进食通道的长度方向平行,第一传送带竖直设置,第一传送带上设有若干隔板,隔板的长度为25-60cm,相邻两个隔板的间距为60-110cm,所述过渡通道和进食通道靠近第一传送带的一端均设有开口且隔板能够伸入到过渡通道和进食通道中。In order to achieve the above purpose, the basic scheme of the present invention is: the fragrant pig breeding pen includes a main fence and several feed boxes, the main fence includes four side walls, and a transition channel is communicated with one of the side walls of the main fence, The width of the transition channel is 40-80cm, and the end of the transition channel away from the main fence is connected with the feeding channel, and the inner part of the feeding channel is provided with a transport unit for transporting the feed box along its length; it also includes a feeding channel and the main fence. A driving mechanism, the driving mechanism includes a plurality of brackets, the brackets are provided with a first conveyor belt device, the first conveyor belt device includes a first conveyor belt, the length direction of the first conveyor belt is parallel to the length direction of the feeding passage, and the first conveyor belt is vertically arranged, The first conveyor belt is provided with a number of partitions, the length of the partitions is 25-60cm, the distance between two adjacent partitions is 60-110cm, the transition channel and the feeding channel are provided with openings at one end of the first conveyor belt and The baffle can protrude into the transition channel and the feeding channel.
本基础方案的工作原理在于:香猪需要进食时,饲养员将香猪赶入过渡通道中,由于过渡通道的宽度为40-80cm,所以过渡通道只能并排容纳一只香猪,香猪进入过渡通道后就会排列成队。启动第一传送带装置和运输单元,第一传送带装置上的隔板会将香猪向前推动,相邻两个隔板的间距为60-110cm,所以相邻两个隔板之间只能容纳一只香猪,隔板就能够将所有香猪全部隔开。运输单元启动后,饲养员不断向运输单元上放置盛装有饲料的饲料盒,香猪就能够进食,最终实现所有香猪全部分开进食。The working principle of this basic scheme is: when the fragrant pig needs to eat, the breeder drives the fragrant pig into the transition channel. Since the width of the transition channel is 40-80cm, the transition channel can only accommodate one fragrant pig side by side, and the fragrant pig enters After the transition channel, they will line up. Start the first conveyor belt device and the transport unit, the partitions on the first conveyor belt device will push the pig forward, and the distance between the two adjacent partitions is 60-110cm, so the space between the two adjacent partitions can only accommodate One fragrant pig, the partition can separate all fragrant pigs. After the transport unit is started, the breeder keeps placing the feed box containing the feed on the transport unit, and the fragrant pigs can eat, and finally all the fragrant pigs eat separately.
本基础方案的有益效果在于:本方案中,当饲养员没有在运输单元上放置饲料盒时,香猪没有看到饲料,所以不会发生争抢食物的情况。当香猪进入到两个隔板之间的空间后,饲养员将饲料盒放置到运输单元上,即使此时其他香猪看到或嗅到饲料,这些香猪也会被隔板阻挡住,无法争抢食物。所以采用本方案能够实现香猪分开单独进食,保证每只香猪进食量都相同。The beneficial effect of this basic scheme is: in this scheme, when the breeder does not place the feed box on the transport unit, the fragrant pig does not see the feed, so there will be no competition for food. When the fragrant pigs enter the space between the two partitions, the breeder places the feed box on the transport unit. Even if other fragrant pigs see or smell the feed at this time, these fragrant pigs will be blocked by the partitions. Unable to scramble for food. Therefore, the use of this scheme can realize that the fragrant pigs eat separately and ensure that each fragrant pig eats the same amount.
进一步,所述第一传送带装置还包括主动轮和电机,电机的输出端与主动轮同轴连接,电机的输出端上还设有第一锥齿轮,过渡通道的底部转动连接有齿轮轴,齿轮轴上设有第二锥齿轮,第二锥齿轮与第一锥齿轮啮合,齿轮轴上还设有第一直齿轮,所述运输单元包括第二传送带装置,第二传送带装置包括带轮和第二传送带,所述第二传送带水平设置,所述带轮上同轴连接有第二直齿轮,第二直齿轮与第一直齿轮啮合。电机带动主动轮和第一锥齿轮转动。主动轮转动时能够带动第一传送带移动。第一锥齿轮转动时带动第一锥齿轮转动,第二锥齿轮带动齿轮轴和第一直齿轮转动,第一直齿轮带动第二直齿轮转动,第二直齿轮带动带轮转动,带轮带动第二传送带移动,此时饲养员只需将盛装好饲料的饲料盒放置到第二传送带上即可。Further, the first conveyor belt device also includes a driving wheel and a motor, the output end of the motor is coaxially connected to the driving wheel, the output end of the motor is also provided with a first bevel gear, the bottom of the transition channel is rotatably connected with a gear shaft, and the gear shaft is rotatably connected to the bottom of the transition channel. The shaft is provided with a second bevel gear, the second bevel gear meshes with the first bevel gear, and the gear shaft is also provided with a first spur gear, the transport unit includes a second conveyor belt device, and the second conveyor belt device includes a pulley and a first Two conveyor belts, the second conveyor belt is arranged horizontally, a second spur gear is coaxially connected to the pulley, and the second spur gear meshes with the first spur gear. The motor drives the driving wheel and the first bevel gear to rotate. When the driving wheel rotates, it can drive the first conveyor belt to move. When the first bevel gear rotates, it drives the first bevel gear to rotate, the second bevel gear drives the gear shaft and the first spur gear to rotate, the first spur gear drives the second spur gear to rotate, the second spur gear drives the pulley to rotate, and the pulley drives The second conveyor belt moves, and the breeder only needs to place the feed box containing the feed on the second conveyor belt.
进一步,所述第一传送带上设有若干供香猪穿过的出口,每个出口分别位于相邻两个隔板之间,所述主围栏靠近第一传送带的一侧设有若干可开关的门体,所述门体能够与出口连通,所述支架上设有支撑板,支撑板位于第一传送带的下方,且支撑板的其中一个侧壁与进食通道的底部接触,支撑板的另一个侧壁与主围栏的底部接触。采用本方案,当香猪进食完后,打开门体,香猪能够通过出口而进入到主围栏中。Further, the first conveyor belt is provided with a number of outlets for the fragrant pigs to pass through, each outlet is located between two adjacent partitions, and the side of the main fence close to the first conveyor belt is provided with a number of switchable switches. A door body, the door body can communicate with the outlet, a support plate is arranged on the bracket, the support plate is located below the first conveyor belt, and one of the side walls of the support plate is in contact with the bottom of the feeding passage, and the other side of the support plate The side walls are in contact with the bottom of the main fence. With this scheme, when the fragrant pig finishes eating, the door is opened, and the fragrant pig can enter the main fence through the exit.
进一步,所述门体包括气缸、挡板、连通口,所述气缸和连通口均设置在主围栏的侧壁上,所述连通口位于气缸的下方,连通口与出口连通,所述挡板设置在气缸的伸缩端上且能够遮挡连通口,所述进食通道靠近第二传送带的一侧上设有开关,开关位于第二传送带远离过渡通道的一端的上方,且开关与饲料盒齐平。采用本方案,当饲养员放置的第一个饲料盒运动到第二传送带的末端时,该饲料盒能够触碰到开关,此时,气缸的伸缩端缩回,挡板将连通口露出,香猪进食完成后就能够从出口走向连通口并走进主围栏中。Further, the door body includes a cylinder, a baffle plate and a communication port, the cylinder and the communication port are both arranged on the side wall of the main fence, the communication port is located below the cylinder, the communication port is communicated with the outlet, and the baffle plate It is arranged on the telescopic end of the air cylinder and can cover the communication port. The side of the feeding channel close to the second conveyor belt is provided with a switch. The switch is located above the end of the second conveyor belt away from the transition channel, and the switch is flush with the feed box. With this solution, when the first feed box placed by the breeder moves to the end of the second conveyor belt, the feed box can touch the switch. At this time, the telescopic end of the cylinder is retracted, the baffle plate exposes the communication port, and the fragrance After the pigs have finished eating, they can walk from the exit to the communication port and into the main pen.
进一步,所述支撑板上设有若干喷洒机构,所述喷洒机构包括盛装消毒液的U型管,所述U型管嵌入并固定设置在支撑板内,U型管的两个开口端平齐,且U型管的两个开口端内均滑动密封有滑块,滑块上设有若干通孔,所有通孔的下端均连通,滑块的底端设有出液管,出液管与所有通孔的下端均连通,出液管的底部密封且其侧壁开口进液口,出液管的底部设有弹簧,弹簧的底端固接在U型管内,所述U型管内固定设有挡块,挡块密封出液口,U型管内还设有可以连通U型管两端的连通管。采用本方案,当香猪在支撑板上行走时,香猪会不断踩踏U型管上的滑块。由于香猪行走时,两个前蹄和后蹄不会同时向前跨出,所以香猪只会踩踏到U型管上其中一个滑块。当该滑块向下移动时,滑块会带动出液管下移,出液管的进液口被挡块阻挡,所以出液管无法从进液管吸入液体。滑块下移时会推动空气并将空气推入U型管的另一端,所以另一个滑块会向上移动,此时进液口露出,空气在推动另一个滑块时还会推动消毒液从该滑块的出液管中喷出,进而对香猪进行消毒处理。Further, the support plate is provided with a number of spraying mechanisms, the spraying mechanism includes a U-shaped pipe containing the disinfectant, the U-shaped pipe is embedded and fixed in the support plate, and the two open ends of the U-shaped pipe are flush. , and the two open ends of the U-shaped pipe are slidably sealed with sliders, the slider is provided with a number of through holes, the lower ends of all through holes are connected, and the bottom end of the slider is provided with a liquid outlet pipe, which is connected to the The lower ends of all through holes are connected, the bottom of the liquid outlet pipe is sealed and the side wall of the liquid outlet pipe is open with a liquid inlet, the bottom of the liquid outlet pipe is provided with a spring, and the bottom end of the spring is fixedly connected in the U-shaped pipe, and the U-shaped pipe is fixed with a There is a block, the block seals the liquid outlet, and the U-shaped pipe is also provided with a communication pipe that can communicate with both ends of the U-shaped pipe. With this scheme, when the pig walks on the support plate, the pig will constantly step on the slider on the U-shaped tube. Since the two front and rear hooves will not step forward at the same time when the pig walks, the pig will only step on one of the sliders on the U-shaped tube. When the slider moves downward, the slider will drive the liquid outlet pipe to move down, and the liquid inlet of the liquid outlet pipe is blocked by the block, so the liquid outlet pipe cannot suck liquid from the liquid inlet pipe. When the slider moves down, it will push the air and push the air into the other end of the U-shaped tube, so the other slider will move up, and the liquid inlet will be exposed at this time, and the air will also push the disinfectant from The liquid outlet pipe of the slider is sprayed out, and then the fragrant pig is sterilized.
进一步,所述隔板上贴有饲料的图画。采用本方案,饲料的图画能够吸引香猪主动前进。Further, a picture of feed is posted on the partition. With this scheme, the picture of the feed can attract pigs to move forward actively.
附图说明Description of drawings
图1为实施例香猪饲养栏的横向剖视图;Fig. 1 is the transverse sectional view of embodiment fragrant pig feeding bar;
图2为门体的结构示意图;Fig. 2 is the structural representation of door body;
图3为图1中进食通道的结构示意图;Fig. 3 is the structural representation of the feeding channel in Fig. 1;
图4为图3中支撑板的结构示意图;Fig. 4 is the structural representation of the support plate in Fig. 3;
图5为图4中U型管的纵剖视图。FIG. 5 is a longitudinal sectional view of the U-shaped pipe in FIG. 4 .
具体实施方式Detailed ways
下面通过具体实施方式对本发明作进一步详细的说明:The present invention is described in further detail below by specific embodiments:
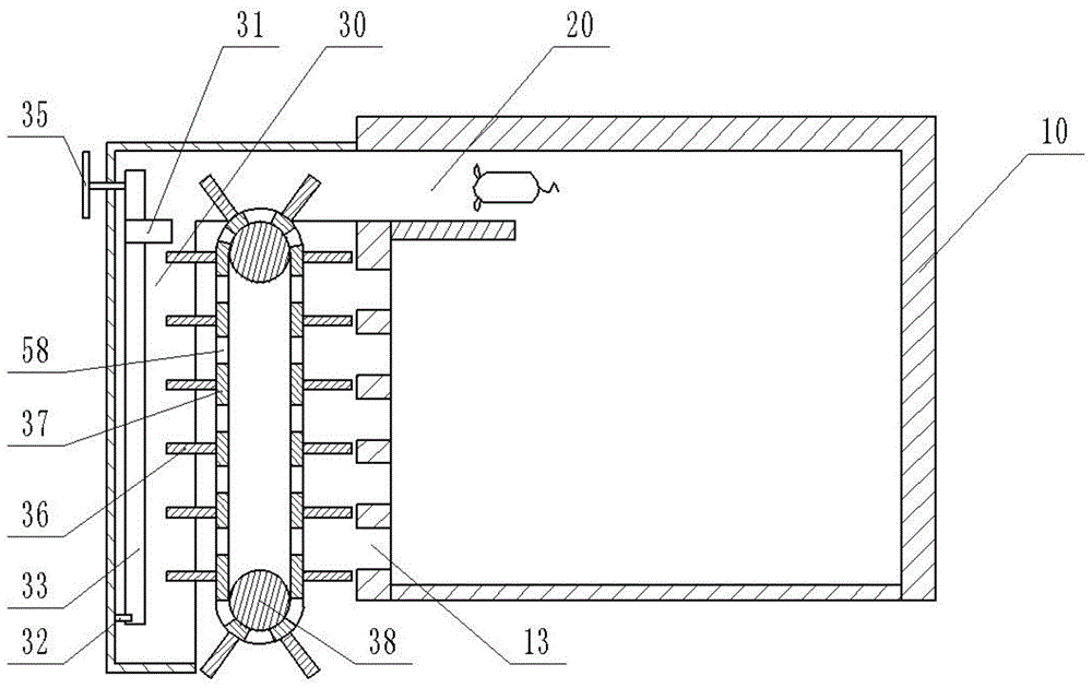
说明书附图中的附图标记包括:主围栏10、挡板11、气缸12、连通口13、过渡通道20、进食通道30、饲料盒31、开关32、第二传送带33、带轮34、第二直齿轮35、隔板36、第一传送带37、主动轮38、支架40、支撑板41、电机42、第一锥齿轮43、齿轮轴44、第二锥齿轮45、第一直齿轮46、U型管50、滑块51、挡块52、弹簧53、出液管54、连通管55、限位块56、喷孔57、出口58。Reference numerals in the drawings include:
如图1、图2所示,本实施例香猪饲养栏,包括主围栏10。主围栏10的左侧壁上设有若干门体,门体包括挡板11、气缸12和连通口13,气缸12和连通口13均设置在主围栏10的侧壁上,且气缸12位于连通口13上方,挡板11固接在气缸12的伸缩端上,且气缸12伸缩端可上下伸缩。主围栏10的左壁连通有过渡通道20。过渡通道20的宽度为80cm,其的左端连通有进食通道30,进食通道30与主围栏10平行,且其内设有运输单元。进食通道30的侧壁上还设有窗口,饲养员可从窗口中向运输单元上放置饲料盒31。如图3所示,运输单元包括第二传送带33装置,第二传送带33装置包括第二传送带33和带轮34,带轮34上设有转轴,转轴上设有第二直齿轮35。第二传送带33装置的末端上方设有开关32,开关32固接在进食通道30的侧壁上,开关32用于控制气缸12开启。进食通道30与主围栏10之间设有驱赶机构,驱赶机构包括支架40,支架40上固接有支撑板41,支撑板41的左右两端分别与进食通道30和主围栏10接触。驱赶机构还包括电机42,电机42的输出端穿过支撑板41,且转动连接在支撑板41上。电机42输出端上设有第一锥齿轮43,第一锥齿轮43位于支撑板41下方,第一锥齿轮43上啮合有第二锥齿轮45,第二锥齿轮45上设有齿轮轴44,齿轮轴44转动连接在进食通道30的侧壁上。齿轮轴44上还同轴设有第一直齿轮46,第一直齿轮46与第二直齿轮35啮合。电机42输出端上还同轴设有主动轮38,主动轮38位于支撑板41上方,主动轮38上缠绕设有第一传送带37,第一传送带37上设有若干隔板36,隔板36的长度为60cm,相邻两个隔板36的间距为100cm,隔板36上贴有饲料的图画。过渡通道20和进食通道30靠近第一传送带37的一端均设有开口且隔板36能够伸入到过渡通道20和进食通道30中。第一传送带37上设有若干供香猪穿过的出口58,每个出口58分别位于相邻两个隔板36之间。如图4所示,支撑板41上设有若干喷洒机构,喷洒机构包括盛装消毒液的U型管50,U型管50嵌入并固定设置在支撑板41内。如图5所示,U型管50的两个开口端平齐,两个开口端的顶端设有限位块56。两个开口端内还设有滑块51,滑块51的底端设有凸缘,凸缘滑动密封在开口端内。滑动上设有若干通孔,所有通孔的下端均连通,滑块51的底端设有出液管54,出液管54与所有通孔的下端均连通。出液管54的底部密封且其侧壁开口进液口,出液管54的底部设有弹簧53,弹簧53的底端固接在U型管50内,U型管50内固定设有能够阻挡进液口的挡块52,U型管50内还设有可以连通U型管50两端的连通管55,连通管55位于消毒液的液面之上。As shown in FIG. 1 and FIG. 2 , the fragrant pig breeding pen in this embodiment includes a
具体实施时,香猪进食前,饲养员先将香猪赶入过渡通道20中。然后启动电机42,电机42带动主动轮38转动,主动轮38带动第一传送带37和第一传送带37上的隔板36移动。香猪看到隔板36上的饲料图画时,会随着隔板36向前走。由于相邻两个隔板36之间的距离为100cm,只能容纳一个香猪,所以隔板36能够将前后两个香猪隔开。电机42转动时还会带动第一锥齿轮43转动,第一锥齿轮43带动第二锥齿轮45转动,第二锥齿轮45带动第一直齿轮46转动,第一直齿轮46带动第二直齿轮35转动,第二直齿轮35带动带轮34转动,带轮34带动第二传送带33移动,饲养员将饲料盒31放置在第二传送带33上,香猪就能够单独进食。当饲养员放置的第一个饲料盒31移动到开关32附近,并触碰开关32后,此时关闭电机42,开关32会控制气缸12启动,气缸12伸缩端带动挡板11向上移动,连通口13露出。香猪进食完后,能够从第一传送带37的出口58中进入到支撑板41,再从另一个出口58和连通口13走入主围栏10中。当香猪在支撑板41上行走时,两个前蹄和后蹄不会同时向前跨出,所以香猪只会踩踏到U型管50上其中一个滑块51。当该滑块51向下移动时,滑块51会带动出液管54下移,出液管54的进液口被挡块52阻挡,所以出液管54无法从进液管吸入液体。滑块51下移时会推动空气并将空气推入U型管50的另一端,所以另一个滑块51会向上移动,此时该滑块51上出液管54的进液口露出。同时,另一个滑块51被限位块56阻挡住,所以空气只能推动消毒液从该滑块51的出液管54中喷出,进而对香猪进行消毒处理。当香猪全部进入到主围栏10后,控制电机42反转,第二传送带反向传送,饲料盒31与开关32分离,饲养员从窗口中将饲料盒31收回。控制气缸12的伸缩端伸出,挡板11将连通口13挡住,防止香猪进入到支撑板41上。In a specific implementation, before the fragrant pigs eat, the breeder drives the fragrant pigs into the
以上所述的仅是本发明的实施例,方案中公知的具体结构及特性等常识在此未作过多描述。应当指出,对于本领域的技术人员来说,在不脱离本发明结构的前提下,还可以作出若干变形和改进,这些也应该视为本发明的保护范围,这些都不会影响本发明实施的效果和专利的实用性。The above descriptions are only embodiments of the present invention, and common knowledge such as well-known specific structures and characteristics in the solution are not described too much here. It should be pointed out that for those skilled in the art, some modifications and improvements can be made without departing from the structure of the present invention. These should also be regarded as the protection scope of the present invention, and these will not affect the implementation of the present invention. Effectiveness and utility of patents.
Claims (6)
Priority Applications (1)
| Application Number | Priority Date | Filing Date | Title |
|---|---|---|---|
| CN201810469574.1A CN108770704B (en) | 2018-05-16 | 2018-05-16 | Fragrant pig feeding bar |
Applications Claiming Priority (1)
| Application Number | Priority Date | Filing Date | Title |
|---|---|---|---|
| CN201810469574.1A CN108770704B (en) | 2018-05-16 | 2018-05-16 | Fragrant pig feeding bar |
Publications (2)
| Publication Number | Publication Date |
|---|---|
| CN108770704A CN108770704A (en) | 2018-11-09 |
| CN108770704B true CN108770704B (en) | 2020-12-11 |
Family
ID=64027200
Family Applications (1)
| Application Number | Title | Priority Date | Filing Date |
|---|---|---|---|
| CN201810469574.1A Active CN108770704B (en) | 2018-05-16 | 2018-05-16 | Fragrant pig feeding bar |
Country Status (1)
| Country | Link |
|---|---|
| CN (1) | CN108770704B (en) |
Families Citing this family (1)
| Publication number | Priority date | Publication date | Assignee | Title |
|---|---|---|---|---|
| CN112931272B (en) * | 2021-03-23 | 2022-06-28 | 海南浙江大学研究院 | Improve pork pig lean meat percentage and resistant fodder of coarse fodder and feed equipment |
Citations (8)
| Publication number | Priority date | Publication date | Assignee | Title |
|---|---|---|---|---|
| EP1041872A1 (en) * | 1997-10-09 | 2000-10-11 | Johannes Martinus Willibrordus Weelink | Feeding fence |
| CN201384051Y (en) * | 2009-05-07 | 2010-01-20 | 孙春雨 | Mobile operation livestock poultry feed processing machine |
| DE102015100279A1 (en) * | 2015-01-09 | 2016-07-14 | Magnus Kraft | Device for providing food for an animal |
| CN205848276U (en) * | 2016-08-10 | 2017-01-04 | 漳浦县康壮养殖有限公司 | A kind of modified model swinery |
| CN107660476A (en) * | 2016-07-30 | 2018-02-06 | 重庆市潼南区恒态生猪养殖有限公司 | A kind of pig house feed supply system |
| CN107660478A (en) * | 2016-07-30 | 2018-02-06 | 重庆市潼南区恒态生猪养殖有限公司 | Quantitative fodder thrower for pig-breeding |
| CN207235739U (en) * | 2017-08-08 | 2018-04-17 | 广元市虹汇种养殖专业合作社 | A kind of pig house for being easy to catch up with pig |
| CN207252527U (en) * | 2017-10-17 | 2018-04-20 | 毛丽娟 | A kind of sheep pig farm entrance disinfectant anti-epidemic pad |
Family Cites Families (4)
| Publication number | Priority date | Publication date | Assignee | Title |
|---|---|---|---|---|
| NL2005203C2 (en) * | 2010-08-06 | 2012-02-07 | Schippers Europ B V | METHOD FOR FEEDING BIGGEN. |
| CN103651164B (en) * | 2013-12-26 | 2015-10-21 | 广东东江畜牧股份有限公司 | Feed pigs device and intelligence of intelligence feeds pigs method |
| CN205694895U (en) * | 2016-03-23 | 2016-11-23 | 张艳艳 | One boar cultivation cellular-type automatic feeding trough |
| JP2018093814A (en) * | 2016-12-15 | 2018-06-21 | 修二 細木 | Pet toilet device |
-
2018
- 2018-05-16 CN CN201810469574.1A patent/CN108770704B/en active Active
Patent Citations (8)
| Publication number | Priority date | Publication date | Assignee | Title |
|---|---|---|---|---|
| EP1041872A1 (en) * | 1997-10-09 | 2000-10-11 | Johannes Martinus Willibrordus Weelink | Feeding fence |
| CN201384051Y (en) * | 2009-05-07 | 2010-01-20 | 孙春雨 | Mobile operation livestock poultry feed processing machine |
| DE102015100279A1 (en) * | 2015-01-09 | 2016-07-14 | Magnus Kraft | Device for providing food for an animal |
| CN107660476A (en) * | 2016-07-30 | 2018-02-06 | 重庆市潼南区恒态生猪养殖有限公司 | A kind of pig house feed supply system |
| CN107660478A (en) * | 2016-07-30 | 2018-02-06 | 重庆市潼南区恒态生猪养殖有限公司 | Quantitative fodder thrower for pig-breeding |
| CN205848276U (en) * | 2016-08-10 | 2017-01-04 | 漳浦县康壮养殖有限公司 | A kind of modified model swinery |
| CN207235739U (en) * | 2017-08-08 | 2018-04-17 | 广元市虹汇种养殖专业合作社 | A kind of pig house for being easy to catch up with pig |
| CN207252527U (en) * | 2017-10-17 | 2018-04-20 | 毛丽娟 | A kind of sheep pig farm entrance disinfectant anti-epidemic pad |
Also Published As
| Publication number | Publication date |
|---|---|
| CN108770704A (en) | 2018-11-09 |
Similar Documents
| Publication | Publication Date | Title |
|---|---|---|
| CN109526790B (en) | Self-cleaning poultry cage free of water adding | |
| EP0609057A2 (en) | Chicken rearing apparatus | |
| CN203692134U (en) | Piglet conservation fence | |
| CN115104549A (en) | A multi-level, intelligent and environmentally friendly meat and water poultry breeding structure | |
| CN109220884B (en) | Laying hen welfare farming systems | |
| CN108770704B (en) | Fragrant pig feeding bar | |
| US3585968A (en) | Rack for automatic care of laboratory animals | |
| US3662714A (en) | Structure for housing animals | |
| CN106577321A (en) | Bamboo rat breeding cage capable of achieving automatic feeding | |
| CN106070011B (en) | Mixed breeding method for breeding boars | |
| CN210612560U (en) | Cowshed cleaning and sterilizing device | |
| CN218113599U (en) | Forest musk deer transfer box | |
| CN219230248U (en) | A disinfection device for animal husbandry and veterinary breeding | |
| CN107616112B (en) | Cleaning method between horns | |
| CN213992006U (en) | A comfortable and convenient cowshed for small group feeding | |
| CN210869281U (en) | Pig feed trough for animal husbandry | |
| CN210538053U (en) | Livestock breeding cub breeding box with good disinfection effect | |
| DE1110463B (en) | Facility for cattle sheds | |
| CN209120927U (en) | A pet cage that prevents peculiar smell and facilitates cleaning of feces | |
| CN206333152U (en) | A kind of being used for motor function raises the facility of big-ear Nubia kind sheep | |
| CN209749404U (en) | Beef cattle breeding colony house | |
| CN218736502U (en) | Special ox cub nursing device for cattle raising in cattle farm | |
| RU174935U1 (en) | Small-sized reproducing pigsty | |
| CN219108414U (en) | Sick pig isolation equipment for small-ear pig breeding | |
| CN218218688U (en) | Excrement and urine deodorizing device for pig house |
Legal Events
| Date | Code | Title | Description |
|---|---|---|---|
| PB01 | Publication | ||
| PB01 | Publication | ||
| SE01 | Entry into force of request for substantive examination | ||
| SE01 | Entry into force of request for substantive examination | ||
| TA01 | Transfer of patent application right |
Effective date of registration: 20201125 Address after: 4 / F, building 2, No. 299, Jiangxian Road, Yuxin Town, Nanhu District, Jiaxing City, Zhejiang Province, 314000 Applicant after: JIAXING CHUHAN ELECTRICAL APPLIANCE Co.,Ltd. Address before: 564302 Guizhou city in Zunyi Province, Wuchuan yilao and Miao Autonomous County Fu Yang Zhen Fu Yang Cun Applicant before: WUCHUAN COUNTY FUYANG TOWN XIAOXIA BREEDING PROFESSIONAL COOPERATIVE |
|
| TA01 | Transfer of patent application right | ||
| GR01 | Patent grant | ||
| GR01 | Patent grant | ||
| TR01 | Transfer of patent right |
Effective date of registration: 20250603 Address after: 401520 Chongqing Hechuan District Taihe Town Shiyad Cun Seventh Group Patentee after: Chongqing Hechuan District Hongkang Agricultural Development Co.,Ltd. Country or region after: China Address before: 4 / F, building 2, No. 299, Jiangxian Road, Yuxin Town, Nanhu District, Jiaxing City, Zhejiang Province, 314000 Patentee before: JIAXING CHUHAN ELECTRICAL APPLIANCE CO.,LTD. Country or region before: China |
|
| TR01 | Transfer of patent right |
