CN108743291B - 一种医疗用专用于腿部瘫痪按摩设备 - Google Patents

一种医疗用专用于腿部瘫痪按摩设备 Download PDF

Info

Publication number
CN108743291B
CN108743291B CN201810538684.9A CN201810538684A CN108743291B CN 108743291 B CN108743291 B CN 108743291B CN 201810538684 A CN201810538684 A CN 201810538684A CN 108743291 B CN108743291 B CN 108743291B
Authority
CN
China
Prior art keywords
bearing
rod
support rod
swing seat
bracket
Prior art date
Legal status (The legal status is an assumption and is not a legal conclusion. Google has not performed a legal analysis and makes no representation as to the accuracy of the status listed.)
Expired - Fee Related
Application number
CN201810538684.9A
Other languages
English (en)
Other versions
CN108743291A (zh
Inventor
文建
贾鸿涛
Current Assignee (The listed assignees may be inaccurate. Google has not performed a legal analysis and makes no representation or warranty as to the accuracy of the list.)
Second Affiliated Hospital of Army Medical University
Original Assignee
Individual
Priority date (The priority date is an assumption and is not a legal conclusion. Google has not performed a legal analysis and makes no representation as to the accuracy of the date listed.)
Filing date
Publication date
Application filed by Individual filed Critical Individual
Priority to CN201810538684.9A priority Critical patent/CN108743291B/zh
Publication of CN108743291A publication Critical patent/CN108743291A/zh
Application granted granted Critical
Publication of CN108743291B publication Critical patent/CN108743291B/zh
Expired - Fee Related legal-status Critical Current
Anticipated expiration legal-status Critical

Links

Images

Classifications

    • AHUMAN NECESSITIES
    • A61MEDICAL OR VETERINARY SCIENCE; HYGIENE
    • A61HPHYSICAL THERAPY APPARATUS, e.g. DEVICES FOR LOCATING OR STIMULATING REFLEX POINTS IN THE BODY; ARTIFICIAL RESPIRATION; MASSAGE; BATHING DEVICES FOR SPECIAL THERAPEUTIC OR HYGIENIC PURPOSES OR SPECIFIC PARTS OF THE BODY
    • A61H15/00Massage by means of rollers, balls, e.g. inflatable, chains, or roller chains
    • A61H15/0078Massage by means of rollers, balls, e.g. inflatable, chains, or roller chains power-driven
    • AHUMAN NECESSITIES
    • A61MEDICAL OR VETERINARY SCIENCE; HYGIENE
    • A61HPHYSICAL THERAPY APPARATUS, e.g. DEVICES FOR LOCATING OR STIMULATING REFLEX POINTS IN THE BODY; ARTIFICIAL RESPIRATION; MASSAGE; BATHING DEVICES FOR SPECIAL THERAPEUTIC OR HYGIENIC PURPOSES OR SPECIFIC PARTS OF THE BODY
    • A61H1/00Apparatus for passive exercising; Vibrating apparatus; Chiropractic devices, e.g. body impacting devices, external devices for briefly extending or aligning unbroken bones
    • A61H1/02Stretching or bending or torsioning apparatus for exercising
    • A61H1/0237Stretching or bending or torsioning apparatus for exercising for the lower limbs
    • AHUMAN NECESSITIES
    • A63SPORTS; GAMES; AMUSEMENTS
    • A63BAPPARATUS FOR PHYSICAL TRAINING, GYMNASTICS, SWIMMING, CLIMBING, OR FENCING; BALL GAMES; TRAINING EQUIPMENT
    • A63B21/00Exercising apparatus for developing or strengthening the muscles or joints of the body by working against a counterforce, with or without measuring devices
    • A63B21/02Exercising apparatus for developing or strengthening the muscles or joints of the body by working against a counterforce, with or without measuring devices using resilient force-resisters
    • A63B21/055Exercising apparatus for developing or strengthening the muscles or joints of the body by working against a counterforce, with or without measuring devices using resilient force-resisters extension element type
    • AHUMAN NECESSITIES
    • A63SPORTS; GAMES; AMUSEMENTS
    • A63BAPPARATUS FOR PHYSICAL TRAINING, GYMNASTICS, SWIMMING, CLIMBING, OR FENCING; BALL GAMES; TRAINING EQUIPMENT
    • A63B23/00Exercising apparatus specially adapted for particular parts of the body
    • A63B23/035Exercising apparatus specially adapted for particular parts of the body for limbs, i.e. upper or lower limbs, e.g. simultaneously
    • A63B23/12Exercising apparatus specially adapted for particular parts of the body for limbs, i.e. upper or lower limbs, e.g. simultaneously for upper limbs or related muscles, e.g. chest, upper back or shoulder muscles
    • AHUMAN NECESSITIES
    • A61MEDICAL OR VETERINARY SCIENCE; HYGIENE
    • A61HPHYSICAL THERAPY APPARATUS, e.g. DEVICES FOR LOCATING OR STIMULATING REFLEX POINTS IN THE BODY; ARTIFICIAL RESPIRATION; MASSAGE; BATHING DEVICES FOR SPECIAL THERAPEUTIC OR HYGIENIC PURPOSES OR SPECIFIC PARTS OF THE BODY
    • A61H15/00Massage by means of rollers, balls, e.g. inflatable, chains, or roller chains
    • A61H2015/0007Massage by means of rollers, balls, e.g. inflatable, chains, or roller chains with balls or rollers rotating about their own axis
    • A61H2015/0028Massage by means of rollers, balls, e.g. inflatable, chains, or roller chains with balls or rollers rotating about their own axis disc-like, i.e. diameter substantially greater than width
    • A61H2015/0035Massage by means of rollers, balls, e.g. inflatable, chains, or roller chains with balls or rollers rotating about their own axis disc-like, i.e. diameter substantially greater than width multiple on the same axis
    • AHUMAN NECESSITIES
    • A61MEDICAL OR VETERINARY SCIENCE; HYGIENE
    • A61HPHYSICAL THERAPY APPARATUS, e.g. DEVICES FOR LOCATING OR STIMULATING REFLEX POINTS IN THE BODY; ARTIFICIAL RESPIRATION; MASSAGE; BATHING DEVICES FOR SPECIAL THERAPEUTIC OR HYGIENIC PURPOSES OR SPECIFIC PARTS OF THE BODY
    • A61H2201/00Characteristics of apparatus not provided for in the preceding codes
    • A61H2201/12Driving means
    • A61H2201/1207Driving means with electric or magnetic drive
    • AHUMAN NECESSITIES
    • A61MEDICAL OR VETERINARY SCIENCE; HYGIENE
    • A61HPHYSICAL THERAPY APPARATUS, e.g. DEVICES FOR LOCATING OR STIMULATING REFLEX POINTS IN THE BODY; ARTIFICIAL RESPIRATION; MASSAGE; BATHING DEVICES FOR SPECIAL THERAPEUTIC OR HYGIENIC PURPOSES OR SPECIFIC PARTS OF THE BODY
    • A61H2201/00Characteristics of apparatus not provided for in the preceding codes
    • A61H2201/12Driving means
    • A61H2201/1253Driving means driven by a human being, e.g. hand driven
    • A61H2201/1261Driving means driven by a human being, e.g. hand driven combined with active exercising of the patient
    • AHUMAN NECESSITIES
    • A61MEDICAL OR VETERINARY SCIENCE; HYGIENE
    • A61HPHYSICAL THERAPY APPARATUS, e.g. DEVICES FOR LOCATING OR STIMULATING REFLEX POINTS IN THE BODY; ARTIFICIAL RESPIRATION; MASSAGE; BATHING DEVICES FOR SPECIAL THERAPEUTIC OR HYGIENIC PURPOSES OR SPECIFIC PARTS OF THE BODY
    • A61H2201/00Characteristics of apparatus not provided for in the preceding codes
    • A61H2201/16Physical interface with patient
    • A61H2201/1602Physical interface with patient kind of interface, e.g. head rest, knee support or lumbar support
    • A61H2201/164Feet or leg, e.g. pedal
    • A61H2201/1642Holding means therefor
    • AHUMAN NECESSITIES
    • A61MEDICAL OR VETERINARY SCIENCE; HYGIENE
    • A61HPHYSICAL THERAPY APPARATUS, e.g. DEVICES FOR LOCATING OR STIMULATING REFLEX POINTS IN THE BODY; ARTIFICIAL RESPIRATION; MASSAGE; BATHING DEVICES FOR SPECIAL THERAPEUTIC OR HYGIENIC PURPOSES OR SPECIFIC PARTS OF THE BODY
    • A61H2205/00Devices for specific parts of the body
    • A61H2205/10Leg

Landscapes

  • Health & Medical Sciences (AREA)
  • General Health & Medical Sciences (AREA)
  • Physical Education & Sports Medicine (AREA)
  • Life Sciences & Earth Sciences (AREA)
  • Orthopedic Medicine & Surgery (AREA)
  • Animal Behavior & Ethology (AREA)
  • Rehabilitation Therapy (AREA)
  • Pain & Pain Management (AREA)
  • Public Health (AREA)
  • Veterinary Medicine (AREA)
  • Epidemiology (AREA)
  • Biophysics (AREA)
  • Massaging Devices (AREA)

Abstract

本发明涉及一种按摩设备,尤其涉及一种医疗用专用于腿部瘫痪按摩设备。技术问题为:提供一种能对瘫痪病人腿部进行有效按摩的医疗用专用于腿部瘫痪按摩设备。本发明的技术方案是:一种医疗用专用于腿部瘫痪按摩设备,包括有底座、第一支架、第一摆动座、第二摆动座、支撑板、橡皮垫、第一按摩轮、第一带轮、第一电机、第二按摩轮等;底座顶部右侧设有第一支架,第一支架顶部设有第一摆动座,第一摆动座左端转动式设有第二摆动座,第二摆动座左端设有支撑板。本发明使医护人员可以通过启动第一电机带动第一按摩轮和第二按摩轮不断转动,从而使得瘫痪病人的腿部得到按摩,减少了医护人员的工作量。

Description

一种医疗用专用于腿部瘫痪按摩设备
技术领域
本发明涉及一种按摩设备,尤其涉及一种医疗用专用于腿部瘫痪按摩设备。
背景技术
医疗中文解释为医治和疾病的治疗。中华医史几千年,而这个字眼是在近几十年才出现,其实这是为了与国际接轨而新生的字眼,之前大多使用治疗。然而医疗也包含保健内容。
瘫痪是指主动随意运动的无力或不能。因脑卒中引起的瘫痪,大多是偏瘫、单肢瘫、以及两次发作累及双侧肢体瘫痪。病人常伴语言障碍,因球麻痹常有呛咳,或某种程度的智力下降。瘫痪是随意运动功能的减低或丧失,是神经系统常见的症状。瘫痪是上、下运动神经元、锥体束及周围神经病变所致。
腿部瘫痪病人由于丧失了下半身的运动能力,无法进行自主活动,需要卧床修养,而长期的卧床会导致瘫痪病人身体机能的下降和肌肉萎缩,因而每日都需要医护人员对瘫痪病人的腿部进行按摩以防止瘫痪病人腿部肌肉萎缩,而这样会增加医护人员的工作量,当病人过多时,会出现无法及时对瘫痪病人进行按摩的情况。
因此亟需研发一种能对瘫痪病人腿部进行有效按摩的按摩设备,来克服现有技术中医护人员无法对瘫痪病人腿部进行及时、长期的按摩的缺点。
发明内容
为了克服现有技术中医护人员无法对瘫痪病人腿部进行及时、长期的按摩的缺点,技术问题为:提供一种能对瘫痪病人腿部进行有效按摩的医疗用专用于腿部瘫痪按摩设备。
本发明的技术方案是:一种医疗用专用于腿部瘫痪按摩设备,包括有底座、第一支架、第一摆动座、第二摆动座、支撑板、橡皮垫、第一按摩轮、第一带轮、第一电机、第二按摩轮、第二带轮、皮带、轴承座、第一轴承、第一转轴、第一锥齿轮、坐垫、第一支杆、第二轴承、第二转轴、第二锥齿轮和揺柄,底座顶部右侧设有第一支架,第一支架顶部设有第一摆动座,第一摆动座左端转动式设有第二摆动座,第二摆动座左端设有支撑板,支撑板右端与第一支架顶部上下两侧均连接有橡皮垫,支撑板前壁右部开有第一凹槽,第一凹槽内的支撑板前壁转动式设有第一按摩轮,第一按摩轮前壁设有第一带轮,支撑板前壁左部开有第二凹槽,第二凹槽内的支撑板前壁设有第一电机,第一电机的输出轴上设有第二按摩轮,第二按摩轮前壁设有第二带轮,第二带轮与第一带轮之间绕有皮带,底座顶部右侧设有轴承座,第一支架位于轴承座左方,轴承座顶部设有第一轴承,第一轴承内过盈连接有第一转轴,第一转轴中部设有第一锥齿轮,第一转轴顶部设有坐垫,底座顶部右侧设有第一支杆,第一支杆位于轴承座右侧,第一支杆上部设有第二轴承,第二轴承内过盈连接有第二转轴,第二转轴左端设有第二锥齿轮,第二锥齿轮与第一锥齿轮相啮合,第二转轴右端设有揺柄。
此外,特别优选的是,还包括有第三摆动座、第二支杆、第三轴承、螺杆、螺母、转盘、第四摆动座、第一滑杆和第一滑套,支撑板底部左侧设有第三摆动座,第三摆动座右端转动式设有第二支杆,第二支杆中部设有第三轴承,第三轴承内过盈连接有螺杆,螺杆上通过螺纹连接的方式连接有螺母,螺杆右端设有转盘,第一支架左侧面上部设有第四摆动座,第四摆动座左端转动式设有第一滑杆,第一滑杆上滑动式设有第一滑套,第一滑套底部与螺母顶部相连接。
此外,特别优选的是,还包括有第二支架、第三支杆、第二滑杆、第二滑套、弹簧、第一拉绳和第一把手,底座顶部左侧设有第二支架,第二支架顶部右侧设有第三支杆,第三支杆右侧面上部倾斜设有第二滑杆,第二滑杆上滑动式设有第二滑套,第二滑套左侧面下部与第三支杆右侧面之间连接有弹簧,第二滑套右侧面上部设有第一拉绳,第一拉绳右端设有第一把手。
此外,特别优选的是,还包括有第四支杆、第五支杆和销杆,底座顶部右侧左右两方均设有第四支杆,左侧的第四支杆位于第一支架右侧,右侧的第四支杆位于第一轴承座左侧,左右两侧的第四支杆上部均开有第一通孔,坐垫底部左侧设有第五支杆,第五支杆下部位于左右两侧的第四支杆之间,第五支杆下部开有第二通孔,左右两侧的第一通孔与第二通孔位于同一水平位置,左右两侧的第一通孔与第二通孔内设有销杆,销杆穿过左右两侧的第一通孔与第二通孔。
此外,特别优选的是,还包括有第六支杆、滚轮、第二拉绳和第二把手,第三支杆顶部设有第六支杆,第六支杆上设有滚轮,第二滑套左侧面上部设有第二拉绳,第二拉绳绕过滚轮,第二支架顶壁中间开有第三通孔,第二拉绳穿过第三通孔,第二拉绳上设有第二把手。
使用时,医护人员首先握住揺柄并顺时针转动,揺柄转动会通过第二转轴带动第二锥齿轮转动,第二锥齿轮转动会通过第一锥齿轮带动第一转轴逆时针转动,在第一转轴的带动下,坐垫会随之转动,当坐垫转动一定角度后,医护人员可以停止转动揺柄,再将瘫痪病人扶到坐垫上坐好,随后,医护人员可以再次握住揺柄并逆时针转动,揺柄转动会通过第二转轴带动第二锥齿轮转动,第二锥齿轮转动会通过第一锥齿轮带动第一转轴转动,在第一转轴的带动下,坐垫会随之逆时针转动,当坐垫回到原位后,医护人员可以停止转动揺柄,医护人员再将瘫痪病人的腿放到支撑板上,随后,医护人员可以启动第一电机,第一电机会通过输出轴带动第二按摩轮转动,在第二按摩轮的作用下,第二带轮会随之转动,第二带轮转动会通过皮带带动第一带轮转动,第一带轮会带动第一按摩轮转动,从而使得瘫痪病人的腿部得到按摩,当瘫痪病人按摩结束后,医护人员可以关闭第一电机,并将瘫痪病人的腿拿下来,医护人员再转动揺柄,坐垫会随之转动,当坐垫转动一定角度后,医护人员可以停止转动揺柄,并将瘫痪病人从坐垫上扶下来即可。
当瘫痪病人的腿部放置在支撑板上并需要调整支撑板的角度时,医护人员可以握住转盘并不断顺逆转动,此时,螺母会在螺杆上不断左右移动,螺母会带动第一滑套在第一滑杆上左右滑动,从而会使得支撑板会上下转动,当角度调整好后,医护人员停止转动转盘即可。
当瘫痪病人在进行腿部按摩时,瘫痪病人可以握住第一把手并向右拉动,第一把手会通过第一拉绳带动第二滑套向右滑动,此时,弹簧会被拉伸,当瘫痪病人放松第一把手时,弹簧会失去拉力而复位,在弹簧的作用下,第二滑套会向左滑动,瘫痪病人可以通过不断拉动和放松第一把手来进行手臂锻炼,当锻炼结束后,瘫痪病人松开第一把手即可。
当医护人员有事需要离开时,医护人员可以将销杆穿过左右两侧的第一通孔与第二通孔,从而将坐垫固定好,防止坐垫的摇晃,使得瘫痪病人受到意外伤害。
当瘫痪病人在进行腿部按摩前,医护人员可以将瘫痪病人的腿放到第二把手上,随后,瘫痪病人可以向右拉动第一把手,使得第一把手会通过第一拉绳带动第二滑套向右移动,弹簧会被拉伸,第二滑套会通过第二拉绳带动第二把手向上移动,当瘫痪病人放松第一把手时,弹簧会复位,使得第二滑套会向左移动,从而通过第二拉绳带动第二把手向下移动,瘫痪病人可以通过不断拉动和放松第一把手来带动第二把手不断上下移动,从而对瘫痪病人的腿部进行锻炼,当锻炼结束后,瘫痪病人可以松开第一把手,医护人员可以将瘫痪病人的腿放到支撑板上并进行按摩即可。
本发明使医护人员可以通过启动第一电机带动第一按摩轮和第二按摩轮不断转动,从而使得瘫痪病人的腿部得到按摩,减少了医护人员的工作量;瘫痪病人可以通过不断拉动和放松第一把手来进行手臂锻炼和腿部锻炼,使瘫痪病人得到有效的锻炼。
附图说明
图1为本发明的第一种主视结构示意图。
图2为本发明的第一种部分放大主视结构示意图。
图3为本发明的第二种主视结构示意图。
图4为本发明的第二种部分放大主视结构示意图。
图5为本发明的第三种主视结构示意图。
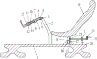
附图标记说明:1.底座,2.第一支架,3.第一摆动座,4.第二摆动座,5.支撑板,6.橡皮垫,7.第一凹槽,8.第一按摩轮,9.第一带轮,10.第二凹槽,11.第一电机,12.第二按摩轮,13.第二带轮,14.皮带,15.轴承座,16.第一轴承,17.第一转轴,18.第一锥齿轮,19.坐垫,20.第一支杆,21.第二轴承,22.第二转轴,23.第二锥齿轮,24.揺柄,25.第三摆动座,26.第二支杆,27.第三轴承,28.螺杆,29.螺母,30.转盘,31.第四摆动座,32.第一滑杆,33.第一滑套,34.第二支架,35.第三支杆,36.第二滑杆,37.第二滑套,38.弹簧,39.第一拉绳,40.第一把手,41.第四支杆,42.第一通孔,43.第五支杆,44.第二通孔,45.销杆,46.第六支杆,47.滚轮,48.第三通孔,49.第二拉绳,50.第二把手。
具体实施方式
在本文中提及实施例意味着,结合实施例描述的特定特征、结构或特性可以包含在本发明的至少一个实施例中。在说明书中的各个位置出现该短语并不一定均是指相同的实施例,也不是与其它实施例互斥的独立的或备选的实施例。本领域技术人员显式地和隐式地理解的是,本文所描述的实施例可以与其它实施例相结合。
实施例1
一种医疗用专用于腿部瘫痪按摩设备,如图1-5所示,包括有底座1、第一支架2、第一摆动座3、第二摆动座4、支撑板5、橡皮垫6、第一按摩轮8、第一带轮9、第一电机11、第二按摩轮12、第二带轮13、皮带14、轴承座15、第一轴承16、第一转轴17、第一锥齿轮18、坐垫19、第一支杆20、第二轴承21、第二转轴22、第二锥齿轮23和揺柄24,底座1顶部右侧设有第一支架2,第一支架2顶部设有第一摆动座3,第一摆动座3左端转动式设有第二摆动座4,第二摆动座4左端设有支撑板5,支撑板5右端与第一支架2顶部上下两侧均连接有橡皮垫6,支撑板5前壁右部开有第一凹槽7,第一凹槽7内的支撑板5前壁转动式设有第一按摩轮8,第一按摩轮8前壁设有第一带轮9,支撑板5前壁左部开有第二凹槽10,第二凹槽10内的支撑板5前壁设有第一电机11,第一电机11的输出轴上设有第二按摩轮12,第二按摩轮12前壁设有第二带轮13,第二带轮13与第一带轮9之间绕有皮带14,底座1顶部右侧设有轴承座15,第一支架2位于轴承座15左方,轴承座15顶部设有第一轴承16,第一轴承16内过盈连接有第一转轴17,第一转轴17中部设有第一锥齿轮18,第一转轴17顶部设有坐垫19,底座1顶部右侧设有第一支杆20,第一支杆20位于轴承座15右侧,第一支杆20上部设有第二轴承21,第二轴承21内过盈连接有第二转轴22,第二转轴22左端设有第二锥齿轮23,第二锥齿轮23与第一锥齿轮18相啮合,第二转轴22右端设有揺柄24。
实施例2
一种医疗用专用于腿部瘫痪按摩设备,如图1-5所示,包括有底座1、第一支架2、第一摆动座3、第二摆动座4、支撑板5、橡皮垫6、第一按摩轮8、第一带轮9、第一电机11、第二按摩轮12、第二带轮13、皮带14、轴承座15、第一轴承16、第一转轴17、第一锥齿轮18、坐垫19、第一支杆20、第二轴承21、第二转轴22、第二锥齿轮23和揺柄24,底座1顶部右侧设有第一支架2,第一支架2顶部设有第一摆动座3,第一摆动座3左端转动式设有第二摆动座4,第二摆动座4左端设有支撑板5,支撑板5右端与第一支架2顶部上下两侧均连接有橡皮垫6,支撑板5前壁右部开有第一凹槽7,第一凹槽7内的支撑板5前壁转动式设有第一按摩轮8,第一按摩轮8前壁设有第一带轮9,支撑板5前壁左部开有第二凹槽10,第二凹槽10内的支撑板5前壁设有第一电机11,第一电机11的输出轴上设有第二按摩轮12,第二按摩轮12前壁设有第二带轮13,第二带轮13与第一带轮9之间绕有皮带14,底座1顶部右侧设有轴承座15,第一支架2位于轴承座15左方,轴承座15顶部设有第一轴承16,第一轴承16内过盈连接有第一转轴17,第一转轴17中部设有第一锥齿轮18,第一转轴17顶部设有坐垫19,底座1顶部右侧设有第一支杆20,第一支杆20位于轴承座15右侧,第一支杆20上部设有第二轴承21,第二轴承21内过盈连接有第二转轴22,第二转轴22左端设有第二锥齿轮23,第二锥齿轮23与第一锥齿轮18相啮合,第二转轴22右端设有揺柄24。
还包括有第三摆动座25、第二支杆26、第三轴承27、螺杆28、螺母29、转盘30、第四摆动座31、第一滑杆32和第一滑套33,支撑板5底部左侧设有第三摆动座25,第三摆动座25右端转动式设有第二支杆26,第二支杆26中部设有第三轴承27,第三轴承27内过盈连接有螺杆28,螺杆28上通过螺纹连接的方式连接有螺母29,螺杆28右端设有转盘30,第一支架2左侧面上部设有第四摆动座31,第四摆动座31左端转动式设有第一滑杆32,第一滑杆32上滑动式设有第一滑套33,第一滑套33底部与螺母29顶部相连接。
实施例3
一种医疗用专用于腿部瘫痪按摩设备,如图1-5所示,包括有底座1、第一支架2、第一摆动座3、第二摆动座4、支撑板5、橡皮垫6、第一按摩轮8、第一带轮9、第一电机11、第二按摩轮12、第二带轮13、皮带14、轴承座15、第一轴承16、第一转轴17、第一锥齿轮18、坐垫19、第一支杆20、第二轴承21、第二转轴22、第二锥齿轮23和揺柄24,底座1顶部右侧设有第一支架2,第一支架2顶部设有第一摆动座3,第一摆动座3左端转动式设有第二摆动座4,第二摆动座4左端设有支撑板5,支撑板5右端与第一支架2顶部上下两侧均连接有橡皮垫6,支撑板5前壁右部开有第一凹槽7,第一凹槽7内的支撑板5前壁转动式设有第一按摩轮8,第一按摩轮8前壁设有第一带轮9,支撑板5前壁左部开有第二凹槽10,第二凹槽10内的支撑板5前壁设有第一电机11,第一电机11的输出轴上设有第二按摩轮12,第二按摩轮12前壁设有第二带轮13,第二带轮13与第一带轮9之间绕有皮带14,底座1顶部右侧设有轴承座15,第一支架2位于轴承座15左方,轴承座15顶部设有第一轴承16,第一轴承16内过盈连接有第一转轴17,第一转轴17中部设有第一锥齿轮18,第一转轴17顶部设有坐垫19,底座1顶部右侧设有第一支杆20,第一支杆20位于轴承座15右侧,第一支杆20上部设有第二轴承21,第二轴承21内过盈连接有第二转轴22,第二转轴22左端设有第二锥齿轮23,第二锥齿轮23与第一锥齿轮18相啮合,第二转轴22右端设有揺柄24。
还包括有第三摆动座25、第二支杆26、第三轴承27、螺杆28、螺母29、转盘30、第四摆动座31、第一滑杆32和第一滑套33,支撑板5底部左侧设有第三摆动座25,第三摆动座25右端转动式设有第二支杆26,第二支杆26中部设有第三轴承27,第三轴承27内过盈连接有螺杆28,螺杆28上通过螺纹连接的方式连接有螺母29,螺杆28右端设有转盘30,第一支架2左侧面上部设有第四摆动座31,第四摆动座31左端转动式设有第一滑杆32,第一滑杆32上滑动式设有第一滑套33,第一滑套33底部与螺母29顶部相连接。
还包括有第二支架34、第三支杆35、第二滑杆36、第二滑套37、弹簧38、第一拉绳39和第一把手40,底座1顶部左侧设有第二支架34,第二支架34顶部右侧设有第三支杆35,第三支杆35右侧面上部倾斜设有第二滑杆36,第二滑杆36上滑动式设有第二滑套37,第二滑套37左侧面下部与第三支杆35右侧面之间连接有弹簧38,第二滑套37右侧面上部设有第一拉绳39,第一拉绳39右端设有第一把手40。
实施例4
一种医疗用专用于腿部瘫痪按摩设备,如图1-5所示,包括有底座1、第一支架2、第一摆动座3、第二摆动座4、支撑板5、橡皮垫6、第一按摩轮8、第一带轮9、第一电机11、第二按摩轮12、第二带轮13、皮带14、轴承座15、第一轴承16、第一转轴17、第一锥齿轮18、坐垫19、第一支杆20、第二轴承21、第二转轴22、第二锥齿轮23和揺柄24,底座1顶部右侧设有第一支架2,第一支架2顶部设有第一摆动座3,第一摆动座3左端转动式设有第二摆动座4,第二摆动座4左端设有支撑板5,支撑板5右端与第一支架2顶部上下两侧均连接有橡皮垫6,支撑板5前壁右部开有第一凹槽7,第一凹槽7内的支撑板5前壁转动式设有第一按摩轮8,第一按摩轮8前壁设有第一带轮9,支撑板5前壁左部开有第二凹槽10,第二凹槽10内的支撑板5前壁设有第一电机11,第一电机11的输出轴上设有第二按摩轮12,第二按摩轮12前壁设有第二带轮13,第二带轮13与第一带轮9之间绕有皮带14,底座1顶部右侧设有轴承座15,第一支架2位于轴承座15左方,轴承座15顶部设有第一轴承16,第一轴承16内过盈连接有第一转轴17,第一转轴17中部设有第一锥齿轮18,第一转轴17顶部设有坐垫19,底座1顶部右侧设有第一支杆20,第一支杆20位于轴承座15右侧,第一支杆20上部设有第二轴承21,第二轴承21内过盈连接有第二转轴22,第二转轴22左端设有第二锥齿轮23,第二锥齿轮23与第一锥齿轮18相啮合,第二转轴22右端设有揺柄24。
还包括有第三摆动座25、第二支杆26、第三轴承27、螺杆28、螺母29、转盘30、第四摆动座31、第一滑杆32和第一滑套33,支撑板5底部左侧设有第三摆动座25,第三摆动座25右端转动式设有第二支杆26,第二支杆26中部设有第三轴承27,第三轴承27内过盈连接有螺杆28,螺杆28上通过螺纹连接的方式连接有螺母29,螺杆28右端设有转盘30,第一支架2左侧面上部设有第四摆动座31,第四摆动座31左端转动式设有第一滑杆32,第一滑杆32上滑动式设有第一滑套33,第一滑套33底部与螺母29顶部相连接。
还包括有第二支架34、第三支杆35、第二滑杆36、第二滑套37、弹簧38、第一拉绳39和第一把手40,底座1顶部左侧设有第二支架34,第二支架34顶部右侧设有第三支杆35,第三支杆35右侧面上部倾斜设有第二滑杆36,第二滑杆36上滑动式设有第二滑套37,第二滑套37左侧面下部与第三支杆35右侧面之间连接有弹簧38,第二滑套37右侧面上部设有第一拉绳39,第一拉绳39右端设有第一把手40。
还包括有第四支杆41、第五支杆43和销杆45,底座1顶部右侧左右两方均设有第四支杆41,左侧的第四支杆41位于第一支架2右侧,右侧的第四支杆41位于第一轴承16座15左侧,左右两侧的第四支杆41上部均开有第一通孔42,坐垫19底部左侧设有第五支杆43,第五支杆43下部位于左右两侧的第四支杆41之间,第五支杆43下部开有第二通孔44,左右两侧的第一通孔42与第二通孔44位于同一水平位置,左右两侧的第一通孔42与第二通孔44内设有销杆45,销杆45穿过左右两侧的第一通孔42与第二通孔44。
还包括有第六支杆46、滚轮47、第二拉绳49和第二把手50,第三支杆35顶部设有第六支杆46,第六支杆46上设有滚轮47,第二滑套37左侧面上部设有第二拉绳49,第二拉绳49绕过滚轮47,第二支架34顶壁中间开有第三通孔48,第二拉绳49穿过第三通孔48,第二拉绳49上设有第二把手50。
使用时,医护人员首先握住揺柄24并顺时针转动,揺柄24转动会通过第二转轴22带动第二锥齿轮23转动,第二锥齿轮23转动会通过第一锥齿轮18带动第一转轴17逆时针转动,在第一转轴17的带动下,坐垫19会随之转动,当坐垫19转动一定角度后,医护人员可以停止转动揺柄24,再将瘫痪病人扶到坐垫19上坐好,随后,医护人员可以再次握住揺柄24并逆时针转动,揺柄24转动会通过第二转轴22带动第二锥齿轮23转动,第二锥齿轮23转动会通过第一锥齿轮18带动第一转轴17转动,在第一转轴17的带动下,坐垫19会随之逆时针转动,当坐垫19回到原位后,医护人员可以停止转动揺柄24,医护人员再将瘫痪病人的腿放到支撑板5上,随后,医护人员可以启动第一电机11,第一电机11会通过输出轴带动第二按摩轮12转动,在第二按摩轮12的作用下,第二带轮13会随之转动,第二带轮13转动会通过皮带14带动第一带轮9转动,第一带轮9会带动第一按摩轮8转动,从而使得瘫痪病人的腿部得到按摩,当瘫痪病人按摩结束后,医护人员可以关闭第一电机11,并将瘫痪病人的腿拿下来,医护人员再转动揺柄24,坐垫19会随之转动,当坐垫19转动一定角度后,医护人员可以停止转动揺柄24,并将瘫痪病人从坐垫19上扶下来即可。
当瘫痪病人的腿部放置在支撑板5上并需要调整支撑板5的角度时,医护人员可以握住转盘30并不断顺逆转动,此时,螺母29会在螺杆28上不断左右移动,螺母29会带动第一滑套33在第一滑杆32上左右滑动,从而会使得支撑板5会上下转动,当角度调整好后,医护人员停止转动转盘30即可。
当瘫痪病人在进行腿部按摩时,瘫痪病人可以握住第一把手40并向右拉动,第一把手40会通过第一拉绳39带动第二滑套37向右滑动,此时,弹簧38会被拉伸,当瘫痪病人放松第一把手40时,弹簧38会失去拉力而复位,在弹簧38的作用下,第二滑套37会向左滑动,瘫痪病人可以通过不断拉动和放松第一把手40来进行手臂锻炼,当锻炼结束后,瘫痪病人松开第一把手40即可。
当医护人员有事需要离开时,医护人员可以将销杆45穿过左右两侧的第一通孔42与第二通孔44,从而将坐垫19固定好,防止坐垫19的摇晃,使得瘫痪病人受到意外伤害。
当瘫痪病人在进行腿部按摩前,医护人员可以将瘫痪病人的腿放到第二把手50上,随后,瘫痪病人可以向右拉动第一把手40,使得第一把手40会通过第一拉绳39带动第二滑套37向右移动,弹簧38会被拉伸,第二滑套37会通过第二拉绳49带动第二把手50向上移动,当瘫痪病人放松第一把手40时,弹簧38会复位,使得第二滑套37会向左移动,从而通过第二拉绳49带动第二把手50向下移动,瘫痪病人可以通过不断拉动和放松第一把手40来带动第二把手50不断上下移动,从而对瘫痪病人的腿部进行锻炼,当锻炼结束后,瘫痪病人可以松开第一把手40,医护人员可以将瘫痪病人的腿放到支撑板5上并进行按摩即可。
应当理解,以上的描述仅仅用于示例性目的,并不意味着限制本发明。本领域的技术人员将会理解,本发明的变型形式将包含在本文的权利要求的范围内。

Claims (3)

1.一种医疗用专用于腿部瘫痪按摩设备,其特征在于,包括有底座、第一支架、第一摆动座、第二摆动座、支撑板、橡皮垫、第一按摩轮、第一带轮、第一电机、第二按摩轮、第二带轮、皮带、轴承座、第一轴承、第一转轴、第一锥齿轮、坐垫、第一支杆、第二轴承、第二转轴、第二锥齿轮和揺柄,底座顶部右侧设有第一支架,第一支架顶部设有第一摆动座,第一摆动座左端转动式设有第二摆动座,第二摆动座左端设有支撑板,支撑板右端与第一支架顶部上下两侧均连接有橡皮垫,支撑板前壁右部开有第一凹槽,第一凹槽内的支撑板前壁转动式设有第一按摩轮,第一按摩轮前壁设有第一带轮,支撑板前壁左部开有第二凹槽,第二凹槽内的支撑板前壁设有第一电机,第一电机的输出轴上设有第二按摩轮,第二按摩轮前壁设有第二带轮,第二带轮与第一带轮之间绕有皮带,底座顶部右侧设有轴承座,第一支架位于轴承座左方,轴承座顶部设有第一轴承,第一轴承内过盈连接有第一转轴,第一转轴中部设有第一锥齿轮,第一转轴顶部设有坐垫,底座顶部右侧设有第一支杆,第一支杆位于轴承座右侧,第一支杆上部设有第二轴承,第二轴承内过盈连接有第二转轴,第二转轴左端设有第二锥齿轮,第二锥齿轮与第一锥齿轮相啮合,第二转轴右端设有揺柄;还包括有第三摆动座、第二支杆、第三轴承、螺杆、螺母、转盘、第四摆动座、第一滑杆和第一滑套,支撑板底部左侧设有第三摆动座,第三摆动座右端转动式设有第二支杆,第二支杆中部设有第三轴承,第三轴承内过盈连接有螺杆,螺杆上通过螺纹连接的方式连接有螺母,螺杆右端设有转盘,第一支架左侧面上部设有第四摆动座,第四摆动座左端转动式设有第一滑杆,第一滑杆上滑动式设有第一滑套,第一滑套底部与螺母顶部相连接;还包括有第二支架、第三支杆、第二滑杆、第二滑套、弹簧、第一拉绳和第一把手,底座顶部左侧设有第二支架,第二支架顶部右侧设有第三支杆,第三支杆右侧面上部倾斜设有第二滑杆,第二滑杆上滑动式设有第二滑套,第二滑套左侧面下部与第三支杆右侧面之间连接有弹簧,第二滑套右侧面上部设有第一拉绳,第一拉绳右端设有第一把手。
2.根据权利要求1所述的一种医疗用专用于腿部瘫痪按摩设备,其特征在于,还包括有第四支杆、第五支杆和销杆,底座顶部右侧左右两方均设有第四支杆,左侧的第四支杆位于第一支架右侧,右侧的第四支杆位于第一轴承座左侧,左右两侧的第四支杆上部均开有第一通孔,坐垫底部左侧设有第五支杆,第五支杆下部位于左右两侧的第四支杆之间,第五支杆下部开有第二通孔,左右两侧的第一通孔与第二通孔位于同一水平位置,左右两侧的第一通孔与第二通孔内设有销杆,销杆穿过左右两侧的第一通孔与第二通孔。
3.根据权利要求2所述的一种医疗用专用于腿部瘫痪按摩设备,其特征在于,还包括有第六支杆、滚轮、第二拉绳和第二把手,第三支杆顶部设有第六支杆,第六支杆上设有滚轮,第二滑套左侧面上部设有第二拉绳,第二拉绳绕过滚轮,第二支架顶壁中间开有第三通孔,第二拉绳穿过第三通孔,第二拉绳上设有第二把手。
CN201810538684.9A 2018-05-30 2018-05-30 一种医疗用专用于腿部瘫痪按摩设备 Expired - Fee Related CN108743291B (zh)

Priority Applications (1)

Application Number Priority Date Filing Date Title
CN201810538684.9A CN108743291B (zh) 2018-05-30 2018-05-30 一种医疗用专用于腿部瘫痪按摩设备

Applications Claiming Priority (1)

Application Number Priority Date Filing Date Title
CN201810538684.9A CN108743291B (zh) 2018-05-30 2018-05-30 一种医疗用专用于腿部瘫痪按摩设备

Publications (2)

Publication Number Publication Date
CN108743291A CN108743291A (zh) 2018-11-06
CN108743291B true CN108743291B (zh) 2020-10-30

Family

ID=64004030

Family Applications (1)

Application Number Title Priority Date Filing Date
CN201810538684.9A Expired - Fee Related CN108743291B (zh) 2018-05-30 2018-05-30 一种医疗用专用于腿部瘫痪按摩设备

Country Status (1)

Country Link
CN (1) CN108743291B (zh)

Families Citing this family (4)

* Cited by examiner, † Cited by third party
Publication number Priority date Publication date Assignee Title
CN109528468B (zh) * 2018-11-15 2020-09-22 温州骐烨机械有限公司 一种运动员运动后腿部按摩器
CN109620635B (zh) * 2018-12-12 2021-01-22 湖北医药学院附属随州医院 一种医疗腿部康复椅
CN109394480B (zh) * 2018-12-17 2020-12-08 李迎春 一种神经内科用瘫痪肢体关节康复治疗装置
CN111870501B (zh) * 2020-08-12 2022-12-13 南京青龙水务有限公司 一种医疗用腿部瘫痪病人按摩设备

Citations (3)

* Cited by examiner, † Cited by third party
Publication number Priority date Publication date Assignee Title
CN201019992Y (zh) * 2007-03-23 2008-02-13 刘厚庆 下肢血液循环按摩器
CN201516118U (zh) * 2009-11-11 2010-06-30 戚爱美 多功能护理床
CN205181724U (zh) * 2015-12-07 2016-04-27 李青 神经内科专用按摩护理装置

Family Cites Families (7)

* Cited by examiner, † Cited by third party
Publication number Priority date Publication date Assignee Title
CN205612948U (zh) * 2016-04-16 2016-10-05 朱建亮 一种理疗用上下肢肌肉康复锻炼装置
CN207186759U (zh) * 2016-06-29 2018-04-06 牟卿 骨科康复用护理床
CN206603909U (zh) * 2016-11-07 2017-11-03 王妮妮 一种用于腿部训练的神经内科训练架
CN206896497U (zh) * 2016-12-29 2018-01-19 张勇 一种神经内科康复锻炼装置
CN106974790A (zh) * 2017-05-05 2017-07-25 璧垫尝 一种骨科辅助康复装置
CN107714421A (zh) * 2017-11-03 2018-02-23 洛阳理工学院 简易腿部按摩仪
CN108078738A (zh) * 2018-01-25 2018-05-29 赵加芳 一种神经内科康复用腿部训练装置

Patent Citations (3)

* Cited by examiner, † Cited by third party
Publication number Priority date Publication date Assignee Title
CN201019992Y (zh) * 2007-03-23 2008-02-13 刘厚庆 下肢血液循环按摩器
CN201516118U (zh) * 2009-11-11 2010-06-30 戚爱美 多功能护理床
CN205181724U (zh) * 2015-12-07 2016-04-27 李青 神经内科专用按摩护理装置

Also Published As

Publication number Publication date
CN108743291A (zh) 2018-11-06

Similar Documents

Publication Publication Date Title
CN108743291B (zh) 一种医疗用专用于腿部瘫痪按摩设备
CN114305898A (zh) 一种神经外科肢体康复训练器
CN105641872A (zh) 一种危重患者锻炼器
CN108452495B (zh) 一种神经内科康复训练装置
CN206652147U (zh) 老年伤残病人用四肢联动辅助康复装置
CN108338906A (zh) 一种医用按摩床
CN211935405U (zh) 一种偏瘫康复训练器械
CN107397654A (zh) 一种医疗用高灵活性拐杖
CN107174506A (zh) 一种可调式背部拍打按摩装置
CN108836743B (zh) 一种医疗中老年人用伸展锻炼设备
CN208809022U (zh) 一种医用按摩床
CN210785261U (zh) 神经内科临床辅助架
CN113768747A (zh) 一种康复用辅助手足协调装置
CN211327982U (zh) 一种重症科用体能康复装置
CN108721054B (zh) 一种骨科用腿部恢复锻炼设备
CN107638275A (zh) 一种肩周炎康复辅助装置
CN214388748U (zh) 一种便于调节的肢体康复锻炼支具
CN213697844U (zh) 一种安装于病床上的肢体血脉流通康复锻炼支架
CN109009715A (zh) 一种可遮雨的轮椅
CN112402210B (zh) 一种下肢恢复用医疗设备
CN209475099U (zh) 一种神经内科腿部康复训练装置
CN114569356A (zh) 一种用于医院临床的护理设备及其使用方法
CN108785998B (zh) 一种医疗用手足关节锻炼设备
CN221618497U (zh) 一种便于移动的腿部训练装置
CN221579617U (zh) 一种神经退行性疾病患者治疗用康复训练装置

Legal Events

Date Code Title Description
PB01 Publication
PB01 Publication
SE01 Entry into force of request for substantive examination
SE01 Entry into force of request for substantive examination
CB03 Change of inventor or designer information
CB03 Change of inventor or designer information

Inventor after: Wen Jian

Inventor after: Jia Hongtao

Inventor before: Jia Hongtao

TA01 Transfer of patent application right

Effective date of registration: 20200929

Address after: Department of pain, Second Affiliated Hospital, Army Military Medical University, No. 83, Xinqiao Main Street, Shapingba District, Chongqing

Applicant after: Wen Jian

Address before: 510410 Nanyang Tumor Hospital, 292 Airport Road, Baiyun District, Guangzhou, Guangdong

Applicant before: Jia Hongtao

TA01 Transfer of patent application right
GR01 Patent grant
GR01 Patent grant
TR01 Transfer of patent right
TR01 Transfer of patent right

Effective date of registration: 20201230

Address after: 400037, 138 Xinqiao street, Shapingba District, Chongqing

Patentee after: THE SECOND AFFILIATED HOSPITAL, ARMY MEDICAL University

Address before: 400037 Department of pain, the Second Affiliated Hospital of Army Medical University, 83 xinqiaozheng street, Shapingba District, Chongqing

Patentee before: Wen Jian

CF01 Termination of patent right due to non-payment of annual fee
CF01 Termination of patent right due to non-payment of annual fee

Granted publication date: 20201030

Termination date: 20210530